|
|
(21), (22) Заявка: 2008109841/02, 17.08.2006
(24) Дата начала отсчета срока действия патента:
17.08.2006
(30) Конвенционный приоритет:
19.08.2005 JP 2005-239231
(43) Дата публикации заявки: 27.09.2009
(46) Опубликовано: 20.06.2010
(56) Список документов, цитированных в отчете о поиске:
JP 2004-068149 А, 04.03.2004. US 6214132 B1, 10.04.2001. RU 2036248 C1, 27.05.1995. RU 2070616 C1, 20.12.1996.
(85) Дата перевода заявки PCT на национальную фазу:
19.03.2008
(86) Заявка PCT:
JP 2006/316193 20060817
(87) Публикация PCT:
WO 2007/020985 20070222
Адрес для переписки:
191036, Санкт-Петербург, а/я 24, “НЕВИНПАТ”, пат.пов. А.В.Поликарпову
|
(72) Автор(ы):
ИНБЕ Тошио (JP), МАЦУКАВА Масахико (JP), КИКУЧИ Котаро (JP)
(73) Патентообладатель(и):
Ниппон Пейнт Ко., Лтд. (JP)
|
(54) КОМПОЗИЦИЯ ДЛЯ ПОДГОТОВКИ ПОВЕРХНОСТИ, СПОСОБ ПРИГОТОВЛЕНИЯ УКАЗАННОЙ КОМПОЗИЦИИ И СПОСОБ ПОДГОТОВКИ ПОВЕРХНОСТИ
(57) Реферат:
Изобретение относится к подготовке поверхности. Композиция для подготовки металлической поверхности включает частицы фосфата двухвалентного или трехвалентного металла и имеет рН в диапазоне от 3 до 12, причем диаметр D50 частиц фосфата двухвалентного или трехвалентного металла составляет 3 мкм или менее, аминопроизводное, молекулярная масса которого составляет 1000 или менее, и, по меньшей мере, один алкоксид металла в количестве, составляющем от 0,01 до 100 мас. частей на 100 мас. частей содержания твердых частиц фосфата металла. Способ приготовления композиции для подготовки поверхности включает операцию мокрого измельчения сырья, представляющего собой фосфат двухвалентного или трехвалентного металла, в дисперсионной среде в присутствии аминопроизводного, молекулярная масса которого составляет 1000 или менее и, по меньшей мере, одного алкоксида металла в количестве, составляющем от 0,01 до 100 мас. частей на 100 мас. частей содержания твердых частиц фосфата металла. Способ подготовки поверхности, включающий операцию осуществления контакта указанной композиции для подготовки поверхности с поверхностью металлического материала. Изобретение позволяет улучшить характеристики подготавливаемой поверхности и повышает производительность дальнейшей химической конверсионной обработки. 4 н. и 5 з.п. ф-лы, 1 ил., 3 табл.
Область техники
Настоящее изобретение относится к композиции для подготовки поверхности, к способу приготовления указанной композиции и способу подготовки поверхности.
УРОВЕНЬ ТЕХНИКИ
Автомобильные кузова, бытовые электроприборы и подобные им изделия изготавливают из металлических материалов, например стальных пластин, оцинкованных стальных пластин и алюминиевых сплавов. В общем случае, после проведения операции конверсионной обработки в качестве предварительной обработки проводят обработку поверхности, такую как нанесение покрытия. Обычно в качестве такой конверсионной обработки проводят фосфатирование. При конверсионной обработке обычно в качестве предварительной стадии производят подготовку поверхности, что позволяет осаждать на поверхность металлического материала мельчайшие кристаллы фосфата высокой плотности.
Примеры известных композиций, применяемых для подготовки поверхности при указанной поверхностной обработке, включают жидкости для обработки, содержащие частицы фосфата титана, называемые солью Йернстеда (Jernstedt salt), или частицы фосфатов двухвалентного или трехвалентного металла.
В патентном документе 1 описана жидкость для предварительной подготовки поверхности, осуществляемой перед фосфатной конверсионной обработкой металла, которая включает фосфатные частицы по меньшей мере одного или более чем одного типа двухвалентного или трехвалентного металла, имеющие диаметр 5 мкм или менее, и соль щелочного металла или аммонийную соль или их смесь, у которой рН устанавливают в диапазоне от 4 до 13.
Кроме того, в патентном документе 2 описана жидкость для подготовки поверхности, проводимой перед фосфатной конверсионной обработкой металла, которая включает один или более одного типа фосфатных частиц, выбираемых из солей фосфорной кислоты, содержащих один или более типов двухвалентных и/или трехвалентных металлов, и какой-либо из различных ускорителей.
Кроме того, в патентном документе 3 описан реагент для подготовки поверхности, содержащий фосфат цинка, который характеризуется тем, что включает от 500 до 20000 частей фосфата цинка на миллион, причем средний диаметр частиц фосфата цинка составляет 3 мкм или менее, D90 составляет 4 мкм или менее, и рН находится в диапазоне от 3 до 11.
Однако в последние годы в связи с разработкой новых материалов и упрощением операций обработки в некоторых случаях может оказаться, что указанные жидкости для подготовки поверхности не отвечают требованиям, например, в случае конверсионной обработки стойких к такой обработке металлических материалов, например пластин из стали с высоким пределом прочности при растяжении, или в случае одновременной обработки материалов из металлов нескольких видов. Кроме того, повысился требуемый уровень коррозионной стойкости материалов, что делает желательной разработку более плотных конверсионных пленочных покрытий. Таким образом, имеется необходимость в улучшении характеристик жидкости для подготовки поверхности и повышении физических свойств пленки конверсионного покрытия, получаемого при конверсионной обработке при помощи такой жидкости.
Фосфатные частицы, содержащиеся в вышеуказанной жидкости для предварительной подготовки поверхности, получают измельчением фосфата. В соответствии с вышеуказанным патентным документом 3 фосфат цинка смешивают с дисперсионной средой, например водой или органическим растворителем, и производят мокрое измельчение в присутствии диспергирующего агента. Однако для получения требуемых фосфатных частиц очень малого среднего диаметра в некоторых случаях диспергирование приходится проводить в течение длительного времени, т.е. приблизительно 6 часов. Соответственно, необходимо уменьшить продолжительность диспергирования.
В вышеуказанном патентном документе 3 упомянуто, что в качестве диспергирующего агента может быть использован полиамин, и что для нейтрализации анионного поверхностно-активного агента и анионной смолы, применяемой в качестве полимерного диспергирующего агента, может быть использован нейтрализующий реагент на основе амина. Однако и в случае использования указанных реагентов для получения частиц фосфата цинка, имеющих требуемый средний диаметр, также необходимо проведение продолжительной операции диспергирования.
Патентный документ 1: Нерассмотренная Японская патентная заявка, номер публикации: Н10-245685.
Патентный документ 2: Нерассмотренная Японская патентная заявка, номер публикации: 2000-96256.
Патентный документ 3: Нерассмотренная Японская патентная заявка, номер публикации: 2004-068149.
РАСКРЫТИЕ ИЗОБРЕТЕНИЯ
ЗАДАЧИ, РЕШАЕМЫЕ ИЗОБРЕТЕНИЕМ
Принимая во внимание вышеупомянутые обстоятельства, задачей настоящего изобретения является композиция для подготовки поверхности, которая может образовывать более плотное конверсионное пленочное покрытие по сравнению с традиционными конверсионными покрытиями, а также может образовывать конверсионное пленочное покрытие, обеспечивающее наличие достаточного количества пленочного покрытия на участках контакта между различными металлами или на конверсионно-стойком металлическом материале, например на пластине из стали с высоким пределом прочности при растяжении.
Кроме того, задачей настоящего изобретения является способ приготовления композиции для подготовки поверхности, обеспечивающий получение фосфатных частиц заданного диаметра в течение меньшего времени по сравнению с временем, затрачиваемым на эту операцию при осуществлении традиционных способов.
СПОСОБЫ РЕШЕНИЯ ПОСТАВЛЕННЫХ ЗАДАЧ
Композиция для подготовки поверхности, предлагаемая согласно настоящему изобретению, включает частицы фосфата двухвалентного или трехвалентного металла и имеет рН в диапазоне от 3 до 12, причем указанная композиция характеризуется тем, что диаметр D50 частиц фосфата двухвалентного или трехвалентного металла составляет 3 мкм или менее, и композиция содержит аминопроизводное, молекулярная масса которого составляет 1000 или менее. Частицы фосфата двухвалентного или трехвалентного металла, которые содержатся в композиции для подготовки поверхности, предлагаемой согласно настоящему изобретению, предпочтительно представляют собой частицы фосфата цинка, а аминопроизводное предпочтительно представляет собой производное гидроксиламина, содержащее в молекуле по меньшей мере одну гидроксильную группу.
Предпочтительно, композиция для подготовки поверхности, предлагаемая согласно настоящему изобретению, дополнительно содержит слоистый глинистый минерал. Предпочтительно, композиция для подготовки поверхности, предлагаемая согласно настоящему изобретению, дополнительно включает хелатирующий агент. Предпочтительно, композиция для подготовки поверхности, предлагаемая согласно настоящему изобретению, дополнительно включает фенольное соединение.
Способ приготовления композиции для подготовки поверхности, предлагаемой согласно настоящему изобретению, характеризуется тем, что включает операцию мокрого измельчения сырья, представляющего собой фосфат двухвалентного или трехвалентного металла, в дисперсионной среде в присутствии аминопроизводного, молекулярная масса которого составляет 1000 или менее.
Способ подготовки поверхности, предлагаемый согласно настоящему изобретению, характеризуется тем, что включает операцию приведения композиции для подготовки поверхности в контакт с поверхностью металлического материала.
Термин «композиция для подготовки поверхности» здесь и далее включает как «жидкость для подготовки поверхности», которая представляет собой жидкость для обработки, предназначенную для приведения в контакт с металлическим материалом во время проведения подготовки поверхности, так и «концентрированную жидкую дисперсию», которая представляет собой жидкую дисперсию частиц фосфата металла, применяемую для приготовления жидкости для подготовки поверхности посредством разведения. Жидкость для подготовки поверхности получают разбавлением концентрированной жидкой дисперсии растворителем, например водой, с целью получения заданной концентрации, добавлением необходимых добавок и последующим регулированием рН жидкости.
Кроме того, в соответствии с настоящим изобретением, подготовку поверхности производят после проведения необходимой предварительной обработки металлического материала, после чего производят конверсионную обработку. Другими словами, термин «подготовка поверхности» здесь и далее означает первое фосфатирование, которое представляет собой операцию, при которой частицы фосфата металла фиксируют на поверхности металлического материала.
Кроме того, термин «конверсионная обработка» означает вторую фосфатную обработку, которая проводится после подготовки поверхности и представляет собой обработку, в результате которой фосфатные частицы, зафиксированные на поверхности металлического материала, вырастают в форме кристаллов. Кроме того, пленочное покрытие из фосфата металла, образованное при проведении подготовки поверхности, здесь и далее называют «фосфатным пленочным покрытием», в то время как пленочное покрытие из частиц фосфата металла, полученное при конверсионной обработке, называют «конверсионным пленочным покрытием».
Далее настоящее изобретение будет описано более подробно.
КОМПОЗИЦИЯ ДЛЯ ПОДГОТОВКИ ПОВЕРХНОСТИ
Композиция для подготовки поверхности, предлагаемая согласно настоящему изобретению, включает частицы фосфата двухвалентного или трехвалентного металла и аминопроизводное, молекулярная масса которого составляет 1000 или менее.
ЧАСТИЦЫ ФОСФАТА МЕТАЛЛА
Для выполнения подготовки поверхности вышеуказанные частицы фосфата металла должны представлять собой кристаллизационные центры. Полагают, что реакция, протекающая при конверсионной обработке, ускоряется путем адгезии этих частиц к поверхности металлического материала при проведении подготовки поверхности.
Выбор частиц фосфата двухвалентного или трехвалентного металла не ограничен конкретными соединениями, и примеры таких частиц включают, например, частицы Zn3(PO4)2. Zn2Fe(PO4)2, Zn2Ni(PO4)2, Ni3(PO4)2, Zn2Mn(PO4)2, Mn3(PO4)2, Mn2Fe(PO4)2, Са3(PO4)2, Zn2Ca(PO4)2, FePO4, AlPO4, CoPO4, Со3(PO4)2 и подобных материалов. Предпочтительными среди них являются частицы фосфата цинка, поскольку их кристаллическая структура подобна структуре кристаллов пленочного покрытия, получаемого при обработке фосфорной кислотой, в частности при обработке фосфатом цинка, проводимой при конверсионной обработке.
Диаметр D50 частиц вышеуказанного фосфата двухвалентного или трехвалентного металла составляет 3 мкм или менее. При выборе такой величины D50 можно в течение короткого времени проведения подготовки поверхности получать мельчайшие частицы фосфатного пленочного покрытия в количестве, достаточном для образования пленочного покрытия, что, в свою очередь, позволяет получать плотное конверсионное пленочное покрытие. Если D50 превышает 3 мкм, то может снижаться устойчивость дисперсии частиц фосфата металла в жидкости для подготовки поверхности, в результате чего повышается вероятность осаждения частиц фосфата металла. Диаметр D50 может составлять 1 мкм или менее, и он может также составлять 0,2 мкм или менее; предпочтительно, нижняя граница составляет 0,01 мкм. Установление нижней границы D50 менее 0,01 мкм экономически неоправданно, так как приводит к снижению экономической эффективности способа. Более предпочтительно, нижняя граница D50 составляет 0,1 мкм, тогда как верхняя его граница составляет 1 мкм.
Кроме того, диаметр D90 частиц фосфата двухвалентного или трехвалентного металла предпочтительно составляет 4 мкм или менее. При таком выборе не только D50, но и D90 снижается доля частиц большего диаметра, содержащихся в частицах фосфата. Таким образом, может быть приготовлена жидкая дисперсия с узким распределением диаметров диспергированных частиц и находящаяся в чрезвычайно устойчивом дисперсионном состоянии. Если D90 превышает 4 мкм, то соответственно уменьшается доля мелких фосфатных частиц, что может приводить к затруднениям при изготовлении высококачественного конверсионного пленочного покрытия. Диаметр D90 может составлять 2,6 мкм или менее, и он также может составлять 0,3 мкм или менее. Предпочтительно, нижняя граница составляет 0,01 мкм. При установлении нижней границы D90 менее 0,01 мкм повышается вероятность образования агрегатов в результате чрезмерного диспергирования. Более предпочтительно, нижняя граница для D90 составляет 0,05 мкм, тогда как верхняя его граница составляет 2 мкм.
Полагают, что частицы фосфата металла, находящиеся в жидкой композиции для подготовки поверхности, предлагаемой в настоящем изобретении, ввиду небольшого содержания крупных частиц могут эффективно образовывать кристаллизационные центры. Кроме того, полагают, что ввиду узкого распределения диаметров частиц в дисперсии при проведении операции подготовки поверхности образуются более гомогенные кристаллизационные центры, что может обеспечивать образование однородного пленочного покрытия из фосфата металла при проведении последующей операции конверсионной обработки. Поверхность полученной таким способом стальной пластины после конверсионной обработки является однородной и высококачественной, и таким образом, можно предположить, что это будет способствовать обработке вогнутых частей металлического материала сложной структуры и, в частности, устойчивых к конверсии стальных пластин, например пластин из черного листового железа.
Если для получения дисперсии с диаметром частиц 3 мкм или менее используют такой способ как измельчение, то избыточное измельчение может вызывать повторное образование агрегатов из-за относительного недостатка диспергирующего агента в результате увеличения удельной площади поверхности. Следовательно, устойчивость дисперсии может ухудшаться в результате образования крупных частиц. Кроме того, в зависимости от составляющих ингредиентов и условий приготовления композиции для подготовки поверхности, могут появляться флуктуации дисперсности вышеуказанного фосфата, что приводит к вероятному повторному образованию агрегатов, состоящих из мельчайших частиц, повышению вязкости и появлению подобных проблем. Однако, если D90 фосфата составляет 4 мкм или менее, то появление вышеуказанных недостатков маловероятно.
D50 и D90 означают диаметр 50% (объемных %) частиц и 90% (объемных %) частиц, соответственно. Они представляют собой диаметры частиц в точках 50% и 90%, соответственно, на кумулятивной (интегральной) кривой, определенные на основании распределения размеров частиц в дисперсионной жидкости при условии, что общий объем частиц составляет 100%. Эти значения могут быть получены посредством определения распределения диаметров частиц при помощи оптического дифракционного анализатора размеров частиц (например, анализатора “LA-500”, изготовляемого Horiba, Ltd.). Здесь и далее термин «средний диаметр частиц» означает D50.
Если композиция для подготовки поверхности, предлагаемая согласно настоящему изобретению, представляет собой концентрированную жидкую дисперсию, то содержание частиц фосфата двухвалентного или трехвалентного металла предпочтительно составляет от 5 до 80% мас.% от массы концентрированной жидкой дисперсии. Если это содержание составляет менее 5 мас.%, то может снижаться эффективность производства, а если это содержание превышает 80 мас.%, то может снижаться дисперсионная устойчивость полученной концентрированной жидкой дисперсии. Более предпочтительная нижняя граница составляет 10 мас.%, и еще более предпочтительная нижняя граница составляет 20 мас.%. Кроме того, более предпочтительная верхняя граница составляет 65 мас.%, и еще более предпочтительная верхняя граница составляет 50 мас.%.
Напротив, если композиция для подготовки поверхности, предлагаемая в настоящем изобретении, представляет собой жидкость для подготовки поверхности, то содержание частиц фосфата двухвалентного или трехвалентного металла предпочтительно составляет от 50 до 20000 частей на миллион. Жидкость для подготовки поверхности приготавливают разбавлением концентрированной жидкой дисперсии при коэффициенте разбавления, составляющем от 5 до 10000. Если содержание частиц фосфата составляет менее 50 частей на миллион, то жидкость содержит количество фосфата, недостаточное для образования центров кристаллизации, и, следовательно, может снижаться эффективность проведения подготовки поверхности. При этом содержание частиц фосфата, превышающее 20000 частей на миллион, экономически невыгодно, поскольку эффективность обработки, превышающая заданную эффективность, не может быть достигнута и при таком содержании частиц. Более предпочтительная нижняя граница содержания частиц фосфата составляет 150 частей на миллион, а верхняя – 10000 частей на миллион, и еще более предпочтительная нижняя граница содержания частиц фосфата составляет 250 частей на миллион, а верхняя – 2500 частей на миллион.
АМИНОПРОИЗВОДНОЕ
Молекулярная масса аминопроизводного, которое включают в состав композиции для подготовки поверхности, предлагаемой согласно настоящему изобретению, составляет 1000 или менее. Применение такого аминопроизводного позволяет подходящим образом формировать конверсионное пленочное покрытие в случае использования металлических материалов, стойких по отношению к конверсионной обработке, например сталей с высоким пределом прочности при растяжении, или в случае одновременного использования металлических материалов нескольких разных видов, например материалов, изготовленных на основе алюминия, материала, изготовленного на основе железа, и подобных им материалов, для последующей конверсионной обработки.
Если молекулярная масса аминопроизводного превышает 1000, то цель настоящего изобретения может оказаться недостигнутой. Молекулярная масса аминопроизводного предпочтительно составляет 500 или менее, более предпочтительно – 200 или менее.
Выбор аминопроизводного, если его молекулярная масса не превышает 1000, не ограничен каким-либо особым соединением, но нижняя граница диапазона молекулярной массы аминопроизводного предпочтительно составляет 59, поскольку более низкая молекулярная масса приводит к затруднениям при обработке, и такое соединение может быть высокотоксичным.
Предпочтительно, аминопроизводное представляет собой алифатический амин, и примеры возможно используемых соединений включают алифатические аминопроизводные от первичных до третичных. Такие алифатические аминопроизводные включают алициклические амины и производные гидроксиламина, содержащие в молекуле по меньшей мере одну гидроксильную группу. Кроме того, за исключением алифатических аминов, примеры аминопроизводного включают неалифатические производные гидроксиламина, гетероциклические амины, основные аминокислоты, такие как лизин, ароматические аминопроизводные, такие как анилин, производные аминосульфоновых кислот и другие соединения, подобные указанным.
Кроме того, аминопроизводное может представлять собой любое соединение из ряда моноамина, полиамина, содержащего две или более аминогруппы в одной молекуле, таких как диамин, триамин, тетрамин и подобные им амины. Кроме того, эти аминопроизводные могут быть использованы по отдельности или в сочетании двух или более из них. С точки зрения улучшенного поглощения частицами фосфата металла, для более высокого сродства с водой и получения подобных свойств, аминопроизводное предпочтительно представляет собой производное гидроксиламина.
Примеры производных гидроксиламина включают, например, алифатические гидроксиламины, такие как моноэтаноламин, диэтаноламин, диметилэтаноламин, метилдиэтаноламин, триэтаноламин, триизопропаноламин и аминоэтилэтаноламин; неалифатические гидроксиламины, такие как модифицированный амином резол и модифицированный амином новолак, и подобные им соединения. Наиболее предпочтительными из них по простоте достижения целей настоящего изобретения являются алифатические производные гидроксиламина, и особенно предпочтительно являются диметилэтаноламин и триэтаноламин.
Нижняя граница диапазона содержания аминопроизводного с молекулярной массой, составляющей 1000 или менее, в композиции для подготовки поверхности согласно изобретению предпочтительно составляет 0,01 мас. частей, а верхняя граница диапазона предпочтительно составляет 1000 мас. частей на 100 мас. частей частиц фосфата металла. Если это содержание составляет менее 0,01 мас. частей, то цель настоящего изобретения может оказаться недостигнутой. При этом содержание аминопроизводного, превышающее 1000 мас. частей, экономически невыгодно, поскольку эффективность обработки, превышающая заданную эффективность, не может быть достигнута и при таком его содержании. Более предпочтительная нижняя граница содержания аминопроизводного составляет 0,1 мас. частей, и еще более предпочтительная нижняя граница содержания аминопроизводного составляет 0,5 мас. частей. При этом более предпочтительная верхняя граница содержания аминопроизводного составляет 100 мас. частей, и еще более предпочтительная верхняя граница содержания аминопроизводного составляет 50 мас. частей.
Кроме того, если композиция для подготовки поверхности, предлагаемая согласно настоящему изобретению, представляет собой жидкость для подготовки поверхности, то содержание аминопроизводного, имеющего молекулярную массу 1000 или менее, предпочтительно составляет от 1 до 10000 частей на миллион. Если содержание аминопроизводного составляет менее 1 части на миллион, то покрытие частиц фосфата оказывается недостаточным, что приводит к недостаточной абсорбции на частицах фосфата и может вызывать образование вторичных агрегатов. При этом содержание аминопроизводного, превышающее 10000 частей на миллион, экономически невыгодно, поскольку эффективность обработки, превышающая заданную эффективность, не может быть достигнута и при таком его содержании. Более предпочтительная нижняя граница содержания аминопроизводного составляет 10 частей на миллион, а верхняя – 5000 частей на миллион, и еще более предпочтительная нижняя граница содержания частиц фосфата составляет 10 частей на миллион, а верхняя – 2500 частей на миллион.
В композиции для подготовки поверхности, предлагаемой согласно настоящему изобретению, аминопроизводное, имеющее молекулярную массу 1000 или менее, предпочтительно присутствует в виде свободного амина. Более конкретно, аминопроизводное предпочтительно находится в форме, обеспечивающей минимальную степень взаимодействия с кислотными группами, например с карбоксильными группами, содержащимися в композиции для подготовки поверхности согласно изобретению. Для этой цели предпринимают следующие меры: в композицию для подготовки поверхности, предлагаемую в изобретении, не включают ингредиенты, содержащие кислотные группы; или в случае, если какой-либо ингредиент содержит кислотную группу, ее нейтрализуют более сильным основанием, чем вышеуказанное аминопроизводное, или повышают количество аминопроизводного таким образом, что оно превышает количество, требуемое для эквивалентной нейтрализации кислотной группы. При соблюдении указанных условий с большей вероятностью происходит взаимодействие между аминопроизводным, имеющим молекулярную массу 1000 или менее, и частицами фосфата металла, что позволяет реализовать преимущества настоящего изобретения.
ДИСПЕРСИОННАЯ СРЕДА
Композиция для подготовки поверхности, предлагаемая в настоящем изобретении, содержит дисперсионную среду, позволяющую диспергировать в ней вышеуказанные частицы фосфата двухвалентного или трехвалентного металла. Примеры возможно используемых дисперсионных сред включают водные среды, содержащие 80 мас.% или более воды, а также среды, отличные от воды, например различные водорастворимые органические растворители. Однако желательно, чтобы содержание органического растворителя было как можно более низким, что предпочтительно составляет 10 мас.% или менее, более предпочтительно 5 мас.% или менее от массы водной среды. Приемлемо применение дисперсионной среды, включающей только воду.
Выбор водорастворимого органического растворителя не ограничен каким-либо конкретным веществом, и примеры таких растворителей включают, в частности, спиртовые растворители, например метанол, этанол, изопропанол и этиленгликоль; растворители на основе простых эфиров, например монопропиловый эфир этиленгликоля, бутилгликоль и 1-метокси-2-пропанол; растворители на основе кетонов, например ацетон и диацетоновый спирт; растворители на основе амидов, например диметилацетамид и метилпирролидон; растворители на основе сложных эфиров, например этилкарбитолацетат, и подобные им соединения. Такие растворители могут быть использованы по отдельности или в виде сочетания двух или более указанных растворителей.
ПОКАЗАТЕЛЬ рН
Показатель рН композиции для подготовки поверхности согласно изобретению составляет от 3 до 12. Если рН составляет менее 3, то повышается вероятность растворения вышеуказанных частиц фосфата металла, что приводит к нестабильному состоянию жидкости. Если рН превышает 12, то при проведении последующей конверсионной обработки в ванне может произойти повышение рН, что может приводить к ухудшению качества конверсионной обработки. Нижняя граница диапазона рН предпочтительно составляет 6, а верхняя граница диапазона рН предпочтительно составляет 11.
ДРУГИЕ КОМПОНЕНТЫ
Композиция для подготовки поверхности согласно изобретению, помимо частиц фосфата металла и аминопроизводного, может содержать различные ингредиенты, пригодные для включения в композицию для подготовки поверхности, при условии, что они не подавляют в значительной степени действие аминопроизводного.
Примеры различных добавок включают слоистые глинистые минералы, алкоксиды металлов, хелатирующие агенты, фенольные производные и подобные им соединения. Одновременно можно использовать несколько таких добавок.
СЛОИСТЫЙ ГЛИНИСТЫЙ МИНЕРАЛ
Включение слоистого глинистого минерала в композицию для подготовки поверхности согласно изобретению может подавить склонность частиц фосфата металла к осаждению и, таким образом, можно ожидать увеличения устойчивости дисперсии. При добавлении слоистого глинистого минерала образуется третичная структура, включающая воду, которую обычно называют структурой «карточного домикам, и которая, как полагают, увеличивает вязкость дисперсии.
Выбор слоистого глинистого минерала не органичен каким-либо конкретным соединением, и примеры таких минералов включают смектиты, например монтмориллонит, бейделит, сапонит и гекторит; каолиниты, например каолинит и халойсит; вермикулиты, например диоктаэдрический вермикулит и триоктаэдрический вермикулит; слюды, например тениолит, тетрасиликатная слюда, мусковит, иллит (гидрослюда), серицит, флогопит и биотит; гидроталькит; пирофилолит; слоистые соли поликремниевой кислоты, например канемит, макатит, илерит, магадиит и кениатит, и подобные им соединения. Указанные слоистые глинистые минералы могут представлять собой как природные минералы, так и синтетические минералы, полученные гидротермальным синтезом, плавильными способами, твердофазными способами и подобными способами.
Предпочтительно, катионообменная емкость (СЕС) слоистого глинистого минерала составляет 60 мг-экв/100 г или более. Катионообменная емкость представляет собой общее количество отрицательных зарядов слоистого глинистого минерала, вносящих свой вклад в катионный обмен; ее определяют при помощи аммонийно-ацетатного способа или аналогичного ему способа.
Предпочтительно, средний диаметр частиц слоистого глинистого минерала в диспергированном состоянии в воде, очищенной ионообменом, составляет 0,3 мкм или менее. Если средний диаметр частиц превышает 0,3 мкм, то может снижаться дисперсионная устойчивость композиции для подготовки поверхности. Кроме того, среднее аспектное отношение (среднее значение отношения максимального размера к минимальному размеру) слоистого глинистого минерала предпочтительно составляет 10 или более, и более предпочтительно, 20 или более. Если среднее аспектное отношение составляет менее 10, то может снижаться дисперсионная устойчивость дисперсии. Вышеуказанный средний диаметр частиц представляет собой значение, полученное при наблюдении водного раствора дисперсии, подвергнутого лиофилизации, при помощи трансмиссионного электронного микроскопа (ТЭМ), сканирующего электронного микроскопа (СЭМ) или аналогичного инструмента.
Конкретные примеры слоистого глинистого минерала, катионообменная емкость которого составляет 60 мг-экв/100 г или более, включают смектиты, например сапонит, гекторит, стевенсит и соконит; и такие слоистые глинистые минералы как вермикулит. Кроме того, среди указанных минералов примеры слоистого глинистого минерала, средний размер частиц которого в диспергированном состоянии с наибольшей вероятностью составляет 0,3 мкм или менее, включают сапонит и гекторит (природный гекторит и/или синтетический гекторит).
В частности, предпочтительно применение сапонита, поскольку он имеет небольшой средний размер частиц при диспергировании в воде и высокую катионообменную емкость. Также, возможно одновременное использование двух или нескольких минералов. Добавление указанного слоистого глинистого минерала может способствовать достижению лучшей дисперсионной устойчивости и увеличению эффективности.
Указанные слоистые глинистые минералы могут быть минералами как природного, так и синтетического происхождения, полученными гидротермальным синтезом, плавильным способом, твердофазным способом и тому подобными способами. Кроме того, при необходимости возможно применение интеркалированных соединений вышеуказанного слоистого глинистого минерала (кристаллы с колончатыми включениями и подобные им соединения), соединений, подвергнутых ионообменной обработке или модификации поверхности, например обработке силановыми аппретами, обработке органическим связующим веществом с образованием композитов или подобной обработке. Такие слоистые глинистые минералы могут быть использованы по отдельности или в сочетании из двух или более минералов.
Вышеуказанный сапонит представляет собой триоктаэдрический слоистый глинистый минерал, отвечающий следующей формуле (I) и входящий в семейство смектитов:

где М представляет собой обмениваемый ион: Са, Na или К; при условии выполнения следующих неравенств: 0<а<8, 00.
Сапонит может быть модифицирован, и примеры модифицированного сапонита включают, например, сапонит, модифицированный цинком, сапонит, модифицированный амином, и подобные им соединения. Примеры коммерчески доступных продуктов, включающих сапонит, включают синтетический сапонит (выпускаемый под торговым названием “Sumecton SA”, Kunimine hdustries Co., Ltd.) и подобные ему соединения.
Вышеуказанный природный гекторит представляет собой триоктаэдрический слоистый глинистый минерал, отвечающий следующей формуле (II).

Примеры коммерчески доступных продуктов, включающих природный гекторит, включают “Benton EW” и “Benton AD” (оба продукта выпускает Etementis plc) и подобные им соединения.
Вышеуказанный синтетический гекторит подобен бесконечному слою триоктаэдрического гекторита, имеющему расширенную решетку трехмерной кристаллической структуры, и он может быть представляет следующей формулой (III):

где 0<а 6, 06, 4<а+b<8, 0 c<4, х=12-2а-b; и в большинстве случаев М представляет собой Na.![]()
Основными ингредиентами синтетического гекторита являются магний, кремний и натрий, а также небольшие количества лития и фтора.
Примеры коммерчески доступных продуктов, включающих синтетический гекторит, включают, например, продукты под торговыми марками “Laponite В”, “Laponite S”, “Laponite RD”, “Laponite RDS”, “Laponite XLG”, “Laponite XLS” и подобные им соединения, производимые Rookwood Additives Ltd. Они представляют собой белые порошкообразные вещества и при добавлении воды легко образуют золи (“Laponite S”, “Laponite RDS”, “Laponite XLS”) или гели (“Laponite В”, “Laponite RD”, “Laponite XLG”). Кроме того, в качестве примера, можно указать “Lucentite SWN”, поставляемый CO-OP Chemical Co., Ltd. Указанные природный и синтетические гекториты могут быть использованы по отдельности или в виде сочетания двух или более гекторитов.
Если композиция для подготовки поверхности согласно изобретению представляет собой концентрированную жидкую дисперсию, то содержание слоистого глинистого минерала предпочтительно составляет от 0,01 до 1000 мас. частей на 100 мас. частей содержания твердых частиц фосфата металла. Если это содержание составляет менее 0,01 мас. частей, то эффект подавления осаждения может оказаться недостаточным. Если же содержание минерала превышает 1000 мас. частей, то это экономически невыгодно, поскольку эффективность обработки, превышающая заданную эффективность, не может быть достигнута и при таком содержании минерала. Более предпочтительная нижняя граница содержания минерала составляет 0,1 мас. частей, а верхняя граница составляет 100 мас. частей, и еще более предпочтительная нижняя граница составляет 0,5 мас. частей, а более предпочтительная верхняя граница составляет 50 мас. частей.
Напротив, если композиция для подготовки поверхности согласно изобретению представляет собой жидкость для подготовки поверхности, то содержание слоистого глинистого минерала предпочтительно составляет от 1 до 10000 частей на миллион. Содержания, выходящие за пределы указанного диапазона, могут приводить к тем же последствиям, что и в случае концентрированной жидкой дисперсии. Более предпочтительная нижняя граница содержания минерала составляет 10 мас. частей, а верхняя граница составляет 1000 мас. частей, и еще более предпочтительная нижняя граница составляет 10 мас. частей, а верхняя граница составляет 250 мас. частей.
АЛКОКСИД МЕТАЛЛА
Композиция для подготовки поверхности согласно изобретению может содержать по меньшей мере один алкоксид металла, выбираемый из группы, состоящей из алкоксида силана, алкоксида титана и алкоксида алюминия.
Выбор алкоксида металла не ограничен конкретными соединениями при условии, что соединение включает связь M-OR, и примеры таких алкоксидов включают алкоксиды, отвечающие следующей общей формуле (IV):

где М представляет собой кремний, титан или алюминий; R1 представляет собой алкильную группу, включающую от 1 до 6 атомов углерода, замещенную или незамещенную органической группой, эпоксиалкильную группу, включающую от 1 до 11 атомов углерода, арильную группу. алкенильную группу, включающую от 1 до 11 атомов углерода, аминоалкильную группу, включающую от 1 до 5 атомов углерода, меркаптоалкипьную группу, включающую от 1 до 5 атомов углерода, или галогеналкильную группу, включающую от 1 до 5 атомов углерода; R2 представляет собой алкильную группу, включающую от 1 до 6 атомов углерода; и n равен 0, 1 или 2.
Вышеуказанный алкоксид металла предпочтительно представляет собой производное алкоксисилана, включающее по меньшей мере одну меркаптогруппу или (мет)акрилоксигруппу.
Выбор производного алкоксисилана не ограничен конкретными соединениями, при условии, что это соединение может быть использовано в системах на водной основе, и примеры таких соединений включают, например, винилметилдиметоксисилан, винилтриметоксисилан, винилэтилдиэтоксисилан, винилтриэтоксисилан, 3-аминопропилтриэтоксисилан, 3-глицидоксипропилтриметоксисилан, 3-(мет)акрилоксипропилтриметоксисилан, 3-меркаптопропилтриметоксисилан, N-(1,3-диметилбутилиден)-3-(триэтоксисилил)-1-пропанамин, N,N’-бис[3-(триметоксисилил)пропил]этилендиамин, N-( -аминоэтил)- -аминопропилметилдиметоксисилан, N-( -аминоэтил)-3-аминопропилтриметоксисилан, 3-аминопропилтриметоксисилан, -глицидоксипропилтриметоксисилан, 3-глицидоксипропилтриэтоксисилан, 3-глицидоксипропилметилдиметоксисилан, 2-(3,4-эпоксициклогексил)этилтриметоксисилан, 3-метакрилоксипропилтриэтоксисилан, 3-меркаптопропилтриэтоксисилан, N-[2-(винилбензиламино)этил]-3-аминопропилтриметоксисилан и подобные им соединения. Они могут быть использованы по отдельности или в виде сочетания двух или более соединений.
Среди указанных соединений предпочтительными являются соединения, содержащие в молекуле алкоксида металла по меньшей мере одну меркаптогруппу или (мет)акрилоксигруппу, и особенно предпочтительными являются, например, 3-меркаптопропилметилдиметоксисилан, 3-меркаптопропилметилдиэтоксисилан, 3-(мет)акрилоксипропилметилтриметоксисилан или 3-(мет)акрилоксипропил-метилтриэтоксисилан.
Если композиция для подготовки поверхности согласно изобретению представляет собой концентрированную жидкую дисперсию, то содержание алкоксида металла предпочтительно составляет от 0,01 до 1000 мас. частей на 100 мас. частей содержания твердых частиц фосфата металла. Если это содержание составляет менее 0,01 мас. частей, то может понизиться степень измельчения в дисперсии и, кроме того, подготовка поверхности может оказаться недостаточной ввиду недостаточной абсорбции на частицах фосфата металла. Если же содержание алкоксида превышает 1000 мас. частей, то это экономически невыгодно, поскольку эффективность обработки, превышающая заданную эффективность, не может быть достигнута и при таком содержании алкоксида. Более предпочтительная нижняя граница содержания минерала составляет 0,1 мас. частей, а верхняя граница составляет 100 мас. частей, и еще более предпочтительная нижняя граница составляет 0,5 мас. частей, а верхняя граница – 20 мас. частей.
Если композиция для подготовки поверхности, согласно настоящему изобретению, представляет собой жидкость для подготовки поверхности, то содержание алкоксида металла в ней предпочтительно составляет от 1 до 1000 частей на миллион. Содержания, выходящие за пределы указанного диапазона, могут приводить к тем же последствиям, что и в случае концентрированной жидкой дисперсии. Более предпочтительная нижняя граница содержания минерала составляет 10 мас. частей, а верхняя граница составляет 500 мас. частей, и еще более предпочтительная нижняя граница составляет 10 мас. частей, а верхняя граница – 250 мас. частей.
ХЕЛАТИРУЮЩИЙ АГЕНТ
Композиция для подготовки поверхности, предлагаемая согласно изобретению, может содержать хелатирующий агент. Введение хелатирующего агента повышает устойчивость дисперсии и кроме того, улучшает свойства, повышающие устойчивость дисперсии. Более конкретно, даже в том случае, когда жидкость для подготовки поверхности, предлагаемая согласно изобретению, загрязнена ионами магния или ионами кальция, попавшими в нее вместе с водой для разбавления, образование агрегатов частиц фосфата металла не происходит, и, таким образом, может быть улучшена дисперсионная устойчивость жидкости для подготовки поверхности.
Выбор хелатирующего агента не ограничен каким-либо особым соединением, и примеры таких агентов включают, например, этилендиаминотетраацетаты (ЭДТА), полиакриловые кислоты, органические кислоты, например лимонную кислоту, конденсированные фосфорные кислоты, хелатирующие смолы, например КМЦ (карбоксиметилцеллюлоза), наполнители, обладающие хелатирующим действием, например цеолит, силикат и конденсированный фосфат алюминия, и т.д.
Если композиция для подготовки поверхности, предлагаемая согласно изобретению, представляет собой концентрированную жидкую дисперсию, то в нее не обязательно включать хелатирующий агент, поскольку его действие проявляется при разбавлении. Если композиция для подготовки поверхности, предлагаемая согласно изобретению, представляет собой жидкость для подготовки поверхности, то предпочтительно содержание хелатирующего агента в ней составляет от 1 до 10000 частей на миллион. Если содержание хелатирующего агента составляет менее 1 части на миллион, то происходит недостаточное хелатирование компонентов жесткости, содержащихся в водопроводной воде, в результате чего такие поликатионы металлов как ионы кальция, представляющие собой компоненты жесткости, могут вызывать образование агрегатов частиц фосфата металла. Если же содержание хелатирующего агента превышает 10000 частей на миллион, то эффективность обработки, превышающая заданную эффективность, не может быть достигнута даже при таком содержании хелатирующего агента, и, кроме того, в этом случае весьма вероятно протекание реакции между хелатирующим агентом и активным ингредиентом средства для конверсионной обработки, в результате чего может быть ингибирована реакция, протекающая при конверсионной обработке. Более предпочтительная нижняя граница содержания хелатирующего агента составляет 10 частей на миллион, а верхняя граница составляет 1000 частей на миллион, и еще более предпочтительная нижняя граница составляет 20 частей на миллион, а верхняя граница – 500 частей на миллион.
ФЕНОЛЬНОЕ СОЕДИНЕНИЕ
Композиция для подготовки поверхности, предлагаемая согласно изобретению, может содержать фенольное соединение. Включение фенольного соединения в композицию для подготовки поверхности улучшает адгезию между частицами фосфата металла и металлическим материалом. В частности, кроме улучшения реакционной способности при конверсионной обработке таких металлических материалов как металлический материал на основе алюминия или пластина из стали с высоким пределом прочности при растяжении может быть также улучшена устойчивость композиции для подготовки поверхности. Другими словами, полагают, что добавление фенольного производного улучшает устойчивость при хранении в случае длительного хранения жидкости в виде концентрированной жидкой дисперсии, а также стабильность ванны для проведения подготовки поверхности при помощи жидкости для подготовки поверхности. Кроме того, даже в том случае, когда жидкость загрязнена жесткими компонентами, например ионами кальция или ионами магния или подобными им ионами, попавшими в жидкость вместе с водой для разбавления, полагают, что фенольное соединение предотвращает образование агрегатов частиц фосфата металла способом, аналогичным действию хелатирующего агента, описанному выше.
Примеры фенольных соединений включают, например, соединения, содержащие две или более гидроксильных фенольных групп, например катехины, галловую кислоту, пирогаллол и дубильную кислоту, или фенольные соединения, включающие основное ядро вышеуказанных соединений (например, полифенольные соединения, включающие флавоноид, танин, катехин и подобные им соединения, поливинилфенол, а также водорастворимый резол, новолачные смолы и подобные им соединения), лигнин и подобные им соединения. Особенно предпочтительными из них являются танин, галловая кислота, катехин и пирогаллол. Выбор вышеуказанного флавоноида также не ограничен каким-либо особым соединением, и примеры таких соединений включают, например, флавон, изофлавон, флавонол, флаванон, флаванол, антоцианидин, аурон, халькон, эпигаллокатехингаллат, галлокатехин, теафлавин, даидзин, генистин, рутин, мирицитрин и подобные им соединения.
Вышеуказанный танин представляет собой родовое название ароматических соединений сложной структуры, включающих множество фенольных гидроксильных групп, которые широко распространены в растительном мире. Вышеуказанный танин может представлять собой как гидролизованный танин, так и конденсированный танин.
Примеры танинов включают танин hamameli, танин, хурмы, чайный танин, танин чернильного ореха, танин орехоподобного галла, танин алычи, танин цезальпинии дубильной, танин цезальпинии коротколистной, танин дуба крупночешуйчатого, танин катехина и подобные им соединения. Вышеуказанный танин также может представлять собой гидролизованный танин, полученный при разложении, например при гидролизе, или подобным способом из танина, присутствующего в растениях.
Примеры возможно используемого вышеуказанного танина также включают коммерчески доступные соединения, например «Экстракт А таниновой кислоты», «Таниновая кислота В», «Таниновая кислота N», «Промышленная таниновая кислота», «Очищенная таниновая кислота», «Hi таниновая кислота, «F таниновая кислота», «Официальная таниновая кислота» (все названия относятся к продуктам, производимым Dainippon Pharmaceutical Co., Ltd.), «Таниновая кислота: AL» (название продукта, производимого Fuji Chemical industry Co., Ltd.) и подобные им соединения. Также одновременно могут быть использованы два или более вышеуказанных танинов. Вышеуказанный лигнин представляет собой сетчатый полимер, включающий в качестве основного мономерного звена фенольное производное, к которому присоединена пропильная группа.
Если композиция для подготовки поверхности, предлагаемая согласно настоящему изобретению, представляет собой концентрированную жидкую дисперсию, то содержание фенольного соединения в ней предпочтительно составляет от 0,01 до 1000 мас. частей на 100 мас. ч содержания твердых частиц фосфата металла. Если содержание фенольного соединения составляет менее 0,01 мас.части, то адгезия частиц фосфата металла к металлическому материалу оказывается недостаточной ввиду недостаточной адсорбции на частицах, в результате чего может быть не получен ожидаемый эффект от добавления фенольного производного. Если же содержание фенольного производного превышает 1000 мас. частей, то это экономически невыгодно, поскольку эффективность обработки, превышающая заданную эффективность, не может быть достигнута даже при таком содержании фенольного производного. Более предпочтительная нижняя граница содержания фенольного производного составляет 0,1 мас. частей, а верхняя граница составляет 100 мас. частей, и еще более предпочтительная нижняя граница составляет 0,5 мас. частей, а верхняя граница – 25 мас. частей.
Напротив, если композиция для подготовки поверхности, предлагаемая согласно настоящему изобретению, представляет собой жидкость для подготовки поверхности, то предпочтительно содержание фенольного производного в ней составляет от 1 до 1000 частей на миллион. Содержание, выходящее за пределы вышеуказанного диапазона, может приводить к последствиям, аналогичным описанным для концентрированной жидкой дисперсии. Более предпочтительно, нижняя граница содержания фенольного производного составляет 10 частей на миллион, а верхняя граница составляет 500 частей на миллион, и еще более предпочтительно, нижняя граница составляет 10 частей на миллион, а верхняя граница – 250 частей на миллион.
ДРУГИЕ ДОБАВКИ
Примеры добавок, отличных от описанных выше ингредиентов, включают моносахариды, полисахаридные загустители, например ксантановую камедь и подобные им соединения. Они могут быть использованы по отдельности или в сочетании из двух или более соединений. Выбор типа, добавляемого количества и подобных параметров указанных различных добавок не ограничен.
Композиция для подготовки поверхности, предлагаемая согласно настоящему изобретению, кроме вышеуказанных ингредиентов также может включать поверхностно-активный агент, противовспениватель, противокоррозийную присадку, консервант и тому подобные добавки, добавляемые в количествах, не влияющих на эффективность осуществления настоящего изобретения.
ПОВЕРХНОСТНО-АКТИВНЫЙ АГЕНТ
В качестве поверхностно-активного агента может быть использован, например, анионный или неионный поверхностно-активный агент.
Выбор неионного поверхностно-активного агента не ограничен каким-либо конкретным соединением, и примеры таких соединений включают алкиловый эфир полиоксиэтилена, алкиловый эфир полиоксиалкилена, производные полиоксиэтилена, блок-сополимеры оксиэтилена-оксипропилена, эфиры жирных кислот и сорбита, эфиры жирных кислот и полиоксиэтилен-сорбита, эфиры жирных кислот и полиоксиэтилен-сорбитола, эфиры жирных кислот и глицерина, эфиры жирных кислот и полиоксиэтилена, полиоксиэтиленалкиламин, алкилалканоламин, нонилфенол, алкилнонилфенол, полиоксиалкиленгликоль, алкиламиноксид, ацетилендиол, нонилфеноловый эфир полиоксиэтилена, поверхностно-активные вещества на основе силикона, например силикон, модифицированный алкилфеноловым эфиром полиоксиэтилена, неионные поверхностно-активные вещества, выбираемые из группы, включающей поверхностно-активные вещества на основе фтора, полученные замещением по меньшей мере одного атома водорода гидрофобной группы атомом фтора, гидрофильно-липофильный баланс (HLB) которых составляет 6 или более. Для наилучшей реализации преимуществ настоящего изобретения наиболее предпочтительными являются алкиловый эфир полиоксиэтилена и алкиловый эфир полиоксиалкилена, гидрофильно-липофильный баланс (HLB) которых составляет 6 или более.
Выбор анионного поверхностно-активного агента не ограничен каким-либо конкретным соединением, и примеры таких соединений включают соли жирных кислот, соли эфиров алкилсерных кислот, простые алкиловые эфиры солей серной кислоты, алкилбензолсульфонат, алкилнафталинсульфонат, алкилсульфосукцинат, дисульфонат алкилдифенилового эфира, полибисфенолсульфонат, алкилфосфат, соли полиоксиэтилалкиловых эфиров серной кислоты, соли эфиров полиоксиэтилалкилаллилсерной кислоты, сульфонаты альфа-олефинов, соли метилтауриновой кислоты, полиаспартат, карбоксилаты простых эфиров, продукты конденсации нафталинсульфоновой кислоты и формалина, сложные эфиры полиоксиэтилена и алкилфосфатов, соли эфиров алкилэфирных производных фосфорной кислоты и подобные им соединения. Для наилучшей реализации преимуществ настоящего изобретения наиболее предпочтительными являются соли эфиров алкилэфирных производных фосфорной кислоты.
Однако, как уже было отмечено выше при описании аминопроизводного, кислотная группа, содержащаяся в анионном поверхностно-активном агенте, может взаимодействовать с аминопроизводным, молекулярная масса которого составляет 1000 или менее, что приводит к понижению эффективности действия аминопроизводного. Соответственно, кислотную группу, содержащуюся в анионном поверхностно-активном агенте, предпочтительно нейтрализуют аммиаком или нейтрализующим агентом на основе амина, например аминопроизводным, молекулярная масса которого составляет 1000 или менее, присутствующим в виде свободного амина. Количество нейтрализующего агента на основе амина, применяемого для нейтрализации, зависит от типа кислотной группы, содержащейся в анионном поверхностно-активном агенте, и типа нейтрализующего агента на основе амина, молекулярная масса которого составляет 1000 или менее; таким образом, при использовании анионного поверхностно-активного агента предпочтительно выбирают подходящие условия осуществления способа.
Примеры нейтрализующего агента на основе амина включают диэтиламин (DEA), триэтиламин (TEA), моноэтаноламин (МЕТА), диэтаноламин (DETA), триэтаноламин (ТЕТА), диметилэтаноламин (DMEA), диэтилэтаноламин (DEEA), изопропилэтаноламин (IPEA), диизопропаноламин (DIPA), 2-амино-2-метилпропанол (AMP), 2-(диметиламино)-2-метилпропанол (DMAMP), морфолин (MOR), N-метилморфолин (NMM), N-этилморфолин (NEM) и подобные им соединения. Из указанных соединений предпочтительно используют 2-амино-2-метилпропанол (AMP).
Примеры нейтрализующего агента на основе амина могут включать примеры аминопроизводного, молекулярная масса которого составляет 1000 или менее. Другими словами, нейтрализующий агент, полученный на основе амина, и аминопроизводное, молекулярная масса которого составляет 1000 или менее, могут быть одинаковыми или различными.
Если композиция для подготовки поверхности, предлагаемая согласно изобретению, представляет собой концентрированную жидкую дисперсию, то она может не включать анионный поверхностно-активный агент или неионный поверхностно-активный агент аналогично тому, как описано выше для хелатирующего агента. Если композиция для подготовки поверхности, предлагаемая согласно изобретению, представляет собой жидкость для подготовки поверхности, то предпочтительно содержание анионного поверхностно-активного агента или неионного поверхностно-активного агента в ней составляет от 3 до 500 частей на миллион. Если содержание поверхностно-активного агента находится в пределах указанного диапазона, то преимущества настоящего изобретения будут успешно реализованы. Более предпочтительная нижняя граница содержания поверхностно-активного агента составляет 5 частей на миллион, а верхняя граница составляет 300 частей на миллион. Может быть использован как один поверхностно-активный агент, так и сочетание из двух или более поверхностно-активных агентов.
НИТРИТ МЕТАЛЛА
При необходимости дальнейшего подавления образования ржавчины к композиции для подготовки поверхности, предлагаемой согласно изобретению, может быть добавлен нитрит двухвалентного или трехвалентного металла.
СОЛЬ ЩЕЛОЧНОГО МЕТАЛЛА
С целью дальнейшего повышения стабилизации частиц фосфата металла, образующих тончайшую пленку конверсионного покрытия при последующем проведении операции фосфатной конверсионной обработки, к композиции для подготовки поверхности, предлагаемой согласно настоящему изобретению, может быть добавлена соль щелочного металла, например кальцинированная сода.
СПОСОБ ПРИГОТОВЛЕНИЯ КОМПОЗИЦИИ ДЛЯ ПОДГОТОВКИ ПОВЕРХНОСТИ МЕТАЛЛА
Способ приготовления композиции для подготовки поверхности, предлагаемый согласно изобретению, характеризуется тем, что включает операцию мокрого измельчения сырья, представляющего собой фосфат двухвалентного или трехвалентного металла, проводимую в дисперсионной среде в присутствии аминопроизводного, молекулярная масса которого составляет 1000 или менее.
Описание аминопроизводного, молекулярная масса которого составляет 1000 или менее, включаемого в композицию для подготовки поверхности металла, дано выше. При этом в качестве сырья, представляющего собой фосфат двухвалентного или трехвалентного металла, может быть использован гидрат соответствующего фосфата. В случае фосфата цинка могут быть использованы тетрагидрат, дигидрат и моногидрат фосфата, однако наиболее часто используемым соединением является тетрагидрат, имеющий формулу Zn3(PO4)2·4H2O. Указанный тетрагидрат может быть получен, например, смешиванием разбавленных растворов сульфата цинка и гидрофосфата динатрия в молярном соотношении 3:2 с последующим нагреванием или путем реакции разбавленного водного раствора фосфорной кислоты и оксида цинка или карбоната цинка, соответственно. Полученный таким образом тетрагидрат обычно представляет собой бесцветное кристаллическое твердое вещество, но для непосредственного использования также пригоден коммерчески доступный реактив, выпускаемый в виде белого порошка. Кроме того, в качестве сырья, представляющего собой фосфат двухвалентного или трехвалентного металла, может быть использован и негидратированный фосфат.
Выбор формы материала сырья, представляющего собой фосфат двухвалентного или трехвалентного металла, не ограничен каким-либо особым образом: может быть использован материал, имеющий произвольную форму. Несмотря на то, что коммерчески доступные реактивы обычно выпускают в виде белых порошков, частицы порошка могут иметь форму мельчайших частиц, пластинок, чешуек и тому подобного. Также выбор диаметра частиц фосфатного сырья не ограничен каким-либо особым образом, но в общем случае могут быть использованы порошки, диаметр D50 частиц которых составляет приблизительно несколько микрометров (мкм). В альтернативном случае также приемлемы порошки, диаметр частиц которых в основном составляет несколько десятков микрометров. Для этой цели могут быть успешно использованы коммерчески доступные продукты, например пигменты, предотвращающие коррозию, в особенности продукты, оказывающие улучшенное буферное действие и повышающие основность при обработке.
В соответствии со способом приготовления композиции для подготовки поверхности, предлагаемым согласно изобретению, диспергирование производят в описанной выше дисперсионной среде до получения необходимого диаметра частиц сырья, представляющего собой фосфат двухвалентного или трехвалентного металла. Этот способ называют мокрым измельчением. Добавление в измельчаемую систему аминопроизводного, молекулярная масса которого составляет 1000 или менее, при проведении мокрого измельчения позволяет более эффективно производить диспергирование фосфата металла. Таким образом, фосфат металла с заданным диаметром частиц может быть получен достаточно быстро. Несмотря на то, что мокрое измельчение может быть проведено с использованием других диспергирующих агентов, без добавления аминопроизводного, молекулярная масса которого составляет 1000 или менее, в этом случае необходимый эффект не будет достигнут. Однако композиция для подготовки поверхности, обладающая прекрасными свойствами, может быть получена и при добавлении аминопроизводного, молекулярная масса которого составляет 1000 или менее, в систему после проведения диспергирования до тех пор, пока диаметр частиц не достигнет заранее заданного значения.
Предпочтительно, количество сырья, представляющего собой фосфат двухвалентного или трехвалентного металла, применяемое для приготовления композиции для подготовки поверхности в соответствии со способом согласно изобретению, составляет от 5 до 80 мас.% от общего количества получаемой жидкой дисперсии. Если это количество составляет менее 5 мас.%, то может снижаться эффективность производства, а если оно превышает 80 мас.%, то может снижаться дисперсионная устойчивость полученной концентрированной жидкой дисперсии. Более предпочтительная нижняя граница составляет 10 мас.%, и еще более предпочтительная нижняя граница составляет 20 мас.%. Кроме того, более предпочтительная верхняя граница составляет 65 мас.%, и еще более предпочтительная верхняя граница составляет 50 мас.%. Если в композицию не добавляют аминопроизводное, молекулярная масса которого составляет 1000 или менее, то использование такой высокой концентрации сырья, представляющего собой фосфат металла, оказывается чрезвычайно затруднительным.
Нижняя граница диапазона содержания аминопроизводного с молекулярной массой, составляющей 1000 или менее, применяемого в способе приготовления композиции для подготовки поверхности, предлагаемом согласно изобретению, предпочтительно составляет 0,01 мас. частей, а верхняя граница диапазона составляет 1000 мас. частей на 100 мас. частей частиц сырого материала, включающего фосфат металла. Если это содержание составляет менее 0,01 мас. частей, то преимущества настоящего изобретения могут оказаться недостигнутыми. При этом содержание аминопроизводного, превышающее 1000 мас. частей, экономически невыгодно, поскольку эффективность обработки, превышающая заданную эффективность, не может быть достигнута и при таком его содержании. Более предпочтительная нижняя граница содержания аминопроизводного составляет 0,1 мас. частей, и еще более предпочтительная нижняя граница содержания аминопроизводного составляет 0,5 мас. частей. При этом более предпочтительная верхняя граница содержания аминопроизводного составляет 100 мас. частей, и еще более предпочтительная верхняя граница содержания аминопроизводного составляет 50 мас. частей.
Кроме того, при проведении способа приготовления композиции для подготовки поверхности согласно изобретению операция мокрого измельчения может быть выполнена в дисперсионной среде, в которую помимо аминопроизводного добавляют другие добавки и ингредиенты. Примеры таких добавок включают различные ингредиенты, обычно включаемые в композиции для подготовки поверхности, например слоистый глинистый минерал, хелатирующие агенты, алкоксиды металлов и фенольные производные. Кроме того, примеры других ингредиентов включают поверхностно-активные агенты, деформирующие агенты, вещества, предотвращающие ржавление (коррозию), консерванты и подобные им вещества. Типы и количества указанных ингредиентов рассмотрены в вышеизложенном описании композиции для подготовки поверхности, предлагаемой согласно настоящему изобретению.
Метод мокрого измельчения, используемый в способе приготовления композиции для подготовки поверхности согласно изобретению, особо ничем не ограничен, и могут быть использованы обычные средства мокрого измельчения. Например, для мокрого измельчения могут быть использованы любые виды шаровых мельниц дискового, шпиндельного и подобных типов, гомогенизаторы высокого давления, дисперсионные устройства, например ультразвуковые дисперсионные устройства. Кроме того, мокрое измельчение может быть произведено в дисперсионной среде, отличной от водной среды, после чего дисперсионная среда может быть заменена на водную среду при помощи операции замены растворителя.
Предпочтительно, диаметр D50 частиц вышеуказанного фосфата двухвалентного или трехвалентного металла, находящихся в дисперсионной среде и получаемых в соответствии со способом приготовления композиции для подготовки поверхности согласно изобретению, составляет 3 мкм или менее. Предпочтительная нижняя граница составляет 0,01 мкм. Если значение D50 находится вне пределов указанного диапазона, то может снижаться устойчивость дисперсии или повышаться вероятность ухудшения прекрасных технических характеристик композиции для подготовки поверхности.
В соответствии со способом приготовления композиции для подготовки поверхности согласно изобретению D50, частиц вышеуказанного фосфата двухвалентного или трехвалентного металла может составлять 3 мкм или менее в соответствии с требованиями, определяемыми предлагаемым способом применения композиции. Соответственно, может быть получена жидкая водная дисперсия с хорошей дисперсионной устойчивостью. Диаметр D50 частиц фосфата двухвалентного или трехвалентного металла может составлять 1 мкм или менее, или же он может составлять 0,2 мкм или менее.
При проведении мокрого измельчения диаметр D90 частиц фосфата двухвалентного или трехвалентного металла предпочтительно регулируют так, чтобы он составлял 4 мкм или менее. Соответственно, это позволяет избегать чрезмерного диспергирования, а также образования агрегатов и чрезмерного загущения или повторного образования агрегатов мельчайших частиц. Кроме того, желательно выбирать такие условия компаундирования и диспергирования, которые позволяют избегать чрезмерного диспергирования.
Предпочтительно, нижняя граница диаметра D90 частиц фосфата двухвалентного или трехвалентного металла, получаемых в соответствии со способом приготовления композиции для подготовки поверхности согласно изобретению, составляет 0,01 мкм, а верхняя его граница составляет 4 мкм. Если D90 составляет менее 0,01 мкм, то повышается вероятность образования агрегатов в результате чрезмерного диспергирования. Если D90 превышает 4 мкм, то соответственно уменьшается доля мелких фосфатных частиц, что может приводить к затруднениям при получении высококачественного конверсионного пленочного покрытия. Более предпочтительно, нижняя граница D90 составляет 0,05 мкм, тогда как верхняя его граница составляет 2 мкм.
В соответствии со способом приготовления композиции для подготовки поверхности согласно изобретению в течение короткого периода времени может быть приготовлена дисперсия частиц с диаметром D50, равным 3 мкм или менее, в дисперсионной среде, даже если в качестве материала сырья используют частицы фосфата, имеющие диаметр D50, превышающий 3 мкм, или частицы с начальным диаметром, равным нескольким десяткам мкм. Уменьшение диаметра частиц фосфата двухвалентного или трехвалентного металла осуществляют в операции мокрого измельчения, проводимой в соответствии с вышеуказанным способом, без использования частиц фосфата двухвалентного или трехвалентного металла, изначально имеющих малый диаметр.
В соответствии со способом приготовления композиции для подготовки поверхности согласно изобретению мокрое измельчение предпочтительно заканчивают в момент достижения частицами фосфата двухвалентного или трехвалентного металла заданного диаметра. В соответствии со способом приготовления композиции для подготовки поверхности согласно изобретению время проведения мокрого измельчения может быть уменьшено. Несмотря на то, что конкретный временной промежуток не может быть указан, поскольку он может зависеть от производительности оборудования, в некоторых случаях при использовании одного и того же оборудования этот промежуток может быть снижен до половины или менее от исходного времени. Для получения заданного значения среднего диаметра частиц фосфата требуется по меньшей мере 30 минут.
При добавлении определенного количества необходимых добавок и других ингредиентов в жидкую дисперсию, получаемую в описанной выше операции мокрого измельчения, приготавливают концентрированную жидкую дисперсию. В том случае, если во время проведения мокрого измельчения добавляют необходимые добавки и другие ингредиенты, при проведении мокрого измельчения получают концентрированную жидкую дисперсию. На этом этапе также может быть добавлено аминопроизводное, молекулярная масса которого составляет 1000 или менее. Помимо вышеописанного случая, когда аминопроизводное не используют при проведении мокрого измельчения, это также включает случай дополнительного добавления аминопроизводного с целью регулирования его количества.
В соответствии со способом приготовления композиции для подготовки поверхности согласно изобретению концентрированную жидкую дисперсию, полученную вышеуказанным способом, разбавляют водой при коэффициенте разбавления, составляющем от 5 до 10000, с целью получения предпочтительной концентрации жидкости для подготовки поверхности. При проведении этой операции или после разбавления в жидкость добавляют заданные количества необходимых и других добавок, и, наконец, рН доводят до значений в диапазоне от 3 до 12. Таким образом получают жидкость для подготовки поверхности. Полученная жидкость для подготовки поверхности также представляет собой один из аспектов настоящего изобретения.
СПОСОБ ПОДГОТОВКИ ПОВЕРХНОСТИ
Способ подготовки поверхности, предлагаемый согласно настоящему изобретению, включает операцию нанесения жидкости для подготовки поверхности на поверхность металлического материала (первая операция фосфатирования). При этом достаточное количество мельчайших частиц фосфата двухвалентного или трехвалентного металла может быть зафиксировано как на поверхности металлических материалов на основе железа и на основе цинка, так и на поверхности конверсионно-устойчивых металлических материалов, например металлических материалов на основе алюминия или сталей с высоким пределом прочности при растяжении, что приводит к образованию качественного конверсионного покрытия при проведении последующей операции конверсионной обработки (вторая операция фосфатирования). Кроме того, предлагаемый способ позволяет одновременно обрабатывать различные виды металлических материалов, включающих участки контакта металлов различных видов, например металлического материала на основе железа или цинка и металлического материала на основе алюминия, так что при проведении последующей операции конверсионной обработки на поверхности обрабатываемого материала в достаточном количестве образуется пленка конверсионного покрытия.
ОПЕРАЦИЯ ПОДГОТОВКИ ПОВЕРХНОСТИ
Выбор способа нанесения жидкости для подготовки поверхности на поверхность металлического материала, применяемого для проведения вышеуказанной обработки поверхности, особо не ограничен; для указанной цели могут быть применены традиционные способы, например погружение или напыление.
Выбор металлического материала, который подвергают подготовке поверхности, не ограничен каким-либо конкретным материалом, и предлагаемый способ можно применять для обработки различных металлов, обычно подвергаемых конверсионной фосфатной обработке, например для обработки оцинкованных стальных пластин, материалов на основе алюминия, таких как алюминий или его сплавы, сплавов магния или материалов на основе железа, таких как пластины из стали холодной прокатки или пластины из стали с высоким пределом прочности при растяжении. Кроме того, предлагаемый способ пригоден для одновременной обработки различных видов металлических материалов, например одновременно может быть произведена обработка стальных пластин или оцинкованных стальных пластин и алюминия или материала на основе алюминия.
Кроме того, применение жидкости для подготовки поверхности согласно изобретению позволяет одновременно с подготовкой поверхности производить обезжиривание поверхности. Соответственно, это позволяет исключить операцию промывки водой и последующего обезжиривания. При проведении вышеуказанной подготовки поверхности с одновременным обезжириванием, для улучшения моющей способности в композицию может быть добавлен известный неорганический щелочной моющий компонент или органический моющий компонент, или подобная добавка. Кроме того, в композицию может быть добавлен известный конденсированный фосфат или подобное ему вещество. Выбор времени контакта жидкости для подготовки поверхности с поверхностью металлического материала и температуры жидкости для подготовки поверхности при проведении вышеуказанной операции подготовки поверхности особо не ограничен; операция может быть выполнена в известных и традиционно применяемых условиях.
ОПЕРАЦИЯ КОНВЕРСИОННОЙ ОБРАБОТКИ
После выполнения подготовки поверхности проводят конверсионную обработку с получением металлической пластины, подвергнутой конверсионной обработке. Способ конверсионной обработки не имеет особых ограничений; обработка может быть произведена любым известным способом, например погружением, напылением или электролитическим способом. Кроме того, может быть использовано сочетание вышеуказанных способов.
Выбор фосфата металла, образующего конверсионное пленочное покрытие, наносимое на поверхность металлического материала, также не ограничен конкретным соединением; для указанных целей может быть использован фосфат любого металла, неограничивающие примеры которого включают фосфат цинка, фосфат железа, фосфат марганца, фосфат цинка-кальция и подобные им соединения. Среди указанных соединений предпочтительным является фосфат цинка. Время контакта средства для конверсионной обработки с поверхностью металлического материала и температуры средства для конверсионной обработки при проведении вышеуказанной операции конверсионной обработки особо не ограничено; операция может быть выполнена в известных и традиционно применяемых условиях.
НАНЕСЕНИЕ ПОКРЫТИЯ
После выполнения вышеуказанных операций подготовки поверхности и конверсионной обработки производят нанесение покрытия, в результате чего получают стальную пластину с нанесенным на нее покрытием. Покрытие обычно наносят способом электроосаждения.
Выбор краски, используемой в этом покрытии, особо ничем не ограничен; для этого может быть выбран любой известный тип краски, обычно используемой для покрытия металлических пластин, подвергнутых конверсионной обработке; примеры таких красок включают эпоксимеламиновые краски, а также краски для катионного электроосаждения, краски на основе сложных полиэфиров для промежуточных покрытий, краски на основе сложных полиэфиров для верхнего слоя покрытий и подобные им краски. Может быть использован известный способ, включающий, после проведения операции конверсионной обработки, операцию промывки, проводимую перед нанесением покрытия.
РЕЗУЛЬТАТЫ ПРИМЕНЕНИЯ ИЗОБРЕТЕНИЯ
Композиция для подготовки поверхности, предлагаемая согласно изобретению, позволяет проводить одновременную подготовку поверхностей различных типов металлов, как соединенных, так и контактирующих друг с другом, а также проводить последующую конверсионную обработку с образованием достаточного количества конверсионного пленочного покрытия. Кроме того, даже в том случае, когда композицию для подготовки поверхности, предлагаемую согласно изобретению, наносят на конверсионно-стойкий металлический материал, например на пластину из стали с высоким пределом прочности при растяжении, то при проведении последующей конверсионной обработки с образованием конверсионного пленочного покрытия получают достаточное количество пленочного покрытия. Кроме того, композиция отличается высокой дисперсионной устойчивостью.
Полагают, что устойчивость композиции обусловлена тем, что композиция для подготовки поверхности, предлагаемая согласно изобретению, наряду с частицами фосфата металла, имеющими очень малый диаметр, включает определенное аминопроизводное. Более конкретно, определенное аминопроизводное, содержащееся в композиции для подготовки поверхности, предлагаемой согласно настоящему изобретению, действует в качестве диспергирующего агента для частиц фосфата металла, улучшая, таким образом, дисперсионную устойчивость композиции. В то же время полагают, что при проведении подготовки поверхности аминопроизводное взаимодействует с обрабатываемым металлом, образуя с ним водородные или аналогичные связи, что позволяет прочно фиксировать частицы фосфата на поверхности металла. В частности, полагают, что этот эффект должен усиливаться, если аминопроизводное содержит гидроксильную группу. Полагают, что подобное усовершенствование проведения подготовки приводит к образованию более плотной пленки конверсионного покрытия по сравнению с традиционными покрытиями и к образованию достаточного количества пленочного конверсионного покрытия на участках контакта различных металлов или на конверсионно-стойком металлическом материале, например на пластине из стали с высоким пределом прочности при растяжении.
Кроме того, способ приготовления композиции для подготовки поверхности согласно изобретению позволяет быстрее, чем традиционные способы, получать частицы фосфата заданного диаметра. Полагают, что добавляемое определенное аминопроизводное, присутствующее в системе при проведении операции мокрого измельчения, взаимодействует с поверхностью измельчаемых частиц фосфата, действуя, таким образом, как диспергирующий агент. В соответствии с традиционными способами в качестве диспергирующего агента часто используют молекулы полимера, которые полностью покрывают поверхность частиц; однако, полагают, что использование аминопроизводного, молекулы которого меньше молекул полимера, позволяет получать мельчайшие частицы дисперсии. Кроме того, использование аминопроизводного позволяет изготавливать композицию для подготовки поверхности с большей концентрацией по сравнению с концентрацией, которую позволяет получить использование традиционных способов.
Указанные преимущества не могут быть реализованы при использовании аминопроизводного лишь в качестве нейтрализующего агента. Другими словами, аминопроизводное должно непосредственно оказывать диспергирующее действие на фосфат цинка. Более конкретно, полагают, что благотворное влияние аминопроизводного основано на возникновении состояния, в котором аминопроизводное в свободном виде взаимодействует с частицами фосфата.
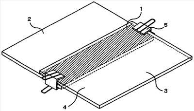
На чертеже схематически показана испытательная алюминиевая пластина, подвергнутая электролитической коррозии, используемая в примерах.
ПРЕДПОЧТИТЕЛЬНЫЙ СПОСОБ РЕАЛИЗАЦИИ ИЗОБРЕТЕНИЯ
Настоящее изобретение будет описано более подробно при помощи неограничивающих примеров. В рассмотренных ниже примерах «часть» и «%» означают «массовую часть» и «мас.%». Кроме того, при проведении подготовки поверхности жидкость для обработки, контактирующая с металлическим материалом, называется «жидкостью для подготовки поверхности», в то время как жидкая дисперсия частиц фосфата металла, используемая для получения жидкости для подготовки поверхности посредством разбавления, называется «концентрированной жидкой дисперсией». Жидкость для подготовки поверхности получают разбавлением концентрированной жидкой дисперсии растворителем, таким как вода, до заданной концентрации, введением необходимых добавок и последущим регулированием рН.
ПРИМЕР 1
К 79 мас. частям чистой воды добавили 20 мас. частей частиц фосфата цинка и 1 мас. часть N,N-диметилэтаноламина; дисперсию готовили в течение 180 минут в мельнице марки SG при 80%-ной загрузке шариками (1 мм) из оксида циркония. Полученную концентрированную жидкую дисперсию разбавляли водопроводной водой до получения концентрации фосфата цинка, равной 0,1%; жидкость для подготовки поверхности получали, доводя рН до 9 добавлением диметилэтаноламина.
ПРИМЕРЫ 2, 3
К 79 мас. частям чистой воды добавили 20 мас. частей частиц фосфата цинка и 1 мас. часть триэтаноламина (в Примере 3 использовали N- (аминоэтил)этаноламин); дисперсию готовили в течение 180 минут в мельнице марки SG при 80%-ной загрузке шариками (1 мм) из оксида циркония. Жидкость для подготовки поверхности получали из приготовленной концентрированной жидкой дисперсии способом, аналогичным описанному в Примере 1.
ПРИМЕР 4
К 69 мас. частям чистой воды добавили 20 мас. частей частиц фосфата цинка, 10 мас. частей триэтаноламина и 1 мас. часть 3-меркаптопропилметилдиметоксисилана; дисперсию готовили в течение 120 минут в мельнице марки SG при 80%-ной загрузке шариками (1 мм) из оксида циркония. Жидкость для подготовки поверхности получали из приготовленной концентрированной жидкой дисперсии способом, аналогичным описанному в Примере 1.
ПРИМЕР 5
К 78 мас. частям чистой воды добавили 1 мас. часть сапонита (торговое название “Sumecton SA”, катионообменная емкость: 100 мэкв./100 г, средний диаметр частиц в диспергированном состоянии в воде: 0,02 мкм, изготовляет Kunimine Industries Co., Ltd.) и проводили первичное диспергирование в диспергирующем устройстве при 3000 об./мин. Затем в смесь добавили 1 мас. часть N,N-диметилэтаноламина и 20 мас. частей частиц фосфата цинка; дисперсию готовили в течение 180 минут в мельнице марки SG при 80%-ной загрузке шариками (1 мм) из оксида циркония. Жидкость для подготовки поверхности получали из приготовленной концентрированной жидкой дисперсии способом, аналогичным описанному в Примере 1.
ПРИМЕР 6
К 138 мас. частям чистой воды добавили 40 мас. частей частиц фосфата цинка и 2 мас. часть N,N-диметилэтаноламина; дисперсию готовили в течение 120 минут в мельнице марки SG при 80%-ной загрузке шариками (1 мм) из оксида циркония. После этого к смеси добавили 20 мас. частей полиэтиленгликоля (торговое название “Alumax R400” производства Meiwa Kagaku Kogyo KK). Полученную концентрированную жидкую дисперсию разбавляли водопроводной водой до получения концентрации фосфата цинка, равной 0,1%; жидкость для подготовки поверхности получали, доводя рН до 9 добавлением NaOH.
ПРИМЕР 7
3-Меркаптопропилметилдиметоксисилан в количестве, равном 0,2 мас. части, и 1 мас. часть триэтаноламина предварительно диспергировали в 78,8 мас. частях чистой воды в диспергирующем устройстве при 3000 об./мин. После этого к смеси добавили 20 мас. частей частиц фосфата цинка, и дисперсию готовили в течение 120 минут в мельнице марки SG при 80%-ной загрузке шариками (1 мм) из оксида циркония. После разбавления концентрированной жидкой дисперсии водопроводной водой до получения концентрации фосфата цинка, равной 0,1%, в жидкость добавили 2 мас. части триполифосфата натрия, и рН доводили до 9 добавлением аммиака.
ПРИМЕР 8
К 79 мас. частям чистой воды добавили 20 мас. частей частиц фосфата цинка и 1 мас. часть диэтаноламина; дисперсию готовили в течение 120 минут в мельнице марки SG при 80%-ной загрузке шариками (1 мм) из оксида циркония. После разбавления полученной концентрированной жидкой дисперсии чистой водой до получения концентрации фосфата цинка, равной 0,1%, в жидкость добавили 2 мас. части (на основании содержания твердого компонента) сополимера полиакриловой кислоты и сульфоновой кислоты (торговое название “Aron A6020”, содержание твердого компонента: 40%, производства Toagosei Chemical Industry Co., Ltd.), и рН доводили до 9 добавлением диэтаноламина (избыток).
ПРИМЕР 9
К 76,5 мас. частям чистой воды добавили 20 мас. частей частиц фосфата цинка и 1 мас. часть диэтаноламина и 2,5 мас. части “Aron A6020” (избыток); дисперсию готовили в течение 120 минут в мельнице марки SG при 80%-ной загрузке шариками (1 мм) из оксида циркония. Жидкость для подготовки поверхности получали из приготовленной концентрированной жидкой дисперсии способом, аналогичным описанному в Примере 1.
ПРИМЕР 10
3-Меркаптопропилметилдиметоксисилан в количестве, равном 1 мас. часть, и 1 мас. часть триэтаноламина предварительно диспергировали в 77 мас. частях чистой воды в диспергирующем устройстве при 3000 об./мин. После этого к смеси добавили 20 мас. частей частиц фосфата цинка и 1 мас. часть карбоксиметилцеллюлозы (КМЦ) (торговое название “АРР84”, производства Nippon Paper Industries Co., Ltd.), и дисперсию готовили в течение 120 минут в мельнице марки SG при 80%-ной загрузке шариками (1 мм) из оксида циркония. Жидкость для подготовки поверхности получали из приготовленной концентрированной жидкой дисперсии способом, аналогичным описанному в Примере 1.
ПРИМЕР 11
К 78 мас. частям чистой воды добавили 20 мас. частей частиц фосфата цинка, 1 мас. часть диэтаноламина и 1 мас. часть уретановой смолы (торговое название “Tafigel PUR40”, производства Kusumoto Chemicals, Ltd.), и дисперсию готовили в течение 60 минут в мельнице марки SG при 80%-ной загрузке шариками (1 мм) из оксида циркония. Жидкость для подготовки поверхности получали из приготовленной концентрированной жидкой дисперсии способом, аналогичным описанному в Примере 1.
ПРИМЕР 12
3-Метакрилоксипропилметилтриметоксисилан в количестве, равном 1 мас. часть, и 1 мас. часть триэтаноламина предварительно диспергировали в 77 мас. частях чистой воды в диспергирующем устройстве при 3000 об./мин. После этого к смеси добавили 20 мас. частей частиц фосфата цинка и 1 мас. часть полиамида (торговое название “AQ-50”, производства Kusumoto Chemicais, Ltd.), и дисперсию готовили в течение 120 минут в мельнице марки SG при 80%-ной загрузке шариками (1 мм) из оксида циркония. Жидкость для подготовки поверхности получали из приготовленной концентрированной жидкой дисперсии способом, аналогичным описанному в Примере 1.
ПРИМЕР 13
К 31,7 мас. частям чистой воды добавили 3,3 мас. части триэтаноламина и 65 мас. частей частиц фосфата цинка, и дисперсию готовили в течение 180 минут в мельнице марки SG при 80%-ной загрузке шариками (1 мм) из оксида циркония. После разбавления полученной концентрированной жидкой дисперсии чистой водой в два раза жидкость для подготовки поверхности получали из приготовленной концентрированной жидкой дисперсии способом, аналогичным описанному в Примере 1.
ПРИМЕР 14
К 79,8 мас. частям чистой воды добавили 0,2 мас. части триэтаноламина и 20 мас. частей частиц фосфата цинка, и дисперсию готовили в течение 180 минут в мельнице марки SG при 80%-ной загрузке шариками (1 мм) из оксида циркония. Жидкость для подготовки поверхности получали из приготовленной концентрированной жидкой дисперсии способом, аналогичным описанному в Примере 1.
ПРИМЕР 15
К 77,9 мас. частям чистой воды добавили 2 мас. части синтетического гекторита (торговое название “Laponite RD”, катионообменная емкость: 120 мэкв/100 г, средний диаметр частиц в диспергированном состоянии в воде: 0,05 мкм, производства Toshin Chemicats Co., Ltd.) и проводили первичное диспергирование в диспергирующем устройстве при 3000 об./мин. Затем в смесь добавили 0,1 мас. часть триэтаноламина и 20 мас. частей частиц фосфата цинка, и дисперсию готовили в течение 120 минут в мельнице марки SG при 80%-ной загрузке шариками (1 мм) из оксида циркония. Жидкость для подготовки поверхности получали из приготовленной концентрированной жидкой дисперсии способом, аналогичным описанному в Примере 1.
ПРИМЕР 16
0.1М нитрат цинка и 1М одноосновный фосфат натрия смешивали до получения осадков, дважды нагревая до 80°С. Для получения пасты фосфата цинка 5 раз повторяли центрифугирование (2000 об./мин) и промывание водой. Содержание твердого вещества в пасте фосфата цинка доводили до 20 мас. частей, добавляли 1 мас. часть метилдиэтанопамина, и дисперсию готовили, как указано в Примере 1. Жидкость для подготовки поверхности получали из приготовленной концентрированной жидкой дисперсии способом, аналогичным описанному в Примере 1.
ПРИМЕР 17
К 78 мас. частям чистой воды добавили 1 мас. часть метилдиэтаноламина, 20 мас. частей частиц фосфата цинка и 1 мас. часть галловой кислоты, и дисперсию готовили в течение 120 минут в мельнице марки SG при 80%-ной загрузке шариками (1 мм) из оксида циркония. Жидкость для подготовки поверхности получали из приготовленной концентрированной жидкой дисперсии способом, аналогичным описанному в Примере 1.
ПРИМЕР 18
После разбавления концентрированной жидкой дисперсии, полученной в Примере 17, водопроводной водой до получения концентрации фосфата цинка, равной 0,1%, в жидкость добавили эпикатехин в количестве, равном 1 мас. часть на 20 мас. частей частиц фосфата цинка. Жидкость для подготовки поверхности получали, доводя рН до 9 добавлением NaOH.
СРАВНИТЕЛЬНЫЙ ПРИМЕР 1
К 79 мас. частям чистой воды добавили 1 мас. часть триэтаноламина и 20 мас. частей частиц фосфата цинка, и дисперсию готовили в течение 15 минут в мельнице марки SG при 80%-ной загрузке шариками (1 мм) из оксида циркония, получая концентрированную жидкую дисперсию с диаметром частиц, равным 3,9 мкм. Жидкость для подготовки поверхности получали из приготовленной концентрированной жидкой дисперсии способом, аналогичным описанному в Примере 1.
СРАВНИТЕЛЬНЫЙ ПРИМЕР 2
К 78 мас. частям чистой воды добавили 1 мас. часть коллоидного оксида кремния (торговое название “Aerosil (R) 300”, SiO2, производства Nippon Aerosil Co., Ltd.), и проводили первичное диспергирование в диспергирующем устройстве при 3000 об./мин. Затем в смесь добавили 1 мас. часть третичного фосфата натрия и 20 мас. частей частиц фосфата цинка; дисперсию готовили в течение 180 минут в мельнице марки SG при 80%-ной загрузке шариками (1 мм) из оксида циркония. Жидкость для подготовки поверхности получали из приготовленной концентрированной жидкой дисперсии способом, аналогичным описанному в Примере 1.
СРАВНИТЕЛЬНЫЙ ПРИМЕР 3
Первичное диспергирование 5 мас. частей 20%-ного раствора полиаллиламина (торговое название “РАА-03”, молекулярная масса: 3000, содержание твердого: 20%, изготавливает Toyobo Co., Ltd.) проводили в 75 мас. частях чистой воды, в которую также добавляли 20 мас. частей частиц фосфата цинка. После приготовления дисперсии в течение 3180 минут в мельнице марки SG при 80%-ной загрузке шариками (1 мм) из оксида циркония жидкость для подготовки поверхности получали из приготовленной концентрированной жидкой дисперсии способом, аналогичным описанному в Примере 1.
СРАВНИТЕЛЬНЫЙ ПРИМЕР 4
К 76 мас. частям чистой воды добавили 4 мас. части 25%-ного гидроксида аммония и 20 мас. частей частиц фосфата цинка; дисперсию готовили в течение 180 минут в мельнице марки SG при 80%-ной загрузке шариками (1 мм) из оксида циркония. Жидкость для подготовки поверхности получали из приготовленной концентрированной жидкой дисперсии способом, аналогичным описанному в Примере 1.
СРАВНИТЕЛЬНЫЙ ПРИМЕР 5
К 79 мас. частям чистой воды добавили 1 мас. часть карбоксиметилцеллюлозы (избыток) и проводили первичное диспергирование в диспергирующем устройстве при 3000 об./мин. Затем в смесь добавили 20 мас. частей частиц фосфата цинка; дисперсию готовили в течение 360 минут в мельнице марки SG при 80%-ной загрузке шариками (1 мм) из оксида циркония. Жидкость для подготовки поверхности получали из приготовленной концентрированной жидкой дисперсии способом, аналогичным описанному в Примере 1.
СРАВНИТЕЛЬНЫЙ ПРИМЕР 6
К 767,5 мас. частям чистой воды добавили 20 мас. частей частиц фосфата цинка и 2,5 мас. части полиакрилата натрия с молекулярной массой, равной 10040; дисперсию готовили в течение 360 минут в мельнице марки SG при 80%-ной загрузке шариками (1 мм) из оксида циркония. Жидкость для подготовки поверхности получали из приготовленной концентрированной жидкой дисперсии способом, аналогичным описанному в Примере 1.
СРАВНИТЕЛЬНЫЙ ПРИМЕР 7
К 31,7 мас. частям чистой воды добавили 65 мас. частей частиц фосфата цинка и 3,3 мас. части карбоксиметилцеллюлозы (избыток), и дисперсию готовили в течение 180 минут в мельнице марки SG при 80%-ной загрузке шариками (1 мм) из оксида циркония. Жидкость для подготовки поверхности получали из приготовленной концентрированной жидкой дисперсии способом, аналогичным описанному в Примере 1.
СРАВНИТЕЛЬНЫЙ ПРИМЕР 8
Порошкообразный реагент для подготовки поверхности, приготовленный на основе титана (торговое название “5N10”, производства Nippon Paint Co., Ltd.), разбавили водопроводной водой до концентрации 0,1%, и рН доводили до 9 добавлением NaOH.
ИЗГОТОВЛЕНИЕ ПЛАСТИНЫ 1 ДЛЯ ИСПЫТАНИЙ
Пластину из стали холодной прокатки (SPC) (70 мм × 150 мм × 0,8 мм), алюминиевую пластину (Al) (серия #6000, 70 мм × 150 мм × 0.8 мм), оцинкованную пластину (GA) (70 мм × 150 мм × 0,8 мм) и пластину из стали с высоким пределом прочности при растяжении (70 мм × 150 мм × 1,0 мм) подвергали по отдельности обезжириванию с использованием обезжиривающего агента (торговое название “Surfcleaner EC92”, 2%, производства Nippon Paint Co., Ltd.) при 40°С в течение 2 минут. Затем при комнатной температуре в течение 30 секунд производили подготовку поверхности при помощи жидкостей для подготовки поверхности, полученных в Примерах 1-18 и Сравнительных Примерах 1-8. Составы жидкостей для подготовки поверхности, полученных в соответствующих Примерах, показаны в таблице 1. Затем каждую стальную пластину подвергали конверсионной обработке с использованием жидкости, содержащей фосфат цинка (торговое название “Surfdine SD6350”, 2%, производства Nippon Paint Co., Ltd.), при 35°С в течение 2 минут, затем промывали водой, чистой водой и сушили, получая пластину для испытаний.
ИЗГОТОВЛЕНИЕ ПЛАСТИНЫ 2 ДЛЯ ИСПЫТАНИЙ
Способом, аналогичным указанному для изготовления пластины 1 для испытаний, алюминиевую пластину 3 и оцинкованную пластину 2 подвергали обезжириванию, после которого алюминиевую пластину 3 и оцинкованную пластину 2 соединяли, используя зажим 5, как показано на Фиг.1. Затем соединенные стальные пластины подвергали подготовке поверхности, конверсионной обработке, промывке водой, чистой водой и сушке способом, аналогичным указанному для пластины 1 для испытаний, получая пластину для испытаний.
АТТЕСТАЦИОННЫЕ ИСПЫТАНИЯ
В соответствии со следующими методиками определяли диаметр и устойчивость частиц фосфата цинка полученной жидкости для подготовки поверхности и проводили различные испытания полученных при этом испытательных пластин. Результаты испытаний на устойчивость показаны в таблице 3; результаты других испытаний показаны в таблице 2. Испытания стальной пластины, полученной при «изготовлении пластины 2 для испытаний», проводили на части, подвергаемой электролитической коррозии 1, алюминиевой пластины 3. В таблице 2 изделия, полученные при «изготовлении пластины 1 для испытаний», обозначены “SPC”, “GA”, “Al” и “пластина из стали с высоким пределом прочности при растяжении”, а изделия, полученные при «изготовлении пластины 2 для испытаний», обозначены “Al (часть, подвергаемая электролитической коррозии)”.
ОПРЕДЕЛЕНИЕ ДИАМЕТРА ЧАСТИЦ ФОСФАТА ЦИНКА
Распределение значений диаметров частиц фосфата цинка, содержащихся в жидкости для подготовки поверхности, приготовленной в Примерах или Сравнительных Примерах, определяли при помощи оптического дифракционного анализатора размеров частиц (наименование изделия: анализатор “LA-500”, изготовляемый Horiba, Ltd.); при этом для определения D50 (средний диаметр частиц дисперсии) и D90 измеряли D50 и D90.
Диаметр D50 в дисперсиях, полученных в Примерах 1, 2, 3, 4, 5, 9 и 13 и Сравнительных Примерах 5 и 6, определяли спустя один час после начала диспергирования.
ВНЕШНИЙ ВИД ПЛЕНОЧНОГО ПОКРЫТИЯ
Внешний вид получаемого при конверсионной обработке пленочного покрытия оценивали визуально на основании следующих стандартов. Также оценивали присутствие или отсутствие ржавчины (коррозии) после проведения сушки. Случаи образования ржавчины (коррозии) отмечали как «образование ржавчины».
А: равномерное покрытие всей поверхности мельчайшими частицами;
В: грубое покрытие на всей поверхности;
С: покрытие отсутствует на некоторых частях поверхности;
D: конверсионное покрытие практически отсутствует.
Кроме того, размер кристаллов пленочного покрытия, получаемого при конверсионной обработке, измеряли при помощи электронного микроскопа.
АДГЕЗИОННАЯ СПОСОБНОСТЬ
После проведения подготовки поверхности изделие оставляли на 1 час, а затем производили сушку, после чего определяли адгезионную способность при помощи флуоресцентного рентгеновского устройства (наименование изделия: “XRF-1700”, производства Shimadzu Corporation).
КОЛИЧЕСТВО КОНВЕРСИОННОГО ПЛЕНОЧНОГО ПОКРЫТИЯ
При помощи флуоресцентного рентгеновского устройства (наименование изделия: “XRF-1700”, производства Shimadzu Corporation) измеряли массу конверсионного пленочного покрытия.
При использовании металлических материалов, относительно хорошо поддающихся конверсионной обработке, например SPC или GA, конверсионная обработка давала лучшие результаты в том случае, когда диаметр частиц был меньше и, следовательно, пленка покрытия была тоньше, поскольку в этом случае желательно образование как можно более плотной пленки. Напротив, в случае использования конверсионно-стойких металлических материалов, имеющих низкие характеристики по отношению к конверсионной обработке, например материалов на основе алюминия и пластин из стали с высоким пределом прочности при растяжении, необходимо нанесение большего количества кристаллов пленочного покрытия. Таким образом, полагают, что нанесение большего количества пленочного покрытия придает материалу улучшенные характеристики.
КОРРОЗИОННАЯ СТОЙКОСТЬ
После проведения конверсионной обработки на пластины при помощи катионного электроосаждения наносили покрытие, содержащие специальную краску для катионного электроосаждения (наименование “Powernix 110”, производства Nippon Paint Co., Ltd.), таким образом, что толщина сухого покрытия составляла 20 мкм. Пластины для испытаний промывали водой и затем подвергали спеканию при температуре 170°С в течение 20 минут. Затем на каждой пластине выполняли надрез такой глубины, что он достигал материала основы, и пластины подвергали испытанию в соленой воде (5% солевой раствор в воде, погружение в течение 480 часов при 35°С). После этого на часть с надрезом наносили клейкую ленту и снимали ее, измеряя ширину обнажившейся части.
УСТОЙЧИВОСТЬ ВО ВРЕМЕНИ
Оценку устойчивости во времени жидкостей для подготовки поверхности, полученных в Примерах 4, 6, 7, 11, 15 и 19 и Сравнительных Примерах 5 и 8, производили посредством визуального сравнения пригодности SPC к конверсионной обработке после обработки жидкостью, выдержанной в течение 30 суток при комнатной температуре, и после обработки свежеприготовленной жидкостью на основании следующих стандартов:
А: внешний вид пленочного покрытия не отличается от вида покрытия, полученного после обработки свежеприготовленной жидкостью;
В: наблюдается образование пленочного покрытия, но его качество хуже, чем в случае обработки свежеприготовленной жидкостью;
С: конверсионное покрытие практически не образуется.
 


| Таблица 3 |
 |
устойчивость во времени |
| Пример 4 |
А |
| Пример 6 |
А |
| Пример 7 |
А |
| Пример 11 |
А |
| Пример 15 |
А |
| Пример 18 |
А |
| Сравнительный Пример 5 |
В |
| Сравнительный Пример 8 |
С |
Как видно из таблицы 1, в соответствии со способом приготовления, предлагаемым согласно настоящему изобретению, композиция для подготовки поверхности, включающая частицы фосфата цинка заданного диаметра, может быть приготовлена быстрее, чем в соответствии с традиционными способами. Кроме того, как видно из Примера 13, даже при высокой концентрации фосфата цинка в дисперсии, равной 65%, может быть получена хорошая композиция для подготовки поверхности. Напротив, эксперимент по приготовлению аналогичной композиции, в которую вместо аминопроизводного добавляли карбоксиметилцеллюлозу, показанный в Сравнительном Примере 7, продемонстрировал, что в этом случае происходит образование агрегатов частиц, которое приводит к получению непригодной дисперсии и, следовательно, невозможности приготовления композиции для подготовки поверхности.
Кроме того, как видно из таблицы 2, при использовании композиции для подготовки поверхности, предлагаемой согласно настоящему изобретению, на всех пластинах, изготовленных из стали холодной прокатки, алюминиевых пластинах и оцинкованных пластинах в достаточном количестве образуется конверсионное пленочное покрытие, и, кроме того, конверсионное пленочное покрытие образуется в достаточном количестве на тех частях алюминиевой пластины, которые включают контакт металлов различных типов, т.е. алюминиевой пластины и оцинкованной пластины. Другими словами, при одновременной обработке металлов различных типов на их поверхности конверсионное пленочное покрытие образуется в достаточном количестве.
Кроме того, как видно из таблицы 3, композиция для подготовки поверхности, предлагаемая согласно настоящему изобретению, имеет высокую устойчивость. Несмотря на то, что жидкость для подготовки поверхности использовали спустя 30 суток после ее приготовления, при конверсионной обработке получали хорошее покрытие.
ПРОМЫШЛЕННАЯ ПРИМЕНИМОСТЬ
Композиция для подготовки поверхности, получаемая в соответствии со способом, предлагаемым согласно настоящему изобретению, может быть успешно использована для обработки различных металлических материалов, которые применяют для изготовления автомобильных кузовов, бытовых электроприборов и подобных им изделий.
Формула изобретения
1. Композиция для подготовки металлической поверхности, включающая частицы фосфата двухвалентного или трехвалентного металла и имеющая рН в диапазоне от 3 до 12, причем диаметр D50 частиц фосфата двухвалентного или трехвалентного металла составляет 3 мкм или менее, содержит аминопроизводное, молекулярная масса которого составляет 1000 или менее, и, по меньшей мере, один алкоксид металла в количестве, составляющем от 0,01 до 100 мас. ч. на 100 мас. ч. содержания твердых частиц фосфата металла.
2. Композиция по п.1, в которой частицы фосфата двухвалентного или трехвалентного металла представляют собой частицы фосфата цинка.
3. Композиция по п.1 или 2, в которой аминопроизводное представляет собой производное гидроксиламина, содержащее в молекуле, по меньшей мере, одну гидроксильную группу.
4. Композиция по п.1, которая дополнительно включает слоистый глинистый минерал.
5. Композиция по п.1, которая дополнительно включает хелатирующий агент.
6. Композиция по п.1, которая дополнительно включает фенольное соединение.
7. Способ приготовления композиции для подготовки металлической поверхности, включающий операцию мокрого измельчения сырья, представляющего собой фосфат двухвалентного или трехвалентного металла, в дисперсионной среде в присутствии аминопроизводного, молекулярная масса которого составляет 1000 или менее и, по меньшей мере, одного алкоксида металла в количестве, составляющем от 0,01 до 100 мас. ч. на 100 мас. ч. содержания твердых частиц фосфата металла.
8. Композиция для подготовки металлической поверхности, полученная способом по п.7.
9. Способ подготовки металлической поверхности, включающий операцию осуществления контакта композиции для подготовки поверхности по любому из пп.1-6 или 8 с поверхностью металлического материала.
РИСУНКИ
|
|