Патент на изобретение №2392349

Published by on




РОССИЙСКАЯ ФЕДЕРАЦИЯ



ФЕДЕРАЛЬНАЯ СЛУЖБА
ПО ИНТЕЛЛЕКТУАЛЬНОЙ СОБСТВЕННОСТИ,
ПАТЕНТАМ И ТОВАРНЫМ ЗНАКАМ
(19) RU (11) 2392349 (13) C2
(51) МПК

C23C14/08 (2006.01)
B32B15/04 (2006.01)

(12) ОПИСАНИЕ ИЗОБРЕТЕНИЯ К ПАТЕНТУ

Статус: по данным на 18.08.2010 – действует

(21), (22) Заявка: 2008125430/02, 17.10.2006

(24) Дата начала отсчета срока действия патента:

17.10.2006

(30) Конвенционный приоритет:

24.11.2005 EP 05025690.8

(43) Дата публикации заявки: 27.12.2009

(46) Опубликовано: 20.06.2010

(56) Список документов, цитированных в отчете о
поиске:
US 6258467 B1, 10.07.2001. RU 2218451 C2, 10.12.2003. RU 2163942 C2, 10.03.2001. US 2005238907 A1, 27.10.2005. US 2004180233 A1, 16.09.2004.

(85) Дата перевода заявки PCT на национальную фазу:

24.06.2008

(86) Заявка PCT:

EP 2006/067497 20061017

(87) Публикация PCT:

WO 2007/060062 20070531

Адрес для переписки:

129090, Москва, ул.Б.Спасская, 25, стр.3, ООО “Юридическая фирма Городисский и Партнеры”, пат.пов. А.В.Мицу, рег. 364

(72) Автор(ы):

ШУМАНН Эккарт (DE),
СУБРАМАНИАН Рамеш (DE),
КАЙЗЕР Аксель (DE)

(73) Патентообладатель(и):

СИМЕНС АКЦИЕНГЕЗЕЛЛЬШАФТ (DE)

(54) ПОКРЫТИЕ ДЛЯ ДЕТАЛИ ИЗ ЖАРОПРОЧНОГО СПЛАВА НА ОСНОВЕ ЖЕЛЕЗА, ИЛИ НИКЕЛЯ, ИЛИ КОБАЛЬТА

(57) Реферат:

Изобретение относится к покрытию детали из жаропрочного сплава на основе железа, никеля или кобальта и может быть использовано при изготовлении деталей газовой турбины, в частности турбинных лопаток или теплозащитных экранов. Покрытие содержит наружный керамический слой со структурой пирохлора Gdv(ZrxHfy)Oz, изготовленный из смеси с соотношением гафния и циркония, составляющим 10:90 или 20:80, или 30:70, или 40:60, или 50:50, или 60:40, или 70:30, или 80:20, или 90:10. Получают покрытие с хорошими теплоизолирующими свойствами, а также хорошим сцеплением с деталью и большой долговечностью. 17 з.п. ф-лы, 5 ил.

Изобретение относится к покрытию детали из жаропрочного сплава на основе железа, или никеля, или кобальта, которое содержит наружный керамический слой.

Покрытие такого рода имеет подложку в виде металлического сплава на основе никеля или кобальта. Изделия такого рода служат в первую очередь деталями газовой турбины, в частности турбинными лопатками газовой турбины или теплозащитными экранами. Эти детали подвержены действию потоков горячего газа или агрессивных сред газообразных продуктов горения. Поэтому им приходится выдерживать большие тепловые нагрузки. Кроме того, необходимо, чтобы эти детали были коррозионно-стойкими и стойкими к окислению. Требования механической прочности предъявляются прежде всего к подвижным деталям, например к турбинным лопаткам газовых турбин, а в перспективе и к неподвижным деталям. Мощность и коэффициент полезного действия газовой турбины, в которой применяются детали, подверженные действию горячих газов, увеличиваются с повышением температуры. Чтобы добиться большого коэффициента полезного действия и большой мощности, компоненты газовых турбин, особенно подверженные действию высоких температур, снабжают покрытиями из керамического материала. Последние действует в качестве термоизоляционного слоя между потоком горячего газа и металлической подложкой.

От агрессивного потока горячего газа металлическая основа защищена покрытиями. При этом современные детали обычно имеют несколько покрытий, выполняющих специфические задачи. Таким образом, мы имеем дело с многослойными системами.

Поскольку мощность и коэффициент полезного действия газовых турбин с увеличением рабочей температуры возрастают, неоднократно делались попытки добиться большей мощности газовых турбин за счет усовершенствования системы покрытия.

ЕР 0944746 В1 раскрывает сущность применения пирохлора в качестве теплоизоляционного слоя. Однако для использования материала в качестве теплоизоляционного слоя необходимы не только хорошие теплоизоляционные свойства, но и хорошее сцепление с подложкой.

ЕР 0992603 А1 раскрывает сущность системы теплоизоляционного покрытия из окисей гадолиния и циркония, которое не должно иметь структуры пирохлора.

Поэтому задача изобретения состоит в том, чтобы предоставить покрытие в виде системы слоев, которое обладает хорошими теплоизоляционными свойствами, а также хорошим сцеплением с подложкой (деталью) и тем самым большой долговечностью.

Задача решается посредством покрытия для детали из жаропрочного сплава на основе железа, или никеля, или кобальта, которое содержит наружный керамический слой (13) со структурой пирохлора Gdv(ZrxHfy)Oz, изготовленный из смеси с соотношением гафния и циркония, составляющим 10:90 или 20:80, или 30:70, или 40:60, или 50:50, или 60:40, или 70:30, или 80:20, или 90:10.

В основу изобретения положено понимание того, что вся система для достижения долговечности должна рассматриваться и оптимизироваться как единое целое, а не как отдельные слои или отдельные слои, изолированные между собой и друг от друга.

В зависимых пунктах формулы изобретения приведены другие предпочтительные действия, которые могут произвольно комбинироваться выгодным образом.

Покрытие в виде системы слоев согласно изобретению состоит из наружного керамического слоя, содержащего смешанный кристалл из цирконата гадолиния и гафната гадолиния, обладающий особенно хорошими тепловыми свойствами (коэффициент расширения, соответствующий подложке, малый коэффициент теплопроводности) и очень хорошо гармонирующий с промежуточным слоем и подложкой детали.

Примеры осуществления изобретения подробно поясняются ниже со ссылками на чертежи.

Фиг.1 изображает систему слоев согласно изобретению,

фиг.2 – составы жаропрочных сплавов,

фиг.3 – газовую турбину,

фиг.4 – вид турбинной лопатки в изометрии,

фиг.5 – вид камеры сгорания в изометрии.

На фиг.1 изображена система слоев согласно изобретению.

Покрытие 1 предусматривает металлическую подложку 4, которая, в частности, для жаропрочных деталей состоит из жаропрочного сплава на никелевой или кобальтовой основе (фиг.2).

Непосредственно на подложке 4 имеется предпочтительно металлический связующий слой 7 типа, MCrAlX, в частности, типа NiCoCrAlX, который предпочтительно содержит

11-13, в частности, 12 вес.% кобальта,

20-22, в частности, 21 вес.% хрома,

10,5-11,5, в частности, 11 вес.% алюминия,

0,3-0,5, в частности, 0,4 вес.% иттрия (=Х),

1,5-2,5, в частности, 2,0 вес.% рения,

остальное – никель

или предпочтительно

24-26, в частности, 25 вес.% кобальта,

16-18, в частности, 17 вес.% хрома,

9,5-10,5, в частности, 10 вес.% алюминия,

0,3-0,5, в частности, 0,4 вес.% иттрия (=Х),

1-2,0, в частности, 1,5 вес.% рения,

остальное – никель

или предпочтительно

29-31, в частности, 30 вес.% никеля,

27-29, в частности, 28 вес.% хрома,

7-9, в частности, 8 вес.% алюминия,

0,5-0,7, в частности, 0,6 вес.% иттрия (=Х),

0,6-0,8, в частности, 0,7 вес.% кремния,

остальное – кобальт,

или предпочтительно

27-29, в частности, 28 вес.% никеля,

23-25, в частности, 24 вес.% хрома,

9-11, в частности, 10 вес.% алюминия,

0,3-0,7, в частности, 0,6 вес.% иттрия (=Х),

остальное – кобальт.

В частности, связующий слой NiCoCrAlY имеет один из этих составов.

На этом металлическом связующем слое 7 еще до нанесения последующих керамических слоев возник окисный слой алюминия, такой окисный слой алюминия возникает и во время эксплуатации (TGO). На металлическом связующем слое 7 или на окисном слое алюминия (не показан) предпочтительно имеется внутренний керамический слой предпочтительно полностью или частично стабилизированный окисный слой циркония. Предпочтительно используется стабилизированный окисный слой циркония с предпочтительно 6-8 вес.% иттрия. Для стабилизации окиси циркония могут быть также использованы окиси кальция, церия или гафния. Окись циркония предпочтительно наносится в виде слоя методом плазменного напыления, однако, она также предпочтительно может быть нанесена в качестве столбчатой структуры посредством электронно-лучевого напыления (EBPVD).

На TGO, на связующий слой 7 или на внутренний слой 10 нанесен наружный керамический слой 13, который содержит согласно изобретению смешанный кристалл из гадолиния, гафния и циркония со структурой пирохлора. Структура пирохлора имеет суммарную формулу А2В2O7 или в общем случае AvBxOz, причем v=2, x=2 и z=7. Отклонения от этого стехиометрического состава для v, x и z могут возникнуть в результате дефектов или небольшого, сознательного или непроизвольного легирования.

Для наружного керамического слоя 13 согласно изобретению в качестве А используется гадолиний (Gd), в качестве В-гафний и цирконий (Hf, Zr), т.е. смешанная структура – это Gdv(HfxZry)Oz.

В этом случае также могут иметь место отклонения от этой стехиометрии.

Предпочтительно наружный керамический слой содержит слой 13 Gdv(HfxZry)Oz при х+у=2.

Предпочтительно наружный керамический слой содержит также слой 13 Gdy(HfxZry)O7.

Предпочтительно наружный керамический слой содержит слой 13 Gd2(HfxZry)Oz.

Предпочтительно наружный керамический слой 13 состоит из Gdv(HfxZry)Oz, в частности, при v=2, x+y=2 и z=7.

При этом могут быть использованы любые соотношения компонентов смеси циркония и гафния у:х. Предпочтительно преобладает доля циркония. Такими же предпочтительными являются соотношения компонентов смеси гафния и циркония 10:90, 20:80, 30:70 или 40:60. Кроме того, предпочтительно применять соотношения компонентов смеси гафния и циркония 50:50, 60:40, 70:30, 80:20 или 90:10. Таким образом, для отношения х к у предпочтительными оказываются приведенные показатели отношения гафния к цирконию (Hf:Zr=80:20 соответствует у:х=1,6:0,4).

Слой может быть изготовлен из порошка, содержащего доли вышеупомянутого состава. Аналогичным образом смешанные кристаллы могут быть также получены в процессе нанесения покрытия или в результате термической обработки по окончании процесса нанесения покрытия.

Толщина внутреннего слоя 10 предпочтительно составляет 10-50% всей толщины D внутреннего слоя 10 и наружного слоя 13. Предпочтительно толщина внутреннего слоя 10 составляет 10-40 или 10-30% всей толщины слоя. Также предпочтительно, чтобы толщина внутреннего слоя 10 составляла 10-20% толщины всего слоя. Также предпочтительно, чтобы толщина внутреннего слоя 10 составляла 20-50 или 20-40% толщины всего слоя. Если доля внутреннего слоя 10 от всей толщины слоя располагается между 20 и 30%, то достигнутые результаты также являются предпочтительными. Предпочтительно толщина внутреннего слоя 10 составляет 30-50% всей толщины слоя.

Также предпочтительно, чтобы толщина внутреннего слоя 10 составляла 30-40% толщины всего слоя. Также предпочтительно, чтобы толщина внутреннего слоя 10 составляла 40-50% толщины всего слоя. Хотя фаза пирохлора имеет по сравнению со слоем ZrO2 лучшие теплоизоляционные свойства, слой ZrO2 по толщине может быть выполнен таким же, как фаза пирохлора.

Внутренний керамический слой 10 предпочтительно имеет толщину 40-60 мкм, в частности 50 мкм. Общая толщина внутреннего слоя 10 и наружного слоя 13 составляет предпочтительно 300 или 400 мкм. Максимальная общая толщина слоя составляет предпочтительно 800 мкм или предпочтительно максимум 600 мкм.

На фиг.3 в качестве примера газовая турбина 100 изображена в частичном продольном разрезе. Газовая турбина 100 содержит внутри ротор 103 с валом 101, установленный с возможностью вращения вокруг оси 102 вращения и называемый также турбинным ротором. Вдоль ротора 103 друг за другом следуют всасывающая коробка 104, компрессор 105, камера 110 сгорания, например тороидальная, в частности кольцевая, с несколькими коаксиально расположенными горелками 107, турбина 108 и корпус 109 для отходящих газов.

Кольцевая камера сгорания 110 сообщается, например, с кольцевым каналом 111 для горячего газа. Там, например, четыре последовательно включенные ступени 112 турбины образуют турбину 108. Каждая турбина 112 образована, например, двумя обоймами лопаток. Если смотреть в направлении потока рабочей среды 113, то в канале 111 для горячего газа за рядом 115 направляющих лопаток 120 следует ряд 125, образованный рабочими лопатками 120.

При этом направляющие лопатки 130 закреплены на внутреннем корпусе 138 статора 143, в то время как рабочие лопатки 120 ряда 125 закреплены, например, с помощью диска турбины 133, на роторе 103. К ротору 103 подсоединен генератор или рабочая машина (не показаны).

Во время работы газовой турбины 100 воздух 135 с помощью компрессора 105 всасывается через всасывающую коробку 104 и сжимается. Сжатый воздух с конца компрессора 105 со стороны турбины подается к горелкам 107 и там смешивается с горючим материалом. Затем смесь сжигается в камере 110 сгорания с образованием рабочей среды 113. Оттуда рабочая среда 113 устремляется вдоль канала 111 для горячего газа мимо направляющих лопаток 130 и рабочих лопаток 120. На рабочих лопатках 120 рабочая среда 113 расширяется, формируя импульс, так что рабочие лопатки 120 приводят во вращение ротор 103, а он -подсоединенную к нему рабочую машину.

Детали, испытывающие воздействие горячей рабочей среды 113, во время эксплуатации газовой турбины 100 подвергаются термическим нагрузкам. Направляющие турбины 130 и рабочие турбины 120 первой ступени 112 турбины в направлении потока рабочей среды 113 наряду с теплозащитными облицовочными элементами кольцевой камеры 110 сгорания подвергаются наибольшим термическим нагрузкам.

Для того чтобы выдержать господствующие там температуры, они могут охлаждаться с помощью охлаждающей среды. Кроме того, подложки деталей могут иметь направленную структуру, т.е. они являются монокристаллическими (при наличии структуры SX) или имеют зерна, ориентированные лишь в продольном направлении (при наличии структуры DS).

В качестве материала для деталей, в частности для турбинных лопаток 120, 130 и для деталей камеры 110 сгорания, используются, например, жаропрочные сплавы на основе железа, никеля или кобальта.

Такие жаропрочные сплавы известны, например, из ЕР 1204776 В1, ЕР 1306454, ЕР 1319729 A1, WO 99/67435 или WO 00/44949; эти публикации в отношении химического состава сплавов частично раскрывают сущность изобретения.

Направляющая лопатка 130 имеет основание, обращенное к внутреннему корпусу 138 турбины 108 (здесь не показано) и вершину, противолежащую основанию направляющей лопатки 130. Вершина направляющей лопатки 130 обращена в сторону ротора 103 и установлена на зажимном кольце 140 статора 143.

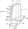
На фиг.4 изображены рабочая лопатка 120 или направляющая лопатка 130 турбомашины, располагающаяся в направлении продольной оси 121.

Турбомашиной может быть газовая турбина самолета или электростанции для производства электроэнергии, паровая турбина или компрессор.

Лопатка 120, 130 имеет в направлении продольной оси 121 последовательно расположенные область 400 крепления, граничащую с ней платформу 403 лопатки, а также рабочую сторону 406 и вершину 415. В качестве направляющей лопатки 130 она может иметь на своей вершине 415 еще одну платформу (не показана). В области 400 крепления выполнено основание 183 лопатки, служащее для крепления рабочих лопаток 120 и направляющих лопаток 130 на валу или диске (не показаны). Основание 183 выполнено, например, в виде прямоугольной головки. Возможны другие формы выполнения в виде елочного или ласточкина хвоста. Лопатка 120, 130 имеет для среды, протекающей мимо рабочей стороны 406 лопатки, входную кромку 409 и выходную кромку 412.

У обычных лопаток 120, 130 на всех участках 400, 403, 406 лопаток 120, 130 применяются, например, массивные металлические материалы, в частности жаропрочные сплавы. Такие жаропрочные сплавы известны, например, из ЕР 1204776 B1, ЕР 1306454, ЕР 1319729 A1, WO 99/67435 или WO 00/44949; эти публикации в отношении химического состава сплавов частично раскрывают сущность изобретения. При этом лопатки 120, 130 могут изготавливаться способом литья, а также посредством направленного затвердевания, способами фрезерования, ковки или с помощью их комбинации.

Детали с монокристаллической структурой или структурами применяются в качестве деталей машин, которые во время эксплуатации подвергаются воздействию механических, термических и/или химических нагрузок.

Изготовление монокристаллических деталей такого рода осуществляется, например, направленным затвердеванием из раствора. При этом речь идет о способе литья, при котором жидкий металлический сплав затвердевает с образованием монокристаллической структуры, т.е. монокристаллической детали, или с образованием направленной структуры. При этом дендритные кристаллы ориентированы вдоль теплового потока и образуют или зернистую структуру со столбчатыми кристаллами (столбчатые зерна – это зерна, проходящие по всей длине детали, а здесь, говоря обычным языком, называются направленно затвердевшими), или монокристаллическую структуру, т.е. вся деталь состоит из одного единого кристалла. При этом способе следует избегать глобулярной (поликристаллической) кристаллизации, поскольку в результате ненаправленного роста неизбежно образуются продольные и поперечные границы зерен, которые сводят на нет положительные свойства монокристаллической детали, затвердевшей направленным образом.

Если речь идет о направленно затвердевших структурах в общем, то тем самым имеются в виду как монокристаллы, не имеющие никаких границ зерен или в крайнем случае имеющие границы зерен под малыми углами, так и столбчатые кристаллические структуры, имеющие границы зерен, проходящие в продольном направлении, но не имеющие никаких поперечных границ зерен. В случае этих вторых кристаллических структур речь идет о направленно затвердевших структурах (directionally solidified structures). Такие способы известны из US-PS 6024792 и ЕР 0892090 А1; эти публикации в отношении способа затвердевания являются частью сущности изобретения.

Точно также лопатки 120, 130 могут иметь покрытия против коррозии или окисления, например (MCrAlX; M – это по меньшей мере элемент группы железа (Fe), кобальта (Со), никеля (Ni), Х – это активный элемент, замещающий иттрий (Y) и/или кремний (Si), и/или по меньшей мере редкоземельный элемент, т.е. гафний (Hf)). Такие сплавы известны из ЕР 0486489 B1, ЕР 0786017 В1, ЕР 0412397 B1 или ЕР 1306454 А1, которые должны быть частью этой сущности изобретения в отношении химического состава сплава. Плотность предпочтительно составляет 95% теоретической плотности. На слое MCrAlX (в качестве промежуточного или наружного слоя) образуется защитный слой алюминия (TGO=thermal grown oxide layer).

На слое MCrAlX может быть также теплоизоляционный слой, который предпочтительно является наружным и состоит из системы 1 слоев согласно изобретению. Теплоизоляционный слой покрывает слой McrAlX полностью. С помощью соответствующих способов покрытия, например электронно-лучевого напыления (EB-PVD), в теплоизоляционном слое образуются столбчатые зерна.

Возможны другие способы нанесения покрытия, например плазменное напыление при атмосферном давлении (APS, LPPS, VPS, CVD). Теплоизоляционный слой может иметь пористые, микропористые зерна или зерна с микро- и макротрещинами для лучшей устойчивости против теплового удара. Таким образом, теплоизоляционный слой предпочтительно является более пористым, чем слой McrAlX.

Лопатка 120, 130 может быть выполнена полой или сплошной. Если лопатка 120, 130 должна охлаждаться, она является полой и при необходимости имеет дополнительные отверстия для охлаждения пленки 418 (показаны пунктиром).

На фиг.5 изображена камера 110 сгорания газовой турбины 100. Камера сгорания 110 выполнена, например, в виде, так называемой, кольцевой камеры сгорания, в которой в общее пространство 154 камеры сгорания 110 выходит множество образующих пламя 156 горелок 107, расположенных по окружности вокруг оси 102 вращения. Для этого камера 110 сгорания в своей совокупности выполнена в виде кольцеобразной структуры, размещенной вокруг оси 102 вращения.

Для достижения относительно большого коэффициента полезного действия камера 110 сгорания рассчитана на сравнительно высокую температуру рабочей среды М порядка 1000-1600°С. Чтобы даже при таких рабочих параметрах, которые являются неблагоприятными для материалов, добиться относительно большого срока службы, стенки 153 камеры 110 сгорания со своей внутренней стороны, обращенной к рабочей среде М, имеют внутреннюю облицовку, образованную элементами 155 тепловой защиты.

К тому же из-за высоких температур внутри камеры 110 сгорания можно предусмотреть для элементов 155 тепловой защиты или для поддерживающих их элементов систему охлаждения. В этом случае элементы 155 тепловой защиты являются, например, полыми и при необходимости имеют дополнительные отверстия для охлаждения (не показаны), выходящие в пространство 154 камеры 110 сгорания.

Каждый элемент 155 тепловой защиты из сплава со стороны рабочей среды снабжен особенно жаропрочным защитным слоем (слоем McrAlX и/или керамическим покрытием) или изготовлен из жаростойкого материала (массивных керамических камней).

Эти защитные слои могут быть аналогичными турбинным лопаткам, т.е. McrAlX означает, например, следующее: М – это по меньшей мере элемент группы железа (Fe), кобальта (Со), никеля (Ni), Х – это активный элемент, замещающий иттрий (Y) и/или кремний (Si), и/или по меньшей мере редкоземельный элемент, т.е. гафний (Hf). Такие сплавы известны из ЕР 0486489 В1, ЕР 0786017 В1, ЕР 0412397 В1 или ЕР 1306454 А1, которые должны быть частью этой сущности изобретения в отношении химического состава сплава.

На слой MCrAlX может быть также нанесен, например, керамический теплоизоляционный слой, который состоит из системы 1 слоев согласно изобретению. С помощью соответствующих способов покрытия, например электронно-лучевого напыления (EB-PVD), в теплоизоляционном слое образуются столбчатые зерна. Возможны другие способы нанесения покрытия, например плазменное напыление при атмосферном давлении (APS, LPPS, VPS, CVD). Теплоизоляционный слой может иметь пористые, микропористые зерна или зерна с микро- и макротрещинами для лучшей устойчивости против теплового удара.

Регенерация (Refurbishment) означает, что турбинные лопатки 120, 130, элементы 155 тепловой защиты после их использования в случае необходимости должны быть очищены от защитных слоев (например, с помощью пескоструйной обработки). После этого происходит удаление коррозионных и/или окисных слоев, т.е. продуктов коррозии и/или окисления. При необходимости ремонтируются также трещины в турбинной лопатке 120, 130 или в элементе 155 тепловой защиты. После этого осуществляются повторное покрытие турбинных лопаток 120, 130, элементов 155 тепловой защиты и повторное использование турбинных лопаток 120, 130 или элементов 155 тепловой защиты.

Формула изобретения

1. Покрытие для детали из жаропрочного сплава на основе железа, или никеля, или кобальта, которое содержит наружный керамический слой (13) со структурой пирохлора Gdv(ZrxHfy)Oz, изготовленный из смеси с соотношением гафния и циркония, составляющим 10:90 или 20:80, или 30:70, или 40:60, или 50:50, или 60:40, или 70:30, или 80:20, или 90:10.

2. Покрытие по п.1, в котором наружный керамический слой (13) имеет структуру Gdv(ZrxHfy)Oz при х+у=2.

3. Покрытие по п.1 или 2, в котором наружный керамический слой (13) имеет структуру Gdv(ZrxHfy)Oz.

4. Покрытие по п.1 или 2, в котором наружный керамический слой (13) имеет структуру Gdv(ZrxHfy)O7.

5. Покрытие по п.1 или 2, в котором наружный керамический слой (13) состоит из структуры Gdv(ZrxHfy)Oz.

6. Покрытие по п.1 или 2, в котором наружный керамический слой (13) состоит из структуры Gdv(ZrxHfy)Oz при х+у=2, в частности из Gd2(ZrxHfy)O7.

7. Покрытие по п.1, в котором под наружным керамическим слоем (13) имеется внутренний керамический слой (10), в частности стабилизированный слой оксида циркония, в частности слой оксида циркония, стабилизированный иттрием.

8. Покрытие по п.7, в котором внутренний керамический слой (10) состоит из слоя оксида циркония, стабилизированного 6-8 вес.% иттрия.

9. Покрытие по п.7 или 8, в котором внутренний керамический слой (10) имеет толщину 10-50% общей толщины (D) внутреннего керамического слоя (10) и наружного керамического слоя (13).

10. Покрытие по п.7 или 8, в котором суммарная толщина внутреннего керамического слоя (10) и наружного керамического слоя (13) составляет 300 мкм.

11. Покрытие по п.7 или 8, в котором суммарная толщина внутреннего керамического слоя (10) и наружного керамического слоя (13) составляет 400 мкм.

12. Покрытие по п.1 или 7, в котором на детали (4) и под внутренним керамическим слоем (10) или под наружным керамическим слоем (13) предусмотрен металлический связующий слой (7), в частности, из сплава NiCoCrAlX.

13. Покрытие по п.12, в котором металлический связующий слой (7) содержит, вес.%:
11-13, в частности, 12% кобальта,
20-22, в частности, 21% хрома,
10,5-11,5, в частности, 11% алюминия,
0,3-0,5, в частности, 0,4% иттрия,
1,5-2,5, в частности, 2,0% рения,
остальное – никель.

14. Покрытие по п.12, в котором металлический связующий слой (7) содержит, вес.%:
24-26, в частности, 25% кобальта,
16-18, в частности, 17% хрома,
9,5-10,5, в частности, 10% алюминия,
0,3-0,5, в частности, 0,4% иттрия,
1-2,0, в частности, 1,5% рения,
остальное – никель.

15. Покрытие по п.12, в котором металлический связующий слой (7) содержит, вес.%:
29-31, в частности, 30% никеля,
27-29, в частности, 28% хрома,
7-9, в частности, 8% алюминия,
0,5-0,7, в частности, 0,6% иттрия,
0,6-0,8, в частности, 0,7% кремния,
остальное – кобальт.

16. Покрытие по п.12, в котором металлический связующий слой (7) содержит, вес.%:
27-29, в частности, 28% никеля,
23-25, в частности, 24% хрома,
9-11, в частности, 10% алюминия,
0,3-0,7, в частности, 0,6% иттрия,
остальное – кобальт.

17. Покрытие по п.1 или 2, в котором у>х.

18. Покрытие по п.1 или 2, в котором у<х.

РИСУНКИ

Categories: BD_2392000-2392999