|
|
(21), (22) Заявка: 2009109857/11, 16.08.2007
(24) Дата начала отсчета срока действия патента:
16.08.2007
(30) Конвенционный приоритет:
19.08.2006 DE 102006039086.5
(46) Опубликовано: 20.06.2010
(56) Список документов, цитированных в отчете о поиске:
SU 1668251 A1, 07.08.1991. SU 1024380 A1, 23.06.1983. US 2004104100 A1, 03.06.2004. WO 2006002156 A1, 05.01.2006. US 4641742 A, 10.02.1987.
(85) Дата перевода заявки PCT на национальную фазу:
19.03.2009
(86) Заявка PCT:
EP 2007/007205 20070816
(87) Публикация PCT:
WO 2008/022734 20080228
Адрес для переписки:
103735, Москва, ул. Ильинка, 5/2, ООО “Союзпатент”, пат.пов. И.М.Захаровой
|
(72) Автор(ы):
КОКС Бернд (DE), ВИЛЛЕМСЕН Штефан (DE)
(73) Патентообладатель(и):
КХС АГ (DE)
|
(54) ЛЕНТОЧНЫЙ ДОЗАТОР
(57) Реферат:
Ленточный дозатор (1) содержит две или более приводимые в движение посредством привода транспортирующие ленты, которые примыкают друг к другу по бокам. Привод образован от единственного приводного двигателя (6). Редуктор, соединяющий транспортирующие ленты (5) с приводным двигателем, выполнен как механизм переключения (7). Скорость транспортирующих лент может устанавливаться индивидуально и изменяться ступенчато. Упрощается конструкция приводных систем для ленточного дозатора. 23 з.п. ф-лы, 4 ил.
Изобретение относится к ленточному дозатору согласно ограничительной части пункта 1 формулы изобретения.
В транспортировочных участках для изделий самых различных видов, таких как, например, емкости, упаковки и так далее, часто нуждаются в так называемых ленточных дозаторах, которые, например, служат для того, чтобы из, например, вначале неупорядоченного потока изделий или потока изделий малой ширины образовать многоколейный поток изделий, а именно в такой форме, когда изделия распределяются возможно более равномерно по колеям или проходам многоколейного потока изделий. Частое применение таких ленточных дозаторов – равномерное распределение требуемых изделий на отдельные проходы многоколейного транспортера, образующего питатель упаковочной машины или машины для группирования упаковочных комплектов.
Ленточный дозатор состоит из нескольких транспортирующих лент, каждая из которых образует замкнутую петлю, а также может приводиться в бесконечное огибающее движение, и которые расположены так, что они верхними протяженными участками своих петель примыкают друг к другу с боков и образуют общую горизонтальную или, по существу, горизонтальную транспортирующую поверхность.
Для достижения равномерного распределения изделий в отдельных колеях или проходах примыкающего транспортера у известных ленточных дозаторов для каждой транспортирующей ленты предусмотрен соответственно собственный привод. С помощью этого привода может индивидуально регулироваться скорость транспортировки отдельных транспортирующих лент, а именно, например, в зависимости от выдаваемых сигналов датчиков, контролирующих распределение изделий по отдельным колеям или проходам примыкающего транспортера.
Поскольку ленточные дозаторы, как правило, выполнены, по меньшей мере, четырех- или шестипоточными, то есть имеют, по меньшей мере, четыре или шесть транспортирующих лент, то индивидуальные приводы для отдельных транспортирующих лент представляют собой значительные издержки как по части конструирования, так и по части управляющих систем, и обуславливают большой конструкторский объем.
Задачей изобретения является создание ленточного дозатора, благодаря которому удается избежать этих недостатков. Для решения этой задачи ленточный дозатор выполнен в соответствии с пунктом 1 формулы изобретения.
У соответствующего изобретению ленточного дозатора для привода всех без исключения транспортирующих лент предусмотрен всего лишь единственный приводной двигатель (электродвигатель), соответственно двигатель со встроенным редуктором. Посредством механизма переключения, по меньшей мере, одна транспортирующая лента или, по меньшей мере, одна часть используемых транспортирующих лент может индивидуально ступенчато переключаться между, по меньшей мере, двумя скоростями транспортировки, а именно между одной пониженной и одной повышенной скоростями транспортировки, однако, предпочтительно – все без исключения транспортирующие ленты ленточного дозатора.
Усовершенствования являются предметом зависимых пунктов формулы изобретения. Изобретение подробнее поясняется ниже с помощью фигур чертежей примера исполнения. Показывают:
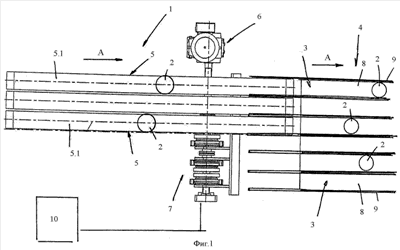
фиг.1 – в упрощенном изображении и на виде сверху шестипоточный ленточный дозатор согласно изобретению, предназначенный для подачи изделий в проходы примыкающего транспортера, например в проходы подающей ленты упаковочной машины, причем изображены лишь три из шести отдельных или транспортирующих лент соответственно транспортирующих цепей;
фиг.2 – ленточный дозатор согласно фигуре 1 на виде сбоку;
фиг.3 – в перспективном изображении основные элементы ленточного дозатора согласно фиг.1 и 2;
фиг.4 – подробное изображение привода ленточного дозатора согласно фиг.1-3 с механизмом переключения.
Ленточный дозатор 1 предназначен для подачи изделий 2 на отдельные проходы 3 транспортера 4, примыкающего к ленточному дозатору в направлении транспортировки А, являющегося, например, питателем или подающей лентой упаковочной машины для упаковки изделий 2 или для группирования этих изделий в упаковочный комплект. Ленточный дозатор 1 в представленной форме исполнения выполнен шестипоточным, то есть он состоит из шести параллельных друг другу и примыкающих друг к другу с боков, образующих соответственно замкнутую на себя петлю, отдельных или транспортирующих лент соответственно транспортирующих цепей 5, образующих с расположенными выше и примыкающими с боков друг к другу протяженными участками 5.1 своих петель горизонтальную или, по существу, горизонтальную транспортировочную поверхность для изделий 2. Транспортирующие цепи 5 приводятся в оборотное движение общим электродвигателем, соответственно двигателем 6 со встроенным редуктором через механизм 7 переключения, так что верхний протяженный участок 5.1 петли каждой транспортирующей цепи 5 перемещается в направлении транспортировки А ленточного дозатора 1. К каждой транспортирующей цепи 5 в направлении транспортировки А примыкает проход 3 транспортера 4, образованный соответственно транспортирующей лентой 8 и ограждениями 9, ограничивающими проход по бокам.
Для обеспечения по возможности равномерного заполнения проходов 3 изделиями 2, то есть когда изделия 2 в проходах 3 прилегают друг к другу, например, с возможно одинаковым динамическим давлением в одноколейном ряду, отдельные транспортирующие цепи 5 могут проводиться в движение ступенчато, с различной скоростью, а именно отрегулированные посредством электронного устройства управления 10 и, например, в зависимости от сигналов датчиков, которые выдаются датчиками, контролирующими распределение изделий 2 в проходах 3.
Согласно представленной форме исполнения транспортирующие цепи 5 могут приводиться в движение соответственно с двумя различными скоростями посредством механизма 7 переключения, а именно, со скоростью, соответствующей частоте вращения n1 выходного вала двигателя 6 со встроенным редуктором, и с повышенной скоростью, которая соответствует повышенной частоте вращения n2 для привода транспортирующей цепи 5 и находится примерно на 20% выше частоты вращения n1. Согласно предпочтительной форме исполнения изобретения частота вращения n1 находится примерно на 10% ниже номинальной частоты вращения, то есть ниже частоты вращения, при которой транспортировочная скорость транспортирующей цепи 5 равна транспортировочной скорости транспортера 4 или применяемых там транспортирующих лент 8. Повышенная частота вращения n2 находится в таком случае среди предполагаемой разницы частот вращения от 20% до примерно 10% выше этой номинальной частоты вращения.
Механизм переключения 7 имеет для каждой транспортирующей цепи 5 на валу 11 главного привода, соединенного подобно приводу с выходным валом двигателя 6 со встроенным редуктором, приводное колесо 12 транспортирующей ленты или цепи, выполненное в виде цепной звездочки, по которой с достаточным огибанием направляется нижний протяженный участок 5.2 петли упомянутой транспортирующей цепи. При пониженной транспортировочной скорости, относящейся к этой транспортирующей цепи 5, соответствующее приводное колесо 12 транспортирующей цепи приводится во вращение со скоростью n1 непосредственно от вала 11 главного привода через механизм свободного хода 13. При повышенной транспортировочной скорости, относящейся к этой транспортирующей цепи 5, привод приводного колеса 12 транспортирующей цепи со скоростью вращения n2, повышенной относительно скорости вращения n1, осуществляется через внутриредукторную, регулируемую линию привода при перекручивании механизма 13 свободного хода.
Компоновка механизма 7 переключения более подробно представлена на фиг.4. Все без исключения приводные колеса 12 транспортирующих цепей через механизм 13 свободного хода соединены подобно приводу с валом 11 главного привода. Кроме того, механизм 7 переключения имеет передаточный вал 14, который размещен в подшипниковых опорах с возможностью вращения и расположен параллельно валу 11 главного привода, но в противоположность ему радиально смещен в корпусе механизма 7 переключения (корпус не показан) и соединен подобно приводу с главным валом 11 через привод 18 с зубчатым ремнем, образованным зубчатым ремнем 15 и относящимися сюда звездочками 16 и 17 привода с зубчатым ремнем соответственно на валу 11 главного привода и на передаточном валу 14. Для каждой транспортирующей цепи 5, соответственно для каждого приводного колеса 12 транспортирующей звездочки на передаточном валу 14 предусмотрена звездочка 19 привода с зубчатым ремнем, которая является составной частью привода 22 с зубчатым ремнем, имеющего зубчатый ремень 20 и звездочку 21 привода с зубчатым ремнем, и которая через включаемую электрически муфту сцепления 23, управляемую устройством управления 10, может подключаться к передаточному валу 14 или отключаться от него. Каждая звездочка 21 привода с зубчатым ремнем, кроме того, соединена подобно приводу с соотносящимся приводным колесом 12 транспортирующей цепи.
Передаточное отношение приводов 18 и 20 с зубчатым ремнем выбрано таким, что при звездочке 19 привода с зубчатым ремнем, соединенной подобно приводу с передаточным валом 14 через муфту 23 сцепления, приводное колесо 12 транспортирующей цепи, приводимое во вращение через соответствующий привод 23 с зубчатым ремнем, при перекручивании механизма свободного хода 13 вращается с повышенной скоростью n2, а при отключенном от передаточного вала 14 привода 22 с зубчатым ремнем приводится во вращение через механизм свободного хода 13 со скоростью n1 вала 11 главного привода. Каждой транспортирующей цепи 5 или каждому приводному колесу 12 транспортирующей цепи придан самостоятельный привод 22 с зубчатым ремнем. Привод 18 с зубчатым ремнем предусмотрен общим для всех транспортирующих цепей 5, соответственно приводных колес 12 транспортирующих цепей.
Предпочтительно приводы 18 и 20 с зубчатым ремнем выбраны так, что приводы 20 имеют соответственно передаточное отношение 1:1 и скорость вращения п2, повышенную относительно скорости вращения n1 вала 11 главного привода, например повышенная на 20% скорость вращения n2 достигнута посредством передаточного отношения общего привода 18 с зубчатым ремнем.
Ленточный дозатор 1 делает возможным индивидуальное изменение скорости отдельных транспортирующих цепей 5, несмотря на применение только единственного двигателя 6 со встроенным редуктором. Таким образом достигнута упрощенная, в частности расходоемкая конструкция ленточного дозатора 1, а именно с возможностью оптимального регулирования заполнения проходов 3 изделиями 2. Не требуется множество приводных двигателей, приводных валов, регулирующих устройств и так далее, как это было необходимо до сих пор у регулируемых ленточных дозаторов. Благодаря исполнению согласно изобретению образуется также конструкция, благодаря которой экономится необходимая для размещения площадь.
Как видно на фиг.4, передаточный вал 14 секционирован, то есть он состоит из нескольких примыкающих друг к другу торцевой стороной участков 14, соединенных друг с другом, на которых предусмотрены соответственно две муфты 23 сцепления и две звездочки 19 привода с зубчатым ремнем. Благодаря этому секционированному исполнению удается при применении соответственно одинаковых конструктивных узлов выборочно реализовать механизмы 7 переключения, например, двух-, четырех- или шестипоточных ленточных дозаторов.
Как представлено далее на фиг.4, приводы 22 с зубчатым ремнем двух соседних приводных колес 12 транспортирующих цепей предусмотрены соответственно между этими приводными колесами, так что при разнесении приводных колес 12 транспортирующих цепей, заданном шириной цепей 5 транспортирующих лент, на валу 11 главного привода остается достаточно места для включаемых электрически муфт сцепления 23, а также для фланцев 24, соединяющих по торцам участки 14.1 передаточного вала.
Изобретение описывалось выше на одном примере исполнения. Понимается, что возможны многочисленные изменения, а также вариации без того, что вследствие этого уходят от изобретательского замысла, лежащего в основе изобретения.
Так, например, возможно вместо приводов 18 и 22 с зубчатым ремнем предусмотреть также цепные приводы или даже по-другому выполнить подобное приводу соединение между валом 11 главного привода и передаточным валом 14 и/или между приводными колесами 12 транспортирующих цепей и муфтами сцепления 23, расположенными на передаточном валу 14.
Перечень позиций:
| 1 |
Ленточный дозатор |
| 2 |
Изделие |
| 3 |
Проход |
| 4 |
Транспортер |
| 5 |
Отдельная лента, соответственно подающая цепь |
| 5.1 |
Верхний протяженный участок петли подающей цепи 5 |
| 5.2 |
Нижний протяженный участок петли подающей цепи 5 |
| 6 |
Двигатель со встроенным редуктором |
| 7 |
Механизм переключения |
| 8 |
Транспортирующая лента |
| 9 |
Ограждение |
| 10 |
Устройство управления |
| 11 |
Вал главного привода |
| 12 |
Приводное колесо транспортирующей цепи |
| 13 |
Механизм свободного хода |
| 14 |
Передаточный вал |
| 14.1 |
Фрагмент передаточного вала 14 |
| 15 |
Зубчатый ремень |
| 16, 17 |
Звездочка привода с зубчатым ремнем |
| 18 |
Привод с зубчатым ремнем |
| 19 |
Звездочка привода с зубчатым ремнем |
| 20 |
Зубчатый ремень |
| 21 |
Звездочка привода с зубчатым ремнем |
| 22 |
Привод с зубчатым ремнем |
| 23 |
Управляемая, например включаемая электрически муфта сцепления |
| 24 |
Фланец |
| А |
Направление транспортировки |
Формула изобретения
1. Ленточный дозатор для применения на транспортировочном участке для транспортирования изделий с, по меньшей мере, двумя приводимыми в движение посредством привода (6, 7), образующими петлю, приводимыми в бесконечное огибающее движение транспортирующими лентами (5), которые, примыкая друг к другу по бокам, образуют соответственно верхним протяженным участком (5.1) своей петли общую транспортирующую поверхность для изделий (2), причем скорость кругового движения ленты и тем самым скорость транспортирования, по меньшей мере, одной транспортирующей ленты (5) может устанавливаться индивидуально, отличающийся тем, что привод образован от единственного приводного двигателя (6) и редуктор, соединяющий подобно приводу транспортирующие ленты (5) с приводным двигателем (6), таким образом выполнен как механизм переключения (7), причем скорость, по меньшей мере, одной транспортирующей ленты (5) может изменяться ступенчато благодаря переключениям.
2. Ленточный дозатор по п.1, отличающийся тем, что скорость, по меньшей мере, одной транспортирующей ленты (5) может переключаться между первой и второй скоростями.
3. Ленточный дозатор по п.1 или 2, отличающийся тем, что он имеет, по меньшей мере, четыре соответственно образующие замкнутую петлю и приводимые в бесконечное огибающее движение транспортирующие ленты (5), примыкающие друг к другу по бокам своими верхними протяженными участками петли и образующие общую транспортирующую поверхность для изделий (2).
4. Ленточный дозатор по п.1 или 2, отличающийся тем, что он имеет, по меньшей мере, шесть соответственно образующих замкнутую петлю и приводимых в бесконечное огибающее движение транспортирующих лент (5), примыкающих друг к другу по бокам своими верхними протяженными участками петли и образующих общую транспортирующую поверхность для изделий (2).
5. Ленточный дозатор по п.1, отличающийся тем, что через механизм переключения (7) может индивидуально ступенчато изменяться скорость, по меньшей мере, одной части транспортирующих лент (5), предпочтительно скорость каждой транспортирующей ленты.
6. Ленточный дозатор по любому из пп.1, 2 и 5, отличающийся тем, что механизм переключения (7) для каждой переключаемой транспортирующей ленты (5) имеет, по меньшей мере, одно приводное колесо (12) транспортирующей ленты, через которое направлена, по меньшей мере, одна переключаемая транспортирующая лента (5) и которое через перекручиваемый элемент сцепления (13) соединено подобно приводу с главным валом (11), приводимым во вращение от приводного двигателя (6), что, по меньшей мере, одно приводное колесо (12) транспортирующей ленты каждой переключаемой транспортирующей ленты (5) соединено далее через включаемую и отключаемую внутриредукторную линию привода (18, 22, 23), подобно приводу, с приводимым во вращение от приводного двигателя (6) валом, например с главным валом (11), что внутриредукторная линия привода (18, 22, 23) выполнена с таким передаточным отношением, что при включенной внутренней линии привода (18, 22, 23), по меньшей мере, одно приводное колесо (12) транспортирующей ленты приводится во вращение со скоростью, которая больше, чем скорость привода через перекручиваемый элемент сцепления (13), и что перекручиваемый элемент сцепления (13) выполнен так, что возможно раскручивание приводного колеса (12) транспортирующей ленты со скоростью, которая больше, чем скорость при приводе приводного колеса (12) транспортирующей ленты через перекручиваемый элемент сцепления.
7. Ленточный дозатор по п.3, отличающийся тем, что механизм переключения (7) для каждой переключаемой транспортирующей ленты (5) имеет, по меньшей мере, одно приводное колесо (12) транспортирующей ленты, через которое направлена, по меньшей мере, одна переключаемая транспортирующая лента (5) и которое через перекручиваемый элемент сцепления (13) соединено подобно приводу с главным валом (11), приводимым во вращение от приводного двигателя (6), что, по меньшей мере, одно приводное колесо (12) транспортирующей ленты каждой переключаемой транспортирующей ленты (5) соединено далее через включаемую и отключаемую внутриредукторную линию привода (18, 22, 23), подобно приводу, с приводимым во вращение от приводного двигателя (6) валом, например с главным валом (11), что внутриредукторная линия привода (18, 22, 23) выполнена с таким передаточным отношением, что при включенной внутренней линии привода (18, 22, 23), по меньшей мере, одно приводное колесо (12) транспортирующей ленты приводится во вращение со скоростью, которая больше, чем скорость привода через перекручиваемый элемент сцепления (13), и что перекручиваемый элемент сцепления (13) выполнен так, что возможно раскручивание приводного колеса (12) транспортирующей ленты со скоростью, которая больше, чем скорость при приводе приводного колеса (12) транспортирующей ленты через перекручиваемый элемент сцепления.
8. Ленточный дозатор по п.4, отличающийся тем, что механизм переключения (7) для каждой переключаемой транспортирующей ленты (5) имеет, по меньшей мере, одно приводное колесо (12) транспортирующей ленты, через которое направлена, по меньшей мере, одна переключаемая транспортирующая лента (5) и которое через перекручиваемый элемент сцепления (13) соединено подобно приводу с главным валом (11), приводимым во вращение от приводного двигателя (6), что, по меньшей мере, одно приводное колесо (12) транспортирующей ленты каждой переключаемой транспортирующей ленты (5) соединено далее через включаемую и отключаемую внутриредукторную линию привода (18, 22, 23), подобно приводу, с приводимым во вращение от приводного двигателя (6) валом, например с главным валом (11), что внутриредукторная линия привода (18, 22, 23) выполнена с таким передаточным отношением, что при включенной внутренней линии привода (18, 22, 23), по меньшей мере, одно приводное колесо (12) транспортирующей ленты приводится во вращение со скоростью, которая больше, чем скорость привода через перекручиваемый элемент сцепления (13), и что перекручиваемый элемент сцепления (13) выполнен так, что возможно раскручивание приводного колеса (12) транспортирующей ленты со скоростью, которая больше, чем скорость при приводе приводного колеса (12) транспортирующей ленты через перекручиваемый элемент сцепления.
9. Ленточный дозатор по п.6, отличающийся тем, что для каждой транспортирующей ленты (5) предусмотрено соответственно, по меньшей мере, приводное колесо (12) транспортирующей ленты, которое соединено подобно приводу с главным валом (11) через перекручиваемый элемент сцепления (13), а также через внутриредукторную линию привода (18, 22, 23).
10. Ленточный дозатор по п.7 или 8, отличающийся тем, что для каждой транспортирующей ленты (5) предусмотрено соответственно, по меньшей мере, приводное колесо (12) транспортирующей ленты, которое соединено подобно приводу с главным валом (11) через перекручиваемый элемент сцепления (13), а также через внутриредукторную линию привода (18, 22, 23).
11. Ленточный дозатор по п.6, отличающийся тем, что, по меньшей мере, одно приводное колесо (12) транспортирующей ленты, по меньшей мере, одной переключаемой ленты (5) расположено с перекручиваемым элементом сцепления (13) на главном валу (11).
12. Ленточный дозатор по любому из пп.7-9, отличающийся тем, что, по меньшей мере, одно приводное колесо (12) транспортирующей ленты, по меньшей мере, одной переключаемой ленты (5) расположено с перекручиваемым элементом сцепления (13) на главном валу (11).
13. Ленточный дозатор по п.10, отличающийся тем, что, по меньшей мере, одно приводное колесо (12) транспортирующей ленты, по меньшей мере, одной переключаемой ленты (5) расположено с перекручиваемым элементом сцепления (13) на главном валу (11).
14. Ленточный дозатор по п.6, отличающийся тем, что для каждой переключаемой транспортирующей ленты (5) предусмотрена индивидуально включаемая и отключаемая внутриредукторная линия привода (18, 22, 23).
15. Ленточный дозатор по п.6, отличающийся тем, что перекручиваемый элемент сцепления является механизмом свободного хода (13).
16. Ленточный дозатор по п.6, отличающийся тем, что включаемая и отключаемая внутриредукторная линия привода (18, 22, 23) имеет переключаемую муфту сцепления (23), осуществляющую включение и отключение.
17. Ленточный дозатор по п.6, отличающийся тем, что предусмотрен передаточный вал (14), который соединен подобно приводу с главным валом (11) через первый участок (18) внутриредукторной линии привода и который через второй участок (22) внутриредукторной линии привода может управляемо соединяться с, по меньшей мере, одним приводным колесом (12) транспортирующей ленты, по меньшей мере, одной переключаемой транспортирующей ленты (5).
18. Ленточный дозатор по п.6, отличающийся тем, что первый и/или второй участок (22) внутренней линии привода образован ременным приводом, предпочтительно приводом с зубчатым ремнем или цепным приводом.
19. Ленточный дозатор по любому из пп.16-18, отличающийся тем, что на передаточном валу (14) предусмотрены муфта сцепления (23), а также звездочка (19) второго участка, по меньшей мере, одной внутриредукторной линии привода.
20. Ленточный дозатор по п.17, отличающийся тем, что для всех без исключения переключаемых транспортерных лент (5), соответственно их приводных колес (13) транспортирующих лент, предусмотрен общим передаточный вал (14), а также первый участок (18) внутриредукторной линии привода, соединяющий подобно приводу этот передаточный вал с главным валом (11).
21. Ленточный дозатор по п.1, отличающийся тем, что приводной двигатель является двигателем со встроенным редуктором (6).
22. Ленточный дозатор по п.1, отличающийся тем, что транспортирующие ленты (5) являются транспортирующими цепями.
23. Ленточный дозатор по п.1, отличающийся тем, что, по меньшей мере, одна переключаемая транспортирующая лента (5) может приводиться в движение через механизм переключения (7) по выбору – с первой скоростью (n1) и со второй скоростью (n2), примерно на 20% более высокой.
24. Ленточный дозатор по п.1 как составная часть транспортировочного участка с, по меньшей мере, одной другой транспортирующей лентой (8), предшествующей ленточному дозатору (1) в направлении транспортировки (А) и/или примыкающей следом к ленточному дозатору (1) в направлении транспортировки (А), отличающийся тем, что, по меньшей мере, одна переключаемая лента (5) ленточного дозатора (1) выполнена с возможностью приводиться в движение посредством приводного двигателя (6) и через механизм переключения (7) так, что более низкая скорость находится примерно на 10% ниже, а более высокая скорость примерно на 10% выше транспортировочной скорости, по меньшей мере, одной предыдущей и/или, по меньшей мере, одной примыкающей следом транспортирующей ленты (8).
РИСУНКИ
|
|