|
|
(21), (22) Заявка: 2007109329/11, 11.08.2005
(24) Дата начала отсчета срока действия патента:
11.08.2005
(30) Конвенционный приоритет:
16.08.2004 DE 10 2004 039 667.1 16.08.2004 US 60/601,951
(43) Дата публикации заявки: 27.09.2008
(46) Опубликовано: 20.06.2010
(56) Список документов, цитированных в отчете о поиске:
US 2003/005718 A1, 09.01.2003. US 5069692 A, 03.12.1991. RU 2111152 C1, 20.05.1998. SU 594676 A1, 27.03.1996.
(85) Дата перевода заявки PCT на национальную фазу:
16.03.2007
(86) Заявка PCT:
EP 2005/008749 20050811
(87) Публикация PCT:
WO 2006/018226 20060223
Адрес для переписки:
119034, Москва, Пречистенский пер., 14, стр. 1, 4-й этаж, “Гоулингз Интернэшнл Инк.”, пат.пов. Ю.В.Дементьевой, рег. 560
|
(72) Автор(ы):
ШЕРЕР Томас (DE), ШМИДТ Рюдигер (DE), СОЛНЦЕВ Александр (DE)
(73) Патентообладатель(и):
ЭЙРБАС ДОЙЧЛАНД ГМБХ (DE)
|
(54) УСТРОЙСТВО И СПОСОБ ПОДАЧИ ВОЗДУХА ДЛЯ ГЕНЕРАЦИИ ИНЕРТНОГО ГАЗА И ИХ ПРИМЕНЕНИЕ НА ЛЕТАТЕЛЬНОМ АППАРАТЕ
(57) Реферат:
Группа изобретений относится к устройству подачи воздуха, применению устройства подачи воздуха, летательному аппарату с устройством подачи воздуха и способу подачи воздуха для генерации инертного газа на летательном аппарате. Устройство содержит первую зону отбора воздуха, вторую зону отбора воздуха, третью зону отбора, четвертую зону отбора и первый клапан. Первый поток отобранного воздуха подается в систему генерации инертного газа и имеет первую температуру. Второй поток отобранного воздуха имеет вторую температуру, может быть смешан с первым потоком отобранного воздуха и после смешивания подан в систему генерации инертного газа. Третий поток отобранного воздуха имеет третью температуру. Четвертый поток отобранного воздуха имеет четвертую температуру. Третий поток отобранного воздуха может быть смешан с четвертым потоком отобранного воздуха и после смешивания подан в систему генерации инертного газа. Третий поток отобранного воздуха может быть объединен с первым потоком отобранного воздуха перед смешиванием с помощью первого клапана. Четвертый поток отобранного воздуха может быть объединен со вторым потоком отобранного воздуха перед смешиванием с помощью первого клапана. Способ включает в себя отбор первого потока воздуха в первой зоне отбора и отбор второго потока воздуха во второй зоне отбора из первого устройства кондиционирования воздуха, отбор третьего потока воздуха и четвертого потока воздуха из второго устройства кондиционирования воздуха. После смешивания воздух подают в систему генерации инертного газа. Третий поток отобранного воздуха объединяют с первым потоком отобранного воздуха перед смешиванием с помощью первого клапана, и четвертый поток отобранного воздуха объединяют со вторым потоком отобранного воздуха перед смешиванием с помощью первого клапана. Достигается упрощение устройства подачи воздуха. 4 н. и 6 з.п. ф-лы, 4 ил.
Настоящее изобретение относится к устройствам подачи воздуха на летательном аппарате. Более конкретно, настоящее изобретение относится к устройству подачи воздуха для системы генерации инертного газа летательного аппарата, способу подачи воздуха для системы генерации инертного газа летательного аппарата, применению соответствующего устройства подачи воздуха на летательном аппарате, а также к летательному аппарату, содержащему соответствующее устройство подачи воздуха.
На летательных аппаратах используются так называемые бортовые системы генерации инертного газа (OBIGGS-системы). Такие OBIGGS-системы применяются, например, для генерации азота, который используется для вытеснения кислорода из топливных баков. В качестве источника воздуха для генерации инертного газа используется воздух, отбираемый из двигателей или из вспомогательных силовых установок (ВСУ). Горячий отобранный воздух, имеющий температуру порядка 200°С, должен быть охлажден до определенной температуры, и его давление должно быть снижено. Технические решения, используемые в настоящее время, предусматривают использование теплообменника с воздушным охлаждением, в котором охлаждается отбираемый воздух. Количество отбираемого воздуха и его давление регулируются с помощью отсечного клапана. Для охлаждения используется забортный воздух, который в режиме полета обеспечивается через канал набегающего потока, а при нахождении летательного аппарата на земле обеспечивается дополнительным устройством (например, вентилятор, эжекторный насос). Температура воздуха, отбираемого для OBIGGS-системы, регулируется с помощью перепускного клапана и датчика температуры.
Для подготовки воздуха, отобранного для OBIGGS-системы, обычно используется отдельный теплообменник с охлаждением воздухом и отдельный канал поступления набегающего воздушного потока с дополнительным оборудованием (вентилятор или эжекторный насос) для обеспечения работы системы при нахождении летательного аппарата на земле. Использование отдельных теплообменников и канала набегающего воздушного потока влечет за собой увеличение веса летательного аппарата. Встраивание отдельных теплообменников и канала набегающего воздушного потока в существующий летательный аппарат может создавать серьезные технические проблемы. Дополнительный канал набегающего воздушного потока увеличивает аэродинамическое сопротивление летательного аппарата. Два дополнительных отверстия (входное и выходное отверстия канала набегающего воздушного потока) ослабляют несущую конструкцию, и поэтому требуется ее соответствующее усиление, что также увеличивает вес. Кроме того, использование дополнительного теплообменника увеличивает объем технического обслуживания летательного аппарата.
Целью настоящего изобретения является создание улучшенного устройства подачи воздуха для системы генерации инертного газа (OBIGGS) на летательном аппарате, которое не требует использования дополнительного канала набегающего воздушного потока.
В соответствии с одним из вариантов осуществления настоящего изобретения указанная цель достигается за счет использования устройства подачи воздуха для системы генерации инертного газа на летательном аппарате, содержащего первую зону отбора, в которой из первого устройства кондиционирования воздуха может быть отобран первый поток воздуха, и первый поток отобранного воздуха может быть подан в систему генерации инертного газа.
За счет отбора воздуха из устройства кондиционирования воздуха и последующей подачи его в OBIGGS-систему может быть обеспечена надежная подача отобранного воздуха, охлажденного до заданной температуры, в OBIGGS-систему как в полете, так и на земле без необходимости использования для охлаждения дополнительных каналов набегающего воздушного потока. Таким образом, можно избежать увеличения аэродинамического сопротивления, связанного с установкой дополнительного канала набегающего воздушного потока. Кроме того, существенно улучшаются возможности модернизации предлагаемого в изобретении устройства. Далее, поскольку нет необходимости в дополнительных впускном и выпускном отверстиях для дополнительного канала набегающего воздушного потока (так как нет дополнительного канала), то не происходит ослабления несущей конструкции двумя дополнительными отверстиями. Поэтому нет необходимости в усилении конструкции, то есть обеспечивается дополнительное уменьшение веса.
В соответствии с другим вариантом осуществления настоящего изобретения устройство подачи воздуха дополнительно содержит вторую зону отбора, в которой из первого устройства кондиционирования воздуха может быть отобран второй поток воздуха. Первый поток отобранного воздуха имеет первую температуру, и второй поток отобранного воздуха имеет вторую температуру, причем второй поток отобранного воздуха может быть смешан с первым потоком отобранного воздуха, и после смешивания воздух может быть подан в систему генерации инертного газа.
В этом случае можно обеспечить, чтобы температура воздуха, подаваемого в OBIGGS-систему, находилась в интервале между первой и второй температурами. Температура смеси может регулироваться изменением коэффициента смешения.
В соответствии с другим вариантом осуществления настоящего изобретения первая температура выше температуры, которая требуется для работы системы генерации инертного газа. Кроме того, вторая температура ниже температуры, которая требуется для работы системы генерации инертного газа, и первое давление первого потока отобранного воздуха, и второе давление второго потока отобранного газа выше давления, необходимого для работы системы генерации инертного газа.
Преимуществом предлагаемого решения является возможность обеспечения температуры, необходимой для OBIGGS-системы, за счет регулируемого смешивания первого и второго потоков отобранного воздуха. Кроме того, поскольку первое и второе давление выше давления, необходимого для работы OBIGGS-системы, то нет необходимости в использовании в устройстве подачи воздуха соответствующего средства повышения давления, например насоса. Давление, необходимое для работы OBIGGS-системы, обеспечивается соответствующим клапаном-регулятором (13).
В соответствии с другим вариантом осуществления настоящего изобретения первая зона отбора размещается на выходе компрессора первого устройства кондиционирования воздуха, а вторая зона отбора размещается на выходе основного теплообменника первого устройства кондиционирования воздуха.
Достоинством такой схемы является простота отбора воздуха из устройства кондиционирования. Особенным преимуществом в этом случае является то, что воздух на выходе компрессора и на выходе основного теплообменника имеет предпочтительные температуры и давления.
В соответствии с другим вариантом осуществления настоящего изобретения устройство подачи воздуха дополнительно содержит первый клапан и третью зону отбора и четвертую зоны отбора, предназначенные для отбора соответственно третьего и четвертого потоков воздуха из второго устройства кондиционирования воздуха. При этом третий поток отобранного воздуха имеет третью температуру, и четвертый поток отобранного воздуха имеет четвертую температуру, причем третий поток отобранного воздуха может быть смешан с четвертым потоком отобранного воздуха, и после смешивания воздух может быть подан в систему генерации инертного газа. Третий поток отобранного воздуха объединяют с первым потоком отобранного воздуха перед смешиванием с помощью первого клапана, в результате чего обеспечивается резервирование на случай отказа устройства кондиционирования воздуха. Четвертый поток отобранного воздуха объединяют со вторым потоком отобранного воздуха перед смешиванием с помощью первого клапана, в результате чего обеспечивается резервирование на случай отказа устройства кондиционирования воздуха.
Таким образом, осуществляется резервирование устройств кондиционирования воздуха так, что обеспечивается высокая степень надежности подачи воздуха в OBIGGS-систему с необходимыми температурой и давлением.
В соответствии с другим вариантом осуществления настоящего изобретения устройство охлаждения воздуха дополнительно содержит первый клапан или первый датчик температуры, причем с помощью первого клапана может регулироваться коэффициент смешения первого потока отобранного воздуха со вторым потоком отобранного воздуха или общее количество отобранного воздуха первого и второго потоков, а с помощью первого датчика температуры может измеряться пятая температура. Пятая температура – это температура воздуха, подаваемого в систему генерации инертного газа. При такой схеме подача воздуха в систему генерации инертного газа может быть прекращена с помощью первого клапана.
Преимуществом схемы является возможности выбора в широких пределах коэффициента смешения первого и второго потоков отобранного воздуха так, что температура полученной воздушной смеси может регулироваться. Кроме того, с помощью первого клапана можно отключить подачу воздуха в OBIGGS-систему так, что в случае выхода из строя устройства кондиционирования воздуха можно отключить подачу из него в OBIGGS-систему потока очень горячего воздуха. Преимуществом такой схемы является то, что с помощью датчика температуры может измеряться температура воздушной смеси, подаваемой в OBIGGS-систему, так, что обеспечивается возможность соответствующего регулирования коэффициента смешения.
В соответствии с другим вариантом осуществления настоящего изобретения устройство подачи воздуха дополнительно содержит второй клапан, с помощью которого может регулироваться общее количество отобранного воздуха первого и второго потоков, и в случае отказа первого клапана (11) его функция отключения подачи воздуха в OBIGGS-систему может выполняться вторым клапаном (13), и наоборот.
Таким образом, с помощью второго клапана можно отключить подачу воздуха в OBIGGS-систему так, что в случае выхода из строя устройства кондиционирования воздуха можно отключить подачу из него в OBIGGS-систему потока очень горячего воздуха.
Достоинством такой схемы является резервирование функции управления клапана так, что в случае отказа одного из двух клапанов (первого или второго клапана) возможность отключения подачи воздушной смеси в OBIGGS-систему сохраняется.
В соответствии с другим вариантом осуществления настоящего изобретения устройство подачи воздуха дополнительно содержит первый контроллер и второй контроллер, причем конструкция первого контроллера отличается от конструкции второго контроллера, и с помощью первого контроллера или второго контроллера осуществляется управление первым или вторым клапаном, или измеряется пятая температура. При такой схеме в случае отказа первого контроллера его функции начинает выполнять второй контроллер.
Это означает, что даже в случае возникновения аварийной ситуации на борту, при которой, например, выходит из строя одна или несколько бортовых систем, надежность управления обеспечивается путем резервирования контроллеров, которое может выполняться за счет использования нескольких контроллеров, их различной конструкции и размещения в различных местах летательного аппарата.
В соответствии с другим вариантом осуществления настоящего изобретения используется второй датчик температуры, который в случае отказа первого датчика температуры начинает выполнять его функции.
Достоинством резервирования датчика температуры является обеспечение надежного измерения температуры даже в случае частичной неисправности системы.
В соответствии с другим аспектом настоящего изобретения предложен способ подачи воздуха для системы генерации инертного газа на летательном аппарате. Способ содержит стадии отбора первого потока воздуха из устройства кондиционирования и подачи первого потока отобранного воздуха в систему генерации инертного газа (OBIGGS). Таким образом, предлагается способ подачи воздуха для OBIGGS-системы генерации инертного газа на летательном аппарате, причем в этом случае используется не отдельный канал набегающего воздушного потока с дополнительными устройствами в виде вентилятора или эжекторного насоса для обеспечения работы на земле, а соответствующий отбор воздуха из устройства кондиционирования воздуха на борту летательного аппарата. Таким образом, отпадает необходимость использования дополнительного теплообменника, и поэтому нет необходимости в дополнительном дорогостоящем техническом обслуживании.
Ниже со ссылками на прилагаемые чертежи дается описание предпочтительных вариантов осуществления настоящего изобретения.
Фигура 1 – схема устройства подачи воздуха.
Фигура 2 – схема устройства кондиционирования воздуха.
Фигура 3 – схема устройства подачи воздуха в соответствии с одним из вариантов осуществления настоящего изобретения.
Фигура 4 – графики значений давления и температуры в различных точках устройства кондиционирования воздуха.
В нижеприведенном описании чертежей используются одинаковые ссылочные обозначения для одинаковых или сходных элементов.
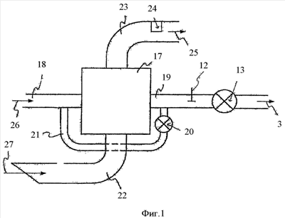
На фигуре 1 приведена схема устройства охлаждения воздуха. Устройство охлаждения воздуха используется для охлаждения потока 26 воздуха, отбираемого для OBIGGS-системы (на фигуре 1 не показана). Устройство охлаждения воздуха содержит теплообменник 17, который обеспечивает охлаждение потока 26 воздуха, отбираемого для подачи в систему. Поток 26 воздуха отбирается из двигателей или из вспомогательных силовых установок (ВСУ). В большинстве случаев поток 26 отбираемого воздуха имеет температуру порядка 200°С, которая понижается в теплообменнике 17. Для этого поток 26 отбираемого воздуха через входную линию 18 подается в теплообменник 17, где он охлаждается и далее подается в OBIGGS-систему воздуха по линии 19 (воздушный поток 3). Теплообменник 17 имеет воздушное охлаждение. В такой схеме охлаждение воздуха осуществляется с помощью канала 22, 23 набегающего воздушного потока. Кроме того, для обеспечения подачи соответствующего количества охлаждающего воздуха при работе на земле используется эжекторный насос или вентилятор 24. Далее, поток 25 охлаждающего воздуха выбрасывается в атмосферу.
Для контроля потока 26 отобранного воздуха, который охлаждается в теплообменнике, используется датчик 12 температуры. Кроме того, в качестве предохранительного устройства, обеспечивающего прекращение подачи в OBIGGS-систему потока 3 отобранного воздуха, используется отсечный клапан 13. Кроме того, возможность регулирования температуры обеспечивается за счет использования обводной линии 21 и перепускного клапана 20, с помощью которых воздух поступает в обход теплообменника.
Количество и давление отбираемого воздуха регулируется клапаном 13. Использование отдельных теплообменников 17 и канала 22, 23 набегающего воздушного потока влечет за собой увеличение веса летательного аппарата. Встраивание отдельных теплообменников 17 и канала 22, 23 набегающего воздушного потока в существующий летательный аппарат может быть сопряжено с серьезными техническими проблемами. Дополнительный канал 22, 23 набегающего воздушного потока увеличивает аэродинамическое сопротивление летательного аппарата. Два дополнительных отверстия (входное и выходное отверстия канала набегающего воздушного потока) ослабляют несущую конструкцию, и поэтому требуется ее соответствующее усиление, что также увеличивает вес. Кроме того, дополнительный теплообменник 17 требует дополнительных затрат на техническое обслуживание.
На фигуре 2 представлена схема устройства кондиционирования воздуха, которое может использоваться для отбора воздуха предлагаемой в изобретении системой подачи воздуха. Как показано на фигуре 2, устройство 4 кондиционирования воздуха (модуль) системы генерации воздуха (AGS) содержит контур охлаждения с компрессором 6 и основным теплообменником 7. Система генерации воздуха используется для выработки свежего воздуха, который подается в салон и в кабину экипажа летательного аппарата. Для генерации воздуха используется поток воздуха, отбираемого из двигателей или из вспомогательных силовых установок. Горячий отбираемый воздух, который имеет температуру порядка 200°С, охлаждается, и его давление понижается. Для охлаждения используется забортный воздух, который во время полета поступает через канал 28 набегающего воздушного потока (поток 27), а при нахождении летательного аппарата на земле обеспечивается вентилятором с воздушным циклом. Система генерации воздуха (AGS) содержит два одинаковых устройства кондиционирования воздуха.
В соответствии с одним из вариантов осуществления настоящего изобретения внутри устройства кондиционирования воздуха используются две зоны, в которых может осуществляться отбор воздуха. В одной зоне должен обеспечиваться воздух, имеющий температуру, которая выше температуры, необходимой для работы OBIGGS-системы, в то время как в другой зоне должен обеспечиваться воздух, имеющий температуру, которая ниже температуры, необходимой для работы OBIGGS-системы. Давление воздуха в этих зонах должно быть выше давления, необходимого для работы OBIGGS-системы. Например, первая зона отбора размещается на выходе компрессора 6, а вторая зона отбора размещается на выходе основного теплообменника 7 устройства кондиционирования воздуха.
На фигуре 3 представлена схема устройства подачи воздуха в соответствии с одним из вариантов осуществления настоящего изобретения. Как показано на фигуре 3, устройство подачи воздуха в соответствии с изобретением содержит первую зону 1 отбора, вторую зону 2 отбора, третью зону 9 отбора и четвертую зону 10 отбора. Безусловно могут использоваться и другие зоны отбора воздуха, например в дополнительных устройствах кондиционирования воздуха. В этом случае степень резервирования будет дополнительно повышена.
Воздух может отбираться из первого устройства 4 кондиционирования воздуха в зонах отбора 1 и 2. В зоне 1 отбора отбирается воздух на выходе компрессора 6 (см. фигуру 2), имеющий повышенную температуру. В зоне 2 отбора отбирается воздух из основного теплообменника 7 (см. фигуру 2), имеющий сравнительно низкую температуру. Аналогично, в третьей зоне 9 отбирается теплый воздух, а холодный воздух отбирается в четвертой зоне 10 второго устройства 5 кондиционирования воздуха.
Термины “теплый” и “холодный” или “повышенная” и “низкая” в отношении температуры относится к температуре, необходимой для работы OBIGGS-системы. Эта температура составляет примерно 75°С, что в любом случае существенно ниже температуры 200°С.
Потоки отобранного горячего воздуха из первого и второго устройства 4, 5 кондиционирования воздуха, проходящие по трубопроводам 29 и 30, могут объединяться. Потоки отобранного горячего воздуха из первого и второго устройства 4, 5 кондиционирования воздуха, проходящие по трубопроводам 31 и 32, также могут объединяться. Направление потоков отобранного воздуха указано стрелками 35, 36.
К отбираемому воздуху, который подается в OBIGGS-систему, предъявляются следующие требования: в зависимости от типа летательного аппарата должно обеспечиваться количество воздуха от 0,01 кг/сек до 0,12 кг/сек. Температура должна быть примерно 76°С±6°С, а минимальное давление отобранного воздуха – примерно 1,7 бар (относительное давление). Из соображений безопасности выполнения полетов вероятность отказа всей OBIGGS-системы (включая обеспечение воздуха) должна быть не более 10. Вероятность перегрева (вероятность превышения температуры 200°С в баке) ограничена величиной 10-9.
В соответствии с одним из вариантов осуществления настоящего изобретения вся система удовлетворяет указанным требованиям.
Подача охлажденного воздуха в OBIGGS-систему может обеспечиваться как на земле, так и во время полета, если по меньшей мере одно из устройств 4, 5 кондиционирования воздуха включено и работоспособно. Для этого необходим параллельный отбор воздуха из обоих устройств 4, 5, как показано на фигуре 3. Температура, необходимая для работы OBIGGS-системы, регулируется с помощью трехходового клапана 11 и датчика температуры 12. Количество и давление отобранного воздуха регулируется отсечным клапаном 13.
Для минимизации вероятности отказа и повышения коэффициента готовности системы обеспечивается резервирование устройств 4, 5 кондиционирования воздуха и датчиков 12, 16 температуры. В этом случае может быть обеспечена общая вероятность отказа, не превышающая 10-4.
Для того чтобы минимизировать (меньше 10-9) вероятность перегрева топливного бака (на фигуре 3 не показан), в который подается полученный азот, принимаются следующие меры:
регулирование необходимой температуры отобранного воздуха и дополнительная функция отсечки подачи отобранного воздуха (путем контроля и управления датчиками 12, 16 температуры трехходового клапана 11 и отсечного клапана 13) осуществляется двумя контроллерами 14, 15, имеющими разные конструкции. При этом вероятность отказа контроллеров 14, 15 в каждом случае не превышает 10-5. Кроме того, датчики температуры 12, 16 могут быть выполнены с возможностью замены резервным устройством. Аналогично, дополнительная функция отключения или блокирования подачи отобранного воздуха может быть реализована таким образом, чтобы обеспечивалось резервирование. Эта функция может быть обеспечена, например, с помощью трехходового клапана 11 и отсечного клапана 13. Отключение подачи отобранного воздуха осуществляется обоими клапанами.
Для того чтобы повысить надежность управления клапанами 11, 13 и измерения температуры с помощью датчиков 12, 16 температуры, резервированные контроллеры 14, 15 имеют различную конструкцию и, кроме того, размещаются в разных местах летательного аппарата. Если один из двух контроллеров 14, 15 выходит из строя, то другой контроллер может выполнять функции отказавшего контроллера.
На фигуре 4 представлены значения давления и температуры в различных точках устройства кондиционирования воздуха. Ромбиками указаны значения давления и температуры внутри устройства при нахождении летательного аппарата на земле, когда используются оба устройства кондиционирования воздуха при работе двигателя в жаркий день. Прямоугольниками отмечены значения давления и температуры в различных точках устройства кондиционирования воздуха при использовании обоих устройств кондиционирования и при работе двигателя в жаркий день на высоте 39000 футов. На фигуре 4 видно, что вышеуказанные условия для отбора воздуха выполняются, например, в следующих точках внутри устройства кондиционирования воздуха:
– выход компрессора (Com);
– выход основного теплообменника (МНХ).
По горизонтальной оси 40 указано давление р в барах. По вертикальной оси указана температура в градусах С. Пределы изменения шкалы давления – от 0 до 2,5 бар. Пределы изменения шкалы температуры – от -50°С до +200°С.
Графики показывают, что давление и температура воздуха отличаются в разных точках устройства кондиционирования воздуха. В частности температура воздуха на выходе компрессора, где размещается зона 1 отбора, на земле изменяется в диапазоне примерно 115-120°С, а соответствующее давление воздуха при этом изменяется в диапазоне примерно 1,8-1,9 бар. В полете температура на выходе компрессора равна примерно 180°С, а соответствующее давление равно примерно 2,4 бар. На выходе основного теплообменника, где размещается зона 2 отбора, на земле температура равна примерно 35-40°С, а давление равно 1,8-1,9 бар. В полете температура в этой точке 2 равна примерно 20°С, и давление равно 2,3-2,4 бар.
Давление, необходимое для OBIGGS-системы, показано вертикальной линией 42, которое представляет собой минимальное требующееся давление отобранного воздуха, равное примерно 1,7 бар (относительное давление). Верхнее и нижнее предельные значения температуры воздуха, отобранного для подачи в OBIGGS-систему, показаны горизонтальными линиями 43 и 44 соответственно. Температура равна примерно 76±6°С. Как можно видеть из графиков (точки 1 и 2), параметры воздуха, отбираемого на выходе компрессора, как для полета, так и для работы на земле превышают верхнее предельное значение температуры (линия 43) и нижнее предельное значение давления (линия 42). Далее, параметры воздуха, отбираемого из основного теплообменника (точки 2), превышают нижнее предельное значение давления (линия 42) и меньше нижнего предельного значения температуры (линия 44). Таким образом, выполняются требования для успешного смешивания двух потоков воздуха, отобранного в зонах 1, 2 отбора.
Достоинством изобретения является то, что для подачи воздуха в OBIGGS-систему предлагается более компактная конструкция, имеющая меньший вес. Преимущества предлагаемого устройства по сравнению с используемыми техническими решениями заключаются в том, что в таком устройстве не используется ни отдельный теплообменник, ни отдельный канал набегающего воздушного потока. В результате не происходит дополнительного увеличения веса летательного аппарата. Далее, не возникает серьезных технических проблем, связанных со встраиванием устройства в существующий летательный аппарат. В этом случае не происходит дополнительного увеличения аэродинамического сопротивления, вызываемого дополнительным каналом набегающего воздушного потока, и нет необходимости в дополнительном усилении несущей конструкции, и соответственно не происходит дополнительного увеличения ее веса, которое имело бы место в связи с двумя дополнительными отверстиями канала набегающего воздушного потока.
Осуществление изобретения не ограничивается предпочтительными вариантами, описанными со ссылками на чертежи. Напротив, могут быть предложены различные варианты, в которых используется предложенное в изобретении техническое решение и его основные отличительные признаки, даже в случае использования вариантов, которые отличаются от рассмотренных в описании.
Формула изобретения
1. Устройство подачи воздуха для генерации инертного газа, содержащее первую зону отбора воздуха из первого устройства кондиционирования воздуха, причем первый поток отобранного воздуха подается в систему генерации инертного газа, вторую зону отбора воздуха, в которой из первого устройства кондиционирования воздуха отбирается второй поток воздуха, причем первый поток отобранного воздуха имеет первую температуру, второй поток отобранного воздуха имеет вторую температуру, и второй поток отобранного воздуха может быть смешан с первым потоком отобранного воздуха и после смешивания подан в систему генерации инертного газа, третью зону отбора, четвертую зону отбора и первый клапан, причем в третьей зоне отбора отбирается третий поток воздуха из второго устройства кондиционирования воздуха, в четвертой зоне отбора отбирается четвертый поток воздуха из второго устройства кондиционирования воздуха, третий поток отобранного воздуха имеет третью температуру, четвертый поток отобранного воздуха имеет четвертую температуру, третий поток отобранного воздуха может быть смешан с четвертым потоком отобранного воздуха и после смешивания подан в систему генерации инертного газа, причем третий поток отобранного воздуха может быть объединен с первым потоком отобранного воздуха перед смешиванием с помощью первого клапана и четвертый поток отобранного воздуха может быть объединен со вторым потоком отобранного воздуха перед смешиванием с помощью первого клапана.
2. Устройство подачи воздуха по п.2, в котором первая температура выше температуры, которая требуется для работы системы генерации инертного газа, вторая температура ниже температуры, которая требуется для работы системы генерации инертного газа, и первое давление первого потока отобранного воздуха и второе давление второго потока отобранного газа выше давления, необходимого для работы системы генерации инертного газа.
3. Устройство подачи воздуха по п.1 или 2, в котором первая зона отбора воздуха располагается на выходе компрессора первого устройства кондиционирования воздуха и вторая зона отбора воздуха располагается на выходе основного теплообменника первого устройства кондиционирования воздуха.
4. Устройство подачи воздуха по п.1 или 2, дополнительно содержащее первый датчик температуры, причем коэффициент смешения первого потока отобранного воздуха со вторым потоком отобранного воздуха может регулироваться, подача воздуха в систему генерации инертного газа может быть заблокирована с помощью первого клапана и с помощью первого датчика температуры может измеряться пятая температура, которая является температурой воздуха, подаваемого в систему генерации инертного газа.
5. Устройство подачи воздуха по п.1, дополнительно содержащее второй клапан, с помощью которого может регулироваться общее количество отобранного воздуха первого потока и отобранного воздуха второго потока и подача воздуха в систему генерации инертного газа может быть заблокирована с помощью второго клапана, причем в случае отказа первого клапана его функция отключения подачи воздуха может выполняться вторым клапаном, и наоборот.
6. Устройство подачи воздуха по п.4, дополнительно содержащее первый контроллер и второй контроллер, причем конструкция первого контроллера отличается от конструкции второго контроллера, первый или второй контроллер управляет первым клапаном или вторым клапаном или измеряет пятую температуру с помощью первого датчика температуры, и в случае отказа первого контроллера его функции выполняет второй контроллер.
7. Устройство подачи воздуха по любому из пп.4-6, которое снабжено вторым датчиком температуры и в случае отказа первого датчика температуры его функции выполняет второй датчик температуры.
8. Применение устройства подачи воздуха по любому из пп.1-7 на летательном аппарате.
9. Летательный аппарат, содержащий устройство подачи воздуха по любому из пп.1-7.
10. Способ подачи воздуха для генерации инертного газа на летательном аппарате, содержащий следующие стадии: отбор первого потока воздуха из первого устройства кондиционирования воздуха в первой зоне отбора и подачу первого потока отобранного воздуха в систему генерации инертного газа, отбор второго потока воздуха из первого устройства кондиционирования воздуха во второй зоне отбора и смешивание первого потока отобранного воздуха со вторым потоком отобранного воздуха, подачу смеси первого и второго потоков отобранного воздуха в систему генерации инертного газа, причем первый поток отобранного воздуха имеет первую температуру и второй поток отобранного воздуха имеет вторую температуру, отличающуюся от первой, отбор третьего потока воздуха и четвертого потока воздуха из второго устройства кондиционирования воздуха, причем третий поток отобранного воздуха имеет третью температуру, четвертый поток отобранного воздуха имеет четвертую температуру, третий поток отобранного воздуха смешивают с четвертым потоком отобранного воздуха и после смешивания воздух подают в систему генерации инертного газа, третий поток отобранного воздуха объединяют с первым потоком отобранного воздуха перед смешиванием с помощью первого клапана, в результате чего обеспечивается резервирование на случай отказа устройства кондиционирования воздуха, и четвертый поток отобранного воздуха объединяют со вторым потоком отобранного воздуха перед смешиванием с помощью первого клапана, в результате чего обеспечивается резервирование на случай отказа устройства кондиционирования воздуха.
РИСУНКИ
|
|