|
|
(21), (22) Заявка: 2008100222/11, 27.06.2006
(24) Дата начала отсчета срока действия патента:
27.06.2006
(30) Конвенционный приоритет:
15.07.2005 DE 102005033259.5
(43) Дата публикации заявки: 20.08.2009
(46) Опубликовано: 20.06.2010
(56) Список документов, цитированных в отчете о поиске:
US 2001011692 A1, 09.08.2001. EP 0514957 A1, 25.11.1992. US 5108048 A, 28.04.1992. RU 2219080 C1, 20.12.2003.
(85) Дата перевода заявки PCT на национальную фазу:
15.02.2008
(86) Заявка PCT:
EP 2006/006202 20060627
(87) Публикация PCT:
WO 2007/009556 20070125
Адрес для переписки:
191186, Санкт-Петербург, а/я 230, “АРС-ПАТЕНТ”, пат.пов. М.В.Хмаре, рег. 771
|
(72) Автор(ы):
БЕНКАРТ Антон (DE), ГАУГГЕЛЬ Тобиас (DE), ГРАФ Олег (DE), КЛУГ Михаель (DE), ШУОН Жорж (FR)
(73) Патентообладатель(и):
ЭЙРБАС ДОЙЧЛАНД ГМБХ (DE)
|
(54) УСТРОЙСТВО АВАРИЙНОГО ОТКРЫТИЯ ДЛЯ ВЕРХНЕЙ БАГАЖНОЙ ПОЛКИ С ОПУСКАЕМОЙ КРЫШКОЙ
(57) Реферат:
Изобретение относится к области самолетостроения, более конкретно к устройству аварийного открытия для верхней багажной полки. Устройство аварийного открытия (30) для верхней багажной полки (10) с опускаемой крышкой (12) содержит соединительный элемент (32). Упомянутый элемент выполнен с возможностью присоединения к системе удержания (20), предназначенной для крепления опускаемой крышки (12) к жестко закрепленному компоненту (18). Также устройство содержит запорное устройство (34), выполненное с возможностью присоединения к опускаемой крышке (12) или к компоненту (18). Запорное устройство (34) обеспечивает связь соединительного элемента (32) с опускаемой крышкой (12) или жестко закрепленным компонентом (18), в положении блокирования, так, что система удержания (20) соединяет опускаемую крышку (12) и жестко закрепленный компонент (18). Также запорное устройство (34) обеспечивает отделение соединительного элемента (32) от опускаемой крышки (12) или жестко закрепленного компонента (18), в положении разблокирования, так, что система удержания (20) отделяется от опускаемой крышки (12) или жестко закрепленного компонента (18) с разрывом связи между опускаемой крышкой (12) и жестко закрепленным компонентом (18). Технический результат заключается в создании аварийного устройства открытия верхней багажной полки с повышенной надежностью. 2 н. и 12 з.п. ф-лы, 5 ил.
Область техники, к которой относится изобретение
Изобретение относится к устройству аварийного открытия для верхней багажной полки с опускаемой крышкой, а также к верхней багажной полке, снабженной устройством аварийного открытия данного типа.
Уровень техники
Верхние багажные полки с опускаемой крышкой в настоящее время используются в пассажирских самолетах, в частности, потому, что они позволяют оптимально использовать пространство и в то же время обеспечивают высокий уровень эксплуатационного удобства. Опускаемая крышка поворачивается из верхнего закрытого положения, в котором обеспечивается оптимальная свобода для головы пассажира, сидящего под верхней багажной полкой, в нижнее, открытое положения загрузки или разгрузки. Даже относительно невысокие люди могут с удобством уложить предметы багажа в багажную полку или же вынуть из нее багаж в положении загрузки или разгрузки.
Верхние багажные полки этого типа обычно содержат систему удержания, которая используется для того, чтобы закрепить с возможностью поворота опускаемую крышку на компоненте, прикрепленном к такой конструкции, как корпус верхней багажной полки и/или конструкция потолка пассажирского салона воздушного судна. Кроме того, система удержания может использоваться для приложения сил натяжения усилительного устройства для поднятия опускаемой крышки. Типовая система удержания содержит кабель, который может направляться через один или большее количество направляющих роликов, концы которого присоединены к опускаемой крышке или компоненту, прикрепленному к конструкции.
Обычно предусматривается также запирающий механизм, который находится в легкодоступном месте и легко приводится в действие. В своем закрытом положении запирающий механизм удерживает опускаемую крышку в ее верхнем закрытом положении, тогда как в ее открытом положении он позволяет опускать крышку верхней багажной полки из верхнего закрытого положения в нижнее открытое положение загрузки или разгрузки. Таким образом становится возможной удобная эксплуатация верхней багажной полки. В то же время удается избежать опасности травмирования, которое может случиться, например, вследствие неконтролируемого опускания крышки.
В принципе, по причинам обеспечения безопасности, в частности, при использовании верхней багажной полки с опускаемой крышкой в пассажирских воздушных судах есть необходимость в том, чтобы опускаемая крышка могла приводиться из своего верхнего закрытого положения в нижнее открытое положения загрузки или разгрузки даже в случае несрабатывания системы удержания, которое может быть вызвано заклиниванием кабеля или пожаром в области верхней багажной полки. Поэтому верхние багажные полки этого типа содержат также аварийное устройство открытия, которое при необходимости отделяет систему удержания от опускаемой крышки или от компонента, прикрепленного к конструкции. Аварийное устройство открытия может быть скомпоновано, например, таким образом, что оно в случае активирования отделяет направленный кабель системы удержания от опускаемой крышки.
Известное устройство аварийного открытия содержит работающий на срез штифт, который разрушается при приложении соответствующей силы спускового механизма, например от сильного оттягивания опускаемой крышки, так, чтобы направленный кабель системы удержания отделился от опускаемой крышки. Использование устройства аварийного открытия с таким штифтом имеет недостаток, который заключается в том, что в зависимости от общей конструкции верхней багажной полки и рычажных условий, имеющихся на направляемом кабеле системы удержания, для запуска устройства аварийного открытия могут потребоваться очень большие силы. Из-за производственных и сборочных допусков (разбросов) может иметь место большой разброс значений силы приведения в действие. Недостатком является также то, в частности, в случае пожара в области верхней багажной полки, что устройство аварийного открытия должно активироваться путем оттягивания опускаемой крышки, поскольку из верхней багажной полки могут вырваться дым и пламя и травмировать человека, который активирует устройство аварийного открытия. И наконец, в ходе нормальной эксплуатации верхней багажной полки имеется риск случайного запуска устройства аварийного открытия.
DE 10001038 А1 описывает верхнюю багажную полку с опускаемой крышкой, которая содержит передвижное приводное устройство для опускания крышки верхней багажной полки из верхнего закрытого положения в нижнее открытое положение и для подъема крышки верхней багажной полки из нижнего открытого положения в верхнее закрытое положение. Приводное устройство выполнено, например, из зубчато-ременной передачи и содержит приводной двигатель, вращательное движение которого может передаваться через шлицевой вал на зубчатый ремень. Замок зубчато-ременной передачи закрепляется, чтобы поддерживать рычаги опускаемой крышки посредством кронштейнов, снабженных роликами, так чтобы опускаемая крышка могла перемещаться между ее верхним закрытым положением и нижним открытым положением путем активирования зубчато-ременной передачи. Для фиксации крышки верхней багажной полки в верхнем закрытом положении предусмотрено запорное устройство с приводом от подъемного электромагнита, который может быть активирован посредством приводного выключателя. Для обеспечения ручного открывания и закрывания верхней багажной полки даже в случае отказа передвижного приводного устройства предусматривается муфта, расположенная на шлицевом валу зубчатого ремня. Муфта может перемещаться посредством ручного рычага и натяжения кабеля в положение расцепления с тем, чтобы отсоединить нефункционирующий приводной двигатель от передающих усилие компонентов ременной передачи. Активация приводного выключателя может в дальнейшем разблокировать запорное устройство, работающее от подъемного электромагнита, и крышка верхней багажной полки может быть передвинута вручную в ее нижнее открытое положение.
Раскрытие изобретения
Задача настоящего изобретения заключается в создании устройства аварийного открытия для верхней багажной полки с опускаемой крышкой, которое при необходимости обеспечивало бы надежное отделение системы удержания для крепления опускаемой крышки к компоненту, прикрепленному к конструкции, от опускаемой крышки или от компонента, прикрепленного к конструкции, и при этом могло бы приводиться в действие простым и безопасным образом. Задача изобретения заключается также в создании верхней багажной полки, снабженной устройством аварийного открытия этого типа.
Эта задача решается с помощью устройства аварийного открытия для верхней багажной полки с опускаемой крышкой, охарактеризованной в пункте 1 формулы изобретения, и верхней багажной полки, охарактеризованной в пункте 10 формулы изобретения.
В соответствии с изобретением устройство аварийного открытия для верхней багажной полки с опускаемой крышкой содержит соединительный элемент, соединяемый с системой удержания для крепления опускаемой крышки к компоненту, соединенному с конструкцией. Компонент, соединенный с конструкцией, может представлять собой, например, корпус верхней багажной полки или потолочную конструкцию, в частности потолочную конструкцию пассажирского отсека самолета. Запорное устройство устройства аварийного открытия может соединяться либо с опускаемой крышкой, либо с компонентом, соединенным с конструкцией. Это запорное устройство обеспечивает связь соединительного элемента с опускаемой крышкой или компонентом, соединенным с конструкцией, в положении блокирования, и обеспечивает отделение соединительного элемента от опускаемой крышки или компонента, соединенного с конструкцией, в положении разблокирования. Другими словами, в собранном состоянии запорного устройства соединительный элемент, тем самым и система удержания, могут быть отделены от опускаемой крышки или от компонента, соединенного с конструкцией, путем перемещения запорного устройства из положения блокирования в положение разблокирования. Вследствие этого опускаемая крышка может быть приведена из своего верхнего закрытого положения в нижнее открытое положение загрузки или разгрузки, даже в случае отказа системы удержания.
В соответствии с изобретением устройство аварийного открытия обладает преимуществом, которое заключается в том, что для перевода запорного устройства из положения блокирования в положение разблокирования никакой особенной силы прикладывать не требуется. Таким образом, в отличие от устройства аварийного открытия, содержащего работающий на срез штифт, устройство аварийного открытия, соответствующее изобретению, может быть активировано даже не очень сильными людьми. В частности, при использовании устройства аварийного открытия, соответствующего изобретению, в верхней багажной полке с опускаемой крышкой это способствует более высокому уровню безопасности на борту пассажирского самолета.
В предпочтительном варианте запорное устройство устройства аварийного открытия, соответствующего изобретению, выполнено таким образом, что оно может многократно перемещаться из положения блокирования в положение разблокирования и обратно. Более того, благодаря тому, что при активировании устройства аварийного открытия возникают лишь относительно небольшие нагрузки, повреждение его компонентов, например, соединительного элемента или запорного устройства, фактически исключено. Таким образом, после приведения в действие устройство аварийного открытия можно относительно легко вновь подготовить к работе.
В предпочтительном варианте осуществления устройства аварийного открытия, соответствующего изобретению, запорное устройство содержит базовую панель, которая соединяется с опускаемой крышкой верхней багажной полки или компонентом, соединенным с конструкцией. Базовая панель может иметь, например, одно или большее количество отверстий для крепления посредством винтового или заклепочного соединения к опускаемой крышке или компоненту, соединенному с конструкцией. В качестве альтернативы базовая панель может быть приклеена к опускаемой крышке или к компоненту, соединенному с конструкцией.
Предпочтительным является также то обстоятельство, что запорное устройство содержит рычаг, поворачивающийся вокруг оси между первым и вторым положениями. Рычаг может взаимодействовать с соединительным элементом в своем первом положении и освобождать соединительный элемент в своем втором положении. Другими словами, путем перемещения поворотного рычага из первого положения во второе положение связь между соединительным элементом и запорным устройством может быть разорвана. В собранном состоянии устройства аварийного открытия, соответствующего изобретению, система удержания для крепления опускаемой крышки верхней багажной полки к компоненту, соединенному с конструкцией, может быть отделена от опускаемой крышки или указанного компонента путем перемещения поворотного рычага из первого положения во второе положение. Рычажный механизм этого типа может быть легко активирован даже неопытными людьми, что способствует увеличению безопасности устройства аварийного открытия.
Поворотный рычаг запорного устройства может прикрепляться, например, посредством винтового или заклепочного соединения непосредственно к опускаемой крышке или к компоненту, соединенному с конструкцией. В качестве альтернативы рычаг может быть присоединен также к базовой панели запорного устройства. В этом случае перед сборкой запорного устройства базовая панель и рычаг могут быть предварительно собраны на опускаемой крышке или на указанном компоненте в виде самостоятельного модуля.
Предпочтительным является то обстоятельство, что рычаг поворачивается вокруг оси, которая расположена на первом конце или вблизи первого конца рычага. Для фиксирования положения поворотной оси в рычаге может быть образовано отверстие, через которое проходит шейка оси опорного подшипника или подобный элемент. Посредством использования в качестве плеча рычага полной или фактически полной длины рычага, рычаг может перемещаться между своим первым и вторым положениями путем приложения относительно небольшой силы ко второму его концу. Вследствие этого расход силы, требующейся для того, чтобы активировать устройство аварийного открытия, соответствующее изобретению, может быть дополнительно уменьшен.
Предпочтительным является то обстоятельство, что рычаг запорного устройства предварительно напряжен в своем первом положении, в котором он обеспечивает сцепление запорного устройства с соединительным элементом, и в собранном состоянии устройства аварийного открытия обеспечивает сцепление системы удержания с опускаемой крышкой или компонентом, соединенным с конструкцией. Благодаря упругому напряжению поворотного рычага в первом положении, рычаг сцепляется с соединительным элементом во время сборки устройства аварийного открытия, издавая определенный звук. Таким образом, это обеспечивает некоторую проверку надлежащего соединения между запорным устройством и соединительным элементом. Более того, при активировании устройства аварийного открытия сначала должна быть преодолена упругая сила, приложенная пружиной, с тем, чтобы переместить рычаг из первого положения во второе положение и, таким образом, отделить соединительный элемент от запорного устройства, следовательно, отделить систему удержания от опускаемой крышки или компонента, соединенного с конструкцией. Благодаря этому опасность случайного активирования устройства аварийного открытия минимизирована.
В предпочтительном варианте осуществления устройства аварийного открытия, соответствующего изобретению, на рычаге запорного устройства сформирован блокирующий носик. Этот блокирующий носик взаимодействует с блокирующим выступом, предусмотренным на соединительном элементе, в первом положении рычага и освобождает блокирующий выступ во втором положении рычага. Такая конфигурация рычага и соединительного элемента, в конструктивном отношении, является относительно простой; она может быть осуществлена с небольшими расходами и при этом обеспечивает надежное сцепление между соединительным элементом и запорным устройством, когда рычаг находится в своем первом положении.
В предпочтительном варианте устройство аварийного открытия, соответствующее изобретению, содержит блок скольжения для скользящего направления предпочтительно плоского предмета, который может использоваться для перемещения поворотного рычага запорного устройства между первым и вторым положениями. Это обеспечивает надлежащее активирование рычага в случае, когда человек, приводящий в действие устройство аварийного открытия, его не видит. Блок скольжения может крепиться к опускаемой крышке или к компоненту, соединенному с конструкцией, посредством винтового, заклепочного или клеевого соединения.
В предпочтительном варианте осуществления устройства аварийного открытия, соответствующего изобретению, запорное устройство содержит направляющее устройство для приема и направления соединительного элемента. Направляющее устройство может быть сконструировано как отдельный компонент и прикреплено посредством винтового, заклепочного или клеевого соединения, например, к опускаемой крышке или к компоненту, соединенному с конструкцией. В качестве альтернативы направляющее устройство может быть присоединено к базовой панели запорного устройства или сформировано заодно с ней.
Предпочтительно направляющее устройство содержит первый и второй направляющий элементы, причем первый и второй направляющий элементы расположены на расстоянии друг от друга, образуя между собой принимающее устройство для соединительного элемента. Это расположение имеет преимущество, которое заключается в том, что при сцеплении соединительного элемента с запорным устройством и при отделении соединительного элемента от запорного устройства в случае запуска устройства аварийного открытия соединительный элемент смещается относительно запорного устройства направленным, а следовательно, контролируемым образом.
Предпочтительно предусмотрена направляющая, выполненная с возможностью взаимодействия с направляющим пазом в направляющем устройстве, сформированная на соединительном элементе. Направляющая может быть предусмотрена, например, на боковой стороне соединительного элемента и может взаимодействовать с направляющим пазом, сформированным на первом или втором направляющих элементах. Следует понимать, что соединительный элемент может быть снабжен направляющей на обоих сторонах, при этом первый и второй направляющие элементы направляющего устройства содержат соответствующие направляющие пазы. Конфигурация соединительного элемента с направляющим устройством, снабженного направляющим пазом, обеспечивает, в частности, безопасное направление соединительного элемента в направляющем устройстве относительно простым в конструктивном отношении способом.
Соединительный элемент предпочтительно снабжен ограничителем. Этот ограничитель используется при сцеплении соединительного элемента с запорным устройством, чтобы зафиксировать положение соединительного элемента по отношению к запорному устройству. Ограничитель может быть расположен, например, рядом с направляющей, сформированной на соединительном элементе, и взаимодействовать с боковой стороной направляющего устройства, когда соединительный элемент сцеплен с запорным устройством.
В предпочтительном варианте осуществления устройства аварийного открытия, соответствующего изобретению, соединительный элемент содержит устройство кабельного соединения. Устройство кабельного соединения этого типа используется для прикрепления соединительного элемента к кабелю системы удержания, через которую опускаемая крышка верхней багажной полки крепится к компоненту, соединенному с конструкцией. Устройство кабельного соединения предпочтительно снабжено регулирующим устройством, содержащим регулировочный винт для тонкой регулировки длины кабеля системы удержания.
Верхняя багажная полка, соответствующая изобретению, содержит опускаемую крышку, систему удержания для крепления опускаемой крышки к компоненту, соединенному с конструкцией, например к корпусу верхней багажной полки и/или к потолочной конструкции пассажирского отсека самолета, а также вышеописанное устройство аварийного открытия. Посредством устройства аварийного открытия опускаемую крышку можно простым, быстрым, контролируемым и безопасным способом перемещать из верхнего закрытого положения в нижнее открытое положение загрузки или разгрузки, даже в случае несрабатывания системы удержания, которое может быть вызвано, например, заклиниванием кабеля системы удержания или пожаром в области верхней багажной полки.
В предпочтительном варианте осуществления верхней багажной полки, соответствующей изобретению, устройство аварийного открытия установлено на наружной стороне боковой стенки опускаемой крышки или на компоненте, соединенном с конструкцией. Например, запорное устройство устройства аварийного открытия может крепиться в области, примыкающей к основанию опускаемой крышки на ее боковой стенке. В собранном состоянии устройства аварийного открытия, когда устройство аварийного открытия активировано, система удержания для крепления опускаемой крышки верхней багажной полки к компоненту, соединенному с конструкцией, отделена от опускаемой крышки. Таким образом, при одновременном активировании запирающего механизма, который при нормальной эксплуатации верхней багажной полки удерживает опускаемую крышку в верхнем закрытом положении, опускаемая крышка перемещается из своего верхнего закрытого положения в нижнее открытое положение загрузки или разгрузки. Чтобы не допустить неконтролируемого падения крышки, на верхней багажной полке и/или на компоненте, соединенном с конструкцией, например с корпусом верхней багажной полки или с потолочной конструкцией пассажирского отсека самолета, обычно предусматриваются так называемые концевые ограничители, которые удерживают опускаемую крышку в заданном конечном положении после активирования устройства аварийного открытия и связанного с этим отделения опускаемой крышки от системы удержания.
Устройство аварийного открытия имеет относительно небольшую глубину. Поэтому нет необходимости формировать принимающее устройство для устройства аварийного открытия, например, вырезанием боковой стенки опускаемой крышки. Устройство аварийного открытия может быть установлено в обычном зазоре шириной приблизительно 15 мм между боковой стенкой опускаемой крышки и боковой стенкой корпуса верхней багажной полки при закрытом состоянии верхней багажной полки.
Блок скольжения устройства аварийного открытия может быть присоединен к узкому выступу, который проходит, например, по существу, перпендикулярно наружной стороне боковой стенки опускаемой крышки в области боковой стенки опускаемой крышки, примыкающей к основанию опускаемой крышки. Таким образом, верхняя багажная полка может быть оборудована устройством аварийного открытия при относительно небольших расходах на изготовление и сборку.
Между соседними верхними багажными полками в пассажирском отсеке самолета обычно имеется пространство, которое является достаточным для того, чтобы устройство аварийного открытия, установленное на наружной стороне боковой стенки опускаемой крышки верхней багажной полки, т.е. рычаг запорного устройства, могло быть приведено в действие путем введения плоского предмета, такого как кредитная карта или ложка, в промежуток между соседними верхними багажными полками, т.е. из бокового положения. Таким образом, становится возможным простое и контролируемое приведение в действие устройства аварийного открытия. Напротив, энергичное оттягивание опускаемой крышки, которое требуется, например, в случае устройства аварийного открытия, снабженного работающим на срез штифтом, здесь не требуется. Благодаря этому, риски травмирования человека, приводящего в действие устройство аварийного открытия, в частности, в случае пожара в области верхней багажной полки, минимизированы.
Предпочтительно, чтобы верхняя багажная полка, соответствующая изобретению, содержала две системы удержания для крепления опускаемой крышки к компоненту, соединенному с конструкцией, причем первая система удержания была бы предусмотрена в области первой боковой стенки, а вторая система удержания была бы предусмотрена в области второй боковой стенки опускаемой крышки, противоположной первой боковой стенке. Тогда верхняя багажная полка содержит два устройства аварийного открытия, причем первое устройство аварийного открытия расположено на первой боковой стенке опускаемой крышки, а второе устройство аварийного открытия расположено на второй боковой стенке опускаемой крышки. При необходимости в верхней багажной полке этого типа возможно также контролируемое активирование только одного устройства аварийного открытия, так что опускаемая крышка верхней багажной полки может быть отделена лишь от одной системы удержания и может оставаться связанной с другой системой удержания.
Предпочтительно верхняя багажная полка, соответствующая изобретению, содержит закрывающий элемент, который частично окружает устройство аварийного открытия. Закрывающий элемент может быть прикреплен с возможностью отделения к боковой стенке опускаемой крышки верхней багажной полки и скомпонован таким образом, чтобы не было негативного влияния на активирование рычага запорного устройства. Закрывающий элемент защищает устройство аварийного открытия, в частности, если опускаемая крышка находится в своем нижнем открытом положении загрузки или разгрузки во время обычной эксплуатации верхней багажной полки, от загрязнения и уменьшает опасность случайного активирования устройства аварийного открытия.
Если верхняя багажная полка, соответствующая изобретению, содержит закрывающий элемент, то блок скольжения устройства аварийного открытия может быть сформирован с ним как единое целое или же прикреплен к нему.
Закрывающий элемент предпочтительно снабжен окошком. Через это окошко в процессе эксплуатации верхней багажной полки можно легко проверить, надлежащим ли образом соединительный элемент сцеплен с запорным устройством, без необходимости демонтажа закрывающего элемента. Следует, однако, понимать, что закрывающий элемент может быть выполнен и без окошка.
Краткое описание чертежей
Предпочтительные варианты осуществления устройства аварийного открытия, соответствующего изобретению, и верхней багажной полки, соответствующей изобретению, будут описаны более подробно со ссылкой на прилагаемые чертежи, где:
Фиг.1 показывает верхнюю багажную полку, соответствующую изобретению, с опускаемой крышкой и устройством аварийного открытия, причем опускаемая крышка находится в своем верхнем закрытом положении,
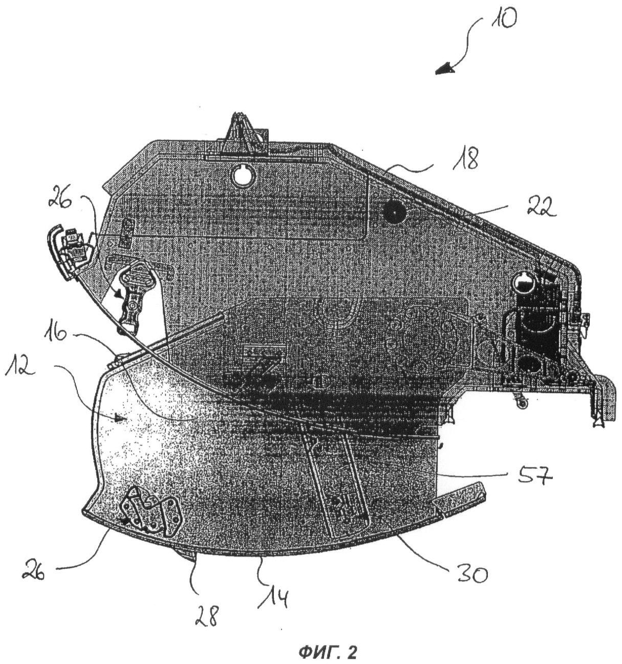
Фиг.2 показывает соответствующую изобретению верхнюю багажную полку, которая проиллюстрирована на Фиг.1, причем опускаемая крышка находится в своем нижнем открытом положении загрузки или разгрузки,
Фиг.3 показывает устройство аварийного открытия, соответствующее изобретению, для верхней багажной полки с опускаемой крышкой,
Фиг.4 показывает трехмерную иллюстрацию устройства аварийного открытия, показанного на Фиг.1, в положении блокирования, и
Фиг.5 показывает трехмерную иллюстрацию устройства аварийного открытия, показанного на Фиг.1, в положении разблокирования.
Осуществление изобретения
Верхняя багажная полка 10, показанная на Фиг.1 и 2, содержит опускаемую крышку 12, которая включает в себя основание 14 и две противоположные боковые стенки 16. Опускаемая крышка 12 может поворачиваться из верхнего закрытого положения, показанного на Фиг.1, в котором она принимается в корпусе 18 верхней багажной полки, в нижнее открытое положение загрузки или разгрузки, показанное на Фиг.2. Корпус 18 верхней багажной полки жестко прикреплен к потолочной конструкции пассажирского отсека самолета, которая на чертежах не показана.
Опускаемая крышка 12 верхней багажной полки 10 соединена с корпусом 18 верхней багажной полки посредством двух систем удержания 20, каждая из которых расположена в области боковых стенок 16 опускаемой крышки 12. Каждая система удержания 20 содержит направляющий ролик 22, прикрепленный к корпусу 18 верхней багажной полки. Кабель 24, показанный на Фиг.1, направляется через направляющий ролик и обеспечивает присоединение опускаемой крышки 12 к корпусу 18 верхней багажной полки. Для большей ясности изображения кабель 24, направленный через направляющий ролик 22, на Фиг.2 не показан.
Верхняя багажная полка 10 содержит также запирающий механизм 26, показанный в своем закрытом положении на Фиг.1 и удерживающий опускаемую крышку 12 верхней багажной полки 10 в ее верхнем закрытом положении. В своем открытом положении, показанном на Фиг.2, запирающий механизм 26, напротив, позволяет опускать крышку 12 в ее нижнее, открытое положение загрузки или разгрузки. Запирающий механизм 26 содержит приводной рычаг 28, который присоединен к наружной стороне основания 14 опускаемой крышки 12, и, таким образом, в процессе эксплуатации верхней багажной полки 10 он легко доступен, например, из центрального прохода пассажирского отсека самолета.
Соответствующее устройство аварийного открытия 30, подробно проиллюстрированное на Фиг.3-5, предусмотрено на наружных сторонах обеих противоположных боковых стенок 16 опускаемой крышки 12. Устройства аварийного открытия 30 используются для того, чтобы обеспечить поворот опускаемой крышки 12 из верхнего закрытого положения, показанного на Фиг.1, в нижнее открытое положение загрузки и разгрузки, показанное на Фиг.2, даже в случае несрабатывания системы удержания 20, которое может быть вызвано, например, заклиниванием направляющих кабелей 24 или пожаром в области верхней багажной полки 10.
Каждое из устройств аварийного открытия 30 имеет относительно небольшую глубину. Поэтому устройства аварийного открытия 30 могут устанавливаться в зазоре шириной приблизительно 15 мм, который присутствует в закрытом состоянии верхней багажной полки 10, показанной на Фиг.1, между боковыми стенками 16 опускаемой крышки 12 и боковыми стенками корпуса 18 верхней багажной полки, находящихся напротив этих боковых стенок 16.
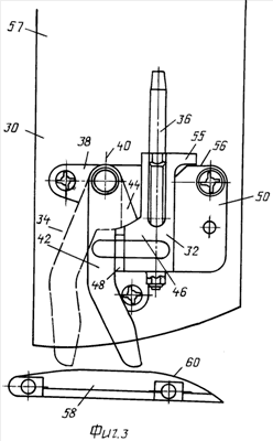
Как лучше всего видно на Фиг.3-5, устройство аварийного открытия 30 содержит соединительный элемент 32 и запорное устройство 34. Соединительный элемент 32 содержит устройство кабельного соединения 36, которое используется для крепления соединительного элемента 32 к направляемому кабелю 24 системы удержания 20. Устройство кабельного соединения 36 снабжено регулирующим устройством, которое позволяет регулировать длину кабеля 24 системы удержания во время сборки системы удержания 20 и устройства аварийного открытия 30.
Запорное устройство 34 содержит базовую панель 38, которая в собранном состоянии устройства аварийного открытия 30 привинчивается к боковой стенке 16 опускаемой крышки 12. Рычаг 42, который может поворачиваться вокруг оси 40 между первым положением (см. Фиг.3 – сплошная линия и Фиг.4) и вторым положением (см. Фиг.3 – штрихпунктирная линия и Фиг.5), присоединен к базовой панели 38. На рычаге 42 сформирован блокирующий носик 44, который в первом положении рычага 42, когда запорное устройство 34 устройства аварийного открытия 30 присоединено к соединительному элементу, взаимодействует с блокирующим выступом 46, предусмотренном на соединительном элементе 32. С другой стороны, во втором положении рычага 42 блокирующий носик 44, сформированный на рычаге 42, отпускает блокирующий выступ 46 соединительного элемента 32. Рычаг 42 в своем первом положении предварительно напряжен с помощью пружины, которая на чертежах не показана.
Запорное устройство 34 устройства аварийного открытия 30 содержит также направляющее устройство с первым и вторым направляющими элементами 48, 50. Первый и второй направляющие элементы 48, 50 выполнены как одно целое с базовой панелью 38 и располагаются на расстоянии друг от друга с тем, чтобы сформировать между собой принимающее устройство 52 для соединительного элемента 32 (см. Фиг.5). На соединительном элементе 32 выполнена направляющая 54, которая принимается в направляющем пазу, предусмотренном на втором направляющем элементе 50, когда соединительный элемент 32 сцеплен с запорным устройством 34. На соединительном элементе 32 выполнен также ограничитель 55, расположенный рядом с направляющей 54. Ограничитель 55 взаимодействует с боковой стороной 56 второго направляющего элемента 50, когда соединительный элемент 32 сцеплен с запорным устройством 34.
Как можно видеть на Фиг.1-3, каждое устройство аварийного открытия 30, установленное на боковых стенках 16 опускаемой крышки 12, частично окружено закрывающим элементом 57, прикрепленным к соответственной боковой стенке 16. Как лучше всего видно на Фиг.3, закрывающий элемент 57 скомпонован таким образом, что это не сказывается на активировании рычага 42 запорного устройства 34. На закрывающем элементе 57 сформировано окошко, что позволяет проверять рабочее состояние устройства аварийного открытия 30 без необходимости демонтажа закрывающего элемента 57.
И наконец, устройство аварийного открытия 30 содержит блок скольжения 58 для скользящего направления плоского объекта, который, как будет описано в дальнейшем, может быть использован для перемещения поворотного рычага 42 запорного устройства 34 между его первым и вторым положениями. Блок скольжения 58 присоединен к выступу (не показан), который проходит, по существу, перпендикулярно наружной стороне боковой стенки 16 опускаемой крышки 12 и расположен так, что при смещении между своим первым и вторым положениями рычаг 42 скользит по поверхности 60 блока скольжения 58. В качестве альтернативы блок скольжения 58 устройства аварийного открытия 30 может быть сформирован как одно целое с закрывающим элементом 57 или же прикреплен к нему.
Ниже приводится более подробное описание функционирования верхней багажной полки 10 и устройства аварийного открытия 30. При нормальной эксплуатации верхней багажной полки 10 каждое устройство аварийного открытия 30 создает связь между опускаемой крышкой 12 верхней багажной полки 10 и направляемым кабелем 24 системы удержания 20, а значит и корпусом 18 верхней багажной полки.
Во время сборки устройства аварийного открытия 30 базовая панель 38 запорного устройства 34 с рычагом 42 и первым, и вторым направляющими элементами 48, 50 сначала привинчивается к наружной стороне боковой стенки 16 опускаемой крышки 12. Кроме того, блок скольжения 58 присоединяется к выступу, проходящему, по существу, перпендикулярно наружной стороне боковой стенки 16 опускаемой крышки 12. Упомянутая последней сборочная операция может быть опущена, если блок скольжения 58 сформирован (как об этом упоминается выше) в виде единого целого с закрывающим элементом 57 или прикреплен к нему.
После этого соединительный элемент 32, присоединенный к направляемому кабелю 24 системы удержания 20 через устройство кабельного соединения 36, вводится в запорное устройство 34 таким образом, чтобы направляющая 54, сформированная на соединительном элементе 32, принималась в направляющем пазу, сформированном на втором направляющем элементе 50. Соединительный элемент 32 смещается относительно запорного устройства 34 в направлении блока скольжения 58 до тех пор, пока ограничитель 55, сформированный на соединительном элементе 32, не примкнет к боковой стороне 56 второго направляющего элемента 50, а блокирующий носик 34 не сцепится со щелчком с блокирующим выступом 46, предусмотренным на соединительном элементе 32. И наконец, при необходимости длина кабеля 24 системы удержания 20 может быть точно отрегулирована посредством регулировочного устройства.
При нормальной эксплуатации верхней багажной полки 10 запирающий механизм 26, чтобы открыть верхнюю багажную полку 10, открывается путем приведения в действие активирующего рычага 28 так, чтобы опускаемая крышка 12 могла повернуться из верхнего закрытого положения в нижнее открытое положение загрузки или разгрузки. В этом процессе устройство аварийного открытия 30 остается в положении блокирования, в котором соединительный элемент 32 сцеплен с запорным устройством 34.
Если из-за несрабатывания одной системы удержания 20 или же обеих систем удержания 20, которое может быть вызвано, например, заклиниванием направляемого кабеля 24 или обоих кабелей 24, или пожаром в области верхней багажной полки 10, открыть верхнюю багажную полку 10 путем простого активирования запирающего механизма 26 невозможно, то опускаемую крышку 12 верхней багажной полки 10 можно переместить путем одновременного активирования запирающего механизма 26 и устройства аварийного открытия 30 из верхнего закрытого положения в нижнее положение загрузки или разгрузки. Для того чтобы активировать устройство аварийного открытия 30, в промежуток между соседними верхними багажными полками 10 в пассажирском отсеке самолета вводится плоский предмет, такой как кредитная карта или ложка, и рычаг 42 запорного устройства 34 перемещается из своего первого положения во второе положение. В этом процессе перемещения плоский предмет направляется посредством блока скольжения 58, поэтому, несмотря на то, что человек, запускающий устройство аварийного открытия 30, не видит само это устройство, обеспечивается надлежащая активация рычага 42.
При перемещении рычага 42 из первого положения во второе положение блокирующий носик 44, сформированный на рычаге 42, отцепляется от блокирующего выступа 46, предусмотренного на соединительном элементе 32, так что сцепление между соединительным элементом 32 и запорным устройством 34 разрывается. Вследствие этого разрывается также и связь между опускаемой крышкой 12 и корпусом 18 верхней багажной полки, так что опускаемая крышка 12 верхней багажной полки 10 под действием силы тяжести перемещается из верхнего закрытого положения в нижнее открытое положение загрузки или разгрузки. Перемещение опускаемой крышки 12 ограничивается приспособлениями, которые называются концевыми ограничителями, так что неконтролируемое падение крышки 12 не допускается.
Поскольку верхняя багажная полка 10 снабжена двумя системами удержания 20, а каждое из устройств аварийного открытия 30 расположено в области противоположных боковых стенок 16 опускаемой крышки 12, то при необходимости, может быть активировано только одно устройство аварийного открытия 30, так что опускаемая крышка 12 верхней багажной полки 10 отделяется только от одной системы удержания 20, оставаясь при этом соединенной с другой системой удержания 20.
Запорное устройство 34 устройства аварийного открытия 30 выполнено таким образом, что оно может многократно перемещаться между своими первым и вторым положениями. Таким образом, после приведения в действие устройства аварийного открытия 30 оно может быть вновь легко подготовлено для работы путем, во-первых, отделения закрывающего элемента 57 от боковой стенки 16 опускаемой крышки 12 и, во-вторых, повторного присоединения соединительного элемента 32 к запорному устройству 34 устройства аварийного открытия 30. После того, как закрывающий элемент возвращен на место, устройство аварийного открытия 30 снова готово для работы.
Формула изобретения
1. Устройство аварийного открытия (30) для верхней багажной полки (10) с опускаемой крышкой (12), содержащее соединительный элемент (32), выполненный с возможностью присоединения к системе удержания (20), предназначенной для крепления опускаемой крышки (12) к жестко закрепленному компоненту (18), и запорное устройство (34), выполненное с возможностью присоединения к опускаемой крышке (12) или к компоненту (18), при этом запорное устройство (34) обеспечивает связь соединительного элемента (32) с опускаемой крышкой (12) или жестко закрепленным компонентом (18) в положении блокирования так, что система удержания (20) соединяет опускаемую крышку (12) и жестко закрепленный компонент (18), и обеспечивает отделение соединительного элемента (32) от опускаемой крышки (12) или жестко закрепленного компонента (18) в положении разблокирования так, что система удержания (20) отделяется от опускаемой крышки (12) или жестко закрепленного компонента (18) с разрывом связи между опускаемой крышкой (12) и жестко закрепленным компонентом (18).
2. Устройство по п.1, отличающееся тем, что запорное устройство (34) содержит базовую панель (38), выполненную с возможностью присоединения к опускаемой крышке (12) или к жестко закрепленному компоненту (18), и рычаг (42), установленный с возможностью поворота вокруг оси (40) и выполненный с возможностью взаимодействия с соединительным элементом (32) в первом положении и с возможностью освобождения соединительного элемента (32) во втором положении.
3. Устройство по п.2, отличающееся тем, что рычаг (42) запорного устройства (34) предварительно напряжен в своем первом положении.
4. Устройство по п.2 или 3, отличающееся тем, что на рычаге (42) запорного устройства (34) сформирован блокирующий носик (44), выполненный с возможностью взаимодействия с блокирующим выступом (46), предусмотренным на соединительном элементе (32) в первом положении рычага (42) и с возможностью освобождения блокирующего выступа (46) соединительного элемента (32) во втором положении рычага (42).
5. Устройство по п.2 или 3, отличающееся тем, что содержит блок скольжения (58) для скользящего направления предмета, используемого для перемещения поворотного рычага (42) запорного устройства (34) между его первым и вторым положениями.
6. Устройство по любому из пп.1-3, отличающееся тем, что запорное устройство (34) содержит направляющее устройство (48, 50) для приема и направления соединительного элемента (32).
7. Устройство по п.6, отличающееся тем, что предусмотрена направляющая (54), выполненная с возможностью взаимодействия с направляющим пазом в направляющем устройстве (48, 50), сформированная на соединительном элементе (32).
8. Устройство по любому из пп.1-3, отличающееся тем, что предусмотрен ограничитель (55) для фиксирования положения соединительного элемента (32) относительно запорного устройства (34), сформированный на соединительном элементе (32).
9. Устройство по любому из пп.1-3, отличающееся тем, что соединительный элемент (32) содержит устройство кабельного соединения (36) для прикрепления соединительного элемента (32) к кабелю (24) системы удержания (20).
10. Верхняя багажная полка (10), содержащая опускаемую крышку (12), систему удержания (20) для крепления опускаемой крышки (12) к жестко закрепленному компоненту (18), и устройство аварийного открытия (30), охарактеризованное в любом из пп.1-9.
11. Багажная полка по п.10, отличающаяся тем, что устройство аварийного открытия (30) установлено на наружной стороне боковой стенки (16) опускаемой крышки (12) или на жестко закрепленном компоненте (18).
12. Багажная полка по п.10 или 11, отличающаяся тем, что предусмотрен закрывающий элемент (57), который частично окружает устройство аварийного открытия (30).
13. Багажная полка по п.12, отличающаяся тем, что блок скольжения (58) устройства аварийного открытия (30) выполнен заодно с закрывающим элементом (57) или с возможностью прикрепления к закрывающему элементу (57).
14. Багажная полка по п.12, отличающаяся тем, что закрывающий элемент (57) снабжен окошком.
РИСУНКИ
|
|