|
(21), (22) Заявка: 2009100280/11, 13.01.2009
(24) Дата начала отсчета срока действия патента:
13.01.2009
(46) Опубликовано: 20.06.2010
(56) Список документов, цитированных в отчете о поиске:
RU 2242402 С1, 20.12.2004. SU 1412189 A1, 27.10.2004. RU 2169104 C1, 20.06.2001. JP 2000233799 A, 29.08.2000. JP 2006224957 A, 31.08.2006.
Адрес для переписки:
125993, Москва, А-80, ГСП-3, Волоколамское ш., 4, МАИ, Патентный отдел
|
(72) Автор(ы):
Малышев Геннадий Викторович (RU), Егоров Юрий Григорьевич (RU), Кульков Владимир Михайлович (RU), Мурзаев Александр Михайлович (RU), Никитский Владимир Петрович (RU)
(73) Патентообладатель(и):
Государственное образовательное учреждение высшего профессионального образования Московский авиационный институт (государственный технический университет) (МАИ) (RU), Малышев Геннадий Викторович (RU), Егоров Юрий Григорьевич (RU), Кульков Владимир Михайлович (RU), Мурзаев Александр Михайлович (RU), Никитский Владимир Петрович (RU)
|
(54) СПОСОБ РАЗВЕРТЫВАНИЯ И ВЫСОТНОЙ ПОДВЕСКИ ИНФОРМАЦИОННОЙ СИСТЕМЫ И НЕСУЩИЙ АЭРОДИНАМИЧЕСКИЙ ЛЕТАТЕЛЬНЫЙ АППАРАТ ДЛЯ ЕГО РЕАЛИЗАЦИИ
(57) Реферат:
Изобретение относится к авиационной технике. Способ развертывания и высотной подвески информационной системы, содержащей несущий аэродинамический летательный аппарат (ЛА) с размещенной на нем аппаратурой для сбора, обработки и передачи информации и связанный с ним с помощью тросовой системы базовый модуль обслуживания. Несущий аэродинамический летательный аппарат размещают в стабильном ветровом потоке тропопаузной зоны атмосферы, поддерживают на рабочей высоте аэродинамическими средствами аппарата и тросовой фиксацией относительно земной поверхности. Выведение несущего аэродинамического летательного аппарата на рабочую высоту осуществляют с помощью буксирования транспортным средством за счет собственных аэродинамических свойств ЛА, а спуск и посадку по завершении программы полета (или в случаях отказов) осуществляют путем управляемого планирования после расцепки с тросом. Несущий аэродинамический летательный аппарат выполнен в виде крылатого аппарата гибридной схемы «планер – воздушный змей», по аэродинамической схеме «утка», биплана с высоким аэродинамическим качеством и малой удельной нагрузкой на крыло. Достигается повышение длительности непрерывного функционирования и устойчивости системы, снижение стоимости и трудозатрат. 3 н. и 3 з.п. ф-лы, 4 ил., 1 табл.
Изобретение относится к авиационной технике, в частности к многофункциональным высотным информационно-диагностическим системам (радиолокационного и оптического наблюдения, ретрансляторам, высотным метеостанциям).
В России и за рубежом ведутся активные работы по созданию воздушных информационных систем с высотой базирования от 3 до 26 км, которые могут выступать на региональном уровне в качестве альтернативы существующим спутниковым системам связи, навигации, наземным ретрансляторам, оптико-электронным системам наблюдения, имея существенно повышенные технико-экономические показатели.
Наиболее близким техническим решением к предлагаемому изобретению является привязная аэростатическая система – АРС (аэростатная ретрансляционная станция) [1]. Система АРС представляет собой привязной аэростат с жесткой монококовой оболочкой объемом 220000 м3, выводимый на заданную высоту за счет «архимедовой» силы аэростата при ограниченных ветровых нагрузках и удерживаемый в заданных координатах с помощью системы тросов на рабочей высоте свыше 9000 м. Источником энергии служит бортовая электростанция.
Недостатками привязной аэростатической системы являются: большие габариты, которые приводят к технологическим трудностям их производства и эксплуатации, ограничения по ветровым нагрузкам, высокая стоимость изготовления аэростатов. Аэростаты и дирижабли с высотностью 300 2000 м характеризуются объемами порядка 16000 100000 м3, а для высотностей 9000 25000 м – объемами порядка 220000 500000 м3. Недостатком таких систем является также ограничение длительности непрерывного функционирования, из-за утечек газа аэростаты требуют систематической дозаправки. Стоимость тысячи кубометров гелия составляет две тысячи долларов [2]. Надежность такой системы связывается с допустимой ветровой нагрузкой (диапазон скорости ветра не должен превышать 10-12 м/с).
Технической задачей предлагаемого изобретения является повышение длительности непрерывного функционирования системы, повышение ее устойчивости к ветровым нагрузкам, снижение стоимости системы, повышение надежности, снижение трудозатрат на удержание единицы массы на заданных высотах по сравнению с известными аэростатическими системами.
Решение поставленной задачи достигается тем, что для развертывания и высотной подвески информационной системы, содержащей несущий аэродинамический летательный аппарат с целевой нагрузкой в комплексе с базовым (наземным, воздушным, водным) стационарным или подвижным управляющим модулем, связанными тросовой системой, несущий аэродинамический летательный аппарат поднимают и размещают в стабильном ветровом потоке (при скорости обтекания 15 25 м/с) тропопаузной зоны атмосферы (на высоте 9 11 км) средних широт Земли, поддерживают на рабочей высоте аэродинамическими средствами аппарата и тросовой фиксацией относительно земной поверхности, регулированием натяжения троса и угла атаки летательного аппарата.
Выведение несущего аэродинамического летательного аппарата на рабочую высоту осуществляют с помощью буксирования (вертолетным, наземным или водным транспортным средством) за счет собственных аэродинамических свойств ЛА в диапазоне скоростей относительного движения в воздушном потоке 15 25 м/с, поддержание аппарата на рабочей высоте осуществляют аэродинамическим управлением углами атаки с помощью автопилота и/или командной радиолинии, навигационной системы, а спуск и посадку по завершении программы полета (или в случаях отказов) осуществляют путем управляемого планирования после расцепки с тросом.
Несущий аэродинамический летательный аппарат (безрасходный, безмоторный, энергетически самообеспечиваемый, экологически чистый) выполняют в виде крылатого аппарата гибридной схемы «планер – воздушный змей», по аэродинамической схеме «утка», биплана с высоким аэродинамическим качеством К=10 15 (которое характеризуется отношением коэффициента подъемной силы к коэффициенту лобового сопротивления ЛА на расчетных углах атаки в диапазоне полетных скоростей) и малой удельной нагрузкой на крыло Р=5 8 кг/м2.
Крыльевой модуль биплана выполнен в виде жесткой коробчатой конструкции, образованной двумя несущими поверхностями – верхним и нижним крыльями (с элеронами-элевонами на нижнем крыле), причем верхнее крыло вынесено вперед и вверх по отношению к нижнему крылу на расстояние 1 и 1,5 длины корневой хорды крыла соответственно для уменьшения их взаимного влияния, снижения интерференции и обеспечения устойчивости, и боковыми законцовками, выполняющими одновременно роль вертикальных стабилизаторов в дополнение к среднеконсольным и центральному стабилизатору, оборудованному аэродинамическим рулем направления. В носовой части фюзеляжа размещено переднее горизонтальное оперение с рулевыми аэродинамическими поверхностями. Аппарат снабжен посадочным шасси.
В области центра масс несущего аэродинамического летательного аппарата размещен ветроэлектрогенератор (ВЭГ) переменной мощности для электропитания целевой и служебной аппаратуры, при этом аэродинамическое сопротивление ветроэлектрогенератора учитывают в системе управления при вариациях ветровой нагрузки.
Трос системы механической связи несущего аэродинамического летательного аппарата с базовым модулем крепится к летательному аппарату так, что сила его натяжения проходит через центр масс аппарата, он выполнен из материала типа «кевлар», имеет диаметр и аэродинамическое сопротивление, соответствующие несущим свойствам ЛА. Трос рассчитан на нагрузки с учетом собственного веса, диапазона скоростей ветра и снабжен антиобледенительной и антимолниевой защитой.
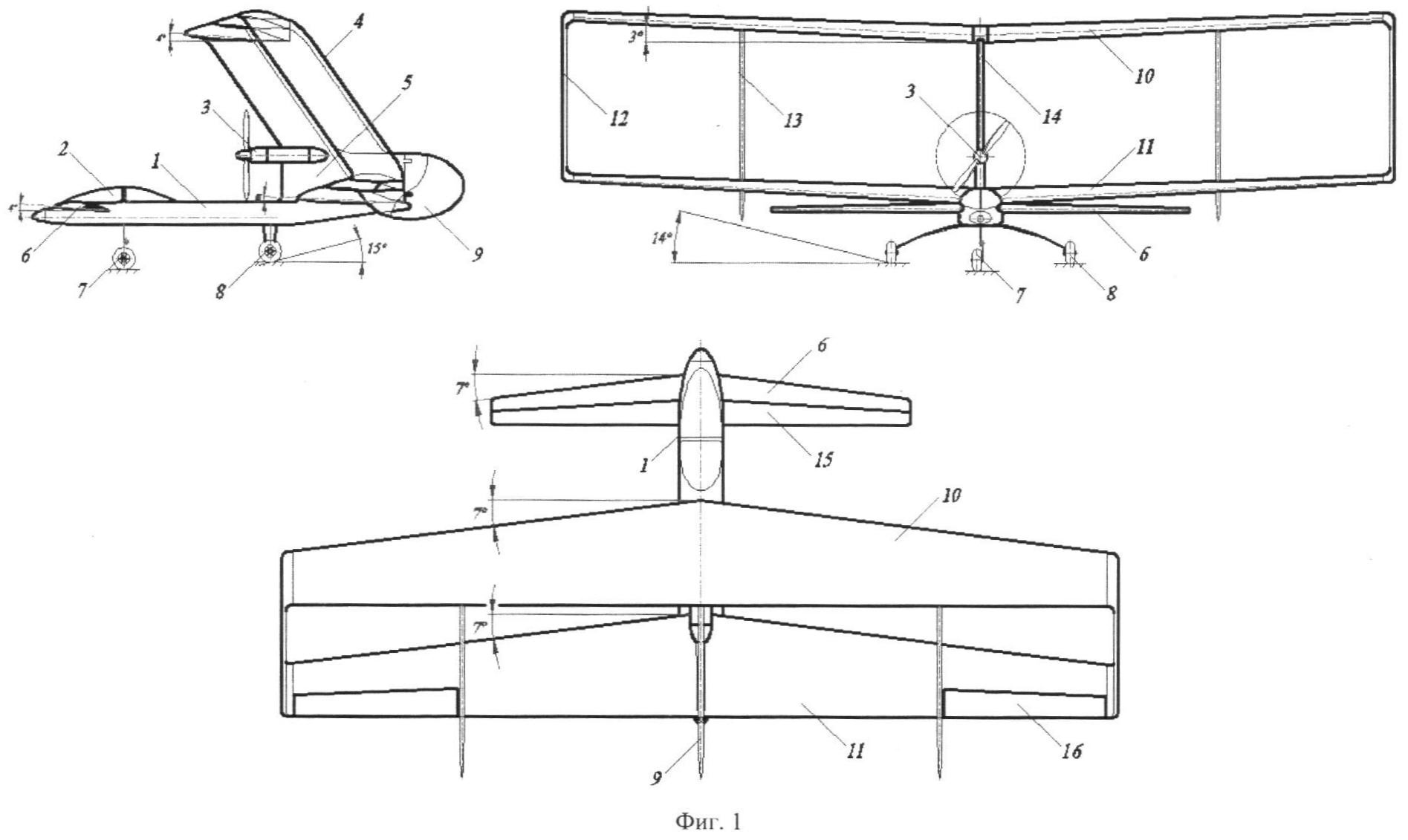
На фиг.1 представлена аэродинамическая схема несущего летательного аппарата.
На фиг.2 представлено распределение сезонных скоростей ветра в характерных регионах России в тропопаузной зоне атмосферы (по данным ЦАГИ).
На фиг.3 представлены поляры летательного аппарата при вариациях мощности ветроэлектрогенератора.
На фиг.4 представлен общий вид модели летательного аппарата в масштабе 1:10.
Несущий аэродинамический летательный аппарат (фиг.1) содержит фюзеляж 1, в носовой и центральной части которого имеются зоны полезной нагрузки 2 для размещения целевой и служебной аппаратуры, ветроэлектрогенератор 3, крыльевой модуль (биплан) 4, силовой пилон 5, переднее горизонтальное оперение 6, посадочное шасси – переднее 7 и заднее 8. Фюзеляж 1 и крыльевой модуль (биплан) 4 соединены с помощью силового пилона 5, к которому также крепится ветроэлектрогенератор 3. Крыльевой модуль (биплан) 4 выполнен в виде коробчатой конструкции, образованной верхним 10 и нижним 11 крыльями, боковыми вертикальными стабилизаторами – законцовками 12, среднеконсольными вертикальными стабилизаторами 13 и центральным вертикальным стабилизатором 14, основанием которого является силовой пилон 5. Переднее горизонтальное оперение 6 крепится в носовой части фюзеляжа 1. На летательном аппарате имеются рулевые аэродинамические поверхности – на переднем горизонтальном оперении 6 установлена аэродинамическая поверхность руля высоты 15, на нижнем крыле 11 биплана установлены элероны-элевоны 16, аэродинамическая поверхность руля направления 9 установлена на силовом пилоне 5 в основании центрального стабилизатора 14.
В зоне полезной нагрузки 2 размещен приборный отсек с целевой аппаратурой соответствующего назначения (радиолокатор кругового обзора, ретранслятор, оптико-электронная система наблюдения высокого разрешения в видимом, ближнем и дальнем инфракрасном диапазонах, навигационная система, линия связи и командного управления, электронный блок управления, метеорологическая станция и пр.).
Физической основой предлагаемого способа развертывания и высотной подвески аэродинамической информационной системы является наличие естественного природного феномена – постоянных ветров в среднеширотных областях Земли в тропопаузной зоне атмосферы на высоте 9-11 км.
Известная статистика по стабильным и однонаправленным ветрам в тропопаузе атмосферы на средних широтах северного и южного полушария Земли (скорость 15 25 м/с – на высоте ~10000 м) [3] предполагает возможность использования несущего аэродинамического ЛА, парящего на этих высотах, для функционирования высотной информационной системы.
Анализ ветров в атмосфере на высотах от 0 до 30 км проводится систематически в ЦАГИ и организациях NASA [3]. По результатам наблюдений для городов России представлены зависимости минимально-максимальной скорости ветра по сезонам (фиг.2), из которых следует, что ветровой поток стабилен в районе тропопаузы атмосферы указанных регионов и его скорость колеблется от 15 до 26 м/с в зависимости от месяца и широты.
Способ развертывания и высотной подвески информационной системы осуществляют следующим образом.
Несущий аэродинамический летательный аппарат с размещенной на нем аппаратурой приводят в движение при помощи буксирующей системы (вертолетным, наземным или водным транспортным средством) в диапазоне расчетных скоростей (V=15 25 м/с) в линейном или спиральном режиме подъема с соответствующим развертыванием троса при его регулируемом натяжении. Под действием набегающего воздушного потока за счет аэродинамических свойств возникает подъемная сила и аппарат вводится в режим подъема над поверхностью. Буксирование осуществляют до достижения аппаратом высоты тропопаузной зоны атмосферы и его введения в стабильный ветровой поток.
При выведении летательного аппарата на расчетный режим в ветровой тропопаузный поток используют его собственные аэродинамические свойства, автопилотное и ручное дистанционное управление рулевыми аэродинамическими поверхностями и управление натяжением троса при его развертывании с буксирующего транспортного средства. Управление скороподъемностью (Vверт=2,5 5 м/с) на этапе выведения осуществляют изменением углов атаки и крена летательного аппарата, соответствующим аэродинамическому качеству К=10 15 в диапазоне коэффициента подъемной силы Су=0,6 1,4. Натяжение троса при подъеме ограничивается расчетным для максимальной ветровой нагрузки стационарного равновесия в высотном режиме.
Время подъема до тропопаузной зоны атмосферы и перехода в режим стационарного равновесия составляет =2000 3000 с, после чего несущий аэродинамический летательный аппарат фиксируют относительно земной поверхности с помощью тросовой системы механической связи с базовым модулем. В ветровом потоке тропопаузы атмосферы при тросовой фиксации несущий летательный аппарат принимает положение стационарного равновесия по типу парения «воздушного змея» с гашением колебательных режимов аэродинамическими рулями.
Несущий аэродинамический ЛА (безрасходный, безмоторный, энергетически самообеспечиваемый, экологически чистый) для реализации предлагаемого способа развертывания и высотной подвески информационной системы выполнен в виде крылатого аппарата гибридной схемы «планер – воздушный змей», по аэродинамической схеме «утка», биплана с высоким аэродинамическим качеством и малой удельной нагрузкой на крыло.
Основные характеристики несущего аэродинамического летательного аппарата приведены в таблице.
Несущий аэродинамический летательный аппарат содержит фюзеляж 1, в носовой и центральной части которого имеются зоны полезной нагрузки 2 для размещения целевой и служебной аппаратуры, ветроэлектрогенератор 3, крыльевой модуль (биплан) 4, силовой пилон 5, переднее горизонтальное оперение 6, посадочное шасси – переднее 7 и заднее 8. Крыльевой модуль (биплан) 4 выполнен в виде коробчатой конструкции, образованной верхним 10 и нижним 11 крыльями, боковыми вертикальными стабилизаторами – законцовками 12, среднеконсольными вертикальными стабилизаторами 13 и центральным вертикальным стабилизатором 14, основанием которого является силовой пилон 5. Переднее горизонтальное оперение 6 крепится в носовой части фюзеляжа 1.
Верхнее крыло 10 биплана вынесено вперед и вверх по отношению к нижнему крылу 11 на расстояние 1 и 1,5 длины корневой хорды крыла соответственно для уменьшения их взаимного влияния, снижения интерференции и обеспечения устойчивости.
По форме консоли крыльев биплана 4 и переднего горизонтального оперения 6 подобны, с высоким удлинением и одинаковой стреловидностью =7°. Крепление консолей крыльев биплана и переднего горизонтального оперения к фюзеляжу 1 и центроплану вертикального стабилизатора 14 осуществлено с положительным заклинением, причем верхнее крыло 10 биплана имеет дополнительный угол заклинения по отношению к нижнему крылу 11.
На летательном аппарате размещены рулевые аэродинамические поверхности – на переднем горизонтальном оперении 6 установлена аэродинамическая поверхность руля высоты 15, на нижнем крыле 11 биплана установлены элероны-элевоны 16, аэродинамическая поверхность руля направления 9 установлена на силовом пилоне 5, в основании центрального стабилизатора 14. Аппарат снабжен посадочным шасси.
В зоне полезной нагрузки 2 размещен приборный отсек с целевой аппаратурой соответствующего назначения (радиолокатор кругового обзора, ретранслятор, оптико-электронная система наблюдения высокого разрешения в видимом, ближнем и дальнем инфракрасном диапазонах, навигационная система, линия связи и командного радиоуправления, электронный блок управления, метеорологическая станция и пр.).
Бортовая часть несущего летательного аппарата представлена интегральным модулем с командной радиолинией, автопилотом и телеметрической системой полетных параметров, включающей аналитическую, программную и исполнительную части с системами навигации, передачи информации о собственной ориентации в пространстве (по углам тангажа, крена и курса), скорости ветра, параметрах натяжения троса, информации об отклонении линии связи «летательный аппарат – базовый модуль» от вертикали, по которым реализуется алгоритм управления.
Имеется ветроэлектрогенератор для электропитания целевой и служебной аппаратуры.
Тросовая система, рассчитанная с коэффициентом безопасности kбез=~2, в зависимости от внешних условий фиксирует несущий летательный аппарат относительно земной поверхности с управлением аэродинамическим качеством при вариациях ветровой нагрузки. Тросовая система (на базе силового шнура из кевлара с погонной массой 12-18 кг/км) имеет антиобледенительное и молниезащитное покрытие и устройства.
Несущий аэродинамический летательный аппарат функционирует следующим образом.
После выведения аппарата в зону стационарного ветрового потока осуществляют удерживание его стабильного положения на заданной высоте в режиме парения путем регулирования угла атаки по отношению к ветровому потоку с помощью управления рулевыми аэродинамическими поверхностями аппарата и натяжением тросовой системы механической связи с базовым модулем. Стационарный режим рабочего функционирования при вариациях скорости ветрового потока в тропопаузе обеспечивают равновесием системы «летательный аппарат – трос – базовый модуль».
При повышении ветровой тропопаузной скорости по командам автопилота и/или по радиолинии несущий летательный аппарат с помощью рулевых аэродинамических поверхностей переводят на малые углы атаки, приближающиеся к углам максимального аэродинамического качества. Управление информационной системой на рабочей высоте осуществляют путем организации режимов «висения» несущего ЛА с полезной нагрузкой на тросовой связи в ветровом тропопаузном потоке при известном профиле ветров по высоте, весовых характеристиках троса и ограничении силы натяжения.
Аэродинамические характеристики несущего летательного аппарата представлены серией поляр (кривые зависимости коэффициента подъемной силы от коэффициента лобового сопротивления по углам атаки ЛА) (фиг.3). Располагаемый диапазон аэродинамического качества К=10 15 является функцией несущих свойств аппарата, выбираемых углов атаки и режима работы ветроэлектрогенератора (ВЭГ) в диапазоне мощности 2-6 кВт.
Параметрический анализ геометрии троса, линии связи «летательный аппарат – базовый модуль», функции натяжения троса определяет рабочий диапазон поляры, с учетом режима работы ветроэлектрогенератора, участвующего в создании силы лобового сопротивления подвесной системы.
Параметрами процесса управления являются отклонение линии визирования «летательный аппарат – базовый модуль» от вертикали, мощность ветроэлектрогенератора, длина, аэродинамическая нагрузка тросовой связи и усилие ее натяжения.
Управляющими параметрами являются угол атаки летательного аппарата, обеспечиваемый отклонением рулевых поверхностей, и аэродинамическое сопротивление ветроэлектрогенератора. Управляющие факторы ограничиваются режимом «висения» при минимальной ветровой нагрузке и предельным натяжением троса при максимальном тропосферном ветре.
При завершении программы полета или в случае отказов (ликвидации системы) управляемый спуск летательного аппарата после расцепки с тросом осуществляют в спиральном режиме планирования в обслуживаемой зоне в течение 1 1,5 ч с автоматическим спуском и посадкой на грунтовый аэродром или в районе базового модуля. Для управляемого спуска ЛА используют автопилот и/или командную радиолинию.
Базовый (наземный, воздушный, водный) модуль обслуживания включает транспортное средство, радиостанцию, систему навигации, приема и трансляции информации, рабочие места операторов, энергоблок и блок управляемой лебедки при развертывании и свертывании троса.
Высотная информационная система снабжена радиомаяком и располагается на удалении от авиационных трасс, которые по нормам ИКАО имеют ширину коридора от 5 до 40 км (диаметр зоны ретрансляционного обслуживания более 200 км, радиолокационного – более 500 км). Станция обслуживания контролирует воздушную обстановку.
Преимущества высотной (безрасходной, энергетически самообеспечиваемой, экологически чистой) подвески информационного назначения суммируются экономическими показателями.
Стоимость высотной аэродинамической информационной системы на порядок ниже аэростатных ретрансляционных систем с аналогичными функциональными возможностями.
Серийный аппарат с обслуживающей системой без переменной целевой нагрузки оценивается трудозатратами в 200 тысяч у.е. (2008 г.).
Для сравнительной технико-экономической оценки рассматривается условный регион средней насыщенности телекоммуникационной структуры связи с суммарным объемом дуплексного трафика ~18 Мбит/с (телевизионная, телефонная, мобильная связь) в версиях: кабельная сеть, волоконно-оптическая связь, спутниковая связь с арендой спутникового ресурса, радиорелейная связь, высотная аэродинамическая информационная система, высотный ретранслятор на базе самолета М-55 «Геофизика».
Представленная информационная система имеет экономические преимущества по сравнению с радиорелейной и кабельной системами в 2-3 раза. Еще более дороги – волоконно-оптическая и самолетная системы.
Учитывая цены информационных услуг, каждая региональная информационная система предлагаемого типа окупает годовые затраты в 5-кратном объеме. Имея высотность ~10 км, она обслуживает район диаметром 20 км в режимах визуального (телевизионного) наблюдения, 200 км – в качестве ретранслятора, до 500 км – при радиолокационном обзоре.
При себестоимости единичного серийного аппарата порядка 200 тысяч у.е. она заменяет до 40 наземных систем, 12 аэростатных (вертолетных), эквивалентна самолетной. 5-летний ресурс (с полугодовыми периодическими тестами и осмотрами) характерен минимальными трудозатратами, отсутствием энерго-материального снабжения, возможностями ремонта и оперативной замены.
Система рассчитана на безрасходный автономный ресурс 8000 10000 ч.
Информационная система образует новый класс среднеширотных высотных подъемных средств многоцелевого применения повышенной эффективности и отвечающих абсолютным требованиям экологической чистоты. Система безрасходная, самообеспечивающаяся энергией за счет бортового ветроэлектрогенератора, предназначена для перспективных научно-информационных структур, обобщающих свойства наземных, воздушных и космических низкоорбитальных средств, многократно превосходя их по эффективности и рентабельности. Обеспечивается высокая информативность и широкая зона обслуживания.
Универсальная полезная нагрузка представляется системами – информационной, ретрансляционной, радиолокационной, навигационной, видеосистемой или метеостанцией, автопилотом, системой энергообеспечения от ветроэлектрогенератора – и составляет не менее 20% веса аппарата.
Представленную информационную систему можно применять в радиолокационной разведке, обеспечении протяженных зон оптического и радиоконтроля пограничных областей, протяженных коммуникационных трасс (энергетических, трубопроводных, транспортных).
Рассматриваемая высотная информационная система способна кардинально изменить структуру современных средств связи, навигации и земного мониторинга. Тропосферный ветер – естественный и неисчерпаемый источник энергии – делает эффективность системы такого типа выше аэростатных и прочих средств.
Источники информации
1. Г.Верба. «Связь на привязи». Ежемесячный журнал о воздухоплавании «Воздух!». 8, 2000 г., стр.18-22.
2. Ежемесячный журнал о воздухоплавании «Воздух!». 8, 2000 г., стр.5.
3. Handbook of Geophysics and the Space Environment. Scintific Editor, Adolph S. Jursa. Air force Geophysics Laboratory, air force Systems command, United States air force. 1985.
Формула изобретения
1. Способ развертывания и высотной подвески информационной системы (наблюдения, ретрансляции, радиолокации, метеорологии), содержащей несущий аэродинамический летательный аппарат с целевой нагрузкой в комплексе с базовым (наземным, воздушным, водным) стационарным или подвижным управляющим модулем, связанными тросовой системой, отличающийся тем, что несущий аэродинамический летательный аппарат поднимают и размещают в стабильном ветровом потоке (при характерной скорости 15 25 м/с) тропопаузной зоны атмосферы (на высоте 9 11 км) средних широт Земли, поддерживают на рабочей высоте аэродинамическими средствами аппарата и тросовой фиксацией относительно земной поверхности, регулированием натяжения троса и угла атаки летательного аппарата.
2. Способ по п.1, отличающийся тем, что выведение несущего аэродинамического летательного аппарата на рабочую высоту осуществляют с помощью буксирования (вертолетным, наземным или водным транспортным средством) за счет собственных аэродинамических свойств ЛА в диапазоне скоростей относительного движения в воздушном потоке 15 25 м/с, поддержание аппарата на рабочей высоте осуществляют аэродинамическим управлением углов атаки с помощью автопилота и/или командной радиолинии, навигационной системы, а спуск и посадку по завершении программы полета или в случаях отказов осуществляют путем управляемого планирования после расцепки с тросом.
3. Несущий аэродинамический летательный аппарат для реализации способа по п.1 или 2, отличающийся тем, что он выполнен в виде крылатого аппарата гибридной схемы «планер-воздушный змей», по аэродинамической схеме «утка», биплана с аэродинамическим качеством (К=10 15) и малой удельной нагрузкой на крыло (Р=5 8 кг/м2).
4. Несущий аэродинамический летательный аппарат по п.3, отличающийся тем, что крыльевой модуль биплана выполнен в виде жесткой коробчатой конструкции, образованной двумя несущими поверхностями – верхним и нижним крыльями (с элеронами-элевонами на нижнем крыле), причем верхнее крыло вынесено вперед и вверх по отношению к нижнему крылу на расстояние 1 и 1,5 длины корневой хорды крыла соответственно для уменьшения их взаимного влияния, снижения интерференции и обеспечения устойчивости, и боковыми законцовками, выполняющими одновременно роль вертикальных стабилизаторов в дополнение к среднеконсольным и центральному стабилизатору, оборудованному аэродинамическим рулем направления, в носовой части фюзеляжа размещено переднее горизонтальное оперение с рулевыми аэродинамическими поверхностями, аппарат снабжен посадочным шасси.
5. Несущий аэродинамический летательный аппарат по п.3 или 4, отличающийся тем, что в области центра масс аппарата размещен ветроэлектрогенератор переменной мощности для электропитания целевой и служебной аппаратуры, при этом аэродинамическое сопротивление ветроэлектрогенератора учитывают в системе управления при вариациях ветровой нагрузки.
6. Тросовая система механической связи несущего аэродинамического летательного аппарата с базовым модулем для реализации способа по пп.1 и 2, отличающаяся тем, что трос крепится к летательному аппарату так, что сила его натяжения проходит через центр масс аппарата, он изготовлен из материала типа «кевлар», имеет диаметр и аэродинамическое сопротивление, соответствующее несущим свойствам ЛА, причем трос рассчитан на аэродинамические нагрузки с учетом собственного веса, вариаций скорости ветра и снабжен антиобледенительной и антимолниевой защитой.
РИСУНКИ
|