|
(21), (22) Заявка: 2009127943/11, 20.07.2009
(24) Дата начала отсчета срока действия патента:
20.07.2009
(46) Опубликовано: 20.06.2010
(56) Список документов, цитированных в отчете о поиске:
JP 2000326894 А, 28.11.2000. RU 27047 U1, 10.01.2003. SU 370110 А1, 01.01.1973. ЕР 0792234 А1, 03.09.1997. CN 101376431 А, 04.03.2009.
Адрес для переписки:
644020, г.Омск-20, Красный пер., 2, ОАО КБТМ, патентный отдел
|
(72) Автор(ы):
Бескупский Владимир Брониславович (RU), Днепровский Октябрь Афанасьевич (RU), Кошкин Виктор Владимирович (RU), Ляхова Елена Юрьевна (RU), Шумаков Игорь Константинович (RU), Щукина Альбина Октябревна (RU)
(73) Патентообладатель(и):
Открытое акционерное общество “Конструкторское бюро транспортного машиностроения” (ОАО КБТМ) (RU)
|
(54) СИЛОВОЙ БЛОК САМОХОДНОГО ПАРОМА И УСТРОЙСТВО ДЛЯ ЕГО КРЕПЛЕНИЯ
(57) Реферат:
Изобретение относится к области судовых силовых установок и трансмиссий. Силовой блок включает первый и второй ряды шестерен цилиндрической передачи, обеспечивающих соответственно эксплуатационный и реверсивный режимы, и коническую передачу. Шестерни первого ряда выполнены заодно с ведомыми барабанами фрикционных муфт включения рабочего хода водометных движителей. Ведомая шестерня второго ряда выполнена заодно с ведущим барабаном муфты реверса. Коническая передача состоит из ведущей и двух ведомых шестерен, связанных с карданными передачами привода водометных движителей. Ведущая шестерня конической передачи связана с ведомым барабаном муфты реверса с помощью торсионной рессоры. Устройство для крепления силового блока самоходного парома содержит переднюю и две задние опоры. В каждой задней опоре между кронштейном и виброизолирующими резинометаллическими амортизаторами установлен переходной несущий мостик. Повышается ресурс силового блока за счет снижения нагрузки на элементы его конструкции. 2 н. и 1 з.п. ф-лы, 6 ил.
Изобретение относится к самоходным паромам, предназначенным для переправы через водные преграды, а конкретно к их силовым установкам.
Известно немецкое моторное звено MB 3 для сборки понтонных мостов, информация о котором прилагается к материалам настоящей заявки.
Силовая установка включает два дизельных двигателя с муфтами и силовыми валами трансмиссии, связанными с водометными движителями, которые установлены поперечно оси на днище в кормовой части моторного звена.
Наличие двух двигателей, муфт и трансмиссий усложняют конструкцию и вдвое увеличивают номенклатуру узлов и деталей, что является существенным недостатком известного устройства.
Наибольшее распространение получила конструкция, в которой используется силовой блок, включающий двигатель и трансмиссию с системами, обеспечивающими их работу, выполненными в виде моноблока, а водометные движители с целью повышения подвижности парома, разнесены по длине понтона на максимально возможное расстояние.
Известен силовой блок, включающий двигатель и главную передачу, который по большинству существенных признаков принимается за прототип (см. «Звено моторное МЗ-330 понтонного парка. Руководство по эксплуатации 01401-01-00-023 РЭ», извлечение из которого и чертежи завода-изготовителя прилагаются к материалам настоящей заявки).
Двигатель силового блока и основные элементы систем, обслуживающих двигатель, непосредственно управляющие его работой, размещены в кормовом отсеке моторного понтона. Двигатель установлен перпендикулярно продольной оси понтона. Крутящий момент от двигателя через муфту сцепления с главной передачей, закрепленные на фланце двигателя, передается на привод водометных движителей. Тип муфты – зубчатая, с коническим зацеплением, двухступенчатая, механическая с гидравлическим включением.
Главная передача закреплена консольно на фланце по оси двигателя и состоит из цилиндрического редуктора и конической передачи с управляемыми фрикционными муфтами. Цилиндрический редуктор включает связанный с коленчатым валом двигателя ведущий вал с закрепленной на нем ведущей шестерней. Противоположный двигателю конец ведущего вала с помощью шлицевой муфты соединен с откачивающим насосом системы смазки. Ведомая шестерня цилиндрического редуктора установлена через шлицевое соединение на ведущем валу конической передачи. На этом же валу на подшипниках установлены две ведущие конические шестерни, цилиндрические хвостовики которых являются внутренним барабаном управляемых фрикционных муфт, а наружные барабаны с бустерами связаны с ведущим валом. При этом у одной муфты наружный барабан выполнен заодно с валом, а у другой – установлен на шлицах. Ведущие конические шестерни находятся в зацеплении с ведомыми шестернями, на цилиндрических хвостовиках которых закреплены фланцы для соединения с карданными передачами, связывающими силовой блок с водометными движителями, которые для повышения эффективности управления моторным звеном разнесены на значительное расстояние.
Однако наличие протяженных по длине карданных передач при значительном моменте сопротивления во время работы водометных движителей приводит к возникновению крутильных колебаний, при этом элементы конструкции испытывают повышенные динамические нагрузки.
Известный силовой блок имеет следующие недостатки:
– наличие двух ведущих конических шестерен, разнесенных между собой по оси на ширину, равную диаметру ведомых конических шестерен, наличие двух управляемых фрикционных муфт, расположенных последовательно с ведущими коническими шестернями, потребовало существенного увеличения габаритов и массы конической передачи;
– возникновение крутильных колебаний в элементах конструкции отрицательно сказывается на долговечность работы двигателя и главной передачи;
– наличие двух ведущих конических шестерен с управляемыми фрикционными муфтами определило наличие двух ведомых шестерен, что существенно усложнило конструкцию, особенно в части регулировки зацеплений.
Кроме того, в современных паромах, таких например, как десантный танковый паром по патенту РФ 2296080, используется значительное число гидроприводов и элементов гидроуправления, что требует организации отбора мощности для привода необходимого количества насосов, чтобы обеспечить работоспособность и смазку систем и агрегатов парома.
Известно, что в судостроении для виброизоляции, гашения крутильных колебаний и защиты от ударных воздействий оборудования на судах используются амортизаторы различных конструкций (С.А.Иконников, Ф.Д.Урганг «Силовые установки речных судов». М., Транспорт, 1971 г.). Например, резинометаллические корабельные сварные со страховкой маслостойкие амортизаторы АКСС-М-300М по ГОСТ 17053.1-80.
Указанные амортизаторы предназначены для работы в воздушной среде в присутствии паров масла и дизельного топлива, а также при возможном попадании масла, дизельного топлива, пресной и морской воды.
Схему размещения амортизаторов в амортизирующем креплении выбирают по числу крепежных отверстий амортизируемого объекта. Если масса амортизируемого объекта не позволяет подобрать количество амортизаторов по числу крепежных отверстий, применяются переходные конструкции.
Известно устройство крепления вышеупомянутого силового блока звена моторного МЗ-330 понтонного парка, принимаемое за прототип. Силовой блок установлен на трех опорах на подмоторном фундаменте. Одна опора выполнена в виде цапфы, закрепленной на картере двигателя соосно коленчатому валу. Две другие опоры выполнены заодно с картером главной передачи в виде выступающих лап, каждая из которых опирается непосредственно на два виброизолирующих резинометаллических амортизатора. Лапы опор разнесены относительно продольной оси двигателя и воспринимают не только часть массы двигателя и главной передачи, но и реактивный момент. Кроме того, указанные опоры гасят знакопеременные нагрузки от крутильных колебаний.
Известное устройство крепления имеет следующие недостатки:
– значительные линейные размеры лап опор главной передачи привели к увеличению изгибающих моментов в каждой лапе, что вызвало необходимость для обеспечения необходимой прочности повысить массу опор и картера главной передачи;
– наличие двух крепежных отверстий в каждой опоре снижает прочностные характеристики.
Настоящим изобретением решается задача создания для самоходного парома силового блока с повышенными эксплуатационными характеристиками.
Технический результат, достигаемый изобретением, заключается в повышении ресурса силового блока за счет снижения уровня крутильных колебаний и нагруженности элементов его конструкции и устройства крепления.
Задача решается тем, что цилиндрическая передача включает два ряда шестерен, один из которых выполнен с обеспечением эксплуатационного режима, его шестерни выполнены заодно с ведомыми барабанами фрикционных муфт включения водометных движителей, а другой ряд выполнен с обеспечением режима реверса для заполнения шахт водой и очистки входных решеток, причем ведомая шестерня этого ряда выполнена заодно с ведущим барабаном муфты реверса, при этом конический редуктор состоит из ведущей и двух ведомых конических шестерен, связанных с карданными передачами привода водометных движителей, причем ведущая шестерня связана с ведомым барабаном муфты реверса с помощью торсионной рессоры, состоящей из стержневого торсиона, размещенного внутри трубчатого торсиона, для обеспечения демпфирования крутильных колебаний.
На выходном валу главной передачи, расположенном соосно коленчатому валу двигателя, установлена карданная передача привода насосного агрегата гидропривода и смазки узлов и агрегатов парома.
Для решения поставленной задачи при реализации устройства для крепления силового блока, в каждой задней опоре между кронштейном и виброизолирующими резинометаллическими амортизаторами установлен переходной несущий мостик, закрепленный на кронштейне с возможностью равномерного распределения нагрузки на амортизаторы.
Анализ отличительных признаков показал, что:
– включение в цилиндрическую передачу двух рядов шестерен, один из которых выполнен с обеспечением эксплуатационного режима, выполнение его шестерен заодно с ведомыми барабанами фрикционных муфт включения водометных движителей, выполнение ведомой шестерни другого ряда заодно с ведущим барабаном муфты реверса, обеспечило компактность цилиндрической передачи;
– наличие муфт управления в цилиндрической передаче, выполнение конического редуктора, состоящим из одной ведущей и двух ведомых конических шестерен, позволило существенно упростить конструкцию, регулировку зацепления и габариты конической передачи;
– выполнение вышеперечисленных мероприятий позволило создать конструкцию главной передачи с минимальными габаритно-массовыми показателями, а в тех же габаритах, что у прототипа, дополнительно разместить насосный агрегат, обеспечивающий гидропривод и смазку узлов и агрегатов парома;
– выполнение главной передачи с обеспечением режима реверса, позволило заполнять шахты водометных движителей водой и производить очистку внутренних полостей и входных решеток противотоком;
– выполнение связи ведущей шестерни с ведомым барабаном муфты реверса с помощью торсионной рессоры, состоящей из стержневого торсиона. размещенного внутри трубчатого торсиона, обеспечило снижение уровня крутильных колебаний, что позволило снизить динамические нагрузки на элементы конструкции, и за счет этого повысить ресурс силового блока;
– установка в каждой задней опоре между кронштейном и виброизолирующими резинометаллическими амортизаторами переходного несущего мостика, закрепленного на кронштейне с возможностью равномерного распределения нагрузки на амортизаторы, позволило уменьшить размер кронштейнов опор, перераспределить и снизить изгибающую нагрузку, за счет этого уменьшить поперечное сечение и массу опор.
Изобретение поясняется чертежами, на которых изображено:
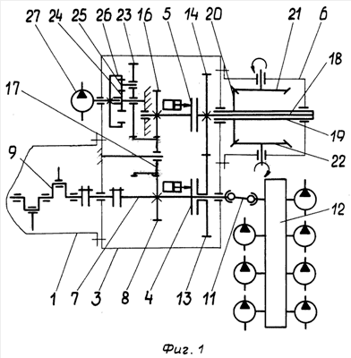
– на фиг.1 – кинематическая схема силового блока самоходного парома;
– на фиг.2 – общий вид на силовой блок;
– на фиг.3 – вид А на фиг.2;
– на фиг.4 – вид Б на фиг.2;
– на фиг.5 – вид на главную передачу с разрезом по ведомым коническим шестерням (насосный агрегат условно не показан);
– на фиг.6 – продольный разрез главной передачи, разрез В-В на фиг.5.
Силовой блок самоходного парома (см. фиг.1, 2) содержит двигатель 1 и главную передачу 2 привода водометных движителей (на фиг. не показаны), состоящую из двухрядной цилиндрической передачи 3 с фрикционными муфтами управления эксплуатационного режима 4 и режима реверса 5, а также из конической передачи 6. Ведущий вал 7 главной передачи 2 с ведущей шестерней 8 реверса и ведущим барабаном фрикционной муфты 4 эксплуатационного режима жестко связан с коленчатым валом 9 двигателя 1. На противоположном конце ведущего вала 7 установлен фланец 10 для крепления карданной передачи 11 привода насосного агрегата 12, обеспечивающего гидропривод и смазку узлов и агрегатов парома (на фиг. не показаны). Ведомый барабан муфты 4 выполнен заодно с ведущей шестерней 13 эксплуатационного режима, находящейся в зацеплении с ведомой шестерней 14, выполненной заодно с ведомым барабаном муфты 5 реверса. Ведущий барабан этой муфты выполнен заодно с ведомой шестерней 16 реверса, которая через промежуточную шестерню 17 связана с ведущей шестерней 8 реверса.
С помощью упругой системы в виде торсионной рессоры, состоящей из стержневого торсионного вала 18, размещенного внутри трубчатого торсионного вала 19, ведомая шестерня 14 связана с ведущей конической шестерней 20 конической передачи 6, находящейся в постоянном зацеплении с ведомыми шестернями 21, 22, на цилиндрических хвостовиках которых выполнены шлицевые отверстия для установки вилок карданных передач привода водометных движителей (не показаны). Промежуточная шестерня 17 находится в постоянном зацеплении с шестерней 23, являющейся водилом планетарного ряда, у которого солнечная шестерня 24 неподвижна, а сателлиты 25 передают вращение эпициклу 26, установленному на валу привода откачивающего насоса 27.
Силовой блок снабжен устройством для крепления в самоходном пароме в виде трех опор (см. фиг.3, 4, 5). Передняя опора 28 выполнена в виде цапфы, закрепленной на цилиндрическом выступе картера двигателя 1 соосно его коленчатому валу, и через виброизолирующие резинометаллические амортизаторы 29 закреплена болтами на подмоторном фундаменте 30 на днище самоходного парома. Опора 28 воспринимает только часть массы двигателя 1 и главной передачи 2, но не удерживает его реактивный момент.
Две задние опоры включают кронштейны 31, выполненные заодно с картером главной передачи 2 и разнесены одна относительно другой для восприятия не только части массы двигателя 1 и главной передачи 2, но и реактивного момента. Между кронштейном 31 каждой задней опоры и виброизолирующими резинометаллическими амортизаторами 29 установлен переходной несущий мостик 32, закрепленный на кронштейне 31 с возможностью равномерного распределения нагрузки на амортизаторы 29.
Работает силовой блок следующим образом.
Вращение от коленчатого вала двигателя 1 передается на ведущий вал 7 главной передачи 2, на ведущую шестерню реверса 8, ведущий барабан фрикционной муфты 4 и через фланец 10, на карданную передачу 11 привода насосного агрегата 12, обеспечивающего гидропривод и смазку узлов и агрегатов парома. На эксплуатационном режиме муфта 8 включена, ведущий и ведомый барабаны вращаются как одно целое, приводят во вращение шестерню 13, находящуюся в зацеплении с ведомой шестерней 14. Через упругую систему 18, 19 приводится во вращение ведущая коническая шестерня 20 и связанные с ней ведомые конические шестерни 21, 22. При этом стержневой торсионный вал 18 и трубчаный торсионный вал 19 за счет их угловой податливости демпфируют крутильные колебания и снижают динамические нагрузки на элементы конструкции.
При эксплуатации самоходного парома на водоемах во внутренние полости и на входные решетки водометных движителей попадают водоросли, тина, песок и различный мусор, забивая решетки, что снижает производительность. Для их очистки используется режим реверса. При работе в режиме реверса муфта 4 выключена, а муфта 5 включена. Вращение передается от ведущей шестерни 8 через промежуточную шестерню 17 на ведомую шестерню 16 в обратном направлении и ведущий барабан муфты реверса 5. Далее вращение передается также как на эксплуатационном режиме, только при вращении в обратном направлении. При этом вода заполняет шахты водометных движителей и противотоком выбрасывается, очищая внутренние полости и входные решетки.
Вращение от промежуточной шестерни 17 передается также на водило 23 планетарного ряда привода откачивающего насоса 27, обеспечивая повышенную частоту вращения валу привода.
При работе силового блока, опоры 28, 31 обеспечивают его надежное крепление на подмоторном фундаменте 30, а резинометаллические амортизаторы 29 обеспечивают виброизоляцию двигателя от днища самоходного парома. Снижение уровня крутильных колебаний и нагруженности элементов конструкции и устройства крепления, повышают ресурс силового блока.
Таким образом, настоящим изобретением решена поставленная задача создания для самоходного парома силового блока с повышенными эксплуатационными характеристиками.
Формула изобретения
1. Силовой блок самоходного парома, содержащий двигатель и его системы, главную передачу привода водометных движителей, состоящую из цилиндрической и конической передач и фрикционных муфт управления, отличающийся тем, что цилиндрическая передача включает два ряда шестерен, один из которых выполнен с обеспечением эксплуатационного режима, его шестерни выполнены заодно с ведомыми барабанами фрикционных муфт включения водометных движителей, а другой ряд выполнен с обеспечением режима реверса для заполнения шахт водой и очистки входных решеток, причем ведомая шестерня этого ряда выполнена заодно с ведущим барабаном фрикционной муфты реверса, при этом коническая передача состоит из ведущей и двух ведомых конических шестерен, связанных с карданными передачами привода водометных движителей, причем ведущая шестерня связана с ведомым барабаном фрикционной муфты реверса с помощью торсионной рессоры, состоящей из стержневого торсиона, размещенного внутри трубчатого торсиона, для обеспечения демпфирования крутильных колебаний.
2. Силовой блок самоходного парома по п.1, отличающийся тем, что на выходном валу главной передачи, расположенном соосно с коленчатым валом двигателя, установлена карданная передача привода насосного агрегата гидропривода и смазки узлов и агрегатов парома.
3. Устройство для крепления силового блока самоходного парома, содержащее переднюю центральную и две задние разнесенные опоры, включающие кронштейны, выполненные заодно с картером главной передачи, установленные через виброизолирующие резинометаллические амортизаторы, закрепленные болтами на подмоторном фундаменте на днище моторного понтона, отличающееся тем, что в каждой задней опоре между кронштейном и упомянутыми амортизаторами установлен переходной несущий мостик, закрепленный на кронштейне с возможностью равномерного распределения нагрузки на амортизаторы.
РИСУНКИ
|