|
(21), (22) Заявка: 2009110082/11, 19.03.2009
(24) Дата начала отсчета срока действия патента:
19.03.2009
(43) Дата публикации заявки: 10.08.2009
(46) Опубликовано: 20.06.2010
(56) Список документов, цитированных в отчете о поиске:
СА 2536566 А1, 25.07.2007. WO 2009008689 A1, 15.01.2009. RU 2141430 С1, 20.11.1999. RU 46989 U1, 10.08.2005. SU 352 A1, 30.06.1925.
Адрес для переписки:
603003, г.Нижний Новгород, а/я 72, А.Н. Петровскому
|
(72) Автор(ы):
Низов Сергей Александрович (RU)
(73) Патентообладатель(и):
Низов Сергей Александрович (RU)
|
(54) ТРАНСПОРТНОЕ СРЕДСТВО ДЛЯ ПЕРЕДВИЖЕНИЯ ПО ВОДЕ (ВАРИАНТЫ)
(57) Реферат:
Изобретение относится к плавающим транспортным средствам с движителями гусеничного типа. Транспортное средство оснащено движителями в виде бесконечных пневматических камер. Каждая камера размещена в наружной раме вдоль корпуса. Бесконечные пневматические камеры закреплены на наружных поверхностях бесконечных тяговых лент, выполненных из армированной ткани или многослойного ремня. На внутренней поверхности бесконечных тяговых лент установлены с постоянным шагом опорные ролики, закрепленные на жестких пластинах. В наружной раме установлены ведущие шкивы, натяжные шкивы и направляющие под опорные ролики. Направляющие наружной рамы опираются на опорные ролики, прилегающие к погруженной ветви бесконечной пневматической камеры. Бесконечные пневматические камеры могут быть заполнены поплавками из вспененного материала. Достигается увеличение грузоподъемности, скорости, технологичности и эксплуатационной безопасности транспортного средства. 8 з.п. ф-лы, 7 ил.
Изобретение относится к водному транспорту, а именно к плавучим транспортным средствам, которые поддерживаются и передвигаются по воде за счет водоизмещения движителей, выполненных в виде гибких бесконечных звеньев – гусениц.
Известно плавучее транспортное средство, см. патент РФ 352 (третий пункт формулы), которое содержит корпус, установленные в корпусе двигатель, трансмиссию и наружную раму, установленные в раме ведущие, натяжные и опорные шкивы, натянутые на шкивах вдоль корпуса бесконечные тяговые металлические ленты и закрепленные на лентах бесконечные плавучие цепи. Нижние ветви цепей погружены в воду так, что их водоизмещение достаточно для поддержания и перемещения корпуса над водой. Цепь составлена из наполненных сжатым воздухом резиновых поплавков, заключенных в бесконечный рукав из брезента. Рукав простеган в поперечном направлении и прикреплен к тяговым металлическим лентам деревянными брусками. Наружная рама опирается на нижние ветви цепей опорными шкивами.
Известное транспортное средство характеризуется низкой грузоподъемностью, так как значительная часть водоизмещения бесконечной плавучей цепи приходится на поддержание рамы, шкивов, рукавов и тяговых металлических лент. Рама и цепи содержат множество деталей и характеризуются низкой технологичностью.
Известное транспортное средство характеризуется низкой скоростью, так как значительная часть тяговой силы направлена на преодоление волнового сопротивления плавучих цепей, изгибаемых опорными шкивами.
Наиболее близким к предлагаемому изобретению является плавучее транспортное средство по патенту СА 2536566, 25.01.2006, В63Н 1/34, KIRCHMANN, CHRISTOPHER J., СА, «METHOD AND APPARATUS FOR FLOATATION AND PROPULSION OF WATERCRAFT UTILIZING A BUOYANT ENDLESS TRACK SYSTEM» (см. фиг.5 и стр.5, 19, 20).
Транспортное средство содержит корпус, установленные в корпусе двигатель, трансмиссию и наружную раму, установленные в раме ведущие, натяжные и опорные шкивы, натянутые на шкивах вдоль корпуса бесконечные пневматической камеры. Нижние ветви бесконечных пневматических камер погружены в воду так, что их водоизмещение достаточно для поддержания и перемещения корпуса над водой. Бесконечная пневматическая камера выполнена из упругого полимера и подкреплена внутренними вкладышами из металла, проволоки или жесткого полимера. Внутренняя сторона бесконечной пневматической камеры оснащена продольными тяговыми зубчатыми гребнями и продольными направляющими гребнями. Наружная рама опирается на нижнюю ветвь камеры опорными шкивами. На внешней стороне бесконечной пневматической камеры перпендикулярно продольной оси транспортного средства закреплены гребные лопатки.
Транспортное средство характеризуется большей по отношению к аналогу грузоподъемностью, так как бесконечная пневматическая камера выполнена из легких материалов. Но, как и в аналоге, значительная часть водоизмещения бесконечной пневматической камеры приходится на поддержание рамы, шкивов и внутренних вкладышей.
Транспортное средство характеризуется низкой скоростью ввиду того, что значительная часть тяговой силы направлена на преодоление волнового сопротивления в эластичном контакте пар качения «бесконечная пневматическая камера – опорные шкивы». Волны образуются за счет прогиба бесконечной пневматической камеры под опорными шкивами. Лопатки, закрепленные перпендикулярно направлению движения, входят в воду с ударом, что создает дополнительное сопротивление движению.
Рама и бесконечная пневматическая камера транспортного средства характеризуются низкими технологическими свойствами. Рама содержит множество опорных шкивов и узлов их крепления, что определяет значительную материалоемкость и стоимость изготовления. Бесконечная пневматическая камера содержит множество внутренних подкрепляющих вкладышей, что усложняет конструкцию и технологию производства с соответствующим ростом затрат.
Транспортное средство отличается низкой надежностью и низкой эксплуатационной безопасностью, так как нарушение герметичности бесконечной пневматической камеры приводит к потере устойчивости транспортного средства и требует неотложной замены бесконечной пневматической камеры.
Задачи, решаемые изобретением, – увеличение полезной поддерживающей силы, снижение сопротивления движению, снижение собственной массы, снижение стоимости строительства и повышение надежности транспортного средства.
Технический результат от использования изобретения заключается в увеличении грузоподъемности, скорости, технологичности и эксплуатационной безопасности транспортного средства.
Предлагаемое транспортное средство содержит корпус, установленные в корпусе двигатель, трансмиссию и наружную раму, установленные в раме ведущие и натяжные шкивы. На шкивах вдоль корпуса натянуты бесконечные тяговые ленты и закрепленные на лентах бесконечные пневматические камеры. Нижние ветви бесконечных пневматических камер погружены в воду так, что их водоизмещение достаточно для поддержания и перемещения корпуса над водой. Рама опирается на нижние ветви камер. На внешней стороне бесконечной пневматической камеры закреплены гребные лопатки.
Для достижения указанного технического результата тяговые ленты выполнены из армированной ткани или многослойного ремня, на внутренней стороне тяговых лент с постоянным шагом закреплены опорные ролики, рама оснащена направляющими, которыми опирается на опорные ролики, прилегающие к погруженным ветвям бесконечных пневматических камер.
Предлагаемое транспортное средство характеризуется большей по отношению к прототипу грузоподъемностью, так как в нем нет опорных шкивов и узлов их крепления, упрощена конструкция и снижена материалоемкость рамы.
Предлагаемое транспортное средство характеризуется большей по отношению к прототипу скоростью, так как транспортное средство перемещается за счет качения в жестких парах «направляющая рама – ролики», что исключает волновое сопротивление бесконечной пневматической камеры качению.
Предлагаемое транспортное средство характеризуется лучшей по отношению к прототипу технологичностью рамы, так как она не содержит опорных шкивов и узлов их крепления.
Возможны следующие варианты исполнения транспортного средства.
Второй вариант. Транспортное средство по первому варианту, отличающееся тем, что ведущие и ведомые шкивы выполнены в виде многогранных барабанов, а бесконечные тяговые ленты оснащены жесткими поперечными пластинами с возможностью последовательного сопряжения каждой пластины со всеми гранями барабанов.
Многогранные барабаны и жесткие поперечные пластины позволяют повысить усилие на тяговых лентах и улучшить устойчивость роликов в парах качения. Достигается увеличение скорости транспортного средства.
Третий вариант. Транспортное средство по первому варианту, отличающееся тем, что на каждой паре ведущих и натяжных шкивов установлено параллельно несколько бесконечных пневматических камер.
Нарушение герметичности части бесконечных пневматических камер в такой конструкции не приводит к потере устойчивости и не требует неотложной замены бесконечных пневматических камер.
Четвертый вариант. Транспортное средство по первому варианту, отличающееся тем, что бесконечная пневматическая камера собрана из нескольких конечных звеньев, соединенных последовательно.
Конечные звенья камеры отличаются хорошей технологичностью и удобны для набора бесконечных пневматических камер разной длины.
Пятый вариант. Транспортное средство по первому варианту или четвертому варианту, отличающееся тем, что бесконечная пневматическая камера или ее конечные звенья выполнены полыми.
Отсутствие внутренних подкрепляющих вкладышей позволяет улучшить плавучесть. Бесконечная пневматическая камера отличается простой конструкцией при хорошей технологичности и умеренных затратах на изготовление.
Шестой вариант. Транспортное средство по первому варианту, отличающееся тем, что бесконечные пневматические камеры заполнены поплавками из вспененного материала.
Применение поплавков обеспечивает устойчивое движение транспортного средства в случае нарушения герметичности всех бесконечных пневматических камер. Повышается эксплуатационная безопасность транспортного средства.
Седьмой вариант. Транспортное средство по первому варианту, отличающееся тем, что ведущие шкивы оснащены звездочками, а бесконечные тяговые ленты с роликами охватывают их с возможностью последовательного сопряжения каждого ролика с впадинами между зубьями звездочек.
Применение звездочек позволяет повысить усилие на тяговых лентах и увеличить скорость транспортного средства.
Восьмой вариант. Транспортное средство по первому варианту, отличающееся тем, что ведущие шкивы установлены в кормовой части рамы, а натяжные шкивы установлены в носовой части рамы со смещением в сторону верхней ветви бесконечной пневматической камеры.
Такая установка шкивов позволяет обеспечить натяг нижней опорной ветви и снизить сопротивление воды при входе бесконечной пневматической камеры в воду, что способствует увеличению скорости транспортного средства.
Девятый вариант. Транспортное средство по первому варианту, отличающееся тем, что лопатки на внешней стороне пневматических камер образуют с продольной осью транспортного средства острый угол.
Наклонное положение лопатки снижает силу удара при ее входе в воду, что снижает сопротивление воды движению транспортного средства.
На фиг.1 представлен общий вид предпочтительного исполнения транспортного средства, который включает 1, 2, 3, 5 и 9 варианты технического решения.
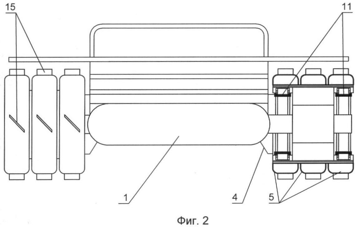
На фиг.2 представлен вид слева на фиг.1. Здесь полые бесконечные пневматические камеры на правом натяжном шкиве показаны в разрезе по оси шкива.
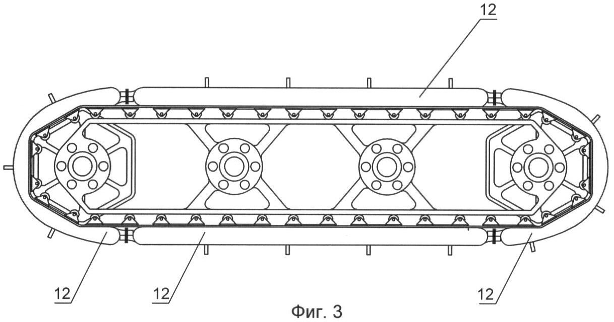
На фиг.3 показан движитель транспортного средства для варианта 4.
На фиг.4 показан движитель транспортного средства для 6 и 7 вариантов изобретения.
На фиг.5 показана установка натяжного шкива для 8 варианта.
На фиг.6 показаны жесткие пары качения «направляющая рамы – ролики» и видно, что деформация бесконечной пневматической камеры не препятствует качению.
На фиг.7 показаны эластичные пары качения «бесконечная пневматическая камера – опорные шкивы» и образование волны сопротивления качению в прототипе.
В корпусе 1 установлены двигатель 2, трансмиссия 3, наружная рама 4 и движители в виде бесконечных пневматических камер 5. Каждая бесконечная пневматическая камера размещена в наружной раме 4 вдоль корпуса 1 с погружением нижней ветви в воду так, что водоизмещение погруженных ветвей достаточно для поддержания и перемещения корпуса над водой.
Бесконечные пневматические камеры 5 закреплены на наружных поверхностях бесконечных тяговых лент 6, выполненных из армированной ткани или многослойного ремня.
На внутренней поверхности бесконечных тяговых лент 6 установлены с постоянным шагом опорные ролики 7 и жесткие пластины 8. Опорные ролики 7 закреплены на жестких пластинах 8. В наружной раме 4 установлены многогранные ведущие барабаны 9, многогранные натяжные барабаны 10 и направляющие 11 под опорные ролики 7. Каждая бесконечная тяговая лента 6 охватывает барабаны 9, 10 с возможностью последовательного сопряжения каждой пластины со всеми гранями барабанов при движении ленты. Направляющие 11 наружной рамы 4 опираются на опорные ролики 7, прилегающие к погруженной ветви бесконечной пневматической камеры 5. Бесконечные пневматические камеры 5 могут быть собраны из нескольких пневматических конечных звеньев 12, соединенных последовательно, фиг.3.
Бесконечные пневматические камеры и их звенья могут быть заполнены поплавками 13 из вспененного материала, а ведущие шкивы могут быть оснащены тяговыми звездочками 14, фиг.4.
Ведущие шкивы или барабаны установлены в кормовой части рамы, а ведомые установлены в носовой части рамы. Для уменьшения сопротивления воды шкивы или барабаны могут быть установлены со смещением в сторону верхней ветви бесконечной пневматической камеры, фиг.5, а лопатки 15 образуют с продольной осью транспортного средства острый угол, фиг.1, 2.
Транспортное средство перемещается следующим образом.
Двигатель 1 посредством трансмиссии 2 вращает ведущие шкивы или барабаны 9, которые приводят в движение бесконечные тяговые ленты 6, закрепленные на них бесконечные пневматические камеры 5 и ролики 7. Внешняя рама 4 своими направляющими 11 опирается на ролики 8, прилегающие к нижней ветви бесконечной пневматической камеры, и перекатывается по роликам с перемещением корпуса над водой.
Промышленная применимость предлагаемого изобретения подтверждена модельными испытаниями. Опытный образец строится в условиях судостроительного предприятия.
Формула изобретения
1. Плавучее транспортное средство, содержащее корпус, установленные в корпусе двигатель, трансмиссию и наружную раму, установленные в раме ведущие и натяжные шкивы, натянутые на шкивах вдоль корпуса бесконечные тяговые ленты и закрепленные на лентах бесконечные пневматические камеры, нижние ветви которых погружены в воду так, что их водоизмещение достаточно для поддержания и перемещения корпуса над водой, на внешней стороне бесконечных пневматических камер закреплены лопатки, отличающееся тем, что тяговые ленты выполнены из армированной ткани или многослойного ремня, на внутренней стороне бесконечных тяговых лент с постоянным шагом закреплены опорные ролики, рама оснащена направляющими, которыми опирается на опорные ролики, прилегающие к погруженным ветвям бесконечных пневматических камер.
2. Плавучее транспортное средство по п.1, отличающееся тем, что ведущие и ведомые шкивы выполнены в виде многогранных барабанов, а бесконечные тяговые ленты оснащены жесткими поперечными пластинами с возможностью последовательного сопряжения каждой пластины со всеми гранями барабанов.
3. Плавучее транспортное средство по п.1, отличающееся тем, что на каждой паре ведущих и натяжных шкивов установлено параллельно несколько бесконечных пневматических камер.
4. Плавучее транспортное средство по п.1, отличающееся тем, что каждая бесконечная камера собрана из нескольких конечных звеньев, соединенных последовательно.
5. Плавучее транспортное средство по п.1 или 4, отличающееся тем, что бесконечная пневматическая камера или ее конечные звенья выполнены полыми.
6. Плавучее транспортное средство по п.1, отличающееся тем, что бесконечные пневматические камеры заполнены поплавками из вспененного материала.
7. Плавучее транспортное средство по п.1, отличающееся тем, что ведущие шкивы оснащены звездочками, а бесконечные тяговые ленты с роликами охватывают их с возможностью последовательного сопряжения каждого ролика с впадинами между зубьями звездочек.
8. Плавучее транспортное средство по п.1, отличающееся тем, что ведущие шкивы установлены в кормовой части рамы, а натяжные шкивы установлены в носовой части рамы со смещением в сторону верхней ветви бесконечной пневматической камеры.
9. Плавучее транспортное средство по п.1, отличающееся тем, что лопатки на внешней стороне пневматических камер образуют с продольной осью транспортного средства острый угол.
РИСУНКИ
|