|
| На основании пункта 1 статьи 1366 части четвертой Гражданского кодекса Российской Федерации патентообладатель обязуется заключить договор об отчуждении патента на условиях, соответствующих установившейся практике, с любым гражданином Российской Федерации или российским юридическим лицом, кто первым изъявил такое желание и уведомил об этом патентообладателя и федеральный орган исполнительной власти по интеллектуальной собственности. |
|
(21), (22) Заявка: 2008145239/11, 18.11.2008
(24) Дата начала отсчета срока действия патента:
18.11.2008
(46) Опубликовано: 20.06.2010
(56) Список документов, цитированных в отчете о поиске:
US 6692389 B2, 17.02.2004. WO 9619376 A1, 27.06.1996. WO 9920519 A1, 29.04.1999. RU 2328402 C1, 10.07.2008. RU 2327593 C1, 27.06.2008. RU 2329912 C2, 27.06.2008. SU 1590751 A1, 07.09.1990.
Адрес для переписки:
115304, Москва, ул. Каспийская, 28, корп.3 , кв.33, Е.А. Алёшиной
|
(72) Автор(ы):
Алёшина Елизавета Алексеевна (RU)
(73) Патентообладатель(и):
Алёшина Елизавета Алексеевна (RU)
|
(54) ВЕЛОСИПЕД С АВТОМАТИЧЕСКИМ ПЕРЕКЛЮЧЕНИЕМ ПЕРЕДАЧ
(57) Реферат:
Изобретение относится к средствам управления автоматическим переключением передач велосипеда, срабатывающим при изменении угловой скорости с последующим подключением вспомогательного усилия от втулки вращающегося колеса для срабатывания заднего переключателя передач. На раме (1) установлен задний переключатель (2) гидравлического действия и неподвижная ось (3) крепления втулки (4) заднего колеса с кассетой (5) из комплекта разных звездочек. Внутри втулки (4) вмонтировано подпружиненное управляющее звено (6), которое имеет возможность вращения от втулки (4) и имеет возможность взаимодействия со средствами (7, 8) смещения управляющего звена (6) в зависимости от изменения скорости велосипеда. Управляющее звено (6) взаимодействует с гидравлическим средством управления задним переключателем (2). Гидравлическое средство управления содержит поршень (9) со штоком и трубопроводом (10), которыми снабжена неподвижная ось (3), выполненная в виде гидроцилиндра. Средства смещения (7, 8) управляющего звена (6) обеспечивают передачу осевого движения поршню (9), обеспечивающему нагнетание или падение давления в трубопроводе (10), который выходит из торца неподвижной оси (3) и соединен непосредственно с задним переключателем (2) гидравлического типа. Техническое решение направлено на повышение надежности. 2 ил.
Предлагаемое изобретение относится к транспорту, а именно к велосипедам с автоматическим переключением передач.
Однако «Велосипед «АННУШКА» обладает недостатками, ограничивающими применение. Например, узок диапазон передаточных отношений. Гибкая связь снижает надежность механизма, а центробежный груз увеличивает вес велосипеда, что является неприемлемым для БОЛЬШОГО спорта.
Также известен «ВЕЛОСИПЕД С АВТОМАТИЧЕСКИМ ПЕРЕКЛЮЧЕНИЕМ ПЕРЕДАЧ», который содержит раму с вилкой переднего колеса. В оси переднего колеса установлен трос управления задним переключателем. Трос управляется посредством центробежной силы вращающихся грузов. Грузы взаимодействуют с подпружиненным кольцом через гибкую связь (см. патент России RU 2327593 C1 от 05 сентября 2006 г.) – аналог.
Однако конфигурация каждого из грузов оригинальна и сложна в изготовлении. Ход центробежных грузов должен соответствовать ходу троса, следовательно, возрастают габаритные размеры грузов. Грузы должны содержать защитный кожух, что усложняет конструкцию и увеличивает вес велосипеда. Гибкая связь снижает надежность автоматики. Перечисленные выше факты отрицательно характеризуют техническое решение.
Наиболее близок к предложенному техническому решению «ВЕЛОСИПЕД – АВТОМАТ» (см. патент России RU 2328402 C1 от 07 февраля 2007 г.) – прототип. Велосипед – автомат содержит раму с вилкой переднего колеса, а также задний переключатель скоростей, ось крепления втулки заднего колеса с кассетой из звездочек и ось крепления втулки переднего колеса, смонтированную в вилке переднего колеса, трос управления задним переключателем скоростей. Автоматическое переключение скоростей обеспечивается посредством центробежных грузов, которые имеют гибкую связь с подпружиненным управляющим звеном, которое связано со втулкой колеса и расположено внутри втулки колеса между полумуфтой реверсивной и полумуфтой резьбовой с возможностью взаимодействия с этими полумуфтами при увеличении или уменьшении центробежной силы грузов. Полумуфта резьбовая подвижна на резьбовом участке оси с возможностью перемещения вдоль оси на величину, равную перемещению троса управления задним переключателем скоростей. Полумуфта резьбовая взаимодействует с тросом через сухарик, который исключает скручивание троса.
ВЕЛОСИПЕД – АВТОМАТ реализовал идею автоматического управления стандартным задним переключателем посредством троса, который управляется центробежными грузами. Однако трос – это вынужденный элемент управления задним переключателем. Поясним. Задний переключатель расположен в зоне заднего колеса, а привод управления переключателем размещен в зоне переднего колеса. Для соединения заднего переключателя с приводом управления необходимо протянуть трос вдоль всей рамы велосипеда. Трос содержит рубашку. Трос выходит из оси втулки в перпендикулярном ходу движения велосипеда направлении, при этом образуется как минимум одна петля. Чем больше петля, тем выше вероятность зацепа при движении. Чем меньше и круче петля, тем больше трение между тросом и рубашкой. В образовавшейся петле между рубашкой и тросом возникает достаточно большое трение. Трос имеет тенденцию к истиранию. В рубашку троса постоянно попадает грязь и т.д. Если трос ходит туго, то хорошее переключение невозможно.
Цель предложенного технического решения: повышение надежности автоматического переключения скоростей велосипеда методом классического перевода цепи с одной звездочки на другую.
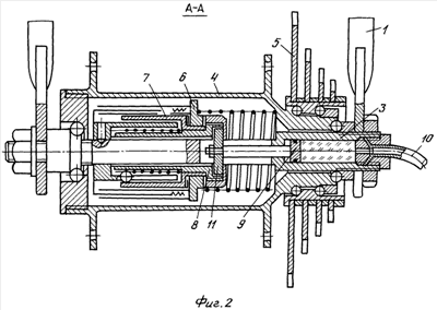
Техническое решение поясняется графическим материалом, где на фиг.1 представлен общий вид ВЕЛОСИПЕДА – АВТОМАТА. На фиг.2 представлено сечение по оси заднего колеса ВЕЛОСИПЕДА – АВТОМАТА в исходном положении элементов автоматики, когда скорость велосипеда равна нулю.
Поставленная цель достигается ВЕЛОСИПЕДОМ – АВТОМАТОМ, который содержит раму 1. На раме установлен задний переключатель 2 гидравлического действия (см. www.birota.ru/texts/2008/ianuary/5rot.php) и неподвижная ось 3 крепления втулки 4 заднего колеса. На втулке 4 через обгонную муфту установлена кассета 5 с комплектом разных звездочек. Внутри втулки 4 вмонтировано подпружиненное управляющее звено 6. Управляющее звено 6 выполнено в виде кольца, торцы которого содержат по зубу. Управляющее звено 6 расположено между полумуфтой реверсивной 7 и полумуфтой резьбовой 8. Каждая из полумуфт 7 и 8 выполнена с возможностью периодического взаимодействия имеющимся зубом на своем торце с ответным зубом управляющего звена 6. Полумуфта резьбовая 8 подвижна на резьбовом участке оси 3 с возможностью перемещения вдоль оси. Отличается предложенное решение от известного решения тем, что ось 3 выполнена в виде гидроцилиндра и снабжена поршнем 9, штоком и трубопроводом 10. Поршень 9 взаимодействует с полумуфтой резьбовой 8 через сухарик 11, а трубопровод 10 выходит из торца оси 3 и соединен непосредственно с задним переключателем 2 гидравлического типа. Управляющее звено 6 ограничено от вращения относительно втулки 4 известным способом, например шпонкой. Сухарик 11 исключает скручивание штока поршня 9 при передаче осевого движения от полумуфты резьбовой 8. Полумуфта реверсивная 7 взаимодействует с полумуфтой резьбовой 8 через шарики. Шарики обкатываются по внутреннему цилиндру полумуфты реверсивной 7 и по дорожке на полумуфте резьбовой 8, которая выполнена составной. Полумуфта резьбовая 8 состоит из цилиндрического корпуса с внутренней резьбой, запорного кольца и подпружиненного кольца. В цилиндрическом зазоре между полумуфтой резьбовой 8 и полумуфтой реверсивной 7 смонтирована вилка. Вилка выполнена в виде цилиндра с пазами и зафиксирована на оси 3. Пазы имеют ширину шариков и выполняют функцию сепаратора. Управляющее звено 6 содержит кольцевой канал, который заполнен веществом высокой вязкости, например глицерином. В кольцевом канале с зазором размещен кольцевой шнек и омывается веществом высокой вязкости, то есть Ньютоновской жидкостью. Кольцевой шнек закреплен на неподвижной вилке.
ВЕЛОСИПЕД – АВТОМАТ работает следующим образом. В начальный момент все элементы велосипеда находятся в исходном положении, как представлено графическим материалом. Велосипедная цепь занимает самую большую звездочку на кассете 5 (см. фиг.1). Неподвижная ось 3 жестко закреплена в раме 1. С началом движения втулка заднего колеса 4 через шпонку постоянно вращает подпружиненное управляющее звено 6. Однако управляющее звено 6 вращается совершенно свободно на цилиндрической шейке полумуфты реверсивной 7, так как находится с постоянным зазором между торцами полумуфт 7 и 8 (см. фиг.2). Равновесное состояние звена 6 между торцами полумуфт 7 и 8 обеспечивается пружиной и давлением вещества высокой вязкости, которое нагнетается кольцевым шнеком. Высокая вязкость вещества исключает утечку последнего из кольцевого канала, однако зазор между кольцевым шнеком и кольцевым каналом позволяет веществу циркулировать. С увеличением скорости движения велосипеда нарушается равновесное состояние управляющего звена 6, так как последнее совместно с кольцевым каналом вращается быстрее относительно неподвижного кольцевого шнека. Более высокое давление вещества смещает управляющее звено 6 в направлении полумуфты резьбовой 8. Зубья торца полумуфты резьбовой 8 и управляющего звена 6 смыкаются. С этого момента вращение втулки заднего колеса 4 через шпонку и управляющее звено 6 передается полумуфте резьбовой 8, которая по резьбовому участку неподвижной оси 3 смещается и через сухарик 11 действует на поршень 9. Поршень 9 нагнетает давление в трубопроводе 10, при этом задний переключатель 2 гидравлического действия переводит цепь на кассете 5 с большой звездочки на меньшую звездочку. Частота вращения педалей не увеличивается, однако велосипедист едет быстрее. При дальнейшем увеличении скорости велосипеда процесс повторяется аналогичным образом, однако частота вращения педалей остается прежней в предварительно заданном пределе. Скорость движения велосипеда уменьшается, например, в случае подъема трассы или изменения грунтов. С уменьшением скорости движения велосипеда также нарушается равновесное состояние управляющего звена 6, так как последнее совместно с кольцевым каналом вращается медленнее относительно неподвижного кольцевого шнека. Более низкое давление вещества не может противостоять усилию пружины и управляющее звено 6 смещается и выбирает зазор между полумуфтой реверсивной 7. Зубья торца полумуфты реверсивной 7 и управляющего звена 6 смыкаются. Полумуфта реверсивная 7 взаимодействует с полумуфтой резьбовой 8 через шарики, которые катятся без скольжения по дорожке, образуемой запорным кольцом. Вилка исключает круговое качение шариков. Шарики вращаются без скольжения и могут смещаться только вдоль пазов относительно неподвижной вилки. Шарики передают вращение полумуфте резьбовой 8 в противоположном направлении относительно полумуфты реверсивной 7. Полумуфта резьбовая 8 смещается по резьбе и действует на поршень 9 в противоположном направлении. Падает давление в трубопроводе 10 и задний переключатель 2 гидравлического действия переводит цепь на кассете 5 с меньшей звездочки на большую звездочку. К заднему колесу подводится больший момент силы, и велосипедист, не меняя частоты педалирования и усилия приложения на педали, преодолевает трудный участок трассы. При установившемся режиме зазор между управляющим звеном 6 и торцами полумуфт 7 и 8 сохраняется. При дальнейшем уменьшении скорости велосипеда процесс повторяется аналогичным образом, однако частота вращения педалей остается в комфортном для велосипедиста пределе. Любое изменение скорости сопровождается соответствующим переключением, которое поддерживает заранее установленную частоту педалирования. Предложенный велосипед идеально распределит мышечную энергию на трассе любой сложности, и при минимально необходимых физических нагрузках велосипедист добьется лучшего результата, так как автоматика не подвержена эмоциям и момент переключения выберет исключительно точно. При этом гарантируется защита автоматики от попадания грязи, засора, а также обеспечивается долговечность.
Формула изобретения
Велосипед с автоматическим переключением передач, содержащий раму (1), на которой установлены задний переключатель (2) гидравлического действия и неподвижная ось (3) крепления втулки (4) заднего колеса с кассетой (5) из комплекта разных звездочек, внутри втулки (4) вмонтировано подпружиненное управляющее звено (6), которое имеет возможность вращения от втулки (4) и имеет возможность взаимодействия со средствами смещения управляющего звена (6) в зависимости от изменения скорости велосипеда, управляющее звено (6) расположено между полумуфтой резьбовой (8) и полумуфтой реверсивной (7), при изменении скорости велосипеда управляющее звено (6) имеет возможность смещения в направлении полумуфты резьбовой (8) с обеспечением смыкания зубьев торцов полумуфты резьбовой (8) и управляющего звена (6), при этом подвижная на резьбовом участке неподвижной оси (3) полумуфта резьбовая (8) имеет возможность взаимодействия со средствами управления задним переключателем (2) для перевода цепи или в направлении полумуфты реверсивной (7) с обеспечением смыкания зубьев торцов полумуфты реверсивной (7) и управляющего звена (6), при этом полумуфта реверсивная (7) имеет возможность взаимодействия с полумуфтой резьбовой (8) для передачи вращения полумуфте резьбовой (8) в противоположном направлении относительно вращения полумуфты реверсивной (7), при этом полумуфта резьбовая (11) имеет возможность взаимодействия в противоположном направлении со средством управления задним переключателем (2) для перевода цепи, отличающийся тем, что средства управления задним переключателем (2) для перевода цепи содержат поршень (9) со штоком и трубопроводом (10), которыми снабжена неподвижная ось (3), выполненная в виде гидроцилиндра, полумуфта резьбовая (8) обеспечивает передачу осевого движения поршню (9), обеспечивающему нагнетание или падение давления в трубопроводе (10), который выходит из торца неподвижной оси (3) и соединен непосредственно с задним переключателем (2) гидравлического типа.
РИСУНКИ
|
|