|
|
(21), (22) Заявка: 2008102081/11, 25.04.2006
(24) Дата начала отсчета срока действия патента:
25.04.2006
(30) Конвенционный приоритет:
20.06.2005 US 11/156,377
(43) Дата публикации заявки: 27.07.2009
(46) Опубликовано: 20.06.2010
(56) Список документов, цитированных в отчете о поиске:
US 6382742 B1, 07.05.2002. SU 1123926 A1, 15.11.1984. JP 2001199373 A, 24.07.2001. SU 1782846 A1, 23.12.1992.
(85) Дата перевода заявки PCT на национальную фазу:
21.01.2008
(86) Заявка PCT:
US 2006/015995 20060425
(87) Публикация PCT:
WO 2007/001616 20070104
Адрес для переписки:
103735, Москва, ул. Ильинка, 5/2, ООО “Союзпатент”, пат.пов. Ю.В.Пинчуку, рег. 656
|
(72) Автор(ы):
ХЭССЕЛБУШ Майкл Д. (US), ЙОХАННСЕН Эрик Дж. (US), ДИКЕВЕРС Марк С. (US)
(73) Патентообладатель(и):
КЕЙТЕРПИЛЛАР ИНК. (US)
|
(54) УЗЕЛ КАРТРИДЖА ДЛЯ ГУСЕНИЧНОЙ ЦЕПИ РАБОЧЕГО УСТРОЙСТВА ГУСЕНИЧНОГО ТИПА И РАБОЧЕЕ УСТРОЙСТВО, В КОТОРОМ ОН ИСПОЛЬЗУЕТСЯ
(57) Реферат:
Изобретения относятся к области транспортного машиностроения. Узел картриджа содержит палец, образующий ось, вращающуюся втулку, расположенную вокруг пальца, и элементы вкладышей, которые расположены с противоположных сторон вращающейся втулки. Элементы вкладышей содержат несущую радиальную нагрузку поверхность и кольцевую петлю, расположенную вокруг пальца с несущей осевую нагрузку поверхностью, и имеют осевые отверстия. Узел содержит подшипники скольжения, расположенные рядом с кольцевой петлей одного из элементов вкладышей. Подшипники скольжения расположены частично внутри осевого отверстия элементов вкладыша. Рабочее устройство гусеничного типа содержит внутреннее звено гусеницы, внешнее звено гусеницы и узел картриджа, подвижно соединяющий звенья гусеницы. Узел подшипника скольжения содержит палец, вращающуюся втулку, элементы вкладышей, соединенные с внутренним звеном гусеницы. Подшипники скольжения расположены частично между пальцем и одним из элементов вкладышей. Кольцевая петля расположена в непосредственной близости к соответствующему подшипнику скольжения и ориентирована ортогонально к внешней поверхности упомянутого пальца. Способ работы рабочего устройства гусеничного типа заключается в том, что между внутренними и внешними звеньями гусеницы вставляют узел подшипника скольжения в виде вращающейся втулки. Собирают узел картриджа, используя скользящую подгонку элементов вкладышей, вращающейся втулки, первого и второго подшипников скольжения, вокруг пальца. Выполняют прессовую подгонку муфт на противоположных концах пальца для захвата элементов вкладышей, вращающейся втулки, первого и второго подшипников скольжения между ними. Достигается уменьшение износа звеньев гусеничной цепи за счет использования подшипников скольжения в соединениях между звеньями гусеничной цепи. 3 н. и 5 з.п. ф-лы, 5 ил.
Область техники, к которой относится изобретение
Настоящее описание, в общем, относится к рабочим устройствам гусеничного типа и, более конкретно, относится к узлу картриджа вращающейся втулки для гусеничной цепи рабочего устройства гусеничного типа, имеющему первый и второй элементы вкладышей с передающими нагрузку кольцевыми петлями, расположенными вокруг пальца картриджа.
Уровень техники
Рабочее устройство гусеничного типа обычно используется на строительстве, в горнодобывающей промышленности, при добыче нефти и газа, в лесной промышленности и в других отраслях с суровыми рабочими условиями. Вместо колес в таких рабочих устройствах используются гусеницы, расположенные по одной с каждой стороны корпуса рабочего устройства и составляющие цепь из соединенных вместе звеньев, которые обычно продолжаются вокруг ведущей звездочки и одного или больше промежуточного зубчатого колеса. Гусеницы или “гусеничные цепи” зацепляются за грунт и обеспечивают возможность передвижения рабочего устройства по относительно неровной поверхности земли.
Сами гусеничные цепи обычно включают в себя подвижные металлические звенья, соединенные вместе. В течение многих часов работы постоянный контакт металла с металлом движущихся компонентов гусеничной цепи может привести к значительному износу даже в случаях, когда используют подшипники и смазочные масла для уменьшения трения компонентов. Коррозионное истирание и другие проблемы, связанные с износом, особенно распространены в рабочих устройствах с относительно большими гусеницами, в которых компоненты гусеничной цепи подвергаются значительным нагрузкам. В некоторых случаях большие нагрузки могут фактически привести к изгибу шпилек, на которых установлены подшипники звеньев гусеницы, что усугубляет проблемы износа из-за того, что непропорциональная нагрузка прикладывается к изолированным областям узла подшипника, в результате чего происходит очень сильный износ. Нагрузки, которые выталкивают палец узла подшипника или участки гусениц в стороны относительно направления движения рабочего устройства, известны в данной области техники как боковые нагрузки, и до настоящего времени связанные с ними проблемы было особенно трудно разрешить. Боковые нагрузки фактически могут привести к тому, что соседние участки звеньев гусеницы будут истирать друг друга.
Одна из конструкций соединения, направленная на ограничение определенного типа износа гусеничной цепи, известна из патента Соединенных Штатов Америки 6485116 автора Oertley. В публикации Oertley используются подшипники скольжения, расположенные вокруг пальца и взаимодействующие с центральной втулкой. Подшипники скольжения выполнены с венцами, что способствует направлению определенных нагрузок к центру и уменьшает непропорциональную загрузку. Хотя в публикации Oertley представлен один успешный подход для, по меньшей мере, определенных типов нагрузки, всегда остается пространство для улучшений.
Настоящее описание направлено на решение одной или больше проблем или недостатков, указанных выше.
Раскрытие изобретения
В одном аспекте настоящего описания предусматривается узел подшипника скольжения для гусеничной цепи рабочего устройства гусеничного типа. Этот узел содержит палец, образующий ось, и вращающуюся втулку, расположенную вокруг пальца. Также предусмотрены первый и второй элементы вкладышей, и каждый из них расположен с противоположных сторон вращающейся втулки. Каждый из элементов вкладышей включает в себя несущую радиальную нагрузку поверхность и кольцевую петлю, продолжающуюся вокруг пальца и имеющую несущую осевую нагрузку поверхность, расположенную на ней.
В другом аспекте настоящее описание направлено на рабочее устройство гусеничного типа. Такое рабочее устройство включает в себя внутреннее звено гусеницы и внешнее звено гусеницы. Узел подшипника скольжения предусмотрен и подвижно соединяет внутренние и внешние звенья гусеницы. Подшипник скольжения включает в себя палец, образующий ось, и вращающуюся втулку, расположенную вокруг пальца. Первый и второй элементы вкладышей, передающие осевую/радиальную нагрузку, соединены с внутренним звеном гусеницы, и каждый из них включает в себя кольцевую петлю, продолжающуюся вокруг пальца.
В еще одном аспекте предусмотрен способ работы рабочего устройства гусеничного типа. Этот способ включает в себя этап вставки вращающегося подшипника скольжения, на котором установлен узел картриджа между внутренним звеном гусеницы и внешним звеном гусеницы. Способ дополнительно включает в себя этап уменьшения износа между внутренним звеном гусеницы и внешним звеном гусеницы благодаря реакции на осевые нагрузки, приложенные к нему, через продолжающуюся внутрь кольцевую петлю каждого из двух элементов вкладышей вращающегося подшипника скольжения, на котором установлен узел картриджа.
Краткое описание чертежей
На фиг.1 показан вид сбоку рабочего устройства гусеничного типа в соответствии с настоящим раскрытием;
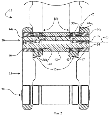
на фиг.2 показан вид в изометрической проекции участка гусеничной цепи в соответствии с одним вариантом выполнения настоящего раскрытия;
на фиг.3 показан вид сбоку в разрезе вращающегося подшипника скольжения, на котором расположен узел картриджа в соответствии с одним вариантом выполнения настоящего раскрытия;
на фиг.4 показан вид сбоку в разрезе вращающегося подшипника скольжения, на котором установлен узел картриджа в соответствии с другим вариантом выполнения настоящего раскрытия;
на фиг.5 показан вид сбоку в разрезе вращающегося подшипника скольжения, на котором установлен узел картриджа в соответствии с еще одним дополнительным вариантом выполнения настоящего раскрытия.
Осуществление изобретения
На фиг.1 показано рабочее устройство 10 гусеничного типа в соответствии с одним вариантом выполнения настоящего изобретения. Рабочее устройство 10 включает в себя корпус 12 рабочего устройства, имеющий ведущую звездочку 20, установленную сбоку от него. Гусеничная цепь 14 продолжается вокруг ведущей звездочки 20, а также вокруг заднего промежуточного зубчатого колеса 18 и переднего промежуточного зубчатого колеса 19. Гусеничная цепь 14 включает в себя множество звеньев 15, подвижно соединенных с двумя другими звеньями через узел 30 картриджа подшипника скольжения. Множество роликов 17 гусеницы могут быть соединены с корпусом 12 рабочего устройства и катятся по гусеничной цепи 14 обычным образом. Рабочее устройство 10 может включать в себя идентичные гусеничные цепи, ведущие звездочки и промежуточные зубчатые колеса на противоположных сторонах устройства, как в обычной конструкции. Рабочее устройство 10 представлено как относительно большой трактор с “высокорасположенным приводом”, однако следует понимать, что настоящее раскрытие не ограничивается такой компоновкой и что любые из большого разнообразия рабочих устройств гусеничного типа могут быть сконструированы в соответствии с настоящим раскрытием.
На фиг.2 показан участок гусеничной цепи 14, который представляет участки соседних и соединенных в месте звеньев 15 гусеницы. Звенья 15 гусеницы могут быть идентичными, при этом “внутренние” и “внешние” звенья, описанные здесь, представляют собой звенья, установленные в противоположной ориентации, как показано на фиг.2. Узел 30 картриджа подшипника скольжения, который ниже называется “узлом 30 картриджа”, подвижно соединяет каждое звено 15 гусеницы с соседними гусеничными звеньями. В одном рассматриваемом варианте выполнения каждый узел 30 картриджа содержит заранее собранный необслуживаемый модуль, который может быть установлен с прессовой посадкой на соседние звенья гусеницы, как описано здесь. После установки с прессовой посадкой некоторые компоненты могут быть сварены вместе, если это требуется. Различные компоненты узла 30 картриджа не обязательно должны быть собраны заранее, однако вместо этого могут быть соединены вместе и со звеньями 15 гусеницы после сборки всей гусеничной цепи 14, без выхода за пределы объема настоящего раскрытия. Кроме того, каждый узел картриджа 30 не обязательно должен быть установлен с прессовой посадкой на звенья гусеницы, но вместо этого может быть соединен с ними с использованием некоторого другого средства.
Как, в частности, показано на виде в разрезе узла 30 картриджа, приблизительно в центре фиг.2, узел 30 картриджа может включать в себя палец 34, образующий ось “L”. Первая и вторая кольцевые муфты, 44а и 44b соответственно, расположены на одном или обоих концах пальца 34 и могут быть установлены на нем с прессовой посадкой, как описано здесь. В пальце 34 может быть сформировано отверстие 35, которое обеспечивает возможность подачи смазочного масла к компонентам узла 30 картриджа. Уплотнитель 31 обычно располагается на одном или обоих концах отверстия 35. Первый и второй кольцевые элементы 36а и 36b вкладышей соответственно расположены рядом и внутрь (в направлении центра узла 30 картриджа, вдоль оси L) от муфт 44а и 44b соответственно. Вращающаяся втулка 42 расположена между элементами 36а и 36b вкладышей. В одном рассматриваемом варианте выполнения муфты 44а и 44b захватывают вращающуюся втулку 42, элементы 36а и 36b вкладышей и другие компоненты узла 30 картриджа между собой, когда они соединены с пальцем 34. Элементы 36а, 36b вкладышей, вращающаяся втулка 42 и упорные кольца (описанные ниже) могут быть установлены со скользящей посадкой вокруг пальца 34. Вращающаяся втулка 42 типично может вращаться при движении вокруг ведущей звездочки 20, показанной на фиг.1, когда гусеница 14 движется вдоль своего пути во время работы рабочего устройства, и также может вращаться при движении вокруг промежуточных зубчатых колес 18 и 19.
Узел 30 картриджа по фиг.2 представлен в соответствии с одним из нескольких возможных вариантов выполнения настоящего раскрытия. Каждое звено 15 гусеницы обычно выполнено идентично и может включать в себя наборы из внутренних звеньев 15b и внешних звеньев 15а. Каждый набор из внутренних и внешних звеньев может быть соединен вместе с внешним или внутренним звеньями соседних звеньев гусеницы через узел 30 картриджа. В частности, внутренние звенья 15b могут быть соединены с элементами 36а и 36b вкладышей, например, путем установки на них с прессовой посадкой, и внешние звенья 15а могут быть соединены с муфтами 44а и 44b также, например, с использованием прессовой посадки. Элементы 36а и 36b вкладышей могут иметь несколько больший внешний диаметр, чем муфты 44а и 44b. Внешние звенья 15а обычно отделены от внутренних звеньев 15b относительно малым зазором “Z” так, что звенья 15а и 15b могут вращаться относительно друг друга во время работы, по существу, без контакта между ними, как описано ниже.
В варианте выполнения, показанном на фиг.2, вращающаяся втулка 42 может быть расположена на двух подшипниках 40 скольжения. Элементы 36а и 36b вкладышей также могут быть расположены на двух отдельных подшипниках 40 скольжения. Предусматривается, что каждый из подшипников 40 скольжения может быть сформирован из относительно твердого металлического материала, такого как азотированная сталь, и может включать в себя криволинейный, расположенный вдоль окружности венец 41 вокруг средней точки его внешнего диаметра. Однако предусматриваются варианты выполнения, в которых муфты 40 включают в себя чередующиеся структуры венцов или выполнены без венцов. Множество уплотнителей 43 могут быть также предусмотрены и расположены между каждой из муфт 44а и 44b и элементами 36а и 36b вкладышей, а также между элементами 36а и 36b вкладышей и втулкой 42. Уплотнители 43 могут представлять собой кольцевые эластомерные уплотнители, аналогичные уплотнителям такого типа, как, например, описано в патенте Соединенных Штатов 6382742 автора Hasselbusch и др.
Каждый из элементов 36а и 36b вкладышей может включать в себя осевое отверстие 47, при этом соответствующие элементы 40 муфты расположены, по меньшей мере, частично внутри соответствующего отверстия 47. В варианте выполнения, показанном на фиг.2, внешние подшипники 40 скольжения, удерживающие элементы 36а и 36b вкладышей, каждый, продолжаются наружу от соответствующих отверстий 47 и примыкают или почти примыкают к муфте на соответствующем конце узла 30 картриджа. Внутренние подшипники 40 скольжения, удерживающие втулку 42, могут продолжаться наружу от своих соответствующих положений между втулкой 42 и могут примыкать или практически примыкать к элементам 36а и 36b вкладышей. Взаимодействие между элементами 36а и 36b вкладышей и их соответствующими подшипниками 40 скольжения обеспечивает возможность передавать радиальные нагрузки от внутренних пластин 15b к элементам 36а, 36b вкладышей, на подшипники 40 скольжения, через внутренний диаметр каждого элемента 36а, 36b вкладышей и далее на палец 34 от подшипников 40 скольжения.
Каждый из венцов 41 обеспечивает возможность передачи нагрузок, поперечных оси L, относительно равномерно через границу перехода между каждым подшипником 40 скольжения и пальцем 34. Другими словами, каждый относительно малый венец 41 обеспечивает то, что, даже в случае когда “радиальные” нагрузки включают в себя компонент нерадиального вектора, каждый элемент 36а, 36b вкладышей будет передавать нагрузку, в основном, на каждый венец 41, а не на участок кромки каждого подшипника 40 скольжения. Нагрузки, которые в свою очередь передаются на палец 34 через каждый из подшипников 40 скольжения, обычно распределяются более равномерно по границе перехода между ними, что исключает непропорциональный износ любых расположенных рядом с ним компонентов. Передача радиальных нагрузок между втулкой 42 и пальцем 34 через подшипники 40 скольжения происходит аналогично тому, как описано в отношении передачи радиальной нагрузки между элементами 36а, 36b вкладышей и пальцем 34.
Каждый из элементов 36а и 36b вкладышей дополнительно включает в себя кольцевую петлю 38, расположенную в непосредственной близости к внутреннему концу отверстия 47, которая продолжается внутрь от соответствующего элемента вкладышей в направлении пальца 34. Каждая кольцевая петля 38 может быть дополнительно выполнена таким образом, что она будет реагировать на осевые нагрузки, воздействующие на соответствующий элемент 36а, 36b вкладышей, как в направлении внутрь, так и в направлении наружу на соседний подшипник 40 скольжения. Каждая кольцевая петля 38 может включать в себя поверхность 39 передачи осевой нагрузки, противоположную ее сторонам. Можно понимать, что осевые нагрузки включают в себя такие нагрузки, приложенные к узлу 30 картриджа, которые, в общем, располагаются вдоль оси L. Для специалистов в данной области техники, однако, будет понятно, что практически все нагрузки, которые, вероятно, могут возникать в узле 30 картриджа во время работы рабочего устройства, будут включать как компонент осевого вектора, так и компонент радиального вектора.
Таким образом, соответствующие элементы, позволяющие узлу 30 картриджа нести радиальные и осевые нагрузки, обычно работают совместно. Например, каждая кольцевая петля 38 может передавать осевую часть нагрузки на соседний подшипник 40 скольжения, и каждый элемент 36а, 36b вкладышей может передавать радиальную часть нагрузки на подшипник 40 скольжения, расположенный в его соответствующем отверстии 47. Кроме того, в зависимости от направления нагрузки как радиальный компонент, так и осевой компонент могут быть переданы первоначально на один и тот же подшипник 40 скольжения.
На фиг.3 иллюстрируется другой вариант выполнения узла 230 картриджа в соответствии с настоящим раскрытием. Узел 230 картриджа в определенных отношениях аналогичен узлу 330 картриджа, и одинаковые номера ссылочных позиций используются здесь для идентификации определенных деталей, аналогичных деталям, показанным на фиг.2. Кроме того, следует понимать, что узлом 230 картриджа можно заменить в гусенице 14 по фиг.2 иллюстрируемый узел картриджа так же, как и узлом картриджа в соответствии с другим вариантом выполнения узла подшипника, описанным здесь. В отличие от варианта выполнения, показанного по фиг.2, узел 230 картриджа не включает в себя подшипники скольжения, расположенные между втулкой 42 и пальцем 34. Вместо этого втулка 42 имеет, по существу, постоянный внутренний диаметр, который аналогичен внешнему диаметру пальца 34, и вращается вокруг нее. Боковое отверстие 29 может быть предусмотрено в узле 230 картриджа, которое соединяется с осевым отверстием 35 и обеспечивает возможность подачи смазочной жидкости между втулкой 42 и пальцем 34. Боковые отверстия могут быть предусмотрены в любом из описанных здесь вариантов выполнения. Набор кольцевых упорных колец 46 может быть расположен с противоположных сторон втулки 42, что обеспечивает возможность передачи осевых нагрузок между кольцевыми петлями 38 элементов 36а и 36b вкладышей и втулки 42.
На фиг.4 иллюстрируется еще один вариант выполнения узла 330 картриджа в соответствии с настоящим раскрытием. И снова здесь те же номера ссылочных позиций используются для идентификации определенных элементов, аналогичных описанным со ссылкой на предыдущий вариант выполнения. Узел 330 картриджа по фиг.4 отличается от вариантов выполнения, показанных на фиг.2 и 3, например, тем, что кольцевая петля 38 каждого элемента 336а и 336b вкладышей расположена в непосредственной близости к внешнему концу соответствующего осевого отверстия 347. Упорные кольца 46 могут быть расположены между элементами 336а и 336b вкладышей и муфтами 44а и 44b соответственно для передачи между ними осевых нагрузок.
На фиг.5 иллюстрируется еще один другой вариант выполнения узла 430 картриджа в соответствии с настоящим раскрытием. Узел 430 картриджа аналогичен узлу 330 картриджа по фиг.4, но отличается, в основном, тем, что подшипники 40 скольжения также расположены между втулкой 42 и пальцем 34 на противоположных его концах.
Когда рабочее устройство 10 движется по рабочей поверхности, гусеница 14 движется по своему пути вокруг ведущей звездочки 20 и промежуточных зубчатых колес 18 и 19. Когда гусеница 14 встречает на своем пути изогнутую поверхность, такую как, например, когда гусеница 14 движется по неравной поверхности, или в случае, когда гусеница 14 движется вокруг ведущей звездочки 20 или промежуточных зубчатых колес 18 и 19, соседние звенья 15 гусеницы вращаются относительно друг друга. В частности, как показано на фиг.2, в случае когда соседние звенья гусеницы вращаются, звенья 15а и 15b вращаются относительно друг друга. В соответствии с этим элементы 36а и 36b вкладышей будут вращаться вокруг пальца 34 относительно муфт 44а и 44b. Поскольку муфты 44а и 44b обычно жестко соединены, например, с использованием прессовой посадки с пальцем 34, они остаются неподвижными относительно пальца 34.
Когда на гусеницу 14 воздействует боковая нагрузка, например, когда планки 15а внешнего звена прижимаются в направлении вдоль оси L относительно планок 15b внутреннего звена, одна из муфт упирается в расположенный рядом с ним компонент. Например, когда планка 15а внешнего звена прижимается влево в варианте выполнения, показанном на фиг.2, правая муфта 44b прижимается к расположенному рядом с ней справа подшипнику 40 скольжения. Расположенный рядом с ней подшипник 40 скольжения в свою очередь передает осевую нагрузку на осевую петлю 38 элемента 36b вкладышей, которая в свою очередь передает осевую нагрузку непосредственно на расположенный рядом с ней подшипник 40 скольжения, и так далее в направлении вдоль оси L, в конечном итоге, передавая ее на левую втулку 44а. Внутренние звенья 15b могут аналогично прижиматься в одну сторону относительно внешних звеньев 15а, и в этом случае происходит аналогичный процесс, в результате которого осевые нагрузки передаются вдоль узла 30 картриджа. Процесс реакции на осевые нагрузки, в основном, происходит аналогично в вариантах выполнения по фиг.3-5 за исключением того, что упорные кольца 46 будут участвовать при передаче нагрузки через узел картриджа.
Таким образом, в настоящем раскрытии предусмотрен узел подшипника, например узел подшипника в виде картриджа, который может лучше работать при определенных типах нагрузки, чем множество более ранних конструкций. В некоторых ранних конструкциях нагрузки распределялись непропорционально, в результате чего происходил избыточный и/или неравномерный износ. Хуже того, в некоторых конструкциях соседние звенья гусеницы могли прижиматься друг к другу при воздействии боковых нагрузок, в результате чего происходил чрезвычайно сильный износ не только в узле подшипника, но также в самих звеньях гусеницы. Благодаря предоставлению описанных кольцевых, несущих нагрузку петель осевые нагрузки могут быть эффективно переданы через узел. В результате внутренние и внешние звенья гусеницы в меньшей степени подвержены прижиму друг к другу и не испытывают в результате этого износ. Кроме того, благодаря установке подшипников скольжения, в частности подшипников скольжения с венцами для поддержания внутренних элементов, радиальные нагрузки могут быть переданы на палец 34 без диспропорциональной нагрузки на кромках компонента узла подшипника.
Звенья гусеницы 14 обычно изнашиваются раньше, чем узел 30 картриджа. Поломки деталей или утечка через уплотнители, однако, может происходить, и в некоторых случаях было бы желательно заменить один или больше узлов картриджа без необходимости капитального ремонта гусеницы для данного рабочего устройства. В таких случаях натяжные механизмы или некоторые другие средства можно использовать для удаления неисправного узла картриджа из гусеницы 14. Новый узел картриджа затем может быть установлен на его место, и звенья гусеницы снова могут быть запрессованы вокруг узла картриджа.
Настоящее описание представлено только с целью иллюстрации, и его не следует рассматривать как какое-либо сужение объема настоящего раскрытия. Таким образом, для специалистов данной области техники будет понятно, что различные модификации могут быть выполнены для раскрытых в настоящее время вариантов выполнения без выхода за пределы сущности и объема раскрытия. Например, хотя предусматривается, что расположение внешних венцов на подшипниках 40 скольжения может представлять собой стратегию для выполнения на практике, другие варианты выполнения могут включать венцы на внутреннем диаметре элементов 36а и 36b вкладышей и/или на внутреннем диаметре втулки 42, а не на самих подшипниках скольжения. Другие аспекты, свойства и преимущества будут очевидны после изучения приложенных чертежей и приложенной формулы изобретения.
Формула изобретения
1. Узел (30) подшипника скольжения для гусеничной цепи (14) рабочего устройства (10) гусеничного типа, содержащий: палец (34), образующий ось (L); вращающуюся втулку (42), расположенную вокруг упомянутого пальца (34); и первый и второй элементы (36а, 36b) вкладышей, каждый из которых расположен с противоположных сторон упомянутой вращающейся втулки (42), причем каждый упомянутый элемент (36а, 36b) вкладышей включает в себя несущую радиальную нагрузку поверхность и кольцевую петлю (38), продолжающуюся вокруг упомянутого пальца (34) с несущей осевую нагрузку поверхностью (39), расположенной на ней; при этом узел (30) содержит первый и второй подшипники (40) скольжения, каждый из которых расположен рядом с кольцевой петлей (38) одного из упомянутых элементов (36а, 36b) вкладышей, в котором: каждый из упомянутых первых и вторых элементов (36а, 36b) вкладышей имеет осевое отверстие (47) и каждый из упомянутых первого и второго подшипников (40) скольжения расположен, по меньшей мере, частично внутри осевого отверстия (47) соответствующего элемента (36а, 36b) вкладыша.
2. Узел (30) подшипника скольжения по п.1 в котором: каждый из упомянутых первого и второго подшипников (40) скольжения содержит криволинейный венец (41) и упомянутый узел (30) подшипника скольжения содержит необслуживаемый картридж, включающий в себя первую и вторую муфты (44а, 44b), жестко закрепленные на противоположных концах упомянутого пальца (34), причем упомянутые муфты (44а, 44b) захватывают между собой каждый упомянутый элемент (36а, 36b) вкладышей и упомянутую вращающуюся втулку (42).
3. Узел подшипника скольжения (30) по п.2 в котором: упомянутые первый и второй подшипники (40) скольжения расположены рядом с упомянутыми первой и второй муфтами (44а, 44b) соответственно и кольцевая петля (38) каждого из упомянутого элемента (36а, 36b) вкладышей расположена в непосредственной близости к внутреннему концу соответствующего осевого отверстия (47).
4. Узел (30) подшипника скольжения по п.2, в котором кольцевая петля (38) каждого из упомянутых элементов (36а, 36b) вкладышей расположена в непосредственной близости к внешнему концу соответствующего осевого отверстия (47).
5. Рабочее устройство (10) гусеничного типа, содержащее: внутреннее звено (15b) гусеницы; внешнее звено (15а) гусеницы и узел (30) подшипника скольжения, подвижно соединяющий упомянутое внутреннее и внешнее звенья (15а) гусеницы, причем упомянутый узел (30) подшипника скольжения включает в себя палец (34), образующий ось (L), вращающуюся втулку (42), расположенную вокруг упомянутого пальца (34), и первый и второй передающие осевую/радиальную нагрузку элементы (36а, 36b) вкладышей, соединенные с упомянутым внутренним звеном (15b) гусеницы, и каждый из которых имеет кольцевую петлю (38), продолжающуюся вокруг упомянутого пальца (34), при этом устройство (10) содержит первый и второй подшипники (40) скольжения, каждый из которых расположен, по меньшей мере, частично между упомянутым пальцем (34) и одним из упомянутых элементов (36а, 36b) вкладышей; причем кольцевая петля (38) каждого из упомянутых первого и второго элементов (36а, 36b) вкладышей содержит поверхность (39), несущую осевую нагрузку, расположенную в непосредственной близости к соответствующему подшипнику (40) скольжения и ориентированную ортогонально к внешней поверхности упомянутого пальца (34); и каждый из упомянутых первого и второго элементов (36а, 36b) вкладышей имеет осевое отверстие (47) и каждая соответствующая кольцевая петля (38) продолжается внутрь в положение в непосредственной близости к одному концу соответствующего осевого отверстия (47).
6. Рабочее устройство (10) гусеничного типа по п.5, в котором: упомянутый узел (30) подшипника скольжения дополнительно содержит третий и четвертый подшипники (40) скольжения, расположенные, по меньшей мере, частично между упомянутой вращающейся втулкой (42) и упомянутым пальцем (34); и каждый из упомянутых подшипников (40) скольжения содержит криволинейный венец (41).
7. Способ работы рабочего устройства (10) гусеничного типа, выполненного в соответствии с п.6, при котором: вставляют узел (30) картриджа подшипника скольжения в виде вращающейся втулки между внутренним звеном (15b) гусеницы и внешним звеном (15а) гусеницы и уменьшают износ между внутренним звеном (15b) гусеницы и внешним звеном (15а) гусеницы благодаря реакции на прикладываемые к ним осевые нагрузки через продолжающуюся внутрь кольцевую петлю (38) каждого из двух элементов (36а, 36b) вкладышей узла (30) картриджа подшипника скольжения в виде вращающейся втулки.
8. Способ по п.7, в котором этап уменьшения износа дополнительно содержит осевые нагрузки на, по меньшей мере, одно из внутреннего и внешнего звеньев (15а) гусеницы на, по меньшей мере, одну из муфт (44а, 44b) через каждую из продолжающихся внутрь кольцевых петель (38), причем способ дополнительно содержит следующие этапы: перед этапом вставки собирают узел (30) картриджа, используя скользящую подгонку каждого из первого и второго элементов (36а, 36b) вкладышей, вращающиеся втулки (42), первого и второго подшипников (40) скольжения, вокруг пальца (34); и выполняют прессовую подгонку первой и второй муфт (44а, 44b) на противоположных концах пальца (34) для захвата первого и второго элементов (36а, 36b) вкладышей, вращающейся втулки (42), первого и второго подшипников (40) скольжения между ними.
РИСУНКИ
|
|