|
|
(21), (22) Заявка: 2008141394/11, 28.12.2006
(24) Дата начала отсчета срока действия патента:
28.12.2006
(30) Конвенционный приоритет:
22.03.2006 JP 2006-079179
(46) Опубликовано: 20.06.2010
(56) Список документов, цитированных в отчете о поиске:
GB 2265875 А, 13.10.1993. JP 8216929 А, 27.08.1996. JP 2003528772 Т, 30.09.2003. NL 9400637 А, 01.12.1995. FR 2165068 А5, 03.08.1973.
(85) Дата перевода заявки PCT на национальную фазу:
22.10.2008
(86) Заявка PCT:
JP 2006/326266 20061228
(87) Публикация PCT:
WO 2007/119270 20071025
Адрес для переписки:
191002, Санкт-Петербург, а/я 5, ООО “Ляпунов и партнеры”, пат.пов. А.С.Пантелееву, рег. 1071
|
(72) Автор(ы):
СУМИТАНИ Кэйдзи (JP), НАКАЯ Хироюки (JP), МУРАЯМА Тосиюки (JP), ТАКЭУТИ Эйси (JP), ОДА Кадзунори (JP)
(73) Патентообладатель(и):
ТОЙОТА ДЗИДОСЯ КАБУСИКИ КАЙСЯ (JP)
|
(54) АЭРОДИНАМИЧЕСКАЯ КОНСТРУКЦИЯ ДЛЯ ТРАНСПОРТНОГО СРЕДСТВА
(57) Реферат:
Изобретение относится к вариантам выполнения аэродинамического устройства для транспортного средства. Устройство выполнено с возможностью регулирования воздушного потока в колесной нише 16 и установлено сзади в продольном направлении кузова транспортного средства от оси вращения переднего колеса 15. Устройство выполнено в виде ступенчатого элемента, имеющего пазообразующую стенку перекрытия воздушного потока, обращенную вниз в вертикальном направлении корпуса транспортного средства. Направляющая воздушный поток стенка выполнена с возможностью направления воздушного потока, образующегося с наружной в радиальном направлении стороны колеса при его вращении, к пазообразующей стенке перекрытия воздушного потока. Достигается подавление воздушного потока F, сопутствующего вращению переднего колеса 15 в направлении, обозначенном стрелкой R, что обеспечивает возможность эффективного регулирования потока воздуха в пределах колесной ниши. 4 н. и 8 з.п. ф-лы, 21 ил.
Область техники
[0001] Настоящее изобретение относится к аэродинамической конструкции для транспортного средства, предназначенной для регулирования воздушного потока внутри колесной ниши.
Уровень техники
[0002] Известна технология выполнения аэродинамического стабилизатора, выступающего наружу в пределах колесной ниши автомобиля, способствующего повышению стабильности управления и повышающего эффективность охлаждения тормозов (подобная технология раскрыта, например, в японской опубликованной патентной заявке (JP-A) 2003-528772). Кроме того, известны технологии, описанные в японской опубликованной патентной заявке 8-216929, японской опубликованной патентной заявке 6-144296, японской опубликованной патентной заявке 6-156327, японской опубликованной патентной заявке 2006-69396, японской опубликованной заявке на полезную модель 3-102386 и японской опубликованной патентной заявке 10-278854.
Раскрытие изобретения
Задача, решаемая посредством изобретения
[0003] Недостатком традиционной, в частности, вышеописанной, технологии является наличие различных ограничений, связанных с тем, что аэродинамический стабилизатор всегда выступает наружу в пределах колесной ниши, в связи с чем появляется необходимость принимать меры, направленные на то, чтобы стабилизатор не помешал работе колеса и т.п.
Данное обстоятельство затрудняет получение удовлетворительных эксплуатационных характеристик.
[0004] Ввиду вышесказанного задачей настоящего изобретения является обеспечение аэродинамической конструкции для транспортного средства, предусматривающей возможность эффективного регулирования потока воздуха в пределах колесной ниши.
Решение поставленной задачи
[0005] Аэродинамическая конструкция для транспортного средства согласно изобретению, раскрытому в п.1 формулы, содержит ступенчатый элемент, имеющий пазообразующую стенку перекрытия воздушного потока, обращенную вниз в вертикальном направлении транспортного средства, причем указанный ступенчатый элемент расположен в колесной нише сзади в продольном направлении кузова транспортного средства от оси вращения колеса. Ступенчатый элемент также содержит направляющую воздушный поток стенку, проходящую вниз в вертикальном направлении транспортного средства от заднего в продольном направлении транспортного средства конца указанной пазообразующей стенки перекрытия воздушного потока.
[0006] В соответствии с п.1 формулы изобретения в аэродинамической конструкции для транспортного средства пазообразующая стенка перекрытия воздушного потока ступенчатого элемента, обращенная вниз в вертикальном направлении кузова транспортного средства, расположенная сзади в продольном направлении кузова транспортного средства, представляет собой поверхность, принимающую воздушный поток, который при вращении колеса направлен внутрь колесной ниши. Благодаря этому сдерживают поток воздуха, поступающий в колесную нишу. Кроме того, поскольку ступенчатый элемент расположен только сзади от центра вращения колеса, сдерживают как поток воздуха, поступающий в колесную нишу при вращении колеса (входной поток), так и отток с боковой стороны поступившего в колесную нишу воздуха. Также, воздушный поток, возникающий при вращении колеса с внешней в радиальном направлении стороны колеса, направляется посредством направляющей воздушный поток стенки и подводится к пазообразующей стенке перекрытия воздушного потока. Поскольку направляющая воздушный поток стенка проходит вниз в вертикальном направлении транспортного средства, то помимо того, что указанная стенка выполняет функцию направления воздушного потока, она также обеспечивает возможность предотвратить налипание и скопление снега и льда.
[0007] Таким образом, аэродинамическая конструкция для транспортного средства по п.1 позволяет эффективно регулировать воздушный поток в колесной нише. Следует отметить, что ступенчатый элемент желательно выполнять на элементе, образующем кузов транспортного средства (т.е. имеющем функцию, отличную от функции регулирования воздушного потока в колесной нише).
[0008] Согласно п.2 настоящего изобретения, в аэродинамической конструкции аэродинамический стабилизатор, предназначенный для регулирования воздушного потока, сопутствующего вращению колеса, выполняют в колесной нише сзади от оси вращения колеса в продольном направлении транспортного средства в виде ступенчатого элемента, обращенного вниз в вертикальном направлении транспортного средства, причем указанный ступенчатый элемент располагают на конструктивном элементе кузова транспортного средства, проходящем в вертикальном направлении кузова транспортного средства. Ступенчатый элемент также содержит направляющую воздушный поток стенку, проходящую вниз в вертикальном направлении транспортного средства от заднего в продольном направлении транспортного средства конца указанной пазообразующей стенки перекрытия воздушного потока.
[0009] В аэродинамической конструкции для транспортного средства по п.2 аэродинамический стабилизатор, представляющий собой ступенчатый элемент, обращенный вниз в вертикальном направлении кузова транспортного средства и выполненный на задней в продольном направления кузова стороне транспортного средства, функционирует как поверхность, принимающая воздушный поток, который при вращении колеса направлен внутрь колесной ниши, и выполняет функцию регулирования воздушного потока в колесной нише. В данном случае, поскольку аэродинамический стабилизатор выполняют как обращенный книзу ступенчатый элемент, не имеющий обращенной кверху поверхности, не происходит налипания и скопления снега и льда, что позволяет избежать негативного воздействия снега и льда на движение колеса. Также, воздушный поток, возникающий при вращении колеса с внешней в радиальном направлении стороны колеса, направляется посредством направляющей воздушный поток стенки и подводится к пазообразующей стенке перекрытия воздушного потока. Поскольку направляющая воздушный поток стенка проходит вниз в вертикальном направлении транспортного средства, то помимо того, что указанная стенка выполняет функцию направления воздушного потока, она также обеспечивает возможность предотвратить налипание и скопление снега и льда.
[0010] Таким образом, посредством аэродинамической конструкции для транспортного средства согласно п.2 можно эффективно регулировать воздушный поток в колесной нише.
[0011] В аэродинамической конструкции для транспортного средства согласно изобретению по п.3 и в аэродинамической конструкции для транспортного средства по п.п.1 или 2 ступенчатый элемент выполняют в поперечном направлении транспортного средства и размещают на задней в продольном направлении кузова транспортного средства стороне колеса.
[0012] Поскольку в аэродинамической конструкции для транспортного средства по п.3 ступенчатый элемент, выполненный в поперечном направлении транспортного средства, размещен позади колеса, происходит эффективное подавление втекания воздуха в колесную нишу с внешней в радиальном направлении стороны колеса при вращении колеса.
[0015] В аэродинамической конструкции для транспортного средства согласно изобретению по п.5 и в аэродинамической конструкции для транспортного средства по п.4 ступенчатый элемент выполняют в форме паза, проходящего в поперечном направлении, открытого в сторону колеса, причем направляющая воздушный поток стенка наклонена таким образом, что ее нижний конец в вертикальном направлении кузова транспортного средства ближе к колесу, чем ее верхний конец.
[0016] В аэродинамической конструкции для транспортного средства по п.5 посредством наклона направляющей воздушный поток стенки относительно вертикального направления кузова транспортного средства ступенчатый элемент формируют в форме поперечного паза, проходящего в поперечном направлении и обращенного к внешней периферийной поверхности колеса. Следовательно, открытую плоскость ступенчатого элемента (паза, проходящего в поперечном направлении) можно выполнить так, чтобы она, по существу, совпадала с положением внутренней поверхности колесной ниши в случае, когда ступенчатый элемент не предусмотрен. Таким образом, пространство между концевыми участками колеса и наклонной пазообразующей стенкой не слишком велико, и давление повышается на периферии пазообразующей стенки перекрытия воздушного потока, принимающей воздушный поток, сопутствующий вращению колеса. Таким образом, легко поддерживать состояние повышенного давления. Такое повышение давления на периферии пазообразующей стенки перекрытия воздушного потока позволяет еще более эффективно сдерживать втекание воздуха в колесную нишу.
[0017] Аэродинамическая конструкция для транспортного средства согласно изобретению по п.6 содержит поперечный паз, выполненный в поперечном направлении транспортного средства только сзади в продольном направлении кузова транспортного средства от вала вращения колеса на внутренней поверхности колесной ниши, в которой размещено колесо, и открытый в направлении колеса, причем указанный поперечный паз содержит:
направляющую пазообразующую стенку, выполненную таким образом, что она проходит наклонно от конца его открытой части в направлении потока, т.е. в направлении вращения колеса, с постепенным удалением от внешней периферической поверхности колеса; и
пазообразующую стенку перекрытия воздушного потока, проходящую от конца направляющей пазообразующей стенки, который удален наружу от внешней периферической поверхности колеса, к другому концу указанной открытой части.
[0018] На транспортном средстве, на котором используют аэродинамическую конструкцию для транспортного средства согласно п.6, воздушный поток, возникающий при вращении колеса в колесной нише, направлен от задней части колеса. Часть этого воздушного потока направляется наклонной пазообразующей стенкой, поступает в поперечный паз и сталкивается с пазообразующей стенкой перекрытия воздушного потока. Благодаря этому давление на периферии поперечного паза возрастает, и втекание воздуха в колесную нишу прекращается. Кроме того, поскольку поперечный паз размещен только сзади от центра вращения колеса, сдерживают как поток воздуха, поступающий в колесную нишу при вращении колеса (входной поток), так и отток с боковой стороны уже поступившего в колесную нишу воздуха.
[0019] Кроме того, открытую плоскость ступенчатого элемента (паза, проходящего в поперечном направлении транспортного средства) можно выполнить так, чтобы она, по существу, совпадала с положением внутренней поверхности колесной ниши в случае, когда ступенчатый элемент не предусмотрен. Таким образом, пространство между концевыми участками колеса и наклонной пазообразующей стенкой не слишком велико, и благодаря вышеописанному повышению давления обеспечивается надежное подавление втекания воздуха в колесную нишу. С другой стороны, поскольку вероятность касания колеса концом наклонной пазообразующей стенки отсутствует, то не возникает никаких ограничений, накладываемых на аэродинамические параметры с целью предотвращения такого касания, благодаря чему обеспечивается возможность проектирования, направленного на достижение эффективного подавления втекания воздуха.
[0020] Таким образом, аэродинамическая конструкция для транспортного средства по п.6 обеспечивает эффективное регулирование воздушного потока в колесной нише.
[0021] В аэродинамической конструкции для транспортного средства согласно изобретению по п.7 и в аэродинамической конструкции для транспортного средства по п.6 поперечный паз выполнен на задней в продольном направлении кузова транспортного средства стороне колесной ниши и содержит:
направляющую пазообразующую стенку, проходящую назад в продольном направлении кузова транспортного средства и вверх в вертикальном направлении кузова транспортного средства от нижнего в вертикальном направлении кузова транспортного средства конца открытой части этого паза, и
пазообразующую стенку перекрытия воздушного потока, проходящую вперед в продольном направлении кузова транспортного средства от верхнего заднего конца направляющей пазообразующей стенки.
[0022] В аэродинамической конструкции для транспортного средства по п.7 поперечный паз, предусмотренный на заднем участке колесной ниши (на заднем конце вблизи нижнего концевого участка, открытого книзу), направляет воздушный поток, сопутствующий вращению колеса, назад и вверх по наклонной пазообразующей стенке, и благодаря тому, что воздушный поток сталкивается с пазообразующей стенкой перекрытия воздушного потока, происходит вышеописанное повышение давления и подавление втекания воздуха в колесную нишу. Кроме того, поскольку данный эффект подавления воздушного потока возрастает на расположенном выше по потоку концевом участке воздушного потока, сопутствующего вращению колеса в колесной нише, достигают хорошего эффекта подавления втекания воздушного потока, а вытекание с боков воздушного потока, втекшего в колесную нишу, подавляют даже более эффективно.
[0023] Аэродинамическая конструкция для транспортного средства согласно изобретению по п.8 содержит поперечный паз, выполненный в поперечном направлении транспортного средства, на участке, расположенном сзади в продольном направлении транспортного средства от колеса, на внутренней поверхности колесной ниши, внутри которой размещено колесо, открытый в направлении внешней периферической поверхности колеса, причем поперечный паз содержит:
направляющую пазообразующую стенку, проходящую назад в продольном направлении кузова транспортного средства и вверх в вертикальном направлении кузова транспортного средства от нижнего в вертикальном направлении кузова транспортного средства конца открытой части поперечного паза, и
пазообразующую стенку перекрытия воздушного потока, проходящую вперед в продольном направлении транспортного средства от верхнего заднего конца направляющей пазообразующей стенки.
[0024] В аэродинамической конструкции для транспортного средства по п.8 воздушный поток, сопутствующий вращению колеса, поступает в колесную нишу с задней стороны колеса. Данный воздушный поток направляют посредством наклонной пазообразующей стенки, он поступает в поперечный паз и сталкивается с пазообразующей стенкой перекрытия воздушного потока. Благодаря этому давление на периферии поперечного паза растет, что препятствует поступлению воздуха в колесную нишу. Поскольку поперечный паз выполнен на участке колесной ниши, расположенном позади колеса (например, на заднем концевом участке вблизи нижнего конца, открытого вниз от колесной ниши), подавляют втекание воздуха, сопутствующее вращению колеса в колесную нишу на верхнем по течению концевом участке (те на входе), и отток с боковой стороны воздуха, уже втекшего в колесную нишу.
[0025] Более того, в настоящей аэродинамической конструкции для транспортного средства открытая плоскость поперечного паза может быть выполнена, по существу, совпадающей с положением внутренней поверхности колесной ниши в случае, когда поперечный паз не предусмотрен. Таким образом, пространство между концевыми участками колеса и наклонной пазообразующей стенкой не слишком велико и благодаря вышеописанному росту давления достигается эффект надежного подавления втекания воздуха в колесную нишу. С другой стороны, поскольку вероятность задевания колеса концевым участком наклонной пазообразующей стенки отсутствует, то не возникает никаких ограничений, накладываемых на аэродинамические параметры с целью предотвращения такого касания, благодаря чему обеспечивается возможность проектирования, направленного на достижения эффективного подавления втекания.
[0026] Таким образом, аэродинамическая конструкция для транспортного средства по п.8 обеспечивает эффективное регулирование воздушного потока в пределах колесной ниши.
[0027] В аэродинамической конструкции для транспортного средства согласно изобретению по п.9 и в аэродинамической конструкции для транспортного средства согласно изобретению по любому из п.п.5-8 оба продольных конца поперечного паза являются закрытыми.
[0028] Поскольку в аэродинамической конструкции для транспортного средства по п.9 оба торцевых конца поперечного паза, разнесенные в поперечном направлении, закрыты, в поперечном пазе легко поддерживать состояние высокого давления, благодаря чему обеспечивается эффективное подавление втекания воздуха в колесную нишу.
[0029] В аэродинамической конструкции для транспортного средства согласно изобретению по п.10 и в аэродинамической конструкции для транспортного средства согласно изобретению по любому из п.п.5-9 поперечный паз образован группой поперечных пазов, разделенных ребрами в поперечном направлении транспортного средства и расположенных друг за другом в поперечном направлении транспортного средства.
[0030] В аэродинамической конструкции для транспортного средства по п.10 один ряд поперечных пазов, выполненных в поперечном направлении транспортного средства, образован, например, посредством поперечного паза, проходящего в поперечном направлении транспортного средства и разделенного ребрами, выполненным на поперечном пазе, таким образом, что они образуют несколько поперечных пазов, или посредством нескольких поперечных пазов, размещенных друг за другом в поперечном направлении транспортного средства, независимо выполненных в конструктивном элементе колесной ниши. Таким образом, в поперечных пазах легко поддерживать состояние высокого давления, благодаря чему обеспечивается эффективное подавление втекания воздуха в колесную нишу.
[0031] В аэродинамической конструкции для транспортного средства согласно изобретению по п.11 и в аэродинамической конструкции для транспортного средства согласно изобретению по любому из п.п.5-10 предусматривают группу поперечных пазов, проходящих в периферическом направлении колесной ниши.
[0032] Благодаря тому, что в аэродинамической конструкции для транспортного средства по п.11 предусмотрено несколько поперечных пазов, выполненных в периферическом направлении колесной ниши, обеспечивается еще более эффективное подавление втекания воздуха, сопутствующего вращению колеса, в колесную нишу. В частности, предпочтительно, чтобы несколько поперечных пазов были расположены таким образом, чтобы проходить непрерывно в периферическом направлении колесной ниши (так, чтобы передний/задний или верхний/нижний концы смежных в периферическом направлении колесной ниши пазов совпадали).
[0033] В аэродинамической конструкции для транспортного средства согласно изобретению по п.12 и в аэродинамической конструкции для транспортного средства согласно изобретению по любому из п.п.3-11 предусмотрен окружной паз, открытый к внешней периферической поверхности колеса, проходящий в периферическом направлении колесной ниши от переднего в продольном направлении транспортного средства конца или от верхнего в вертикальном направлении транспортного средства конца поперечного паза, выполненного на внутренней поверхности колесной ниши, к стороне переднего конца колесной ниши.
[0034] В аэродинамической конструкции для транспортного средства по п.12 воздушный поток, при вращении колеса втекающий в колесную нишу с задней стороны колеса и проходящий область расположения поперечного паза, направляется к окружному пазу, подводится к стороне переднего конца колесной ниши и выходит из колесной ниши. Таким образом, обеспечивается эффективное подавление оттока с боковой стороны колесной ниши воздуха, втекшего в колесную нишу.
[0035] В аэродинамической конструкции для транспортного средства согласно изобретению по п.13 и в аэродинамической конструкции для транспортного средства по п.12 открытый участок окружного паза, расположенный с его заднего в продольном направлении транспортного средства конца или нижнего в вертикальном направлении транспортного средства конца, расположен с передней в продольном направлении транспортного средства стороны или с верхней в вертикальном направлении транспортного средства стороны открытой части поперечного паза, расположенного с передней стороны в продольном направлении транспортного средства или верхней стороны в вертикальном направлении транспортного средства.
[0036] Поскольку в аэродинамической конструкции для транспортного средства по п.13 поперечный паз и направленный по периферии паз не взаимодействуют, предотвращают поток воздуха (т.е. подъем воздушного потока) из поперечного паза в окружной паз, благодаря чему удается легко поддерживать высокое давление в поперечном пазе. Соответственно, окружной паз обеспечивает эффективное подавление оттока с боковой стороны колесной ниши воздуха, втекшего в колесную нишу, а поперечный паз обеспечивает эффективное подавление воздуха, втекающего с задней стороны колесной ниши при вращении колеса.
Технический результат
[0037] Согласно вышеописанному, технический результат предлагаемой аэродинамической конструкции для транспортного средства заключается в повышении эффективности регулирования воздушного потока в колесной нише.
Краткое описание чертежей
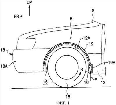
[0038] На Фиг.1 представлен вид сбоку, на котором показан стационарный аэродинамический стабилизатор согласно первому варианту осуществления настоящего изобретения.
На Фиг.2 в разрезе представлен вид сверху стационарного аэродинамического стабилизатора согласно первому варианту осуществления настоящего изобретения.
На Фиг.3 в аксонометрии показана прокладка крыла, выполненная как одно целое со стационарным аэродинамическим стабилизатором согласно первому варианту осуществления настоящего изобретения
На Фиг.4 представлен вид сбоку, на котором показан стационарный аэродинамический стабилизатор согласно второму варианту осуществления настоящего изобретения.
На Фиг.5А в аксонометрии показан стационарный аэродинамический стабилизатор согласно второму варианту осуществления настоящего изобретения. На чертеже представлен вид при снятом переднем колесе.
На Фиг.5В представлен вид сзади, на котором показан стационарный аэродинамический стабилизатор согласно второму варианту осуществления настоящего изобретения.
На Фиг.6 представлен увеличенный вид сбоку в разрезе, на котором показаны основные элементы конструкции колесной ниши для транспортного средства согласно третьему варианту осуществления настоящего изобретения.
На Фиг.7 представлен вид сбоку в разрезе конструкции колесной ниши для транспортного средства согласно третьему варианту осуществления настоящего изобретения.
На Фиг.8 в аксонометрии показана конструкция колесной ниши для транспортного средства согласно третьему варианту осуществления настоящего изобретения.
На Фиг.9 показан вид сзади в разрезе конструкции колесной ниши для транспортного средства согласно третьему варианту осуществления настоящего изобретения.
На Фиг.10А в аксонометрии показан автомобиль, на котором установлены конструкции колесных ниш для транспортного средства согласно третьему и четвертому вариантам осуществления настоящего изобретения.
На Фиг.10В в аксонометрии показан автомобиль, на котором установлена конструкция колесной ниши для транспортного средства согласно примеру, приведенному для сравнения с третьим и четвертым вариантами осуществления настоящего изобретения.
На Фиг.11 представлен увеличенный вид сбоку в разрезе, на котором показаны основные элементы конструкции колесной ниши для транспортного средства согласно четвертому варианту осуществления настоящего изобретения.
На Фиг.12 в аксонометрии показаны основные элементы конструкции колесной ниши для транспортного средства согласно пятому варианту осуществления настоящего изобретения.
На Фиг.13 представлен вид сбоку, на котором показаны основные элементы конструкции колесной ниши для транспортного средства согласно шестому варианту осуществления настоящего изобретения.
На Фиг.14 представлен вид сбоку, на котором показаны основные элементы конструкции колесной ниши для транспортного средства согласно седьмому варианту осуществления настоящего изобретения.
На Фиг.15 в аксонометрии показаны основные элементы конструкции колесной ниши для транспортного средства согласно пятому варианту осуществления настоящего изобретения, относящиеся к восьмому варианту осуществления настоящего изобретения.
На Фиг.16 представлен увеличенный вид сбоку в разрезе, на котором показаны основные элементы конструкции колесной ниши для транспортного средства согласно девятому варианту осуществления настоящего изобретения.
На Фиг.17 представлен увеличенный вид сбоку в разрезе, на котором показаны основные элементы конструкции колесной ниши для транспортного средства согласно десятому варианту осуществления настоящего изобретения.
На Фиг.18 представлен вид сбоку стабилизатора стационарного типа согласно примеру, приведенному для сравнения с четвертым вариантом осуществления настоящего изобретения.
На Фиг.19 в аксонометрии представлен стабилизатор стационарного типа согласно примеру, приведенному для сравнения с пятым вариантом осуществления настоящего изобретения.
Предпочтительные варианты осуществления изобретения
[0039] Стационарный аэродинамический стабилизатор 10, представляющий собой конструкцию колесной ниши для транспортного средства согласно первому варианту осуществления настоящего изобретения, описан со ссылками на чертежи, представленные на Фиг.1 – 3. Стрелка FR, стрелка UP и стрелка OUT, соответствующим образом показанные на соответствующих чертежах, указывают, соответственно на направление вперед (направление движения вперед), направление вверх и поперечное направление автомобиля S, на котором установлен стационарный аэродинамический стабилизатор 10. В дальнейшем, при указании на направление вверх, вниз, вперед, назад и к внешней и внутренней сторонам в поперечном направлении транспортного средства подразумевают направления, обозначенные соответствующими стрелками. В данном варианте осуществления стационарный аэродинамический стабилизатор 10 установлен соответственно на левом и правом передних колесах 15. Однако, поскольку конструкции левого и правого стационарных аэродинамических стабилизаторов 10, по существу, симметричны, на Фиг.1 и Фиг.2 показан только стационарный аэродинамический стабилизатор 10, расположенный на одной стороне в поперечном направлении транспортного средства (левой, относительно направления перемещения транспортного средства). В дальнейшем изобретение описывается также на примере только одного из стационарных аэродинамических стабилизаторов 10.
[0040] Стационарный аэродинамический стабилизатор 10, установленный на автомобиль S, показан на схематическом виде сбоку, представленном на Фиг.1. Далее, на Фиг.2, схематически показан вид сверху передней части автомобиля S, на который соответственно установлены стационарные аэродинамические стабилизаторы 10. Как показано на Фиг.1 и Фиг.2, автомобиль S имеет панель 12 переднего крыла, образующую кузов В транспортного средства. В панели 12 переднего крыла выполнена колесная арка 12А в форме полукруглой дуги, открытой, на виде сбоку, книзу, обеспечивающая возможность поворота переднего колеса 15. Внутренняя поверхность панели 12 переднего крыла соединена с фартуком 13 крыла. На фартуке 13 крыла предусмотрена внутренняя часть 14 колесной ниши и стойка подвески (не показана).
[0041] Внутренняя часть 14 колесной ниши образует колесную нишу 16, расположенную на внешней в поперечном направлении транспортного средства стороне внутренней части 14 колесной ниши так, чтобы переднее колесо 15 могло вращаться в колесной нише 16. Далее, как показано на Фиг.1, крышка 18А бампера, образующая передний бампер 18, проходит вокруг к нижней стороне участка передней стороны колесной ниши 12А на панели 12 переднего крыла, а задний край крышки 18А бампера образует переднюю часть колесной ниши 12А.
[0042] Как показано на Фиг.1 и Фиг.2, прокладка 19 крыла, выполненная из резины и имеющая, как видно на виде сбоку, по существу, форму полукруглой дуги, соответствующей колесной арке 12А, а на виде сверху, по существу, форму прямоугольника, покрывающего и скрывающего переднее колесо 15, расположена на внутренней поверхности колесной ниши 16. Соответственно, прокладка 19 крыла расположена в колесной нише 16 таким образом, что она не выступает за колесную арку 12А, как показано на виде сбоку, и закрывает, по существу, верхнюю часть переднего колеса 15 спереди, сверху и сзади, препятствуя повреждению фартука 13 крыла (внутренней части 14 колесной ниши) грязью, небольшими камнями и т.п.
[0043] Как показано на Фиг.1, стационарный аэродинамический стабилизатор 10 выполнен в виде принимающей воздушный поток поверхности, обращенной вниз, размещенной позади переднего колеса 15. В данном варианте осуществления стационарный аэродинамический стабилизатор 10 выполнен как единое целое с прокладкой 19 крыла.
[0044] В частности, как также показано на Фиг.3, стационарный аэродинамический стабилизатор 10 выполнен как единое целое с той частью прокладки 19 крыла, которая расположена сзади переднего колеса 15, и представляет собой стенку перекрытия воздушного потока, являющуюся ступенчатым элементом (участком изгиба), выходящим во внутреннюю часть колесной ниши 16 и обращенным вниз в вертикальном направлении кузова транспортного средства, размещенным на задней части 19А прокладки 19 крыла, проходящей, по существу, в вертикальном направлении позади переднего колеса 15. Стационарный аэродинамический стабилизатор 10, обращенный вниз, размещенный позади переднего колеса 15, сдерживает образование воздушного потока, показанного стрелкой F, в колесной нише 16 и сдерживает образование турбулентного потока, обусловленного воздухом, входящим в зону и выходящим из зоны между прокладкой 19 крыла и передним колесом 15 в колесной нише 16 (т.е. осуществляет регулирование воздушного потока).
[0045] В частности, стационарный аэродинамический стабилизатор 10 предусматривает возможность блокирования воздушного потока F, возникающего вследствие вращения переднего колеса 15 в направлении стрелки R. Благодаря этому стационарный аэродинамический стабилизатор 10 сдерживает втекание воздушного потока F, вызванного вращением переднего колеса 15, в колесную нишу 16 и сдерживает образование турбулентного потока, обусловленного воздухом, входящим в зону и выходящим из зоны между прокладкой 19 крыла и передним колесом 15 в пределах колесной ниши 16. Действие стационарного аэродинамического стабилизатора 10 по регулированию воздушного потока препятствуют ослаблению вертикальной нагрузки на переднее колесо 15 и, кроме того, предотвращает препятствие турбулентного потока тому воздушному потоку, который направлен к тормозному устройству (не показано), расположенному на внутренней в продольном направлении транспортного средства стороне переднего колеса 15.
[0046] Благодаря тому, что на автомобиле S посредством аэродинамического стабилизатора 10 вышеописанной конструкции в колесной нише 16 обеспечивается сдерживание образования турбулентного потока, обусловленного вращением переднего колеса 15, достигается снижение сопротивления воздуха, сопровождающего высокоскоростное движение (сопротивление воздуха, обусловленное турбулентным потоком) и предотвращается уменьшение вертикальной нагрузки на переднее колесо 15.
Вследствие этого, при эксплуатации автомобиля S возможно снижение потребления топлива в результате уменьшения сопротивления воздуха и улучшение стабильности управления благодаря стабильной вертикальной нагрузке.
[0047] Поскольку стационарный аэродинамический стабилизатор 10 выполнен как единое целое с прокладкой 19 крыла в виде обращенной книзу поверхности, стационарный аэродинамический стабилизатор 10 не образует, в пределах колесной ниши 16, обращенную кверху поверхность, к которой легко прилипают и на которой легко накапливаются снег и грязь. Например, в стабилизаторе 210 стационарного типа, показанном на Фиг.18 и иллюстрирующем приведенный для сравнения пример, может проявляться недостаток, заключающийся в том, что снег и грязь прилипнут к обращенной кверху поверхности 210А, накопятся на ней и станут касаться переднего колеса 15, что приведет к повреждению стабилизатора 210 стационарного типа. Однако, поскольку, как описано выше, при использовании стационарного аэродинамического стабилизатора 10 снег и грязь не прилипают, возможность проявления такого недостатка предотвращена.
[0048] Далее описаны другие варианты осуществления настоящего изобретения. Те части/элементы, которые по существу аналогичны частям/элементам, описанным в отношении первого варианта осуществления или предшествующих конструкций, обозначены такими же номерами позиций, как и в вышеописанном первом варианте осуществления или предшествующих конструкциях, и их описание (изображение) опущено.
[0049] (Второй вариант осуществления) На схематически представленном на Фиг.4 виде сбоку показан стационарный аэродинамический стабилизатор 20, представляющий собой конструкцию колесной ниши транспортного средства и относящийся ко второму варианту осуществления настоящего изобретения.
Как показано на этом чертеже, стационарный аэродинамический стабилизатор 20 выполнен как принимающая воздушный поток поверхность, обращенная вниз, расположенная на внутренней в поперечном направлении транспортного средства стороне сзади вала вращения 15А переднего колеса 15. В этом варианте осуществления стационарный аэродинамический стабилизатор 20 выполняют как единое целое с вертикальным участком 14А стенки на внутренней части 14 колесной ниши, обращенной к поверхности переднего колеса 15, причем к той поверхности, которая направлена к внутренней в поперечном направлении транспортного средства стороне.
[0050] В частности, как показано также на Фиг 5(А) и Фиг.5(В), стационарный аэродинамический стабилизатор 20 выполнен как единое целое с вертикальным участком 14А стенки в виде стенки перекрытия воздушного потока, представляющей собой обращенный вниз ступенчатый элемент (вогнутую стенку), образующий вогнутый участок 14В, который открыт и вогнут вниз и по направлению к внешней в поперечном направлении транспортного средства стороне на, по существу, задней части вертикального участка 14А стенки. Также, в этом варианте осуществления, стационарный аэродинамический стабилизатор 20 наклонен относительно горизонтальной плоскости так, что задний конец находится на более высоком уровне, чем передний конец. Этот стационарный аэродинамический стабилизатор 20, представляющий собой принимающую воздушный поток поверхность, обращенную вниз, расположенную на внутренней стороне сзади от вала вращения 15А переднего колеса 15, сдерживает образование воздушного потока F, сопутствующего вращению переднего колеса 15 в колесной нише 16 (поток F, втекающий в колесную нишу 16), и сдерживает образование турбулентного потока, обусловленного воздухом, входящим в зону и выходящим из зоны, расположенной между прокладкой 19 крыла и передним колесом 15 в пределах колесной ниши 16. Следует отметить, что вместо того, чтобы выполнять конструкцию как единое целое с вертикальным участком 14А стенки фартука 13 крыла, стационарный аэродинамический стабилизатор 20 можно, например, выполнить как единое целое с участком 14А стенки, предусмотренном на нижнем защитном ограждении двигателя. Также, стационарный аэродинамический стабилизатор 20 может быть выполнен таким образом, чтобы передний конец и задний конец находились на одной и той же высоте (горизонтально). Стационарный аэродинамический стабилизатор 20 также может быть выполнен наклонным относительно горизонтальной плоскости так, чтобы передний конец находился на более высоком уровне, чем задний конец.
[0051] Благодаря тому, что в колесной нише 16 образование турбулентного потока, обусловленного вращением переднего колеса 15, сдерживают посредством стационарного аэродинамического стабилизатора 20, становится возможным снизить на автомобиле S, на котором установлен стационарный аэродинамический стабилизатор 20 вышеописанной конструкции, потребление топлива (благодаря уменьшению сопротивления воздуха) и улучшить стабильность управления (благодаря стабильности вертикальной нагрузки), как и в первом варианте осуществления. Кроме того, поскольку стационарный аэродинамический стабилизатор 20 выполнен как единое целое с вертикальным участком 14А стенки в виде обращенной книзу поверхности, стационарный аэродинамический стабилизатор 20 не образует, в пределах колесной ниши 16, обращенную кверху поверхность, к которой может легко прилипнуть грязь и снег. Например, в стабилизаторе 220 стационарного типа, показанном на Фиг.19 и относящемся к приведенному для сравнения примеру, может проявляться недостаток, заключающийся в прилипании снега и грязи и их накоплении на обращенной кверху поверхности 220А, что помешает функционированию переднего колеса 15 и приведет к повреждению стабилизатора 220 стационарного типа. Однако, как было описано выше, поскольку при использовании стационарного аэродинамического стабилизатора 20 снег и грязь не прилипают, проявление такого недостатка предотвращено.
[0052] (Третий и четвертый варианты осуществления) На Фиг.7 схематически представлен вид сбоку в разрезе передней части автомобиля S, на который установлена конструкция 21 колесной ниши для транспортного средства. Для дальнейшего описания кузова В транспортного средства автомобиля S на основе этого чертежа колесная ниша 16 размещена непосредственно перед передней стойкой 17 кузова, образующей каркас кузова транспортного средства в вертикальном направлении, а нижний конец 17А передней стойки 17 кузова соединен с передним концом 11А опоры 11, образующей каркас в продольном направлении кузова транспортного средства. Удлиненный участок 11С проходит от нижней стенки 11В опоры 11 к низу участка 16А заднего края колесной ниши 16 (колесной дуги 12А). Задний участок 19А прокладки 19 крыла размещен над удлиненным участком 11С опоры 11.
[0053] Также, конструкция 21 колесной ниши для транспортного средства содержит стопорные пазы 22, представляющие собой пазы, выполненные на прокладке 19 крыла в поперечном направлении. В данном варианте осуществления стопорные пазы 22 выполнены на том участке прокладки 19 крыла, который расположен сзади переднего колеса 15 (участок, проходящий вдоль части поверхности переднего колеса 15 в вертикальном направлении кузова транспортного средства). В частности, как показано на Фиг.6, стопорные пазы 22 выполнены на участке прокладки 19 крыла, расположенном сзади от оси RC вращения переднего колеса 15, а именно на части области А или на всей области А, проходящей назад и вниз от участка С, пересекаемого воображаемой прямой линией IL1, образующей угол (- °< <90°) с горизонтальной линией HL, проходящей через ось RC вращения переднего колеса 15. Угол , определяющий верхнюю границу области установки стопорных пазов 22, предпочтительно менее или равен 50°, более предпочтительно – менее или равен 40°, и в данном варианте осуществления составляет приблизительно 30°. Угол , определяющий нижнюю предельную границу области расположения стопорных пазов 22, представляет собой угол, образованный линией HL и воображаемой прямой линией IL2, соединяющей нижний задний концевой участок колесной ниши 16 с осью RC вращения переднего колеса 15. Нижний задний концевой участок колесной ниши 16 можно выполнить таким образом, чтобы он являлся, например, нижним задним концом прокладки 19 крыла. В данном варианте осуществления он снабжен задним обтекателем 30 (нижний край 32В стопорного паза 32), который будет описан ниже.
[0054] Как показано на Фиг.6 и Фиг.7, стопорные пазы 22 открыты в направлении переднего колеса 15 и, как видно на виде сбоку, образуют, по существу, треугольные формы, ширина которых вдоль периферического направления прокладки 19 крыла (колесной ниши 16) является максимальной на открытых частях 22А. В частности, как показано на Фиг.6, стопорные пазы 22 выполнены таким образом, что они имеют направляющую пазообразующую стенку 24, представляющую собой наклонную пазообразующую стенку, проходящую назад и вверх от нижнего конца 22В открытой части 22А, и стопорную пазообразующую стенку 26, представляющую собой пазообразующую стенку перекрытия воздушного потока, проходящую от верхнего заднего конца 24А направляющей пазообразующей стенки 24 к верхнему концу 22С открытой части 22А.
[0055] Длина боковой поверхности (длина стороны треугольника) стопорной стенки 26 является небольшой по сравнению с направляющей пазообразующей стенкой 24. Благодаря этому, как показано на Фиг.6, направляющая пазообразующая стенка 24 проходит, по существу, в направлении воздушного потока F (воздушного потока, по существу, совпадающего с касательным направлением переднего колеса 15), сопутствующего вращению переднего колеса 15 (направление вращения, вызывающего движение автомобиля S вперед, обозначено стрелкой R), и направляет воздушный поток F в пределах стопорного паза 22. С другой стороны, стопорная пазообразующая стенка 26 выполнена таким образом, что она обращена к воздушному потоку F, и воздушный поток F, втекающий в стопорный паз 22, сталкивается со стопорной пазообразующей стенкой 26.
[0056] Кроме того, как также показано на Фиг.8, стопорный паз 22 удлинен в поперечном направлении транспортного средства, и оба его торцевых конца закрыты боковыми стенками 28. В частности, стопорные пазы 22 выполнены таким образом, что они покрыты боковыми стенками 28 и трудно различимы на виде сбоку (Фиг.8 и Фиг.10). В данном варианте осуществления стопорные пазы 22 выполнены, по существу, по всей ширине прокладки 19 крыла.
[0057] Исходя из вышесказанного конструкция 21 колесной ниши для транспортного средства выполнена таким образом, что часть воздушного потока F блокируется стопорными пазами 22, давление в стопорном пазе 22 растет, и также растет давление между открытыми участками 22А стопорных пазов 22 и передним колесом 15. Благодаря такому повышению давления в конструкции 21 колесной ниши для транспортного средства обеспечивается сдерживание втекания воздушного потока F в колесную нишу 16.
[0058] Как показано на Фиг.6-13, несколько (в рассматриваемом варианте осуществления – 3) стопорных пазов 22 выполнено параллельно на прокладке 19 крыла в периферическом направлении прокладки 19 крыла. В этом варианте осуществления на стопорных пазах 22, являющихся смежными в периферическом направлении прокладки 19 крыла, нижние концы 22В и верхние концы 22С открытых частей 22А, по существу, совпадают. А именно, группу стопорных пазов 22 выполняют таким образом, чтобы они образовывали выступы и выемки (волнообразной формы), которые являются треугольными, как видно на виде сбоку, непрерывные в периферическом направлении прокладки 19 крыла. Стопорный паз 22, расположенный ниже и позади всех стопорных пазов 22, расположен на нижнем заднем концевом участке 19В прокладки 19 крыла. Этот стопорный паз 22 расположен непосредственно над удлиненным участком 11С опоры 11.
[0059] Кроме того, как показано на Фиг.6 и Фиг.7, конструкция колесной ниши 21 для транспортного средства снабжена обтекателем 30, расположенным сзади от колесной ниши 16. Задний обтекатель 30 закреплен на нижней стенке 11В опоры 11, и между задним обтекателем 30 и удлиненным участком 11С опоры 11 выполнен стопорный паз 32. Стопорный паз 32 выполнен, по существу, аналогично стопорным пазам 22. В частности, конструкция стопорного паза 32 предусматривает наличие направляющей поверхности 34, направленной назад и вверх от нижнего края 32В открытого участка 32А, который открыт в направлении переднего колеса 15, а также наличие стопорной поверхности 36, проходящей в направлении верхнего края 32С открытого участка 32А от верхнего заднего конца 34А направляющей поверхности 34. Функции направляющей поверхности 34 и стопорной поверхности 36 аналогичны функциям направляющей пазообразующей стенки 24 и стопорной пазообразующей стенки 26 соответственно.
[0060] В этом варианте осуществления направляющая поверхность 34 сформирована на стопорном пазе 32, а стопорная поверхность 36 выполнена так, что она является нижней поверхностью удлиненного участка 11С опоры 11. В частности, благодаря заднему обтекателю 30, прикрепленному к опоре 11 и заднему концевому участку колесной ниши 16 (нижний предел области расположения стопорного паза 32), проходящему вниз, реализована конструкция, в которой удлиненный участок 11С опоры 11, являющейся конструктивным элементом кузова транспортного средства, выполнен так, что он является стопорной поверхностью 36. Благодаря этому стопорный паз 32 размещают на конструкции 21 колесной ниши для транспортного средства таким образом, что он находится под стопорным пазом 22 и выполнен непрерывно с пазом 22, расположенным ниже и позади остальных пазов.
[0061] Далее, как также показано на Фиг.8, длина стопорного паза 32 в направлении ширины транспортного средства равна длине стопорных пазов 22, а концы стопорного паза 32 в продольном направлении, совпадающие с концами стопорных пазов 22 в направлении ширины транспортного средства, закрыты боковыми стенками 38. А именно, аналогично стопорным пазам 22, стопорный паз 32 выполнен таким образом, что его покрывают боковые стенки 38 и так, что он трудно различим на виде сбоку (Фиг.8 и Фиг.10).
[0062] Далее, как показано на Фиг.6-8, конструкция 21 колесной ниши для транспортного средства снабжена направляющими пазами 40, которые выполнены на прокладке 19 крыла таким образом, что они открыты в направлении переднего колеса 15 и проходят в периферическом направлении. Ближними концами 40А направляющих пазов являются участки направляющих пазов 40, расположенные перед стопорными пазами 22 (стопорным пазом 22, расположенным выше и спереди остальных пазов) в продольном направлении кузова транспортного средства, причем продольное направление направляющих пазов 40 совпадает с периферическим направлением прокладки 19 крыла, а дальними концами 40 В являются участки направляющих пазов 40, расположенные вблизи нижней передней концевой части 19С прокладки 19. Направляющие пазы 40 не сообщаются со стопорными пазами 22.
[0063] Ближние концы 40А и дальние концы 40В направляющих пазов 40 выполнены имеющими уменьшающуюся глубину и образуют собой часть общей поверхности 19D прокладки 19 крыла (включающей в себя открытые плоскости стопорных пазов 22 и направляющих пазов 40), вследствие чего воздушный поток вдоль периферического направления стопорных пазов 22 (колесная ниша 16) втекает в направляющие пазы 40 и вытекает из них плавным образом. Как показано на Фиг.9, в этом варианте осуществления предусмотрено несколько (два) направляющих пазов 40, параллельных друг другу и разнесенных относительно друг друга в поперечном направлении транспортного средства. Эти направляющие пазы 40 выполнены с возможностью направления воздушного потока, проходящего сзади вперед вдоль внутренней периферии прокладки 19 крыла, так, чтобы воздушный поток втекал в ближние концы 40А и вытекал из дальних концов 40В. Другими словами, две направляющие стенки 40С каждого поперечного паза 40, разнесенные друг относительно друга в поперечном направлении транспортного средства, выполнены таким образом, чтобы предотвращать прохождение воздушного потока в поперечном направлении транспортного средства. Следует отметить, что на Фиг.8 показан пример, в котором предусмотрено два направляющих паза 40, но возможно предусмотреть лишь один из направляющих пазов 40, а также три или более направляющих пазов 40.
[0064] Далее, как показано на Фиг.6-8, в конструкции 21 колесной ниши для транспортного средства предусматривают выполненный в форме пластины передний обтекатель 42, проходящий вниз от нижнего переднего краевого участка 16В колесной ниши 16. Обтекатель 42 выполнен таким образом, что он препятствует втеканию в колесную нишу 16 воздушного потока, возникающего во время движения автомобиля S.
[0065] Как показано на Фиг.10(А), согласно этому варианту осуществления колесную нишу 16 формируют на внутренней поверхности колесной арки 44А панели 44 заднего крыла, а на автомобиле S согласно этому варианту осуществления предусматривают конструкцию 46 колесной ниши для транспортного средства, предназначенную для заднего колеса 45, размещенного в этой колесной ниши 16. Конструкция 46 колесной ниши для транспортного средства согласно четвертому варианту осуществления, показанная на Фиг.11, отличается от конструкции 21 колесной ниши для транспортного средства тем, что конструкция 46 колесной ниши для транспортного средства не снабжена задним обтекателем 30 и стопорным пазом 32 (содержащим направляющую поверхность 34, стопорную поверхность 36 и боковые стенки 38), но снабжена четырьмя стопорными пазами 22, выполненными на прокладке 48 крыла. Нижний задний концевой участок 48А прокладки 48 крыла проходит, по существу, в перпендикулярном направлении и находится далее от заднего колеса 45, чем другие участки, а направляющая пазообразующая стенка 24 выполнена более короткой, чем стопорная пазообразующая стенка 26. Другие части прокладки 48 крыла аналогичны соответствующим частям прокладки 19 крыла, и, соответственно, другие части конструкции 46 колесной ниши для транспортного средства аналогичны соответствующим частям конструкции 21 колесной ниши для транспортного средства.
[0066] Ниже описаны третий и четвертый варианты осуществления. Следует отметить, что в конструкции 46 колесной ниши функцию стопорного паза 32, предусмотренного в конструкции 21 колесной ниши для транспортного средства, выполняет один из стопорных пазов 22. Таким образом, конструкция 21 колесной ниши для транспортного средства и конструкция 46 колесной ниши для транспортного средства демонстрируют, по существу, одинаковый эксплуатационный эффект. Поэтому далее описана главным образом работа конструкции 21 колесной ниши для транспортного средства.
[0067] На автомобиле S, на котором установлена конструкция 21 колесной ниши для транспортного средства согласно вышеописанной конструкции, при вращении переднего колеса 15 в направлении стрелки R, вызывающего движение автомобиля S, создается воздушный поток F, который начинает затягиваться вовнутрь благодаря этому вращению переднего колеса 15 и который втекает, по существу, вверх, в колесную нишу 16 с задней стороны переднего колеса 15. Часть этого воздушного потока F направляют посредством направляющей поверхности 34 и направляющих стенок 24 паза, и он втекает в стопорный паз 32 и стопорные пазы 22 и сталкивается со стопорной поверхностью 36 и стопорными пазообразующими стенками 26. Следовательно, часть воздушного потока F блокируется, давление в пределах стопорного паза 32 и стопорных пазов 22 повышается, и область этого повышения давления проходит до пространства между стопорным пазом 32 и стопорными пазами 22 и передним колесом 15. Благодаря этому в конструкции 21 колесной арки для транспортного средства сопротивление воздушному потоку, втекающему в колесную нишу 16 с задней стороны переднего колеса 15, возрастает, и втекание воздуха в колесную нишу 16 подавляется.
[0068] Другая часть воздушного потока F проходит область расположения стопорного паза 32 и стопорных пазов 22 и втекает в колесную нишу 16. По меньшей мере, часть воздушного потока F течет в сторону внешней периферической стороны благодаря центробежной силе и втекает в направляющие пазы 40 и, как показано соответствующими стрелками на Фиг.8, направляется с помощью направляющих пазов 40 и вытекает из дальних концов 40В.
[0069] Таким образом, поскольку в конструкциях 21, 46 колесной ниши для транспортного средства согласно третьему и четвертому вариантам осуществления стопорные пазы 22 (и стопорный паз 32) подавляют втекание воздуха в колесную нишу 16, воздушный поток F, поступающий в колесную нишу 16 из-под днища кузова автомобиля S, является слабым, что позволяет предотвратить нарушение воздушного потока на периферии колесной ниши 16, т.е осуществить регулирование воздушного потока. В частности, как показано на Фиг.10(А), предотвращается нарушение воздушного потока Ff под днищем кузова, в результате чего под днищем кузова получают плавный воздушный поток Ff.
[0070] Кроме того, уменьшается количество воздуха, втекающего в колесную нишу 16, а также количество воздуха, вытекающего с боковых сторон колесной ниши 16. В частности, поскольку стопорные пазы 22 (и стопорный паз 32) расположены в нижней задней концевой части 16А, являющейся, другими словами, самой верхней относительно втекания воздушного потока F в колесную нишу 16 частью, количество воздуха, вытекающего с боковых сторон колесной ниши 16, далее уменьшается. По этим причинам в автомобиле S предотвращают нарушение воздушного потока Fs вдоль боковой поверхности, в результате чего вдоль боковой поверхности получают плавный воздушный поток Fs.
[0071] Благодаря вышеописанному в автомобиле S, на который установлены конструкции 21, 46 колесной ниши для транспортного средства, можно уменьшить сопротивление воздуха (значение коэффициента аэродинамического сопротивления (CD)), улучшить стабильность управления, снизить шум ветра, уменьшить забрызгивание (брызги воды, попадающие из под переднего колеса 15 и заднего колеса 45), и т.п., что достигается благодаря действию стопорных пазов 22 (и стопорного паза 32).
[0072] Также благодаря наличию перед стопорными пазами 22 направляющих пазов 40 в конструкции 21, 46 колесной ниши для транспортного средства появляется возможность регулирования воздушных потоков на внутренней стороне и на стороне колесной ниши 16. В частности, поскольку с помощью направляющих пазов 40 воздушный поток F в колесной нише 16 течет вдоль (параллельно) направления вращения переднего колеса 15 и заднего колеса 45, предотвращается нарушение воздушного потока в пределах колесной ниши 16 (приложение силы воздушного потока к переднему колесу 15 и заднему колесу 45). Далее, поскольку подавляется вытекание воздуха через боковую сторону колесной ниши 16, то есть колесной арки 12А, в автомобиле S получают плавный воздушный поток Fs.
[0073] Таким образом, в автомобиле S, на который установлены конструкции 21, 46 колесной ниши для транспортного средства, достигают снижения сопротивления воздуха, улучшают стабильность управления, уменьшают шум ветра, сокращают забрызгивание и т.п. также и благодаря действию направляющих пазов 40. Соответственно, в автомобиле S, в котором для передних колес 15 используют конструкции 21 колесной ниши для транспортного средства, а для задних колес 45 – конструкции 46 колесной ниши для транспортного средства, как показано на Фиг.10(А), и на передней части и на задней части кузова В транспортного средства получают плавные воздушные потоки Ff, Fs, не имеющие выдуваний, приводящих к нарушению воздушных потоков на боковых поверхностях и под днищем кузова, так же эти потоки плавно сливаются на задней стороне кузова В транспортного средства (стрелка Fj).
[0074] Для дополнительного разъяснения с помощью сопоставления с приведенным для сравнения примером, показанным на Фиг.10(В), в приведенном для сравнения примере 230, не снабженном конструкциями 21, 46 колесной ниши для транспортного средства, в колесных нишах 16 создаются воздушные потоки F, вызванные вращением передних колес 15 и задних колес 45, и их течение приводит к нарушению воздушного потока Ff под днищем кузова непосредственно позади передних колес 15 и задних колес 45 (участки, где создаются воздушные потоки в колесные ниши 16). Воздушные потоки F, втекающие в колесные ниши 16, проходят через колесные дуги 12А, выходят наружу в боковые стороны кузова транспортного средства и приводят к нарушению воздушных потоков Fs. По этим причинам нарушение происходит также и в потоке Fj, в который сливаются потоки на задней стороне кузова В транспортного средства.
[0075] И наоборот, в автомобиле S, на который установлены вышеописанные конструкции 21, 46 колесной ниши для транспортного средства, втекание воздуха в колесные ниши 16 с задней стороны передних колес 15 и задних колес 45 подавляют посредством стопорных пазов 22 и стопорных пазов 32, а воздушные потоки, втекающие в колесные ниши 16, регулируют с помощью направляющих пазов 40. Следовательно, как описано выше, обеспечивается возможность снижения сопротивления воздуха, улучшается стабильность управления, уменьшается шум ветра, снижается разбрызгивание и т.п.
[0076] В частности, поскольку в конструкциях 21, 46 колесной ниши для транспортного средства выполнены непрерывно следующие друг за другом множественные стопорные пазы 22 (и стопорный паз 32), втекание воздуха в колесные ниши 16 с задней стороны передних колес 15 и задних колес 45 может быть подавлено еще более эффективно. Далее, поскольку направляющие пазы 40 не соединены со стопорными пазами 22, воздух из стопорных пазов 22 не течет в направляющие пазы 40, и давление в стопорных пазах 22 не снижается, то можно достичь как эффекта подавления втекания воздушных потоков F в колесные ниши 16, так и эффекта регулирования воздушных потоков F, которые уже втекли в колесные ниши 16.
[0077] Далее, поскольку стопорные пазы 22 и направляющие пазы 40 в конструкциях 21, 46 колесной ниши для транспортного средства размещают таким образом, чтобы они были вогнутыми относительно общей поверхности 19D прокладки 19 крыла, не возникает проблемы касания с передним колесом 15 и с задним колесом 45. Соответственно, в конструкциях 21, 46 колесной ниши для транспортного средства отсутствуют ограничения, связанные с необходимостью предотвращения касания с передним колесом 15 и задним колесом 45, поэтому стопорные пазы 22 и направляющие пазы 40 могут быть сконструированы исходя из параметров, требуемых с точки зрения аэродинамики. С другой стороны, поскольку открытые плоскости открытых частей 22А стопорных пазов 22 (стопорного паза 32), по существу, совпадают с нижним задним концевым участком 19В прокладки 19 крыла, пространства, имеющиеся между стопорными пазами 22 и передним колесом 15 и стопорными пазами 22 и задним колесом 45, не слишком велики, что позволяет создать между ними повышенное давление и надежно осуществлять подавление втекания воздушного потока F в колесную нишу 16.
[0078] (Пятый вариант осуществления) Основные части конструкции 50 колесной ниши для транспортного средства согласно пятому варианту осуществления настоящего изобретения показаны в аксонометрии на Фиг.12. Как видно на чертеже, конструкция 50 колесной ниши для транспортного средства отличается от конструкции 21 колесной ниши для транспортного средства согласно третьему варианту осуществления тем, что соответствующие стопорные пазы 22 и стопорный паз 32 разделены в продольном направлении транспортного средства ребрами 52, 54.
[0079] В этом варианте осуществления на каждом стопорном пазе 22 размещают несколько (два) ребер 52, и каждый стопорный паз 22 разделен на 3 отдельных стопорных паза 22D. Далее, на стопорном пазе 32 размещают несколько (два) ребер 54, и каждый стопорный паз 32 разделен на 3 отдельных стопорных паза 32D. Ребра 52 выполнены как единое целое с прокладкой 19 крыла, а ребра 54 выполнены как единое целое с задним обтекателем 30. Другие (не показанные) части конструкции 50 колесной ниши для транспортного средства аналогичны соответствующим частям конструкции 21 колесной ниши для транспортного средства.
[0080] Соответственно, при использовании конструкции колесной дуги 50 для транспортного средства согласно пятому варианту осуществления можно получить, по существу, сходные эффекты, поскольку ее действие сходно с действием конструкции 21 колесной ниши для транспортного средства. Далее, поскольку в конструкции 50 колесной ниши для транспортного средства стопорные пазы 22 и стопорный паз 32 разделены в поперечном направлении транспортного средства ребрами 52 и ребрами 54, движение воздуха, в поперечном направлении транспортного средства, во внутренней части ограничено, и легко поддерживать рост давления, обусловленный столкновением воздушного потока F с направляющими пазообразующими стенками 24 и направляющей поверхностью 34. Благодаря этому втекание воздушного потока F в колесную нишу 16 с задней стороны переднего колеса 15 может быть подавлено еще более эффективно.
[0081] Аналогичные эксплуатационные результаты (описание которых в данном случае опущено) могут быть получены даже в том случае, когда ребра 52 выполнены на прокладке 48 крыла, образующей конструкцию 46 колесной ниши для транспортного средства.
[0082] (Шестой вариант осуществления) Основные части конструкции 60 колесной ниши для транспортного средства согласно шестому варианту осуществления показаны на виде сбоку, представленном на Фиг.13. Как показано на чертеже, конструкция 60 колесной ниши для транспортного средства отличается от конструкции 21 колесной ниши для транспортного средства согласно третьему варианту осуществления тем, что в конструкции 60 колесной ниши для транспортного средства вместо заднего обтекателя 30 выполняют задний обтекатель 62.
[0083] Задний обтекатель 62 выполнен в виде пластины из резины или аналогичного материала и обладает гибкостью. Задний обтекатель 62 имеет направляющую поверхность 34 и совместно с удлиненной частью 11С (опоры 11) образует стопорный паз 32 и выполняет ту же функцию, что и задний обтекатель 30. На заднем обтекателе 62 можно предусмотреть боковые стенки 38, но предпочтительно боковые стенки 38 предусматривают на прокладке 19 крыла, опоре 11, не показанной отделке крыла и т.п. Другие части конструкции 60 колесной ниши для транспортного средства не показаны и аналогичны соответствующим частям конструкции 21 колесной ниши для транспортного средства.
[0084] Соответственно, при использовании конструкции 60 колесной ниши для транспортного средства согласно шестому варианту осуществления можно достичь, по существу, аналогичных эффектов, поскольку ее действие сходно с действием конструкции 21 колесной ниши для транспортного средства. Далее, поскольку в конструкции 60 колесной ниши для транспортного средства стопорный паз 32 выполнен на заднем обтекателе 62, который является гибким, стопорный паз 32 может представлять собой более простую конструкцию по сравнению со случаем, когда применяется задний обтекатель 30, имеющий трехмерную форму. Кроме того, задний обтекатель 62 менее подвержен повреждению, например, летящими вверх камнями и т.п.
[0085] (Седьмой вариант осуществления) Основные части конструкции 70 колесной ниши для транспортного средства согласно седьмому варианту осуществления настоящего изобретения показаны на виде сбоку, представленном на Фиг.14. Как показано на этом чертеже, конструкция 70 колесной ниши для транспортного средства отличается от конструкции 21 колесной ниши для транспортного средства согласно третьему варианту осуществления тем, что в конструкции 70 колесной ниши для транспортного средства вместо заднего обтекателя 30, который совместно с опорой 11 образует стопорный паз 32, предусмотрен обтекатель 72, который сам образует стопорный паз 32.
[0086] Задний обтекатель 72 выполнен таким образом, что удлиненный участок 76, имеющий стопорную поверхность 36, проходит в направлении переднего колеса 15 от верхнего переднего конца 74А части 74 основного тела, имеющей направляющую поверхность 34. Задний обтекатель 72 выполнен из резины или аналогичного материала, а нижняя передняя часть 74В части 74 основного тела (направляющая поверхность 34) и удлиненный участок 76 выполнены гибкими. В этом варианте осуществления нижняя передняя часть 74В части 74 основного тела и удлиненный участок 76 выступают вперед, в направлении переднего колеса 15, далее, чем открытые участки 22А стопорных пазов 22 (общей поверхности 19D прокладки 19 крыла).
[0087] Две боковые стенки 38 выполнены как единое целое с обтекателем и из того же материала, таким образом, что они соединяют удлиненный участок 76 и боковые краевые части направляющей поверхности 34 на части 74 основного тела. Соответственно, в заднем обтекателе 72 боковые стенки 38 также являются гибкими. Боковые стенки 38 могут быть выполнены имеющими, например, тонкие по сравнению с удлиненным участком 76 стенки и т.п. Другие (не показанные) части конструкции 70 колесной ниши для транспортного средства аналогичны соответствующим частям конструкции 21 колесной ниши для транспортного средства.
[0088] Соответственно, используя конструкцию 70 колесной ниши для транспортного средства согласно седьмому варианту осуществления, можно достигнуть, по существу, сходных эффектов благодаря действию, сходному с действием конструкции 21 колесной ниши для транспортного средства. Далее, поскольку в конструкции 70 колесной ниши для транспортного средства нижняя передняя часть 74В, удлиненный участок 76 и боковые стенки 38 части 74 основного тела являются, соответственно, гибкими, даже если произойдет касание с передним колесом 15, оно не нанесет повреждения части 74 основного тела и удлиненному участку 76. Таким образом, можно реализовать конструкцию, в которой нижний передний участок 74В части 74 основного тела и удлиненный участок 76, то есть стопорный паз 32, расположены рядом с передним колесом 15. Благодаря этому в конструкции 70 колесной ниши для транспортного средства втекание воздушного потока F в колесную нишу 16 может быть подавлено еще более эффективно на самом верхнем по направлению втекания воздушного потока F в колесную нишу 16 участке (входном участке), на задней стороне переднего колеса 15. Кроме того, задний обтекатель 72 трудно повредить посредством, например, летящих вверх камней или т.п.
[0089] (Восьмой вариант осуществления) Основные элементы конструкции 80 колесной ниши для транспортного средства согласно восьмому варианту осуществления настоящего изобретения в аксонометрии показаны на Фиг.15. Как показано на чертеже, конструкция 80 колесной ниши для транспортного средства отличается от конструкции 70 согласно восьмому варианту осуществления тем, что в конструкции 80 колесной ниши для транспортного средства вместо заднего обтекателя 72, выполненного в виде единого элемента, изготовленного из резины или аналогичного материала, предусматривают задний обтекатель 82, состоящий из большого количества длинных и узких линейных элементов.
[0090] Задний обтекатель 82 выполнен таким образом, что в нем предусмотрены основной элемент 84, прикрепленный к опоре 11, направляющий участок 86, удлиненный участок 76 и боковые стенки 38, выполненные, соответственно, из большого количества щетинок, нижняя часть которых встроена в основной элемент 84. Поверхность направляющего участка 86, направленная вперед и вверх, является направляющей поверхностью 34. Другие (не показанные) части конструкции 80 колесной ниши для транспортного средства аналогичны соответствующим частям конструкции 70 колесной ниши для транспортного средства.
[0091] Соответственно, при использовании конструкции 80 колесной ниши для транспортного средства согласно восьмому варианту осуществления можно достигнуть, по существу, сходных эффектов благодаря действию, сходному с действием конструкции 70 колесной ниши для транспортного средства. Кроме того, поскольку в конструкции 80 колесной ниши для транспортного средства направляющий участок 86 (направляющая поверхность 34), удлиненный участок 76 и боковые стенки 38 соответственно выполнены в форме щетки из большого количества щетинок, повреждение может быть предотвращено даже в случае касания с передним колесом 15.
[0092] (Девятый вариант осуществления) Основные элементы конструкции 90 колесной ниши для транспортного средства согласно девятому варианту осуществления настоящего изобретения показаны на Фиг.16, на виде сбоку в разрезе, соответствующем виду, представленному на Фиг.6. Как показано на чертеже, конструкция 90 колесной ниши для транспортного средства отличается от конструкции 21 колесной ниши для транспортного средства согласно третьему варианту осуществления тем, что вместо множественных стопорных пазов 22 в прокладке 19 крыла сформирован стопорный паз 92, представляющий собой один паз, выполненный в поперечном направлении транспортного средства.
[0093] Ширина раскрытия открытой части 92А стопорного паза 92 в периферийном направлении соответствует ширине области расположения множественных стопорных пазов 22 в конструкции 21 колесной ниши для транспортного средства. В частности, нижний край 92В открытой части 92А стопорного паза 92, по существу, совпадает с нижней задней концевой частью 19В прокладки 19 крыла, а верхний край 92С расположен вблизи от ближних концов 40А направляющих пазов 40. Этот стопорный паз 92 выполнен по всей ширине прокладки 19 крыла, и оба его конца в поперечном направлении транспортного средства закрыты боковыми стенками 28. Другие (не показанные) части конструкции 90 колесной ниши для транспортного средства аналогичны соответствующим частям конструкции 21 колесной ниши для транспортного средства.
[0094] Соответственно, при использовании конструкции 90 колесной ниши для транспортного средства согласно девятому варианту осуществления можно достигнуть, по существу, сходных эффектов благодаря действию, сходному с действием конструкции 21 колесной ниши для транспортного средства. Следует отметить, что в девятом варианте осуществления показан пример, согласно которому в области выполнения нескольких стопорных пазов 22 выполнен один большой стопорный паз 92. Однако данное обстоятельство не ограничивает настоящее изобретение и, например, возможно осуществление конструкции, в которой предусмотрен один стопорный паз 92, размеры которого аналогичны размерам стопорного паза 22 или размеры которого находятся в между размером стопорного паза 22 и размером стопорного паза 92.
[0095] (Десятый вариант осуществления) Основные части конструкции 100 колесной ниши для транспортного средства согласно десятому варианту осуществления настоящего изобретения показаны на Фиг.17, на виде сбоку в разрезе, соответствующем представленному на Фиг.6. Как показано на чертеже, конструкция 100 колесной ниши для транспортного средства отличается от конструкции 21 колесной ниши для транспортного средства согласно третьему варианту осуществления тем, что в конструкции 100 колесной ниши для транспортного средства предусматривают и стопорный паз 102, представляющий собой один направленный в поперечном направлении паз, и стационарный аэродинамический стабилизатор 10, представляющий собой ступенчатый элемент.
[0096] Стопорный паз 102 выполнен на прокладке 19 крыла непрерывно с верхней в вертикальном направлении кузова транспортного средства стороной стационарного аэродинамического стабилизатора 10. В частности, нижний конец 102В открытой части 102А стопорного паза 102, по существу, совпадает с концом стационарного аэродинамического стабилизатора 10 на стороне переднего колеса 15. Далее, верхний конец 102С открытой части 102А расположен вблизи от ближних концов 40А направляющих пазов 40.
[0097] Стопорный паз 102 и стационарный аэродинамический стабилизатор 10 соответственно выполнены по всей ширине прокладки 19 крыла, и оба их торцевых конца, разнесенных в поперечном направлении транспортного средства, закрыты боковыми стенками 28. Другими словами, стационарный аэродинамический стабилизатор 10 в этом варианте осуществления может выступать в качестве стопорного паза (направленного в поперечном направлении), у которого положение нижнего края 10В открытого участка 10А находится далее от переднего колеса 15 по сравнению с общей поверхностью 19D прокладки 19 крыла. Другие (не показанные) части конструкции 100 колесной ниши для транспортного средства аналогичны соответствующим частям конструкции 21 колесной ниши для транспортного средства.
[0098] Соответственно, при использовании конструкции 100 колесной ниши для транспортного средства согласно десятому варианту осуществления можно достигнуть, по существу, сходных эффектов благодаря действию, сходному с действием стационарного аэродинамического стабилизатора 10 согласно первому варианту осуществления и действием конструкции 21 колесной дуги для транспортного средства согласно третьему варианту осуществления. Следует отметить, что в десятом варианте осуществления приведен пример, в котором объединяют один стопорный паз 102 и стационарный аэродинамический стабилизатор 10, но этот вариант осуществления не ограничивает объем настоящего изобретения и, например, возможно выполнение конструкции, содержащей как стопорные пазы 22, так и стационарный аэродинамический стабилизатор 10.
[0099] Следует отметить, что в каждом из вышеописанных с третьего по восьмой вариантах осуществления показан пример, в котором в конструкции 46 колесной ниши для транспортного средства для заднего колеса 45 не предусмотрено наличие заднего обтекателя 30 и заднего обтекателя 62, 72, 82. Однако настоящее изобретение этим не ограничено, и, например, возможна конструкция, в которой в конструкции 46 колесной ниши для транспортного средства предусмотрен задний обтекатель 62, 72, 82. Очевидно, что стационарный аэродинамический стабилизатор 10, 20 или конструкцию 90, 100 колесной ниши для транспортного средства можно применить к заднему колесу 45. Этот случай не ограничен конструкцией, в которой одинаковые стационарные аэродинамические стабилизаторы 10 или аналогичные и конструкции 21 колесной ниши или аналогичные предусматривают на всех колесах. Возможны различные типы комбинаций, например конструкции 21 колесной ниши для транспортного средства предусматривают на передних колесах 15, а стационарные аэродинамические стабилизаторы 10 предусматривают на задних колесах. Также, очевидно, что можно предусмотреть стационарные аэродинамические стабилизаторы 10 или аналогичные, конструкции 21 колесной ниши или аналогичные для транспортного средства только на задних колесах.
[0100] В каждом из вышеописанных с третьего по девятый вариантов осуществления приведен пример, в котором стопорные пазы 22, 92 располагают в нижней задней концевой части 16А колесной ниши 16. Однако настоящее изобретение этим не ограничено, и стопорные пазы 22 могут быть расположены в любой части сзади в продольном направлении кузова транспортного средства от оси RC вращения переднего колеса 15.
[0101] В каждом из вышеописанных с третьего по десятый вариантов осуществления показан пример, в котором стопорные пазы 22, 92, 102 выполняют на прокладке 19 крыла, а стопорный паз 32 выполняют с использованием заднего обтекателя 30, 62 и опоры 11 или выполняют на заднем обтекателе 72, 82. Однако настоящее изобретение этим не ограничено и, например, направляющие поверхности 34 и стопорную поверхность 36 (т.е. стопорный паз 32) можно выполнить на передней концевой части опоры 11, или, например, в конструкции, снабженной брызговиком, в таком случае стопорные пазы 22, 32 можно сформировать на брызговике.
Номера ссылочных позиций
[0102]
10 – стационарный аэродинамический стабилизатор (конструкция колесной ниши для транспортного средства);
11 – опора (конструктивный элемент кузова транспортного средства);
14А – вертикальный участок стенки (конструктивный элемент кузова транспортного средства);
15 – переднее колесо (колесо);
16 – колесная ниша;
19 – прокладка крыла (конструктивный элемент кузова транспортного средства);
20 – стационарный аэродинамический стабилизатор (конструкция колесной ниши для транспортного средства);
21 – конструкция колесной ниши для транспортного средства;
22, 32 – стопорный паз (паз, выполненный в поперечном направлении);
24 – направляющая пазообразующая стенка (наклонная пазообразующая стенка);
26 – стопорная пазообразующая стенка (пазообразующая стенка перекрытия воздушного потока);
34 – направляющая поверхность (наклонная пазообразующая стенка);
36 – стопорная поверхность (пазообразующая стенка перекрытия воздушного потока);
40 – направляющий паз (паз, выполненный в периферическом направлении);
45 – заднее колесо (колесо);
46, 50, 60, 70, 80, 90, 100 – конструкция колесной ниши для транспортного средства;
52, 54 – ребро;
92, 102 – стопорный паз (паз, выполненный в поперечном направлении).
Формула изобретения
1. Аэродинамическая конструкция для транспортного средства, содержащая ступенчатый элемент, имеющий пазообразующую стенку перекрытия воздушного потока, обращенную вниз в вертикальном направлении транспортного средства, причем указанный ступенчатый элемент расположен в колесной нише, сзади от оси вращения колеса в продольном направлении транспортного средства, в которой указанный ступенчатый элемент также содержит направляющую воздушный поток стенку, проходящую вниз в вертикальном направлении транспортного средства от заднего в продольном направлении транспортного средства конца указанной пазообразующей стенки перекрытия воздушного потока, причем эта направляющая воздушный поток стенка выполнена с возможностью направления воздушного потока, образующегося с наружной в радиальном направлении стороны колеса при его вращении, к пазообразующей стенке перекрытия воздушного потока.
2. Аэродинамическая конструкция для транспортного средства, содержащая аэродинамический стабилизатор, который предназначен для регулирования воздушного потока, сопутствующего вращению колеса, предусмотрен в колесной нише, сзади от оси вращения колеса в продольном направлении транспортного средства и выполнен в виде ступенчатого элемента, который содержит обращенную вниз в вертикальном направлении транспортного средства пазообразующую стенку перекрытия воздушного потока и расположен на конструктивном элементе кузова транспортного средства, проходящем в вертикальном направлении транспортного средства, причем указанный ступенчатый элемент также содержит направляющую воздушный поток стенку, проходящую вниз в вертикальном направлении транспортного средства от заднего в продольном направлении транспортного средства конца указанной пазообразующей стенке перекрытия воздушного потока, причем эта направляющая воздушный поток стенка выполнена с возможностью направления воздушного потока, образующегося с наружной в радиальном направлении стороны колеса при его вращении, к пазообразующей стенке перекрытия воздушного потока.
3. Конструкция по п.1 или 2, в которой указанный ступенчатый элемент выполнен в поперечном направлении транспортного средства и расположен сзади от колеса в продольном направлении транспортного средства.
4. Конструкция по п.3, в которой указанный ступенчатый элемент образует паз, проходящий в поперечном направлении транспортного средства и открытый в направлении колеса, при этом указанная направляющая воздушный поток стенка наклонена таким образом, что ее нижний в вертикальном направлении транспортного средства конец расположен ближе к колесу, чем ее верхний конец.
5. Аэродинамическая конструкция для транспортного средства, содержащая поперечный паз, который проходит в поперечном направлении транспортного средства, выполнен только сзади в продольном направлении транспортного средства от вала вращения колеса с внутренней стороны колесной ниши, в которой размещено колесо, и открыт в направлении колеса, причем указанный поперечный паз содержит: направляющую пазообразующую стенку, проходящую наклонно от конца его открытой обращенной к колесу части в направлении потока, т.е. в направлении вращения колеса, с постепенным удалением от внешней периферической поверхности колеса; и пазообразующую стенку перекрытия воздушного потока, проходящую от того конца направляющей пазообразующей стенки, который удален наружу от внешней периферической поверхности колеса, к другому концу указанной открытой части.
6. Конструкция по п.5, в которой указанный поперечный паз выполнен с задней в продольном направлении транспортного средства стороны колесной ниши и содержит: направляющую пазообразующую стенку, проходящую назад в продольном направлении транспортного средства и вверх в вертикальном направлении транспортного средства от нижнего в вертикальном направлении транспортного средства конца открытой части этого паза; и пазообразующую стенку перекрытия воздушного потока, проходящую вперед в продольном направлении транспортного средства от верхнего заднего конца направляющей пазообразующей стенки.
7. Аэродинамическая конструкция для транспортного средства, содержащая поперечный паз, который проходит в поперечном направлении транспортного средства, выполнен на участке, расположенном сзади в продольном направлении транспортного средства от колеса, с внутренней стороны колесной ниши, внутри которой размещено колесо, и открыт в направлении колеса, причем этот поперечный паз содержит: направляющую пазообразующую стенку, проходящую назад в продольном направлении транспортного средства и вверх в вертикальном направлении транспортного средства от нижнего в вертикальном направлении транспортного средства конца открытой части этого паза; и пазообразующую стенку перекрытия воздушного потока, проходящую вперед в продольном направлении транспортного средства от верхнего заднего конца направляющей пазообразующей стенки.
8. Конструкция по любому из пп.4-7, в которой оба торцевых конца поперечного паза, разнесенные в поперечном направлении транспортного средства, являются закрытыми.
9. Конструкция по любому из пп.4-7, в которой поперечный паз включает в себя группу поперечных пазов, которые разделены ребрами, проходящими в поперечном направлении транспортного средства, и расположены друг за другом в поперечном направлении транспортного средства.
10. Конструкция по любому из пп.4-7, содержащая группу поперечных пазов, проходящих в периферическом направлении колесной ниши.
11. Конструкция по любому из пп.4-7, в которой имеется окружной паз, открытый к внешней периферической поверхности колеса и проходящий в периферическом направлении колесной ниши к ее переднему концу от переднего в продольном направлении транспортного средства конца поперечного паза или ступенчатого элемента, выполненных с внутренней стороны колесной ниши, или от верхнего в вертикальном направлении транспортного средства конца указанных поперечного паза или ступенчатого элемента.
12. Конструкция по п.11, в которой открытый участок окружного паза, расположенный с его заднего в продольном направлении транспортного средства конца или его нижнего в вертикальном направлении транспортного средства конца, находится с передней стороны в продольном направлении транспортного средства или верхней стороны в вертикальном направлении транспортного средства открытого участка поперечного паза, расположенного с передней стороны в продольном направлении транспортного средства или верхней стороны в вертикальном направлении транспортного средства.
РИСУНКИ
|
|