|
|
(21), (22) Заявка: 2009114638/11, 17.04.2009
(24) Дата начала отсчета срока действия патента:
17.04.2009
(46) Опубликовано: 20.06.2010
(56) Список документов, цитированных в отчете о поиске:
RU 2342275 C1, 27.12.2008. US 4041678 A, 16.08.1977. WO 2004014119 A1, 19.02.2004. FR 2541960 A1, 07.09.1984. DE 3527192 A1, 12.02.1987. US 3203500 A, 31.08.1965. SU 1708685 A1, 30.01.1992.
Адрес для переписки:
625001, г.Тюмень, ул. Ямская, 75, кв.2, А.И. Соловьёву
|
(72) Автор(ы):
Соловьёв Анатолий Иванович (RU), Соловьёв Сергей Анатольевич (RU), Соловьёва Елена Анатольевна (RU)
(73) Патентообладатель(и):
Соловьёв Анатолий Иванович (RU), Соловьёв Сергей Анатольевич (RU), Соловьёва Елена Анатольевна (RU)
|
(54) ЦЕНТРАЛЬНЫЙ РЕДУКТОР КОЛЕСНОГО ТРАНСПОРТНОГО СРЕДСТВА
(57) Реферат:
Изобретение относится к колесным транспортным средствам со всеми ведущими управляемыми полноповоротными колесами и кузовом. Колесное транспортное средство содержит колесную платформу 1 с четырьмя колесными парами 2, поворотный относительно нее кузов 3, башню 4 с механизмом стабилизации ее положения, опорные ролики 5, двигатель со сцеплением и коробкой передач 6, центральный редуктор 13, трансмиссию, привод управления, два механизма обеспечения возможности движения по двум колеям, тормоза, амортизацию колес. Поворот кузова 3 относительно центральной вертикальной оси 8 колесной платформы 1 осуществляется от рулевого колеса 9 с валом через цепную передачу 10 и червячный редуктор 11 на коническую шестерню 12 центрального редуктора 13. Поворот колесных пар 2 в ту же сторону и на такой же угол, что и кузов 3, происходит от нижнего конического зубчатого колеса 15, находящегося в постоянном зацеплении с шестерней 12 при ее вращении. Нижнее коническое зубчатое колесо 15 соединено трубой 16 с ведущими звездочками 17 и 19 двух цепных передач 18, передающих вращение на ведомые звездочки 20, обеспечивая поворот колесных пар 2. В гидросистеме рабочего тормоза тормозная жидкость из бачка и главного тормозного цилиндра по трубопроводам подается к центральному передатчику, далее жидкость через отверстие подается в специальный канал центральной вертикальной оси 8, из которого через четыре раздаточных штуцера идет к колесным тормозным цилиндрам. Стабилизация положения башни 4 достигается путем соединения ее с помощью зубчатой муфты сцепления 33 с коническим зубчатым колесом 14, жестко соединенным центральной вертикальной осью 8 с корпусом колесной платформы 1. Ведущая зубчатая полумуфта жестко соединена с верхним коническим зубчатым колесом 14, а ведомая полумуфта установлена на валу 34, жестко соединенном с башней 4, подвижно без вращения и имеет два фиксированных положения: нижнее I – включения, а верхнее II – выключения стабилизации положения башни. Достигается изменение и упрощение конструкции привода управления и механизма стабилизации положения башни. 2 ил.
Изобретение относится к колесным транспортным средствам (КТС) со всеми ведущими управляемыми полноповоротными колесами и кузовом.
За прототип принято техническое решение по патентам на изобретение РФ 2291808, 2003. «Колесное транспортное средство» и 2342275, 2008. «Механизмы колесного транспортного средства».
КТС содержит колесную платформу с четырьмя колесными парами, поворотный относительно нее кузов, башню с механизмом стабилизации ее положения, двигатель со сцеплением и коробкой передач, центральный редуктор, трансмиссию, привод управления, два механизма возможности движения по двум колеям, амортизацию и тормоза. Между колесной платформой и кузовом установлены опорные ролики. Трансмиссия обеспечивает передачу крутящего момента от двигателя к колесным парам через первую коническую зубчатую передачу центрального редуктора, ведомое колесо которой соединено с солнечным коническим зубчатым колесом, дальше к каждой колесной паре через две конические зубчатые передачи, соединенные валом, на ведущий вал межколесного дифференциала колесных пар. Поворот кузова относительно колесной платформы производится от рулевого колеса с валом через цепную передачу и червячный редуктор на вторую коническую зубчатую передачу центрального редуктора, ведомое колесо которой соединено с колесной платформой. Привод поворота колес включает механизм отключения от поворота и фиксации двух задних колесных пар для обеспечения возможности движения КТС по двум колеям. Поворот колесных пар обеспечивается при повороте кузова относительно колесной платформы посредством соединенного с ним нижнего вала центрального редуктора и двух цепных передач. Нижняя ведущая звездочка установлена на этом валу жестко, а верхняя установлена на нем свободно и может перемещаться по нему вверх и вниз, выполняя роль двусторонней кулачковой муфты сцепления. Для этого на ее боковых поверхностях имеются дополнительные зубья (кулачки), такие же как и на верхней поверхности нижней звездочки и верхней части колесной платформы. При нижнем ее положении она соединяется с нижней звездочкой, обеспечивая поворот всех колес, а при верхнем положении она соединяется с колесной платформой, исключая поворот двух задних колес. Вторым механизмом обеспечения возможности движения по двум колеям является ограничитель поворота кузова и двух управляемых колесных пар на угол до 180°, состоящий из двух упоров на колесной платформе и одного подвижного пальца, установленного на днище кузова. Амортизация колес осуществляется установкой пружинных рессор и амортизаторов на телескопические поворотные колонки колесных пар. Рабочий тормоз гидравлического типа обеспечивает торможение всех колес, педаль которого установлена в кабине. Стояночный тормоз механического типа установлен между коробкой передач и первой конической зубчатой передачей центрального редуктора. Стабилизация башни относительно сторон света достигается при поворотах КТС путем поворота ее относительно кузова в обратную сторону и на такой же угол с помощью дополнительных цилиндрической и конической зубчатых передач в центральном редукторе.
Недостатком прототипа является сложность конструкции механизма стабилизации положения башни.
Технический результат изобретения – изменение и упрощение конструкции привода управления, механизма стабилизации положения башни и рабочих тормозов.
Заявленная конструкция КТС содержит колесную платформу с четырьмя колесными парами, поворотный относительно нее кузов, башню с механизмом стабилизации ее положения, опорные ролики, двигатель со сцеплением и коробкой передач, центральный редуктор, трансмиссию, привод управления, два механизма обеспечения возможности движения по двум колеям, тормоза, амортизацию колес. Поворот кузова относительно центральной вертикальной оси колесной платформы осуществляется от рулевого колеса с валом через цепную передачу и червячный редуктор на вертикальную коническую шестерню центрального редуктора. Эта шестерня находится в постоянном зацеплении с верхним коническим зубчатым колесом, жестко соединенным центральной вертикальной осью с корпусом колесной платформы. Поворот всех колесных пар в ту же сторону и на такой же угол, что и кузов, происходит от нижнего конического зубчатого колеса, находящегося в постоянном зацеплении с той же вертикальной шестерней при ее вращении. При этом зубчатое колесо соединено трубой с ведущими звездочками двух цепных передач, которые передают вращение на поворотные колонки, обеспечивая поворот колесных пар. В гидросистеме рабочего тормоза тормозная жидкость из бачка и главного тормозного цилиндра по трубопроводам подается к центральному передатчику, установленному на центральной вертикальной оси центрального редуктора. Далее тормозная жидкость проходит по специальному каналу в центральной вертикальной оси и выходит через четыре раздаточных штуцера к колесным тормозным цилиндрам. Стабилизация положения башни относительно сторон света в горизонтальной плоскости при маневрировании средства достигается путем соединения ее с помощью зубчатой муфты сцепления с верхним коническим зубчатым колесом, жестко соединенным центральной вертикальной осью с нижней частью корпуса колесной платформы. При этом ведущая зубчатая полумуфта жестко соединена с коническим колесом, а ведомая полумуфта установлена на валу, жестко соединенном с башней, подвижно без вращения и имеет два фиксированных положения: нижнее I – включения, а верхнее II – выключения стабилизации положения башни.
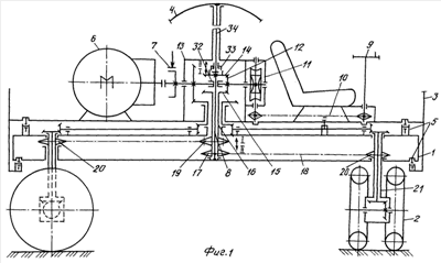
Конструкция КТС поясняется чертежами, где представлено: на фиг.1 – кинематическая схема основных механизмов (вид сбоку без амортизации колес, правая колесная пара условно повернута на 90°); на фиг.2 – схема рабочего тормоза (вид сбоку).
В конструкции КТС без изменения, как у прототипа, остаются (фиг.1): общая компоновка, колесная платформа 1 с четырьмя колесными парами 2, кузов 3, башня 4, опорные ролики 5, двигатель со сцеплением и коробкой передач 6, трансмиссия, два механизма обеспечения возможности движения по двум колеям, ручной тормоз 7, амортизация колес.
Отличия конструкции КТС показаны на фиг.1, 2.
Изменен привод поворота кузова 3 относительно центральной вертикальной оси 8 колесной платформы 1. Поворота кузова осуществляется от рулевого колеса 9 с валом через цепную передачу 10 и червячный редуктор 11 на коническую шестерню 12 центрального редуктора 13. Шестерня 12 находится в постоянном зацеплении с двумя коническими зубчатыми колесами 14 и 15. Зубчатое колесо 14 жестко соединено центральной вертикальной осью 8 с нижней частью корпуса колесной платформы 1. При вращении рулевого колеса 9 коническая шестерня 12, обкатывая коническое зубчатое колесо 14, поворачивает кузов относительно колесной платформы 1. Число зубьев у конических зубчатых колес 14 и 15 должно быть одинаковым.
Изменен привод поворота колесных пар 2. Их поворот в ту же сторону и на такой же угол, что и кузов 3, происходит от конического зубчатого колеса 15 при вращении конической шестерни 12. Зубчатое колесо 15 жестко соединено трубой 16 с ведущей звездочкой 17 правой цепной передачи 18. Ведущая звездочка 19 левой цепной передачи установлена на трубе 16 свободно и может перемещаться по ней, выполняя роль двусторонней кулачковой муфты сцепления, за счет дополнительных зубьев (кулачков) на ее боковых поверхностях, таких же как на колесе 17 и верхней части корпуса колесной платформы 3. При нижнем ее положении она соединяется со звездочкой 17, передавая цепью вращение на ведомые звездочки 20, жестко соединенные с поворотными колонками 21, обеспечивая поворот всех колесных пар. При верхнем положении она выходит из зацепления со звездочкой 17, соединяясь с корпусом колесной платформы 3 и исключая поворот двух задних смежных колесных пар для обеспечения возможности движения КТС по двум колеям.
Изменена конструкция гидросистемы рабочего тормоза в центральной части КТС (фиг.2). При нажатии на педаль 22 тормозная жидкость из бачка 23 и главного тормозного цилиндра 24 по трубопроводу 25 подается к центральному передатчику 26. Центральный передатчик 26 установлен на опоре 32 горизонтальных валов и на центральной вертикальной оси 8 центрального редуктора 13. По устройству он идентичен колесным передатчикам 29 прототипа. Из внутренней полости центрального передатчика 26 жидкость через отверстие подается в специальный канал 27 центральной вертикальной оси 8. Далее через четыре резьбовых отверстия и раздаточные штуцера 28 в нижней части канала 27 она идет через передатчики 29 и гибкие шланги 30 к колесным тормозным механизмам 31.
Изменен и упрощен механизм стабилизации положения башни 4 (фиг.1). При этом использована особенность конструкции КТС – постоянная ориентация корпуса колесной платформы 1 относительно сторон света в горизонтальной плоскости при маневрировании. Поэтому стабилизация положения башни достигается путем соединения башни с помощью зубчатой муфты сцепления 33 с коническим зубчатым колесом 14, жестко соединенным центральной вертикальной осью 8 с нижней частью корпуса колесной платформы 1. При этом ведущая полумуфта жестко соединена с коническим зубчатым колесом 14, а ведомая зубчатая полумуфта установлена на валу 34, жестко соединенном с башней 4, подвижно без вращения. Эта полумуфта способна перемещаться вдоль вала 34 и имеет два фиксированных положения: нижнее I – включения, а верхнее II – выключения стабилизации положения башни 4.
Таким образом, по сравнению с прототипом такая конструкция механизма стабилизации положения башни позволяет заменить три зубчатых колеса одной зубчатой муфтой сцепления.
Такая конструкция привода управления и механизма стабилизации положения башни может быть использована на дистанционно управляемом КТС для повышения надежности и долговечности работы.
Формула изобретения
Колесное транспортное средство, содержащее колесную платформу 1 с четырьмя колесными парами 2, поворотный относительно нее кузов 3, башню 4 с механизмом стабилизации ее положения, опорные ролики 5, двигатель со сцеплением и коробкой передач 6, центральный редуктор 13, трансмиссию, привод управления, два механизма обеспечения возможности движения по двум колеям, тормоза, амортизацию колес, отличающееся тем, что поворот кузова 3 относительно центральной вертикальной оси 8 колесной платформы 1 осуществляется от рулевого колеса 9 с валом через цепную передачу 10 и червячный редуктор 11 на коническую шестерню 12 центрального редуктора 13, находящуюся в постоянном зацеплении с верхним коническим зубчатым колесом 14, жестко соединенным центральной вертикальной осью 8 с корпусом колесной платформы 1, поворот колесных пар 2 в ту же сторону и на такой же угол, что и кузов 3, происходит от нижнего конического зубчатого колеса 15, находящегося в постоянном зацеплении с шестерней 12 при ее вращении, при этом нижнее коническое зубчатое колесо 15 соединено трубой 16 с ведущими звездочками 17 и 19 двух цепных передач 18, передающих вращение на ведомые звездочки 20, обеспечивая поворот колесных пар 2, в гидросистеме рабочего тормоза тормозная жидкость из бачка 23 и главного тормозного цилиндра 24 по трубопроводам 25 подается к центральному передатчику 26, установленному на опоре 32 горизонтальных валов и центральной вертикальной оси 8 центрального редуктора 13, далее жидкость через отверстие подается в специальный канал 27 центральной вертикальной оси 8, из которого через четыре раздаточных штуцера 28 идет к колесным тормозным цилиндрам 31, стабилизация положения башни 4 относительно сторон света в горизонтальной плоскости при маневрировании средства достигается путем соединения ее с помощью зубчатой муфты сцепления 33 с верхним коническим зубчатым колесом 14, жестко соединенным центральной вертикальной осью 8 с корпусом колесной платформы 1, при этом ведущая зубчатая полумуфта жестко соединена с верхним коническим зубчатым колесом 14, а ведомая полумуфта установлена на валу 34, жестко соединенном с башней 4, подвижно без вращения и имеет два фиксированных положения: нижнее I – включения, а верхнее II – выключения стабилизации положения башни.
РИСУНКИ
|
|