|
|
(21), (22) Заявка: 2008136534/11, 10.09.2008
(24) Дата начала отсчета срока действия патента:
10.09.2008
(46) Опубликовано: 20.06.2010
(56) Список документов, цитированных в отчете о поиске:
RU 2271949 С2, 20.03.2006. RU 2294856 C1, 10.03.2007. RU 2025358 C1, 30.12.1994. EP 0878373 A2, 18.11.1998. RU 3117596 C1, 20.08.1998.
Адрес для переписки:
443066, г.Самара, 1-й Безымянный пер., 18, СамГУПС, патентный отдел
|
(72) Автор(ы):
Полевой Юрий Иосифович (RU), Вайшнарас Андрей Владимирович (RU)
(73) Патентообладатель(и):
Государственное образовательное учреждение высшего профессионального образования “Самарский государственный университет путей сообщения” (СамГУПС) (RU)
|
(54) СПОСОБ КОНТРОЛЯ СОСТОЯНИЯ РЕЛЬСОВОЙ ЛИНИИ И УСТРОЙСТВО ДЛЯ ЕГО ОСУЩЕСТВЛЕНИЯ
(57) Реферат:
Изобретение относится к железнодорожной технике, а именно к железнодорожной автоматике и телемеханике для интервального регулирования движения поездов. Способ контроля свободного состояния рельсовой линии заключается в том, что путевой генератор и приемник поочередно подключают к каждой рельсовой линии перегона, в рельсовую линию на одном конце подают сигнал переменного тока, а на другом конце его принимают, регистрируют напряжения приемных и токи питающих концов каждой рельсовой линии. Определяют соответствие тока питающего конца напряжению приемного, при их несоответствии фиксируют занятие рельсовой линии, а при соответствии – освобождение. Устройство контроля свободности рельсовой линии содержит генератор сигналов (15), счетчик импульсов (2), АЦП (20), регистры (25), блок памяти (26), дешифратор (3), элемент И (27). Дополнительно в него введены тактовый генератор (1), переключающее устройство (4), согласующие трансформаторы (5-9), ограничивающий резистор (16), полосовые фильтры (17), (21), выпрямители (18), (22), сглаживающие фильтры (19), (23) и триггер (29). Техническим результатом является повышение надежности контроля состояния рельсовой линии. 2 н.п. ф-лы, 2 ил.
Изобретение относится к железнодорожной технике, а именно к железнодорожной автоматике и телемеханике, и может быть использовано для регулирования движения поездов.
Известен способ контроля свободности рельсовой линии, заключающийся в том, что определяют количество свободных путевых участков на перегоне и сумму значений напряжений на этих же участках, а затем находят среднее арифметическое значение напряжений. Текущее значение каждого из участков сравнивают со средним арифметическим значением. При существенном отличии текущего значения от среднего арифметического фиксируют занятость путевого участка, в противном случае – свободность [Патент РФ 2025358, МПК B61L 23/16. Способ контроля свободности путевых участков и устройство для его осуществления. Авторы: Полевой Ю.И., Стрельцов С.К., Мазалова И.В., Кравцова Н.А., БИ 24, 1994 г.].
Недостатком этого способа является то, что при наличии значительной продольной асимметрии возможен ложный контроль состояния путевых участков.
Известен способ контроля свободного состояния рельсовой линии, заключающийся в том, что в рельсовую линию на одном конце подают сигнал переменного тока, а на другом конце его принимают. При этом зарегистрированные текущие значения сигналов сравнивают с пороговыми значениями занятия и освобождения. Путевой генератор и приемник поочередно подключают к каждой рельсовой линии перегона и регистрируют напряжение приемного и ток питающего концов каждой рельсовой линии. Занятие рельсовой линии фиксируют при превышении тока источника питания, подключенного на входном конце, над пороговым значением, которое соответствует току источника питания при наложении на этот конец нормативного шунта при сухом балласте, а освобождение фиксируют, когда напряжение приемного конца и ток питающего конца достигают соответствующих друг другу пороговых значений освобождения, которые для каждого из сопротивлений балласта определяют путем наложения шунта на расстоянии защитного участка и измерения значения тока источника питания, включенного на выходном конце рельсовой линии, и напряжения на входе приемника, включенного на другом конце. [Патент РФ 2271949, МПК B61L 23/16. Способ контроля свободности путевых участков. Авторы: Полевой Ю.И., Полевая Л.В., Трошина М.В. БИ 8, 2004 г.].
Недостатком этого способа является то, что при пониженном сопротивлении изоляции возможен ложный контроль состояния путевых участков.
Данное техническое решение выбрано в качестве прототипа.
Известно устройство контроля свободности рельсовой линии, содержащее генератор импульсов, два счетчика импульсов, пять триггеров, мультиплексор, аналого-цифровой преобразователь, сумматор, блок памяти, два регистра, субтрактор, демультиплексор [Патент РФ 2025358. Способ контроля свободности путевых участков и устройство для его осуществления, авторы Полевой Ю.И., Стрельцов С.К., Мазалова И.А., Кравцова Н.А., БИ 24, 1994 г.].
Недостатком данного устройства является низкая надежность работы при пониженном сопротивлении изоляции.
Техническим результатом является повышение надежности контроля состояния рельсовой линии.
Технический результат достигается тем, что путевой генератор и приемник поочередно подключают к каждой рельсовой линии перегона, в рельсовую линию на одном конце подают сигнал переменного тока, а на другом конце его принимают, регистрируют напряжения приемных и токи питающих концов каждой рельсовой линии, причем определяют соответствие тока питающего конца напряжению приемного, при их несоответствии фиксируют занятие рельсовой линии, а при соответствии – освобождение.
Устройство контроля состояния рельсовой линии, содержащее генератор сигналов, счетчик импульсов, АЦП, регистры, блок памяти, дешифратор, элемент И, дополнительно содержит тактовый генератор, переключающее устройство, согласующие трансформаторы, ограничивающий резистор, полосовые фильтры, выпрямители, сглаживающие фильтры и триггер, причем выход тактового генератора подсоединен к входу счетчика, выходы которого подсоединены к входам дешифратора, в свою очередь, его выходы подсоединены к входу переключающего устройства, причем один из выходов дешифратора подсоединен к входам первого элемента И, выходы которого подсоединены ко вторым входам ППЗУ, и второго элемента И, выход которого подсоединен к входу С регистра, а рельсовые линии через трансформаторы подсоединены к линейным входам переключающего устройства, к входу которого через резистор подсоединен выход генератора, а к выходу – через первый полосовой фильтр, первый выпрямитель, первый сглаживающий фильтр и первый АЦП подсоединены входы первого элемента И, к полюсам резистора через второй полосовой фильтр, второй выпрямитель, второй сглаживающий фильтр и второй АЦП подсоединены входы D регистра, выходы которого подсоединены к первым входам ППЗУ, выходы которого подсоединены к входам триггера.
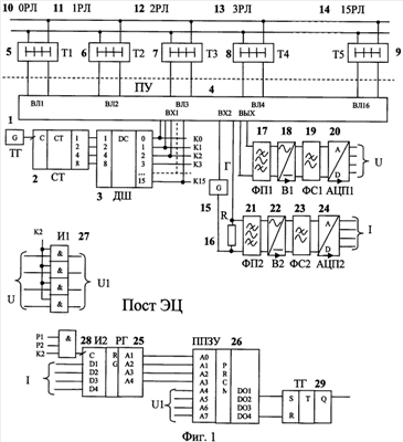
На фиг.1 представлена схема рельсовой цепи. На фиг.2 – графики зависимостей токов питающего и напряжения приемного концов от координаты шунта.
На фиг.1 представлена рельсовая цепь, которая содержит следующие элементы: тактовый генератор ТГ 1, счетчик СТ 2, дешифратор ДШ 3, переключающее устройство ПУ 4, согласующие трансформаторы 5, 6, 7, 8 и 9, рельсовые линии 10, 11, 12, 13 и 14, генератор 15, ограничивающий резистор 16, первый полосовой фильтр 17, первый выпрямитель 18, первый сглаживающий фильтр 19, первый аналого-цифровой преобразователь (АЦП) 20, второй полосовой фильтр 21, второй выпрямитель 22, второй сглаживающий фильтр 23, второй АЦП 24, регистр 25, программируемое постоянное запоминающее устройство (ППЗУ) 26, первый элемент И 27, второй элемент И 28 и триггер 29.
На фиг.2 приведена кривая 30 – зависимость тока питающего конца (в А) от координаты шунта (в км) при подсоединении приборов ко второй рельсовой линии, кривая 31 – зависимость тока питающего конца (в А) от координаты шунта (в км) при подсоединении приборов к третьей рельсовой линии и кривая 34 – зависимость напряжения приемного конца (в В) от координаты поездного шунта (в км) при подсоединении приборов ко второй рельсовой линии. Линия 32 указывает на границу между рельсовыми линиями 11 и 12 (место подсоединения приборов рельсовой цепи), а линия 33 – на границу между рельсовыми линиями 12 и 13.
Приборы рельсовой цепи (фиг.1) соединены следующим образом. Выход тактового генератора 1 подсоединен к входу С счетчика 2, выходы 1, 2, 4, 8 этого счетчика подсоединены соответственно к входам 1, 2, 4, 8 дешифратора 3, выходы 0..15 дешифратора подсоединены к входу ВХ1 переключающего устройства 4, кроме того, выход 2 дешифратора 3 подсоединен к входу первого элемента И 27 и входу второго элемента И 31. К линейным входам ВЛ1, ВЛ2, ВЛЗ, ВЛ4, ВЛ16 переключающего устройства через трансформаторы 5, 6, 7, 8 и 9 подсоединены рельсовые линии 10, 11, 12, 13 и 14, а к входу ВХ2 этого устройства через резистор 16 подсоединен выход генератора 15. К выходу ВЫХ переключающего устройства через первый полосовой фильтр 17, первый выпрямитель 18, первый сглаживающий фильтр 19 и первый АЦП 20 подсоединены входы первого элемента И 27, выходы которого подсоединены ко вторым входам (В0, B1, B2, В3) ППЗУ 26. К полюсам резистора 16 через второй полосовой фильтр 21, второй выпрямитель 22, второй сглаживающий фильтр 23 и второй АЦП 24 подсоединены входы D1, D2, D3, D4 регистра 25. Выходы А1, А2, A3, А4 регистра 25 соответственно подсоединены к первым входам (А0, А1, А2, A3) ППЗУ 26. Выход D01 ППЗУ 26 подсоединен к входу S триггера 29, а выход DO4 ППЗУ 26 подсоединен к входу R триггера 29.
Работа устройства, реализующего заявляемый способ, осуществляется следующим образом. После поступления каждого импульса от тактового генератора 1 счетчик 2 переходит в новую позицию, на выходах дешифратора 3 появляется новая двоичная комбинация и переключающее устройство 4 поочередно подключает к каждой рельсовой линии приборы питающего и приемного концов. Информация о напряжении приемного конца каждой рельсовой линии поступает через согласующие трансформаторы 5, 6, 7, 8 и 9, элементы 17, 18, 19, 20 и 27 на соответствующие входы ППЗУ 26 при условии, что в данный момент времени приборы питающего и релейного концов подключены к рельсовой линии 2. Информация о токе питающего конца поступает в виде значения падения напряжения на резисторе 16 через элементы 21, 22, 23 на вход второго АЦП 24. Двоичный код (пропорциональный величине тока питающего конца) с выхода второго АЦП 24 поступает в регистр 25 при условии, что приборы рельсовой цепи соответственно подсоединены ко второй рельсовой линии 12, а рельсовые линии 1 и 2 свободны. С выхода регистра 25 информация поступает на первые входы ППЗУ 26. На выходах первого ППЗУ 26 в случае соответствия значений на первых и вторых входах (соответствия значений тока питающего конца второй рельсовой линии 12 и напряжения ее приемного конца) появляется значение соответственно 1000, в результате чего на входе S триггера 29 появляется сигнал логической единицы, триггер взводится, чем фиксируется свободность рельсовой линии. Если адреса на первых и вторых входах ППЗУ 26 не соответствуют, то есть напряжение приемного конца второй рельсовой линии 12 не соответствует току ее питающего конца, то на выходах ППЗУ 26 появляется сигнал 0001, в результате чего на входе R триггера 29 появляется сигнал логической единицы, триггер сбрасывается, чем фиксируется занятость рельсовой линии.
Т.к. приборы питающих и приемных концов циклически переключаются, то имеется возможность зафиксировать ток источника питания и напряжение на входе приемника на любом из концов любой рельсовой линии.
Данное изобретение позволит повысить достоверность контроля состояния рельсовых линий при пониженном сопротивлении изоляции.
Формула изобретения
1. Способ контроля свободного состояния рельсовой линии, заключающийся в том, что путевой генератор и приемник поочередно подключают к каждой рельсовой линии перегона, в рельсовую линию на одном конце подают сигнал переменного тока, а на другом конце его принимают, регистрируют напряжения приемных и токи питающих концов каждой рельсовой линии, отличающийся тем, что определяют соответствие тока питающего конца напряжению приемного, при их несоответствии фиксируют занятие рельсовой линии, а при соответствии – освобождение.
2. Устройство контроля свободности рельсовой линии, содержащее генератор сигналов, счетчик импульсов, АЦП, регистры, блок памяти, дешифратор, элемент И, отличающееся тем, что оно дополнительно содержит тактовый генератор, переключающее устройство, согласующие трансформаторы, ограничивающий резистор, полосовые фильтры, выпрямители, сглаживающие фильтры и триггер, причем выход тактового генератора подсоединен к входу счетчика, выходы которого подсоединены к входам дешифратора, в свою очередь его выходы подсоединены к входу переключающего устройства, причем один из выходов дешифратора подсоединен к входам первого элемента И, выходы которого подсоединены ко вторым входам ППЗУ, и второго элемента И, выход которого подсоединен к входу регистра, а рельсовые линии через трансформаторы подсоединены к линейным входам переключающего устройства, к входу которого через резистор подсоединен выход генератора, а к выходу через первый полосовой фильтр, первый выпрямитель, первый сглаживающий фильтр и первый АЦП подсоединены входы первого элемента И, к полюсам резистора через второй полосовой фильтр, второй выпрямитель, второй сглаживающий фильтр и второй АЦП подсоединены входы D регистра, выходы которого подсоединены к первым входам ППЗУ, выходы которого подсоединены к входам триггера.
РИСУНКИ
|
|