|
|
(21), (22) Заявка: 2009117742/11, 13.05.2009
(24) Дата начала отсчета срока действия патента:
13.05.2009
(46) Опубликовано: 20.06.2010
(56) Список документов, цитированных в отчете о поиске:
SU 1824337 A1, 30.06.1993. RU 2090416 C1, 20.09.1997. US 6619429 B1, 16.09.2003.
Адрес для переписки:
140402, Московская обл., г. Коломна, ул. Октябрьской революции, 410, ОАО “ВНИКТИ”
|
(72) Автор(ы):
Кириков Александр Константинович (RU), Сазонов Игорь Валентинович (RU), Гусев Вадим Юрьевич (RU), Коссов Валерий Семенович (RU)
(73) Патентообладатель(и):
Открытое акционерное общество Научно-исследовательский и конструкторско-технологический институт подвижного состава (ОАО “ВНИКТИ”) (RU)
|
(54) СМАЗЫВАЮЩИЙ СТЕРЖЕНЬ
(57) Реферат:
Изобретение относится к железнодорожному транспорту и путевым машинам, в частности к устройствам для смазки гребней колес железнодорожного подвижного состава и других поверхностей трения. Смазывающий стержень содержит смазочный элемент, выполненный, по меньшей мере, с одним продольным отверстием. Отверстие сообщено со средством подачи смазки к смазываемой поверхности. Смазывающий элемент жестко закреплен в торцевом фланце. Торцевой фланец установлен на цилиндрической направляющей с возможностью перемещения смазывающего элемента вдоль нее и с возможностью поворота смазывающего элемента вокруг нее. Технический результат от использования данного изобретения заключается в повышении эффективности нанесения смазки, улучшении встраиваемости смазывающего стержня на транспортное средство, а также в повышении надежности его работы. 1 з.п. ф-лы, 2 ил.
Изобретение относится к железнодорожному транспорту и путевым машинам, в частности к устройствам для смазки гребней колес железнодорожного подвижного состава и уменьшения износа гребней колес и боковых поверхностей рельсов железнодорожного пути, а также для смазки других поверхностей трения.
Известно устройство для смазывания гребней колес железнодорожного подвижного состава, содержащее закрепленную на раме тележки обойму с упругой прокладкой, охватывающую гильзу, в которой размещен смазывающий стержень с приспособлением для его подачи, и связанную с обоймой пружину, гильза по концам снабжена кольцевыми опорами и смонтирована с возможностью осевого перемещения вдоль обоймы, которая выполнена в виде стакана, при этом пружина размещена между дном стакана и опорой гильзы, расположенной со стороны колеса, и упругая прокладка размещена между другой кольцевой опорой гильзы и основанием стакана. (SU, авторское свидетельство 1404396, кл. В61К 3/02, опубл. 1988 г.).
Недостатками устройства являются:
– необходимость частой замены стержня из-за его износа, что повышает трудоемкость при эксплуатации устройства;
– при изменении профиля гребня колеса изменяется ширина контакта стержня с гребнем колеса, а следовательно, и ширина слоя смазки, что снижает эффективность работы смазочного стержня;
– сложность конструкции.
Известен смазочный стержень, содержащий выполненную из одних компонентов смазки оболочку, заполненную другими компонентами смазки, оболочка выполнена из плакирующих металлов (SU, авторское свидетельство 1323444, кл. В61К 3/00, опубл. 1987 г.).
Недостатками смазочного стержня являются:
– необходимость частой замены стержня из-за его износа, что повышает трудоемкость при обслуживании;
– при изменении профиля гребня колеса изменяется ширина контакта стержня с гребнем колеса, а следовательно, и ширина слоя смазки, что снижает эффективность работы смазочного стержня.
Известен смазывающий стержень, принятый за прототип, содержащий смазывающий элемент, установленный внутри оболочки с возможностью продольного перемещения относительно нее, смазывающий элемент выполнен, по меньшей мере с одним продольным отверстием, сообщенным со средством подачи смазки к смазываемой поверхности (RU, патент 2090416, кл. В61К 3/02, 1997 г.).
Недостатками данного смазочного стержня являются:
– наличие пружины, установленной внутри оболочки последовательно на одной оси со смазывающим элементом, увеличивает длину смазочного стержня и затрудняет встраиваемость его на транспортное средство;
– возможность поворота смазывающего элемента в оболочке изменяет его положение относительно смазываемой поверхности, что снижает эффективность его работы;
– при изношенном коротком смазывающем стержне возможно его заклинивание в оболочке и поломка, что снижает надежность работы смазывающего стержня.
Техническим результатом изобретения является повышение эффективности нанесения смазки, улучшение встраиваемости смазывающего стержня на транспортное средство, а также повышение надежности его работы.
Указанный технический результат достигается тем, что смазывающий стержень, содержащий смазывающий элемент, выполненный, по меньшей мере, с одним продольным отверстием, сообщенным со средством подачи смазки к смазываемой поверхности, смазывающий элемент жестко закреплен в торцевом фланце, который установлен на цилиндрической направляющей с возможностью перемещения смазывающего элемента вдоль нее; торцевой фланец установлен на цилиндрической направляющей с возможностью поворота смазывающего элемента вокруг нее.
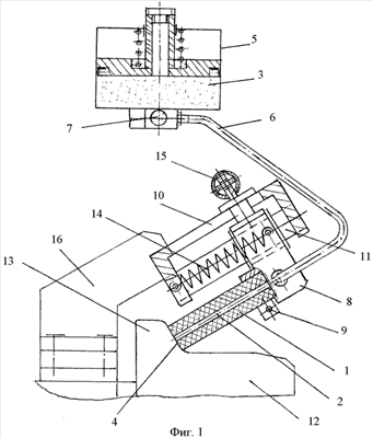
На фиг.1 изображен смазывающий стержень со смазывающим элементом, содержащим одно отверстие для подачи смазки; на фиг.2 – смазывающий стержень со смазывающим элементом, содержащим более одного отверстия для подачи смазки.
Смазывающий стержень содержит смазывающий элемент 1 (фиг.1), состоящий из фторопласта с наполнителями, включающими антифрикционные материалы дисульфид молибдена и графит, и выполненный, по меньшей мере, с одним продольным отверстием 2, сообщенным со средством подачи смазки 3 к смазываемой поверхности 4, включающим резервуар 5, трубопровод 6 и блок 7 управления подачей смазки 3. Смазывающий элемент 1 жестко закреплен в торцевом фланце 8 посредством хомута 9 и установлен в рамке 10 на цилиндрической направляющей 11 с возможностью перемещения вдоль нее при его износе или изменении положения колеса 12 с гребнем 13 в горизонтальной плоскости и поджатия смазывающего элемента 1 к смазываемой поверхности 4 пружиной 14 и с возможностью поворота смазывающего элемента 1 относительно цилиндрической направляющей 11 пружиной 15 при изменении положения колеса 12 с гребнем 13 в вертикальной плоскости. Рамка 10 может быть закреплена на корпусе электродвигателя при помощи кронштейна 16, на раме железнодорожного подвижного состава, на раме тележки или буксе (на чертежах не показано). В смазывающих стержнях со смазывающим элементом 1 (фиг.2), содержащим количество отверстий 2 более одного для смазки, например плоских поверхностей 4, торцевой фланец 8 закреплен на торцевой части цилиндрической направляющей 11 с отверстием 17, связанным трубопроводом 6 с блоком управления 7 и резервуаром 5.
Смазывающий стержень работает следующим образом.
От резервуара 5 через трубопровод 6 и блок 7 управления подачей смазки 3, которая под определенным давлением подается к торцевому фланцу 8 и через отверстие 2 смазывающего элемента 1 к смазываемой поверхности 4 колеса 12 с гребнем 13, при этом смазывающий элемент 1 пружиной 14 поджат к смазываемой поверхности 4 и при вращении колеса 12 вначале выполняется очистка смазываемой поверхности 4 от грязи, затем смазка 3 наносится на очищенную смазываемую поверхность 4 и после чего производится растирание торцом смазывающего элемента 1 смазки 3 по всей смазываемой поверхности 4 с образованием равномерного слоя, а элементы износа самого смазывающего элемента 1, включающие дисульфид молибдена и чешуйчатый графит, смешиваясь с подаваемой смазкой 3, повышают прочность слоя смазки 3. Компенсация изменения положения гребня 13 колеса 12 в горизонтальной плоскости выполняется перемещением торцевого фланца 8 со смазывающим элементом 1 по цилиндрической направляющей 11 пружиной 14 и поджатие его к смазываемой поверхности 4 гребня 13, а компенсация изменения колеса в вертикальной плоскости выполняется поворотом торцевого фланца 8 со смазывающим элементом 1 относительно цилиндрической направляющей 11 пружиной 15. При использовании смазывающего элемента 1 (фиг.2), содержащего количество отверстий 2 более одного, работа смазывающего стержня происходит аналогично. Жесткое закрепление смазывающего элемента 1 к торцевому фланцу 8 и отсутствие оболочки с пружинами внутри ее уменьшают габариты и упрощают встраиваемость смазывающего стержня, повышают надежность и эффективность в эксплуатации, так как при износе смазывающего элемента 1 исключается его заклинивание и выпадание из оболочки.
Формула изобретения
1. Смазывающий стержень, содержащий смазывающий элемент, выполненный, по меньшей мере, с одним продольным отверстием, сообщенным со средством подачи смазки к смазываемой поверхности, отличающийся тем, что смазывающий элемент жестко закреплен в торцевом фланце, который установлен на цилиндрической направляющей с возможностью перемещения смазывающего элемента вдоль нее.
2. Смазывающий стержень по п.1, отличающийся тем, что торцевой фланец установлен на цилиндрической направляющей с возможностью поворота смазывающего элемента вокруг нее.
РИСУНКИ
|
|