|
|
(21), (22) Заявка: 2008145319/11, 17.11.2008
(24) Дата начала отсчета срока действия патента:
17.11.2008
(46) Опубликовано: 20.06.2010
(56) Список документов, цитированных в отчете о поиске:
RU 2264938 С2, 27.11.2005. RU 67531 U1, 27.10.2007. JP 7009956 A, 13.01.1995.
Адрес для переписки:
644005, г.Омск, ул. Избышева, 3, корп.2, а/я 3919, ОАО “НИИТКД”
|
(72) Автор(ы):
Черняев Андрей Витальевич (RU), Вохмин Григорий Анатольевич (RU), Рубежанский Пётр Николаевич (RU)
(73) Патентообладатель(и):
ОАО “Научно-исследовательский институт технологии, контроля и диагностики железнодорожного транспорта” (ОАО “НИИТКД”) (RU), ООО “Опытно-механический завод Центра “Транспорт” (ООО “ОМЗ Центра “Транспорт”) (RU)
|
(54) СЪЕМНИК КРЫШКИ КОЛЕСНО-МОТОРНОГО БЛОКА
(57) Реферат:
Изобретение относится к ремонту подвижного железнодорожного состава, а точнее к приспособлениям для съема крышки колесно-моторного блока (КМБ). Съемник крышки закреплен на колесно-моторном блоке и содержит демонтажный механизм рычажного типа, кинематически связанный с силовым механизмом. Съемный механизм включает направляющую каретку с силовым приводом, на которой шарнирно установлен демонтажный двуплечий рычаг, шарнирно связанный с гидроцилиндром и поддерживающим двуплечим рычагом. Точка опоры поддерживающего рычага шарнирно соединена с гидроцилиндром. В крайнем исходном положении каретка находится в начале хода силового механизма. Достигается снижение затрат времени на демонтаж крышки колесно-моторного блока. 1 ил.
Изобретение относится к ремонту подвижного железнодорожного состава, а точнее к приспособлениям для съема крышки колесно-моторного блока (КМБ).
Известен стенд для монтажа и демонтажа колесной пары КМБ, в состав которого входят конструктивные элеметы для демонтажа крышки КМБ в виде силового привода – гидроцилиндра, установленного на направляющем основании, рычагов, связанных с крышкой колесно-моторного блока, при этом шток гидроцилиндра установлен с возможностью воздействия на рычаги (см. RU 2264938 «Стенд для монтажа и демонтажа колесной пары КМБ», МПК B23S 5/00, 2005 г.).
Недостатки известного съемника заключаются в том, что рассоединение крышки с фланцем является отдельной достаточно трудоемкой операцией, а крышка КМБ остается незафиксированной после демонтажа.
Задача изобретения состоит в том, чтобы снизить затраты времени на демонтаж крышки КМБ с фиксацией ее после демонтажа.
Поставленная задача решается в известном съемнике крышки КМБ, содержащем демонтажный механизм рычажного типа, кинематически связанный с силовым механизмом, согласно изобретению съемный механизм включает в себя направляющую каретку с силовым приводом, установленную с возможностью перемещения в направлении съема крышки КМБ, на которой шарнирно установлен демонтажный двуплечий рычаг с заостренным заплечиком, короткое плечо которого шарнирно соединено с гидроцилиндром, закрепленным на каретке, а длинное плечо шарнирно связано с поддерживающим двуплечим рычагом, длинное плечо которого снабжено фиксатором и поддерживающим выступом под фланец крышки КМБ, а точка опоры поддерживающего рычага шарнирно соединена с гидроцилиндром, закрепленным на длинном плече демонтажного рычага, при этом в крайнем исходном положении каретка находится в начале хода силового механизма, демонтажный рычаг введен заостренным заплечиком в разъем между фланцами крышки и КМБ, а поддерживающий рычаг зафиксирован на крышке КМБ.
Заявляемая совокупность признаков позволяет демонтировать крышку КМБ за один технологический переход и зафиксировать ее после демонтажа.
Авторы отмечают, что при всем многообразии съемников рычажного типа в современном уровне техники им не известны идентичные устройства, решающие поставленную задачу тем же путем и с тем же результатом, что свидетельствует о соответствии технического решения условиям патентоспособности «новизна» и «неочевидность».
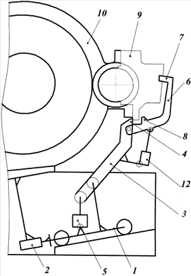
Изобретение поясняется чертежом.
Съемник крышки КМБ включает в себя направляющую каретку 1 с силовым приводом 2, на нее шарнирно установлен демонтажный двуплечий рычаг 3 с заостренным заплечиком 4, короткое плечо которого шарнирно соединено с гидроцилиндром 5, закрепленным на каретке 1, а длинное плечо шарнирно связано с другим поддерживающим двуплечим рычагом 6, длинное плечо которого снабжено фиксатором 7 и поддерживающим выступом 8, а точка опоры поддерживающего рычага 6 шарнирно соединена с гидроцилиндром 9, закрепленным на длинном плече демонтажного рычага 3. При этом в крайнем исходном положении каретка 1 находится в начале хода силового привода 2, демонтажный рычаг 3 введен заостренным заплечиком 4 в разъем между фланцами крышки 9 и КМБ 10, а поддерживающий рычаг 6 зафиксирован на крышке 9 КМБ 10.
Съемник крышки КМБ работает следующим образом.
Вначале средствами, установленными на технологической линии (не показаны), устанавливают КМБ 10 на технологическую опору, подпирают колеса домкратами и откручивают крепеж крышек 9.
Затем поднимают рычажный механизм гидроцилиндром 5 в исходное положение с упором заплечика 4 в разъем фланца крышки 9 и фиксацией ее фиксатором 7 на рычаге 6. Далее включают в работу силовой привод 2, например электроприводной винтовой привод, и продвигают каретку 1 в направлении съема крышки 9, усилием винта сдвигают ее с посадочного места, а затем за счет заданной кинематики рычагов 3, 6 и усилия гидроцилиндров 5, 12 опускают вниз. При этом крышка 9 ложится на упор 8.
Далее по технологии, в которой демонтаж крышки КМБ является одним из переходов, предшествующих демонтажу колесной пары, выдвигают колесную пару и проводят с ней соответствующие метрологические и ремонтные операции.
Промышленная применимость съемника крышки КМБ не вызывает сомнений, поскольку он может быть растиражирован в неограниченном количестве экземпляров с применением традиционной технологии.
Формула изобретения
Съемник крышки колесно-моторного блока, закрепленной посредством фланца на колесно-моторном блоке, содержащий демонтажный механизм рычажного типа, кинематически связанный с силовым механизмом, отличающийся тем, что съемный механизм включает в себя направляющую каретку с силовым приводом, установленную с возможностью перемещения в направлении съема крышки колесно-моторного блока, на которой шарнирно установлен демонтажный двуплечий рычаг с заостренным заплечиком, короткое плечо которого шарнирно соединено с гидроцилиндром, закрепленным на каретке, а длинное плечо шарнирно связано с поддерживающим двуплечим рычагом, длинное плечо которого снабжено фиксатором и поддерживающим выступом под фланец крышки колесно-моторного блока, а точка опоры поддерживающего рычага шарнирно соединена с гидроцилиндром, закрепленным на длинном плече демонтажного рычага, при этом в крайнем исходном положении каретка находится в начале хода силового механизма, демонтажный рычаг введен заостренным заплечиком в разъем между фланцами крышки и колесно-моторным блоком, а поддерживающий рычаг зафиксирован на крышке колесно-моторного блока.
РИСУНКИ
|
|