|
(21), (22) Заявка: 2008114842/02, 16.09.2005
(24) Дата начала отсчета срока действия патента:
16.09.2005
(43) Дата публикации заявки: 27.10.2009
(46) Опубликовано: 20.06.2010
(56) Список документов, цитированных в отчете о поиске:
WO 9521729 A1, 17.08.1995. SU 449801 A, 06.05.1975. SU 1749012 A2, 23.07.1992. SU 1569194 A1, 07.06.1990.
(85) Дата перевода заявки PCT на национальную фазу:
16.04.2008
(86) Заявка PCT:
IB 2005/003093 20050916
(87) Публикация PCT:
WO 2007/031815 20070322
Адрес для переписки:
129090, Москва, ул.Б.Спасская, 25, стр.3, ООО “Юридическая фирма Городисский и Партнеры”, А.В.Мицу
|
(72) Автор(ы):
КАТАЛФАМО Паскуале (IT)
(73) Патентообладатель(и):
КАТАЛФАМО Паскуале (IT)
|
(54) АБРАЗИВНАЯ НАСАДКА
(57) Реферат:
Изобретение относится к области абразивной обработки и может быть использовано при изготовлении абразивных насадок для шлифовальных кругов, предназначенных для предварительной или чистовой обработки поверхностей деталей. Абразивная насадка включает рабочую поверхность, обращенную к обрабатываемой поверхности, и абразивное средство, относящееся, по меньшей мере, к центральному участку абразивной насадки и состоящее из соответствующих гранул абразивного материала, распыленных на внутренней стороне абразивной насадки или прикрепленных полимерными или связующими материалами на ее рабочую поверхность. Предусмотрено определенное число язычков, выступающих из центрального участка, для обеспечения сцепления с опорой. Абразивная насадка выполнена, по меньшей мере, частично из эластичного деформируемого материала, который представляет собой полиуретановый материал. В результате обеспечивается оптимальное сцепление насадки с опорой, повышается эффективность и качество обработки и сокращается засорение шлифовальных кругов. 12 з.п. ф-лы, 6 ил.
Настоящее изобретение относится к абразивной насадке, предназначенной для использования в машинах, выполняющих абразивную обработку; а именно к абразивным и шлифовальным кругам, которые согласно настоящему изобретению предназначены для чистовой обработки поверхности изготовляемых изделий или же для их предварительной обработки.
На рынке имеются машины, способные выполнять абразивные операции для чистовой обработки таких поверхностей, как поверхности автомобильных кузовов, деревянной мебели, полов или порогов, выполненных из камня или древесины; эти машины подготавливают поверхности данных изделий для дальнейших отделочных операций, таких как окраска или окончательная отделка.
Подходящая для таких работ машина известного типа обычно имеет несущий корпус, чтобы, прежде всего, нести соответствующее опорное колесо и приводить его во вращение вокруг оси.
Это опорное колесо, в свою очередь, спроектировано таким образом, чтобы сцепляться с подходящим ему шлифовальным кругом, при этом данный круг имеет рабочую поверхность, которая в своем рабочем положении должна быть обращена к изделию, подлежащему обработке.
Эта рабочая поверхность служит носителем абразивного материала, требуемого для выполнения шлифовальных работ.
Следует также заметить, что упомянутые выше машины могут также выполнять функцию отсасывания пыли, образующейся в результате работы абразивного инструмента по обрабатываемой поверхности, и транспортировку этой пыли в соответствующие пылесборники для создания более чистого и благоприятного микроклимата на рабочем месте.
После всего вышесказанного следует также заметить, что на рынке имеется много различных типов шлифовальных кругов.
Особенно известными и распространенными являются шлифовальные круги, состоящие из бумажной основы, несущей абразивный материал, при этом указанные круги присоединяются к соответствующим опорным колесам с помощью адгезива или связующего материала, включающего скрепляющие ленты типа «Velcro».
Очевидно, что во всех случаях применения, где требуется обеспечение процесса отсасывания, шлифовальный круг должен также иметь отверстия тех же параметров, что и на опорном колесе, и при этом такие отверстия должны быть совмещены с отверстиями данного опорного колеса, чтобы обеспечить канал для отсоса абразивной пыли.
Принимая во внимание тот факт, что эти круги изнашиваются за короткий период времени из-за нагрузок, которым они подвергаются, становится очевидным, что их замена представляет собой сложную и трудоемкую операцию, поскольку необходимо тщательно следить, чтобы упомянутые выше отверстия были совмещены друг с другом.
Чтобы устранить этот серьезный недостаток, связанный с использованием шлифовальных кругов вышеописанного типа, на рынке получил широкое распространение другой тип шлифовального круга, причем этот указанный тип оснащен подходящими язычками, каждый их которых имеет сквозное отверстие с диаметром, соотносящимся с секцией соответствующих штырей, выступающих на верхней поверхности опорного колеса.
А именно, круги этого типа выполнены из бумаги или ткани и сцеплены с соответствующим опорным колесом путем отгибания данных язычков вниз и пропусканием через их отверстия соответствующих штырьков, которые составляют единое целое с данным опорным колесом.
Использование опорного колеса, имеющего участок периметра, выполненного из деформирующегося материала, обеспечивает сцепление между шлифовальным кругом и опорным колесом; при этом наличие язычков и соответствующих штырьков позволяет обеспечить совмещение отверстий отсасывания на шлифовальном круге с отверстиями на опорном колесе.
Однако, хотя только что упомянутое техническое решение обеспечивает довольно быстрое сцепление шлифовальных кругов с опорным колесом, а также и сцепление этих двух элементов в требуемом положении относительно друг друга, оно не лишено некоторых важных недостатков и, к тому же, имеет рабочие ограничения.
Прежде всего, если сцепление шлифовального круга не обеспечивает идеальной адгезии с опорным колесом, исключающей какое-либо скольжение, и он находится в состоянии частичного натяжения, то во время работы машины может произойти разрыв этого шлифовального круга.
Следует заметить, что такой шлифовальный круг запускается во вращение при высоких угловых скоростях и, следовательно, неполное сцепление этого круга с опорным колесом неизбежно приводит к рабочей поломке самого круга, что нежелательно для пользователя.
Во-вторых, следует также отметить, что во время выполнения абразивных операций, когда опорное колесо с соответствующим ему шлифовальным кругом прижато к поверхности, подлежащей шлифованию или зачистке, задействуется и внешний участок этого опорного колеса, который деформируется и приводит к ослаблению сцепления между язычками абразивного круга и штырьками опорного колеса, вызывая, таким образом, нежелательное отделение шлифовального круга от опоры, что является еще одним очевидным недостатком данной конструкции.
В этой ситуации техническая задача, лежащая в основе настоящего изобретения, состоит в том, чтобы по существу устранить все эти известные недостатки.
Первая цель настоящего изобретения состоит в том, чтобы предоставить такой шлифовальный круг, который мог бы легко монтироваться на соответствующее опорное колесо и при этом был бы способен поддерживать сцепление с ним после деформации внешнего участка опорного колеса во время его работы, предотвращая, таким образом, отделение этого шлифовального круга от колеса.
Исходя из вышесказанного настоящее изобретение ставит своей целью предложить такой шлифовальный круг, который бы обеспечивал оптимальное сцепление с опорным колесом даже во время операций по удалению материала.
Другая цель настоящего изобретения состоит в том, чтобы предоставить абразивную насадку, имеющую больший рабочий ресурс, лучшую эффективность, а также обеспечивающую лучшую чистовую обработку поверхности выпускаемых изделий.
И еще одна цель настоящего изобретения состоит в том, чтобы устранить или, по меньшей мере, сократить проблемы засорения шлифовальных кругов, характерные для оборудования известного в данной области типа.
Вышесказанные и другие цели, которые станут более очевидными в процессе рассмотрения настоящего описания, по существу достигаются при использовании абразивной насадки, выполненной в соответствии с характеристиками, изложенными в приложенной формуле изобретения.
Дополнительные особенности и преимущества настоящего изобретения будут лучше поняты из подробного описания предпочтительного, но не ограничивающего варианта воплощения абразивной насадки, выполненной в соответствии с настоящим изобретением.
Это описание будет изложено далее со ссылкой на сопровождающие чертежи в виде неограничивающего примера, в котором:
Фиг.1 – вид сверху в перспективе опорного колеса, предназначенного для использования в машинах для обработки поверхностей выпускаемых изделий;
Фиг.2 – вид абразивной насадки с язычками, имеющими прорезь в соответствии с настоящим изобретением;
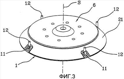
Фиг.3 – вид в перспективе абразивного круга, присоединенного к опорному колесу;
Фиг.4 – вид сбоку, частично в сечении, демонстрирующий использование шлифовального круга в соответствии с настоящим изобретением в машине для обработки поверхностей изготавливаемых изделий;
Фиг.5 – возможный альтернативный вариант воплощения шлифовального круга в соответствии с настоящим изобретением; и
Фиг.6 – показывает в увеличенном масштабе участок сцепления язычка абразивной насадки с соответствующим штырьком опорного колеса.
Абразивная насадка, выполненная согласно настоящему изобретению, имеет на приложенных чертежах общую ссылочную позицию 1.
Как можно видеть из сопровождающих чертежей, показанная на них абразивная насадка состоит из центрального участка 4, имеющего по существу дискообразную форму, с нижней рабочей поверхностью 2, которая в рабочих условиях предназначена для удаления материала с поверхности изготавливаемого изделия при его чистовой обработке.
Очевидно, что рабочая поверхность 2 должна быть обеспечена подходящим абразивным, или шлифовальным средством 3, по меньшей мере, на центральном участке 4 насадки 1, при этом данное средство состоит из соответствующих гранул абразивного материала, прикрепленных к указанной рабочей поверхности.
Следует отметить также и наличие определенного количества язычков 5, отходящих от данного центрального участка 4 и предназначенных для обеспечения сцепления абразивной насадки с опорой 6, что будет более подробно описано далее.
А именно, на чертеже показано четыре указанных язычка, разнесенных друг от друга на одинаковое расстояние относительно центральной оси симметрии S данной абразивной насадки.
Очевидно, что количество таких язычков может быть различным, и допускается, что они не будут разнесены на одинаковое расстояние друг от друга при условии, что они будут способны обеспечить достаточно надежное сцепление шлифовального круга с опорным колесом.
Как можно видеть из сопровождающих чертежей, язычки 5 и центральный участок 4 абразивной насадки 1 представляют собой единую конструкцию и, что особенно важно, могут выполняться литьевым формованием из соответствующего полиуретанового материала (понятно, что при этом могут применяться и другие материалы и другие технологические процессы).
Очевидно, что абразивная насадка 1 может быть выполнена из нескольких частей, отделенных друг от друга, например язычки 5 могут быть выполнены отдельно от центрального участка 4, к которому они затем присоединяются с помощью связующих материалов или какими-то другими средствами.
В этой связи следует отметить, что абразивная насадка 1 должна выполняться (по меньшей мере, частично или, предпочтительно, полностью) из эластично деформируемого материала.
В частности, такие деформации могут происходить в плоскости растяжения центрального участка 4 данной абразивной насадки, не приводя при этом к разломам и разрывам данного круга.
В вариантах воплощения, отличных от продемонстрированного здесь, в зависимости от эксплуатационных требований или только некоторые из язычков 5, или же некоторая часть центрального участка 4 может быть выполнена из эластично деформируемого материала.
К тому же, упомянутые выше абразивные средства 3 в альтернативном варианте могут, например, быть распылены на внутреннюю сторону абразивного круга, только на его центральный участок 4 (нанесены инжекцией на данную абразивную насадку на этапе ее изготовления), или же в альтернативном варианте указанные абразивные средства могут быть приклеены подходящими полимерными или связующими материалами исключительно на рабочую поверхность 2 самой абразивной насадки.
Когда абразивное средство 3 дисперсно наносится на центральный участок 4 круга 1, то этот эластичный круг будет иметь больший ресурс, чем шлифовальные круги известного типа; фактически, одновременно с истиранием абразивного средства на этой поверхности будет также задействоваться и эластичный материал, на который нанесено данное абразивное средство, что заставит абразивный материал, вдавленный в данный участок чуть ниже рабочей поверхности, выйти на эту поверхность. Поэтому необходимость замены данного круга возникнет несколько позже, чем замена кругов стандартного типа.
Кроме того, становится также очевидным, что в зависимости от используемых материалов шлифовальные круги могут выполняться по существу непроницаемыми для абразивной пыли, в которых гранулы абразивного материала непосредственно сцеплены или не сцеплены на поверхности из эластичного материала.
Таким образом, с одной стороны гарантируется нахождение большего количества абразивного материала на рабочей поверхности круга относительно тех вариантов, в которых данный круг выполнен в виде эластичной сетки или ткани, что происходит исключительно благодаря предлагаемой большей рабочей поверхности, и, с другой стороны, выпускается шлифовальный круг, непроницаемый для абразивного порошка.
При соблюдении этого первого положения на данном шлифовальном круге может быть выполнено множество канальных отверстий 14, приспособленных для отсасывания снятого материала машиной 20 известного типа (см. фиг.4); при этом указанные отверстия 14 должны, таким образом, обязательно совпадать с соответствующими отверстиями на опорном колесе.
В этой связи будет понятно, что благодаря сцеплению язычков 5 с соответствующими штырьками 12, размещаемыми в отверстиях этих язычков и выступающими из данного опорного колеса, достигается правильное взаимное позиционирование двух данных частей и, следовательно, обеспечивается совпадение отверстий.
В качестве альтернативы вышеупомянутому конструктивному решению возможно также использовать эластичный материал, допускающий проникновение абразивного материала, по меньшей мере, в той ситуации, когда абразивная насадка подвергается эластичной деформации.
Например, шлифовальный круг может быть выполнен из губчатого материала с открытыми ячейками или из упругой сетки (то есть подверженной деформации при растягивании вследствие воздействия сил натяжения), предоставляя возможность проникновения абразивного порошка вследствие наличия в данном материале полостей, размеры которых могут увеличиваться вследствие деформации данного круга, что улучшит эффективность всасывания истертой абразивной пыли.
Очевидно, что подходящая толщина шлифовального круга 1 может быть установлена заранее, и указанный круг в зависимости от требований может, например, достигать толщины 80 мм.
Далее будет рассмотрен тип сцепления абразивной насадки 1 с опорным колесом, или опорой 6. В этой связи следует отметить, что, по меньшей мере, один из язычков 5, а предпочтительно, все они имеют прорезь 9, ограниченную прилегающими кромками 10, 11.
В этом случае, опора 6 будет иметь соответствующие штырьки 12, отходящие от ее верхней поверхности 7 и предназначенные в условиях сцепления пройти через прорези 9.
Как можно видеть из сопровождающих чертежей, одна из прилегающих кромок 11 выполнена в виде выпуклого ушка, и в условиях эксплуатации она оказывает давление на соответствующий штырек 12, способствуя, таким образом, надежности сцепления между этими двумя частями (см. фиг.6).
На этапе монтажа эластичность абразивной насадки может способствовать обеспечению ее лучшего сцепления с опорным колесом.
А именно, язычки 5 и/или центральный участок 4 абразивной насадки 1 могут быть эластично деформированы для обеспечения быстрого зацепляющего вхождения штырьков 12 в соответствующие прорези 9, одновременно обеспечивая действия по натяжению данного шлифовального круга на опорное колесо.
Если используется деформируемое опорное колесо, то его конкретная конфигурация, которую он принимает на этапе сцепления, делает невозможным отцепление шлифовального круга 1 от этого опорного колеса 6 даже при возможных деформациях внешнего участка 21 опорного колеса 6 (когда деформируемый участок позволяет лучше соответствовать форме обрабатываемого изделия, что приводит к лучшим показателям обработки и лучшему натяжению круга), так что в результате увеличивается надежность всего устройства.
В этой связи следует оценить тот факт, что абразивная насадка, являющаяся объектом настоящего изобретения, приспособлена для монтажа как на полностью жесткие опорные колеса, так и на опорные колеса, имеющие деформируемый внешний участок, и все это является возможным благодаря использованию таких свойств, присущих самому шлифовальному кругу, как эластичность и способность деформироваться.
Кроме того, абразивная насадка, предложенная в настоящем изобретении, на верхней поверхности центрального дискообразного участка 4 не имеет таких средств сцепления с опорными колесами, как адгезивные средства, связующие материалы или скрепляющие ленты типа «Velcro».
Другими словами, абразивная насадка, выполненная в соответствии с настоящим изобретением, будет соединена с опорным колесом 6 исключительно с помощью язычков 5, в то время как центральный участок 4 будет подвижным и не скрепленным с нижней поверхностью самого опорного колеса 6.
При задействовании этого способа и с использованием эластично деформируемого материала внутренние деформации абразивной насадки относительно обрабатываемой поверхности позволяют лучше обработать заготовку посредством выполнения движений, предназначенных для сокращения и даже устранения засорения шлифовального круга.
В альтернативном варианте воплощения могут быть обеспечены условия для сцепления язычков 5 с верхним участком опоры 6 при помощи системы сцепления типа «Velcro», как это показано на фиг.5. В этом случае опорное колесо 6 будет снабжено соответствующими участками сцепления 22 с язычками 5, как это показано на данном чертеже.
Настоящее изобретение имеет важные преимущества.
Прежде всего, использование эластичного материала для изготовления абразивной насадки позволяет значительно упростить сцепление между данным кругом и опорным колесом. Кроме того, примененное здесь решение позволяет осуществить сцепление данной абразивной насадки с полностью жестким опорным колесом, не имеющим деформируемых участков. Наличие сквозных прорезей вместо сквозных отверстий в язычках 5 позволяет обеспечить безопасное сцепление во время выполнения рабочих операций также и при наличии важных деформаций внешнего участка 21 данного опорного колеса.
Кроме того, вследствие отсутствия соединительных элементов типа «Velcro» или связующих материалов между верхней поверхностью 7 шлифовального круга 1 и опорным колесом 6 эластичные свойства этого шлифовального круга всегда сохраняются, что позволяет вызывать внутренние деформации самого круга относительно обрабатываемой поверхности. В результате этого достигается лучшая чистовая обработка изделия и уменьшается или даже устраняется засорение шлифовального круга.
К тому же, технологическое решение, включающее дисперсию абразивного материала внутрь губчатой насадки, увеличивает срок работы шлифовального круга по сравнению со шлифовальными кругами, имеющимися на рынке.
Формула изобретения
1. Абразивная насадка, включающая рабочую поверхность (2), обращенную в рабочих условиях к обрабатываемой поверхности, абразивное средство (3), относящееся, по меньшей мере, к центральному участку (4) абразивной насадки (1), служащее для выполнения абразивной обработки и состоящее из соответствующих гранул абразивного материала, распыленных на внутренней стороне абразивной насадки или прикрепленных полимерными или связующими материалами на рабочую поверхность (2) абразивной насадки, и определенное число язычков (5), выступающих из центрального участка (4) абразивной насадки (1) для обеспечения ее сцепления с опорой (6), при этом абразивная насадка выполнена, по меньшей мере, частично из эластичного деформируемого материала, который представляет собой полиуретановый материал.
2. Абразивная насадка по п.1, отличающаяся тем, что в условиях сцепления язычков (5) с опорой (6) верхняя поверхность (7) абразивной насадки (1) не прикреплена непосредственно к нижней поверхности (8) опоры (6), например, с помощью адгезивных средств или связующих материалов типа «Velcro».
3. Абразивная насадка по п.1, отличающаяся тем, что, по меньшей мере, один из язычков (5), а в предпочтительном варианте все они имеют прорезь (9), ограниченную прилегающими друг к другу кромками (10, 11), при этом прорезь (9) выполнена с обеспечением сцепления данного язычка (5) с соответствующим штырьком (12), выступающим на верхней поверхности (13) опоры (6).
4. Абразивная насадка по п.1, отличающаяся тем, что центральный участок (4) абразивной насадки (1) и язычки (5) являются единым конструктивным элементом, выполненным из эластично растяжимого материала.
5. Абразивная насадка по п.1, отличающаяся тем, что ее центральный участок (4) и язычки (5) выполнены отдельно друг от друга и присоединены друг к другу соединительными средствами.
6. Абразивная насадка по п.1, отличающаяся тем, что абразивное средство (3) находится в непосредственном сцеплении, по меньшей мере, с центральным участком (4) абразивной насадки (1), в частности, в области рабочей поверхности (2), без использования промежуточной прокладки из неэластичного материала, такого как бумага, ткань или/и им подобные.
7. Абразивная насадка по п.1, отличающаяся тем, что абразивное средство (3) нанесено распылением в пределах, по меньшей мере, центрального участка (4) абразивной насадки (1).
8. Абразивная насадка по любому из пп.1-7, отличающаяся тем, что она выполнена из эластично растяжимого материала с обеспечением непроницаемости для абразивной пыли.
9. Абразивная насадка по п.1, отличающаяся тем, что она выполнена из эластично растяжимого материала с обеспечением возможности прохода абразивной пыли через ее центральный участок (4), по меньшей мере, тогда, когда она эластично деформирована.
10. Абразивная насадка по п.1, отличающаяся тем, что ее центральный участок (4) является плоским и полностью выполненным из эластичного материала, обеспечивающего, по меньшей мере, деформацию этого участка в виде его плоскостного растяжения.
11. Абразивная насадка по п.1, отличающаяся тем, что центральный участок (4) имеет множество сквозных отверстий (14) для обеспечения возможного отсасывания частичек абразивной пыли.
12. Абразивная насадка по п.1, отличающаяся тем, что, по меньшей мере, ее язычки (5) выполнены из эластично деформируемого материала для обеспечения сцепления с опорой (6).
13. Абразивная насадка по п.3, отличающаяся тем, что в условиях сцепления язычков (5) со штырьками (12), относящимися к опорному элементу, одна из прилегающих кромок (11) имеет форму ушка, упирающегося непосредственно в сам штырек.
РИСУНКИ
|