|
| На основании пункта 1 статьи 1366 части четвертой Гражданского кодекса Российской Федерации патентообладатель обязуется заключить договор об отчуждении патента на условиях, соответствующих установившейся практике, с любым гражданином Российской Федерации или российским юридическим лицом, кто первым изъявил такое желание и уведомил об этом патентообладателя и федеральный орган исполнительной власти по интеллектуальной собственности. |
|
(21), (22) Заявка: 2009119814/02, 25.05.2009
(24) Дата начала отсчета срока действия патента:
25.05.2009
(46) Опубликовано: 20.06.2010
(56) Список документов, цитированных в отчете о поиске:
RU 2007109504 A1, 20.09.2008. SU 1749265 A1, 23.07.1992. RU 2251036 С1, 27.04.2005. US 4719683 С1, 19.01.1988.
Адрес для переписки:
355003, г.Ставрополь, ул. Ленина, 347, кв.23, Ю.М. Тебенко
|
(72) Автор(ы):
Тебенко Юрий Михайлович (RU), Землянушнова Надежда Юрьевна (RU), Землянушнов Никита Андреевич (RU)
(73) Патентообладатель(и):
Тебенко Юрий Михайлович (RU)
|
(54) УСТРОЙСТВО ДЛЯ КОНТАКТНОГО ЗАНЕВОЛИВАНИЯ ПРУЖИН
(57) Реферат:
Изобретение относится к машиностроению и может быть использовано в устройствах для повышения несущей способности и рабочих характеристик пружин. Устройство содержит верхний и нижний вкладыши и стакан для установки в нем вкладышей и между ними пружины, пуансон с шаровой поверхностью, контактирующей с шаровой поверхностью верхнего вкладыша. Нижний вкладыш установлен с возможностью вращения относительно оси стакана, а верхний – с возможностью вращения и перемещения вдоль оси стакана и отклонения оси от оси пуансона. Вкладыши выполнены с кольцевыми проточками на торцах диаметром, равным внутреннему диаметру пружины, и глубиной не менее высоты витка пружины, в которых расположены упоры высотой, не превышающей высоту торца витка пружины. Стакан выполнен с внутренним диаметром в пределах от диаметра сжатой пружины до диаметра навитой пружины. Снижается трудоемкость изготовления пружин, повышается экономичность. 3 ил.
Изобретение относится к области изготовления и испытания пружин, а именно к устройствам для повышения несущей способности и рабочих характеристик пружин, и может быть применено в отраслях промышленности, изготавливающих и применяющих пружины – на предприятиях ВПК, машиностроения, авиастроения, автомобильной промышленности, сельхозмашиностроения.
Известны устройства для контактного заневоливания пружин, описанные в авторских свидетельствах СССР  198747, 348792, 419660, 486233, 643684, 815346, 825253, пат. RU 2251036, пат. RU 2251037, пат. RU 2286556, пат. RU 2296968. Известно также устройство по заявке 2007109504 [12, с.72 73].
Наиболее близким являются устройство по заявке 2007109504, содержащее стакан для установки в нем вкладышей и между ними испытуемой пружины, пуансон с шаровой поверхностью, контактирующей с шаровой поверхностью верхнего вкладыша, нижний вкладыш, причем нижний вкладыш установлен с возможностью вращения относительно оси стакана, а верхний – с возможностями такого вращения и перемещения вдоль оси стакана и возможностью отклонения своей оси от оси пуансона, отличающееся тем, что внутренний диаметр стакана выполнен размером в пределах от диаметра сжатой пружины до диаметра навитой пружины, а на торцах вкладышей выполнены поверхности с упором глубиной не менее чем на высоту витка пружины и повторяющие профиль торцов крайних витков пружины для использования торцевого момента пружины при заневоливании. При приложении нагрузок контактного заневоливания (10 300F3, где F3 – сила пружины при максимальной деформации) происходит выбор зазора между витками и сжатие витков по линии их контакта между собой, в результате чего пружина, взаимодействуя с внутренним диаметром стакана и упорами вкладышей, изменяет кривизну витка, отчего пружина раскручивается от возникающего торцевого момента. Если возникающие силы трения между пуансоном, плитой пресса и соответствующими вкладышами стакана не превышают торцевой момент пружины, вкладыши проворачиваются, витки соприкасаются между собой и с внутренним диаметром стакана, после чего производят процесс пластического упрочнения витков пружины осевыми усилиями 10 300F3. Названное устройство совместно со способом заневоливания по а.с. 486233 были успешно апробированы заявителем при изготовлении части месячной программы пружин 5-7К гидрооткатника полуавтоматической пушки 2А28 изделия БМП-1 [12, с.98 125]. Изготовленные пружины по геометрическим параметрам (смещение витков, бочкообразность, неперпендикулярность торцов) и силовым параметрам (F2 и F3) соответствуют жестким требованиям технических условий военного производства.
Однако имеются пружины, к которым не предъявляются жесткие требования по геометрическим и силовым параметрам и для заневоливания которых известная конструкция [12, с.98 125] является трудоемкой в изготовлении и эксплуатации из-за сложной конструкции вкладышей.
Технической задачей изобретения является устранение указанных недостатков прототипа.
Технический результат достигается за счет новых элементов и их новых связей устройства для контактного заневоливания пружин, а именно: устройство содержит стакан для установки в нем вкладышей и между ними испытуемой пружины, пуансон с шаровой поверхностью, контактирующей с шаровой поверхностью верхнего вкладыша, нижний вкладыш, причем нижний вкладыш установлен с возможностью вращения относительно оси стакана, а верхний – с возможностями такого вращения и перемещения вдоль оси стакана и возможностью отклонения своей оси от оси пуансона, отличающееся тем, что на торцах вкладышей выполнены кольцевые проточки диаметром, равным внутреннему диаметру пружины, глубиной не менее чем на высоту витка пружины с расположенными в проточках упорами высотой, не превышающей высоту торца витка пружины, и внутренний диаметр стакана выполнен размером в пределах от диаметра сжатой пружины до диаметра навитой пружины. Упоры могут быть выполнены в виде запрессованных в проточку или ввернутых штырей или винтов или в виде перемычек в проточках вкладышей.
При приложении нагрузок контактного заневоливания (10 300F3, где F3 – сила пружины при максимальной деформации) происходит выбор зазора между витками и сжатие витков по линии их контакта между собой. При этом пружина, взаимодействуя с внутренним диаметром стакана и вкладышами и их упорами, изменяет кривизну витка, отчего пружина раскручивается, а от возникающего торцевого момента вкладыши проворачиваются, витки пружины соприкасаются. Происходит процесс пластического упрочнения пружины под действием осевой нагрузки 10 300F3.
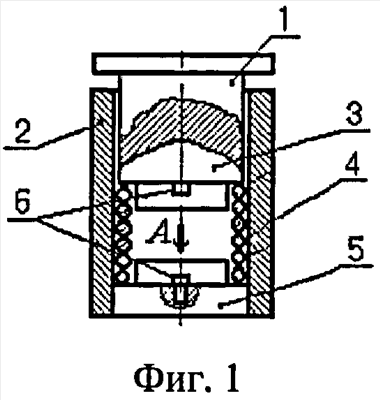
На фиг.1 представлено сечение устройства; на фиг.2 представлен вид на торец вкладыша устройства с расположенным на кольцевой проточке вкладыша штырем; на фиг.3 представлен вид на торец вкладыша устройства с расположенной на кольцевой проточке вкладыша перемычкой (выступом в проточке).
Устройство состоит из пуансона 1 и стакана 2, в котором размещены испытуемая пружина 4, верхний вкладыш 3 и нижний вкладыш 5. При этом торцы сжатой пружины контактируют с кольцевыми проточками на торцах вкладышей 3 и 5, упираясь торцами витков в упоры 6 вкладышей, а витки контактируют с внутренней поверхностью стакана 2.
Работает устройство следующим образом. Устройство устанавливают на неподвижный стол пресса, а пуансон 1 закрепляют к верхней подвижной плите пресса. В стакан 2 вставляют испытуемую пружину 4 таким образом, чтобы торцы пружины контактировали с кольцевыми проточками торцов вкладышей 3 и 5 и упорами 6 вкладышей. Затем пуансон 1 посредством движения пресса опускают, отчего пружина 4, сжимаясь, увеличивает свой наружный диаметр до тех пор, пока все ее витки не придут в непрерывный контакт с внутренней поверхностью стакана 2. Благодаря контакту торцов пружины с кольцевыми проточками торцов вкладышей 3 и 5 и с расположенными в проточках упорами 6 и контакту витков пружины с внутренней поверхностью стакана сжатая пружина займет правильную геометрическую форму. Благодаря наличию шаровой поверхности на пуансоне 1 и соответствующей шаровой поверхности на верхнем вкладыше 3 усилие пресса равномерно распределится по диаметру сжатой пружины. После требуемой выдержки под осевой нагрузкой величиной 10 300F3 пуансон поднимают, пружину вынимают из устройства.
Преимущество заявленного устройства относительно известных заключается в простоте конструкций вкладышей, что позволяет считать устройство более экономичным в изготовлении и эксплуатации.
Источники информации
1. А.с. 198747 СССР, Класс 42k, 25, М.Кл. G01m. Приспособление для контактного заневоливания пружин / Крюков Б.Н. – 813750/25-28; заявл. 10.01.1963; опубл. 24.08.1967. Бюл. 14 за 1967 г. – 2 с.
2. А.с. 348792 СССР, М.Кл. F16f 1/00. Устройство для контактного заневоливания пружин / Тебенко Ю.М. – 1318771/25-28; заявлено 07.04.69; опубл. 23.08.72. Бюл. 25. – 2 с.
3. А.с. 419660 СССР, МПК F16f 1/00. Устройство для контактного заневоливания пружин / Тебенко Ю.М. – 1857065/25-27; заявл. 15.12.72; опубл. 15.03.74, Бюл. 10. – 3 с.
4. А.с. 486233 СССР, М.Кл. G01M 13/00, B21F 35/00. Способ заневоливания пружин в обойме / Тебенко Ю.М. – 1935961/22-02; заявл. 26.06.1973; опубл. 30.06.1983. Бюл. 24 за 1983 г. – 2 с.
5. А.с. 634684 СССР, М.Кл. F16F 1/04. Устройство для контактного заневоливания пружин / Крюков Б.Н., Вишнев М.И., Вендров И.Я. – 2443609/25-28; заявл. 19.01.1977; опубл. 25.01.1979. Бюл. 3. – 2 с.
6. А.с. 815346 СССР, М.Кл.3 F16f 1/04. Устройство для заневоливания пружин / Тебенко Ю.М. – 2743747/25-28; заявл. 30.03.79; опубл. 23.03.81, Бюл. 11 за 1981 г. – 3 с.
7. А.с. 825253 СССР, М.Кл.3 B21F 35/00, F16F 01/00. Устройство для заневоливания пружин / Тебенко Ю.М. – 2822172/25-12; заявл. 06.08.79; опубл. 30.04.81, Бюл. 16 за 1981 г. – 3 с.
8. Пат. RU 2251036 С1, МПК F16F 1/04, B21F 35/00. Устройство для контактного заневоливания пружин / Землянушнова Н.Ю. – 2003130451/11; заявлено 14.10.03; опубл. 27.04.05, Бюл. 12. – 3 с.
9. Пат. RU 2251037 С1, МПК F16F 1/04, B21F 35/00. Устройство для контактного заневоливания пружин / Землянушнова Н.Ю. – 2003130491/11; заявлено 15.10.03; опубл. 27.04.05, Бюл. 12. – 3 с.
10. Пат. RU 2286556 С1, МПК G01M 13/00, F16F 1/04. Устройство для контактного заневоливания пружин / Землянушнова Н.Ю. – 2005108794/28; заявлено 28.03.2005; опубл. 27.10.2006, Бюл. 30. – 4 с.
11. Пат. RU 2296968 С2, МПК G01M 13/00, В21F 35/00. Устройство для контактного заневоливания пружин / Землянушнова Н.Ю. – 2005108799/28; заявлено 28.03.2005; опубл. 10.04.2007, Бюл. 10. – 5 с.
12. Тебенко Ю.М. Проблемы производства высокоскоростных пружин и пути их решения. Монография. – Ставрополь: ООО «Мир данных», 2007. – 152 с.
Формула изобретения
Устройство для контактного заневоливания пружин, содержащее верхний и нижний вкладыши, стакан для установки в нем вкладышей и между ними пружины и пуансон с шаровой поверхностью, контактирующей с шаровой поверхностью верхнего вкладыша, при этом нижний вкладыш установлен с возможностью вращения относительно оси стакана, а верхний – с возможностью вращения и перемещения вдоль оси стакана и отклонения оси от оси пуансона, отличающееся тем, что вкладыши выполнены с кольцевыми проточками на торцах диаметром, равным внутреннему диаметру пружины, и глубиной не менее высоты витка пружины, в которых расположены упоры высотой, не превышающей высоту торца витка пружины, а стакан выполнен с внутренним диаметром в пределах от диаметра сжатой пружины до диаметра навитой пружины.
РИСУНКИ
|
|