Патент на изобретение №2392075

Published by on




РОССИЙСКАЯ ФЕДЕРАЦИЯ



ФЕДЕРАЛЬНАЯ СЛУЖБА
ПО ИНТЕЛЛЕКТУАЛЬНОЙ СОБСТВЕННОСТИ,
ПАТЕНТАМ И ТОВАРНЫМ ЗНАКАМ
(19) RU (11) 2392075 (13) C1
(51) МПК

B21B25/02 (2006.01)

(12) ОПИСАНИЕ ИЗОБРЕТЕНИЯ К ПАТЕНТУ

Статус: по данным на 18.08.2010 – действует

(21), (22) Заявка: 2009127214/02, 14.07.2009

(24) Дата начала отсчета срока действия патента:

14.07.2009

(46) Опубликовано: 20.06.2010

(56) Список документов, цитированных в отчете о
поиске:
RU 2148446 C1, 10.05.2000. SU 472707 A1, 05.06.1975. FR 2533845 A1, 06.04.1984. JP 58074206 A, 04.05.1983.

Адрес для переписки:

144005, Московская обл., г. Электросталь, ул. Красная, 19, ОАО “ЭЗТМ”, начальнику технического отдела Н.Т. Пашенцеву

(72) Автор(ы):

Минтаханов Михаил Алексеевич (RU),
Зарудный Владимир Семенович (RU),
Никитина Наталья Викторовна (RU),
Фоминых Евгений Николаевич (RU)

(73) Патентообладатель(и):

Открытое акционерное общество “Электростальский завод тяжелого машиностроения” (RU)

(54) ЗАДНИЙ СТОЛ ТРУБОПРОКАТНОГО СТАНА

(57) Реферат:

Изобретение относится к области трубопрокатного производства, а точнее к задним столам трубопрокатного стана. Задний стол трубопрокатного стана содержит раму, на которой смонтированы центрователи и средства выдачи гильзы в виде тянущих роликов, выбрасыватель, приемную решетку боковой передачи гильзы с задержником, упор для съема гильзы, расположенный на оси прокатки перед упорно-регулировочным механизмом. За упорно-регулировочным механизмом по обе стороны от оси прокатки расположены находящиеся на одном уровне стойки с желобами, предназначенные для размещения стержней, и механизм их замены, выполненный в виде двух подъемно-опускающихся столов с приводами. Каждый стол имеет смонтированные в нем подвижные транспортные тележки с V-образным захватом и приводом перемещения. Транспортные тележки соединены тягами с рычагами трансмиссии перемещения, которая передает движение от привода перемещения одновременно трем транспортным тележкам. Подъемно-опускающийся стол смонтирован из трех направляющих для транспортных тележек, закрепленных на системе рычагов, установленных на рычагах двух трансмиссий подъема, связанных между собой и приводом тягой. Система рычагов и направляющих образует параллелограмм а обеспечивает плоскопараллельное перемещение направляющих с транспортными тележками. Изобретение позволяет менять стержни между проходами и существенно снизить время вспомогательных операций. 4 ил.

Изобретение относится к области трубопрокатного производства, а точнее к задним столам трубопрокатного стана.

Наиболее эффективно изобретение может быть использовано при работе стана, оборудование которого реализует процесс производства труб в несколько проходов. При этом особенно важно иметь минимальное значение вспомогательного времени, в котором большой удельный вес занимает время замены стержней, поскольку оно, в конечном счете, определяет температурный интервал ведения процесса и, как следствие, производительность стана, энергозатраты, качество, долговечность работы оборудования.

Известен задний стол трубопрокатного стана (см. а.с. СССР 472707, кл. В21В 25/06, заявл. 03.01.1972 г., опуб. 05.06.1975 г.), содержащий расположенные на оси прокатки упорно-регулировочный механизм удержания справочного стержня, привод осевого перемещения стержня, центрователи, расположенные на линии, параллельной оси прокатки, и связанный с ней передаточным механизмом извлекатель стержня и механизм подачи стержня. Механизм подачи стержня выполнен в виде подъемника и подвижного от привода в направлении к оси прокатки желоба.

Недостаток известной конструкции заднего стола трубопрокатного стана заключается в сложности кинематических взаимосвязей элементов устройства и управлении тремя последовательно действующими механизмами, входящими в механизм замены стержня и обеспечивающими загрузку и выгрузку изделий по позициям, что требует значительных затрат вспомогательного времени.

Другим недостатком известной конструкции заднего стола является то, что она громоздка, а стало быть менее надежна и долговечна.

Указанные недостатки при использовании известного заднего стола в трубопрокатном стане приведут к значительному снижению годовой производительности прокатного стана в целом.

Из известных задних столов трубопрокатного стана наиболее близким по технической сущности является задний стол, описанный в пат. РФ 2148446, кл. В21В 25/06, заявл. 15.04.1998 г., опуб. 10.05.2000 г. Этот задний стол трубопрокатного стана включает расположенные на оси прокатки упорно-регулировочный механизм удержания справочного стержня, привод осевого перемещения стержня, центрователи, механизм замены стержней, выполненный в виде параллельно расположенных зубчатых реек с V-образным захватом, и стойки с установленными на разных уровнях желобами для сменных стержней, расположенные за упорно-регулировочным механизмом.

Данное техническое решение по сравнению с рассмотренным раннее проще по своему конструктивному исполнению, облегчает процесс замены стержней и используется в трубопрокатном производстве для замены стержней при переходе с одного сортамента на другой.

Недостатком этой конструкции является сложность кинематических взаимосвязей элементов, а для того чтобы заменить один стержень на другой необходимо выполнить большое количество последовательных не перекрываемых операций, причем дважды. Это требует значительных затрат вспомогательного времени, что приводит к невозможности использования данного устройства для замены стержней между проходами из-за неизбежного остывания гильзы.

Кроме того, недостатком известного заднего стола трубопрокатного стана являются использование крановых операций при замене стержней, что также требует значительных потерь рабочего времени на обслуживание и замену.

Указанные недостатки значительно снижают годовую производительность трубопрокатного стана в целом.

Задача настоящего изобретения состоит в создании заднего стола трубопрокатного стана, позволяющего обеспечить возможность замены стержней между проходами с минимальными затратами времени на вспомогательные операции, в минимальном температурном интервале и, в конечном счете, повысить производительность стана.

Поставленная задача достигается тем, что в заднем столе трубопрокатного стана, включающем расположенные на оси прокатки упорно-регулировочный механизм удержания справочного стержня, центрователи, привод осевого перемещения стержня, механизм замены стержней с V-образным захватом и стойки с желобами для сменных стержней, расположенные за упорно-регулировочным механизмом, согласно изобретению, механизм замены стержней расположен по обе стороны от оси прокатки и выполнен в виде подъемно-опускающихся столов с приводами их перемещения, при этом каждый стол снабжен смонтированной в нем подвижной транспортной тележкой, на которой размещен V-образный захват стержня, а стойки с желобами для сменных стержней установлены по обе стороны от оси прокатки на одном уровне.

Такое конструктивное выполнение заднего стола трубопрокатного стана позволяет обеспечить возможность замены стержней между проходами, существенно снизить время вспомогательных операций как за счет совмещения ряда движений механизма замены стержней, то есть их быстродействия, так и за счет перекрытия времени их осуществления.

Так, V-образный захват стержня, размещенный на транспортной тележке и несущий стержень, при смене позиций расположения последнего в процессе перемещения участвует в двух движениях: переносном вместе с подъемно-опускающимся столом и тележкой, и относительном вместе с тележкой по столу.

Кроме того, наличие захватов стержня с двух его сторон дают возможность не последовательной, а параллельной работы механизмов при замене стержня.

Оба этих фактора минимизируют вспомогательное время, что предотвращает потери гильзой тепла, повышает производительность стана и качество получаемых изделий.

Для пояснения изобретения ниже приводится конкретный пример выполнения изобретения со ссылкой на прилагаемые чертежи, на которых:

на фиг.1 – изображен задний стол трубопрокатного стана, общий вид;

на фиг.2 – то же, участок замены стержней;

на фиг.3 – то же, вид в плане фиг.2;

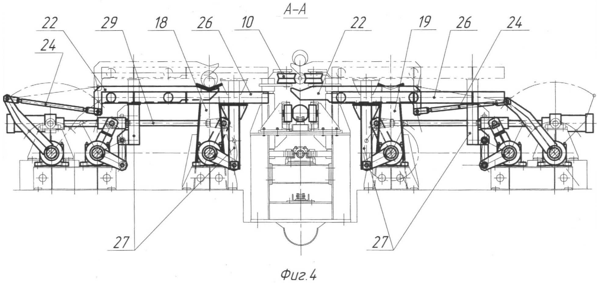
на фиг.4 – то же, разрез А-А на фиг.3.

Задний стол трубопрокатного стана содержит раму 1, на которой смонтированы центрователи 2 и средства выдачи гильзы в виде тянущих роликов 3, выбрасыватель 4, приемная решетка 5 боковой передачи гильзы с задержником 6, упор 7 для съема гильзы, расположенный на оси прокатки перед упорно-регулировочным механизмом 8 удержания справочного стержня 9. За упорно-регулировочным механизмом 8 установлены ролики 10, расположенные на стойках 11 и фиксирующие стержень 9 при его перемещении вдоль оси прокатки а-а. На стойках 11 роликов 10 смонтированы также направляющие 12 тележки 13 механизма перемещения стержня и направляющие 14 приводной цепи 15. Перемещение тележки 13 обеспечивается движением приводной цепи 15 от привода 16, рабочее натяжение которой создает натяжное устройство 17. Также за упорно-регулировочным механизмом 8 по обе стороны от оси прокатки а-а раположены находящиеся на одном уровне стойки с желобами 18 и 19, предназначенные для размещения стержней 9, и механизм их замены, выполненный в виде двух подъемно-опускающихся столов 20 с приводами 21. Каждый стол 20 имеет смонтированные в нем подвижные транспортные тележки 22 с V-образным захватом и приводом 23 перемещения. Транспортные тележки 22 тягами 24 соединены с рычагами трансмиссии 25 перемещения, которая передает движение от привода 23 перемещения одновременно трем транспортным тележкам 22. Подъемно-опускающийся стол 20 смонтирован из трех направляющих 26 для транспортных тележек 22, закрепленных на системе рычагов 27, установленных на рычагах двух трансмиссий 28 подъема, связанных между собой и приводом 21 тягой 29. Система рычагов 27 и направляющих 26 образует параллелограмм и обеспечивает плоскопараллельное перемещение направляющих с транспортными тележками 22.

При прокатке справочный стержень 9 удерживается на оси центрователями 2 и упорно-регулировочным механизмом 8. После окончания прокатки упорно-регулировочный механизм раскрывается, гильза тянущими роликами 3 перемещается до упора 7, одновременно с этим справочный стержень 9, удерживаемый в процессе движения роликами 10, тележкой 13 механизма перемещения стержня отводится за упорно-регулировочный механизм 8 в зону замены стержня. Гильза, свободная от стержня 9, остается перед упором 7 и выбрасывателем 4 передается на приемную решетку 5 боковой передачи. Задержник 6 обеспечивает накопление гильз на решетке при необходимости.

Замена стержня 9 осуществляется при совместной работе роликов 10, механизма смены стержня и размещенных на стойках желобов 18,19. Механизм смены стержня разделен осью прокатки а-а на два симметричных подъемно-опускающихся стола 20, при совместной работе которых стол со стороны свободного желоба 19 убирает стержень с оси прокатки, а стол со стороны желоба 18 со сменным стержнем устанавливает сменный стержень на ось прокатки а-а.

В исходном положении механизма перемещения стержня транспортные тележки отведены от оси прокатки, подъемно-опускающиеся столы 20 с направляющими 26 транспортных тележек 22 находятся в нижнем положении, оси V-образных захватов тележек совмещены с осями желобов 18 и 19.

Во время замены стержня транспортные тележки 22 подъемно-опускающегося стола со стороны свободных желобов 19 перемещаются приводом 23 под стержень, находящийся на оси прокатки. Ролики 10 освобождают стержень 9, и последний ложится в V-образный захват транспортных тележек 22.

В это время транспортные тележки 22 подъемно-опускающегося стола 20 по другую сторону от оси прокатки находятся под сменным стержнем, лежащем в желобах 18.

При одновременном срабатывании приводов 21,23 перемещения тележек 22 и подъема столов 20 механизм смены стержней снимает с желобов 18 и перемещает сменный стержень на ось прокатки, а рабочий стержень 9 перемещает на ось свободных желобов 19. Контроль точности установки стержня по оси прокатки обеспечивает многооборотный датчик 30, установленный на трансмисси подъема 28. Ролики 10 охватывают сменный стержень, после чего транспортные тележки 22 возвращаются в исходное положение.

Симметричное расположение и конструкция подъемно-опускающихся столов относительно оси прокатки обеспечивает укладку сменного стержня в любую сторону от оси прокатки.

Предложенный задний стол трубопрокатного стана по сравнению с известными позволяет за счет минимальных затрат времени на вспомогательные операции обеспечить возможность ведения процесса в минимальном температурном интервале, повысить производительность стана и качество получаемых изделий.

Формула изобретения

Задний стол трубопрокатного стана, включающий расположенные на оси прокатки упорно-регулировочный механизм удержания справочного стержня, привод осевого перемещения стержня, центрователи, механизм замены стержней с V-образным захватом и стойки с желобами для сменных стержней, расположенные за упорно-регулировочным механизмом, отличающийся тем, что механизм замены стержней выполнен в виде подъемно-опускающихся столов с приводами их перемещения, расположенных по обе стороны от оси прокатки, при этом каждый стол снабжен смонтированной в нем подвижной транспортной тележкой, на которой размещен V-образный захват стержня, а стойки с желобами для сменных стержней установлены по обе стороны от оси прокатки на одном уровне.

РИСУНКИ

Categories: BD_2392000-2392999