|
|
(21), (22) Заявка: 2009120647/03, 02.06.2009
(24) Дата начала отсчета срока действия патента:
02.06.2009
(46) Опубликовано: 20.06.2010
(56) Список документов, цитированных в отчете о поиске:
RU 2193929 C1, 10.12.2002. SU 507371 A, 25.03.1976. SU 1750746 A1, 30.07.1992. SU 1217495 A1, 15.03.1986. RU 2365431 C1, 27.08.2009. RU 2029638 C1, 27.02.1995. СН 551230 А, 15.07.1974. GB 1432722 A, 22.04.1976.
Адрес для переписки:
109456, Москва, Рязанский пр-кт, 75, корп.4, 1-я башня, 7 этаж, ООО “ИНТЕЛИС-правовая поддержка”
|
(72) Автор(ы):
Гимадиев Айрат Мунирович (RU), Каримов Ханафи Хамитович (RU)
(73) Патентообладатель(и):
Гимадиев Айрат Мунирович (RU), Каримов Ханафи Хамитович (RU)
|
(54) КАНАЛ ДЛЯ СЕПАРАЦИИ ЗЕРНА С ПОВОРОТНЫМИ БАРЬЕРАМИ ВОСХОДЯЩИМ ВОЗДУШНЫМ ПОТОКОМ
(57) Реферат:
Изобретение относится к технике для разделения зерна и других сыпучих материалов воздушным потоком и может найти применение при очистке зерна и семян в сельском хозяйстве и продуктов переработки зерна в мукомольно-крупяной и комбикормовой промышленности, других отраслях. Канал для сепарации зерна с восходящим воздушным потоком образован передней, задней и боковыми стенками и содержит установленную с наклоном от передней стенки к задней сетку и окна для приема исходного и вывода обрабатываемого зернового материала. Поперек боковых стенок над сеткой с зазором установлен, по крайней мере, один поворотный барьер. Зазор между сеткой и нижним краем поворотного барьера, а также угол поворота барьера связан с критической скоростью начала разрушения семян, со средней толщиной d частиц обрабатываемого материала и глубиной канала соотношением 3d<( +h·sin )< , а расстояние f от передней стенки до первого барьера и между соседними барьерами удовлетворяет соотношению <(f-h·sin )<0,75 . Ширина h барьера связана с зазором соотношением 1<(h/[ (f+h·sin )])<10. Технический результат – повышение эффективности разделения зернового материала, а также снижение повреждения семян. 1 з.п. ф-лы, 2 ил.
Изобретение относится к технике для разделения зерна и других сыпучих материалов воздушным потоком и может найти применение при очистке зерна и семян в сельском хозяйстве и продуктов переработки зерна в мукомольно-крупяной и комбикормовой промышленности, других отраслях.
Известен пневмосепарирующий канал для сепарации зерна восходящим воздушным потоком, образованный передней, задней и боковыми стенками. Для ввода исходного материала в канал в передней стенке имеется загрузочное окно, а для вывода из канала тяжелой фракции используется открытая нижняя часть самого канала (Семеочиститель СВУ-5, М.С.Кулагин и др. Механизация послеуборочной обработки и хранения зерна и семян. М.: Колос, 1979, с.35).
Недостатком такого канала является невысокая эффективность разделения зернового материала – доля легкого компонента, выделяемого воздушным потоком, обычно не превышает 70-80% при допустимом выносе полноценного зерна в отход.
Исследования работы такого канала показали, что эффективность разделения зернового материала не удается повысить увеличением площади сечения канала за счет его глубины (т.е. расстояния между передней и задней стенками), поскольку при этом возрастает неравномерность распределения скорости воздушного потока по глубине канала. Скорость воздуха в канале вблизи передней стенки, где вводится зерновой материал, недостаточно высока для эффективного выноса легких частиц из-за большого сопротивления сравнительно плотного зернового потока, в то время как у противоположной стенки, где зерновая струя уже распределилась по высоте в легкопродуваемый поток, скорость воздуха слишком высока, что приводит к выносу повышенного количества полноценного зерна вместе с легким компонентом (А.Я.Малис и А.Р.Демидов. Машины для очистки зерна воздушным потоком. М.: Машгиз, 1962, с.30-56, фиг.17, 29-30).
В связи с этим производительность пневмосепарирующего канала увеличивают в основном за счет ширины канала, чем обуславливаются большие габариты машин, сложность равномерной загрузки по ширине канала и снижение эффективности разделения зернового материала в сравнении с машинами меньшей производительности.
В применяемых до настоящего времени производственных пневмосепарирующих машинах ширина канала, как правило, многократно превосходит его глубину.
Наиболее близким по технической сущности к заявляемому изобретению является выбранный в качестве прототипа канал для сепарации зерна восходящим воздушным потоком, образованный передней, задней и боковыми стенками, содержащий сетку, установленную с наклоном от передней стенки к задней, и окна для приема исходного и вывода обработанного зернового материала (Очистительная пневмосортировальная машина ПСМ-5, В.Ф.Федоренко и Е.Л.Ревякин. Зерноочистка – состояние и перспективы. М.: ФГНУ “Росинформагротех”, 2006, с.204).
Требуемая степень равномерности распределения скорости воздушного потока по глубине канала и соответствующая ей повышенная эффективность разделения зернового материала в канале обеспечиваются путем стабилизации плотности обрабатываемого зернового потока по глубине канала применением барьеров.
Применение сетки в канале улучшает процесс сепарации, обеспечивает некоторое повышение эффективности разделения зернового материала за счет того, что сетка, обладая сопротивлением воздушному потоку, способствует определенному выравниванию его скорости по глубине канала.
Недостатком такого канала является снижение прочности зерна различных культур после их удара о плоскость со скоростью выше критической.
Исследования работы такого канала показали, повреждение поверхности зерна, его зародыша, образование внутренних и внешних трещин в теле зерновых произошло за счет ударного воздействия зерна с прямым барьером.
Процесс разрушения зерна ударом, скорость отскока частиц после их удара о барьер существенное влияние оказывает образование в них трещин, то есть по величине коэффициента восстановления.
Установлено, что при эффективном разделении зернового материала средняя скорость частиц к началу удара о барьер составила 12,6 м/с.
Коэффициент восстановления для пшеницы при возрастании скорости удара сначала увеличивается и при скорости 10 м/с достигает максимального значения (критическая скорость). Дальнейшее повышение скорости удара зерновки о барьер приводит к уменьшению коэффициента восстановления.
Снижение коэффициента восстановления при дальнейшем повышении критической скорости вызывается образованием внутренних и внешних трещин в зерне и их разрушением.
Аналогичная зависимость наблюдается и для других видов зерна.
Полученные данные по величине критической скорости удара, при которой начинается структурные изменения в зерне, позволяют более правильно подобрать режим работы канала для сепарации зерна восходящим воздушным потоком.
Задача, на решение которой направлено предложенное изобретение, заключается в создании такого канала для сепарации зерна восходящим воздушным потоком с поворотными барьерами, который учитывал бы величину критической скорости удара (10 м/с и более), при которой начинаются структурные изменения в зерне, что позволяет более правильно подобрать режим работы канала для сепарации зерна восходящим воздушным потоком, и исключал бы указанные выше недостатки.
Технический результат, достигаемый при реализации данного изобретения, заключается в снижении повреждения/трамвирования семян за счет уменьшения критической скорости начала разрушения семян при сохранении эффективности разделения зернового материала за счет стабилизации скорости воздушного потока по глубине канала.
Предельное напряжение, при котором происходит разрушение деформируемого тела, характеризует периметр площади контакта зерно – барьер.
Снизить повреждения семян удалось путем поворота барьера на угол . Скорость элемента зернового материала перед ударом направлена под углом к 90° к общей касательной, проведенной к ударяющимся телам в точке удара. Как следствие, нормальная составляющая скорости окажется меньше скорости при прямом ударе. Соответственно уменьшится связанная с ударным импульсом динамическая нагрузка. Это позволяет обеспечить “мягкий” режим движения, в первую очередь необходимый для обработки таких легкотравмируемых культур, как зернобобовые и крупяные.
Указанный технический результат в канале для сепарации зерна восходящим воздушным потоком, образованном передней, задней и боковыми стенками и содержащем сетку, установленную с наклоном от передней стенки к задней, и окна для приема исходного и вывода обработанного зернового материала, достигается тем, что поперек боковых стенок над сеткой с зазором установлен, по крайней мере, один поворотный (регулируемый) барьер. Кроме того, зазор между сеткой и нижним краем поворотного барьера, а также угол поворота барьера связан с критической скоростью начала разрушения семян, со средней толщиной d частиц обрабатываемого материала и глубиной канала соотношением 3d<( +h·sin )<1, а расстояние f от передней стенки до первого барьера и между соседними барьерами удовлетворяет соотношению <(f-h·sin )<0,751; ширина h барьера связана с соотношением 1<(h/[ (f+h·sin )])<10.
Сравнение заявляемого изобретения с прототипом показывает, что новым является наличие регулируемых барьеров, установленных поперек боковых стенок над сеткой с углом, зазором и соотношения величин , , d, , f, h.
Поворотные барьеры (один или несколько, расположенные друг за другом) размещены над сеткой с зазором и на определенном расстоянии от передней стенки и друг от друга.
Стабилизация плотности обрабатываемого в канале зернового потока, входящего в канал через приемное окно и взвешенного восходящим воздушным потоком, достигается тем, что при встрече зернового потока с поворотным барьером основная часть зерна без повреждения зернового материала задерживается его лобовой поверхностью и опускается на сетку, распределяясь слоем, близким по плотности поступающему из окна на участок сетки до поворотного барьера. Поэтому зерновой поток, выходящий из-под поворотного барьера на следующем за ним участке канала, обладает примерно таким же сопротивлением воздушному потоку, как и на предыдущем участке. Установкой достаточного количества поворотных барьеров, определяемого в зависимости от глубины используемого канала, обеспечивается требуемая стабильность плотности обрабатываемого зернового потока по всей глубине канала, что является главным условием равномерного поля скоростей воздушного потока и, следовательно, высокой эффективности процесса разделения зернового материала, но при этом надо учитывать, что многократные ударные воздействия на зерно различных культур приведут к их структурным изменениям при более низких скоростях удара.
Эффективность работы пневмосепарирующего канала, устойчивость показателей качества процесса сепарации, надежность технологического процесса и получения биологически ценных, сведением механических повреждений к достижимому минимуму, с другой – морфологической и физиологической зрелостью семян при обработке зерновых материалов различных культур обеспечиваются рациональными соотношениями, связывающими основные параметры регулируемых барьеров и их размещения в канале.
Таким образом, заявляемое устройство соответствует критерию “новизна”.
Предлагаемое изобретение соответствует критерию “изобретательский уровень”, поскольку достигнут результат, удовлетворяющий существующую потребность: получение семян, сведением механических повреждений семян к достижимому минимуму, с другой – морфологической и физиологической зрелостью при обработке зерновых материалов различных культур.
Изобретение соответствует критерию “промышленная применимость”, поскольку может найти применение при очистке зерна и семян в сельском хозяйстве и продуктов переработки зерна в мукомольно-крупяной и комбикормовой промышленности, других отраслях.
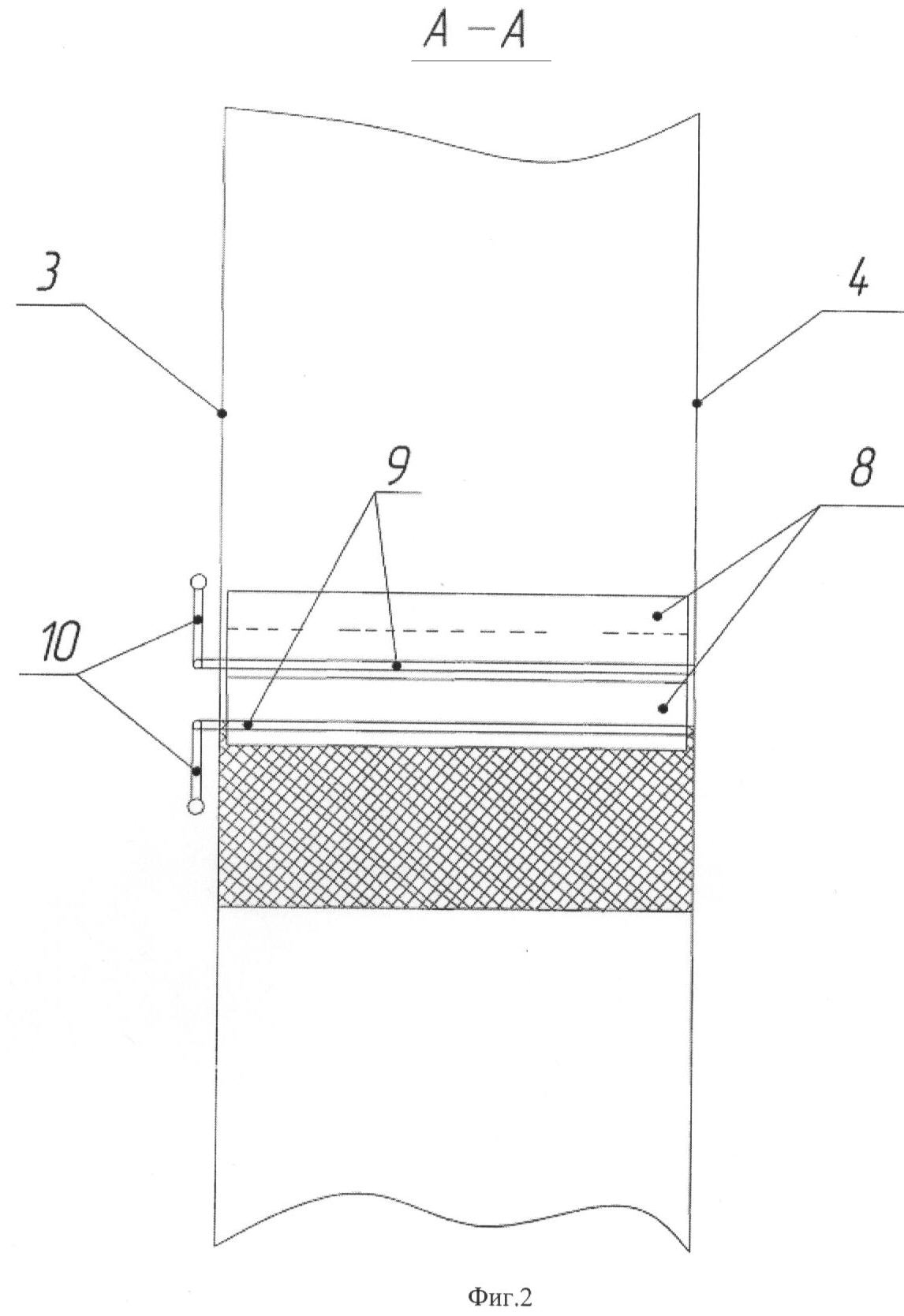
Сущность изобретения поясняется чертежами, где на фиг.1 представлен вертикальный разрез канала вдоль направления движения обрабатываемого материала; на фиг.2 – вертикальный разрез канала, перпендикулярный плоскости фиг.1.
Канал для сепарации зерна восходящим воздушным потоком, образованный передней 1, задней 2 и боковыми 3 и 4 стенками, содержит сетку 5 для поддерживания сепарируемого материала, окно 6 для ввода исходного материала в канал, выполненное в передней стенке 1 над сеткой 5, и окно 7 для вывода тяжелой фракции из канала у противоположной стенки 2. Над сеткой 5 поперек боковых стенок 3 и 4 установлены поворотные барьеры 8.
Поворотный барьер 8 выполнен каплевидной формы из металлического листа и прикреплен к боковым стенкам 3 и 4 канала при помощи стержня 9, проходящего по центру поворотного барьера, зафиксированного сваркой по торцам поворотного барьера. Регулирование угла поворота поворотного барьера осуществляется рукояткой 10.
Поворотные барьеры 8 устанавливаются над сеткой 5 с зазором , достаточным для прохода по наклонной сетке 5 обрабатываемого зернового материала.
Зазор между сеткой 5 и нижним краем поворотного барьера 8 и угол поворота барьера связан с критической скоростью начала разрушения семян, со средней толщиной d частиц обрабатываемого материала и глубиной канала соотношением 3d<( +h·sin )<1.
Расстояние f от передней стенки 1 до первого поворотного барьера и между соседними барьерами удовлетворяет соотношению <(f-h·sin )<0,751.
Ширина h барьера 8 связана с зазором соотношением 1<(h/[ (f+h·sin )])<10.
Рабочий процесс осуществляется следующим образом.
Исходный зерновой материал, состоящий из зерна и подлежащий выделению более легкой, чем зерно, примеси, через загрузочное окно 6 подается в канал, где подвергается воздействию восходящего воздушного потока, нагнетаемого снизу канала или отсасываемого сверху его каким-либо генератором воздушного потока (не показан). В результате воздействия восходящего воздушного потока зерновой материала приобретает состояние кипящего слоя и движется от передней стенки 1 к задней 2, расслаиваясь на фракции. Частицы легкой фракции (примесь) всплывают в верхние слои зернового потока, а более тяжелые частицы (основное зерно) остаются в нижних слоях потока обрабатываемого материала над поддерживающей сеткой 5, касаясь ее в той или иной степени, в зависимости от скорости воздушного потока.
При встрече такого веерообразного потока зернового материала с первым поворотным барьером 8 его нижние слои, состоящие преимущественно из зерна, прекращают движение к задней стенке 2, опускаются вниз слоем на сетку 5, где возобновляется процесс дальнейшего выделения легких частиц. Верхний слой, состоящий из 35% зерна, перед ударом направлен под углом 90° к общей касательной, проведенной к ударяющимся телам в точке удара. Этот зерновой поток, опустившись на сетку 5, создает более высокое, чем веерообразный, сопротивление воздушному потоку, проходящему через него на участке между первым и вторым поворотным барьерами 8, тем самым снижая скорость воздушного потока, приближая ее к уровню как на участке сетки 5 между передней стенкой и первым поворотными барьером 8.
Другая часть зернового материала, расположенная в более высоких и менее плотных уровнях зернового потока и содержащая большее количество легких частиц, плавно без травмирований отражается от поверхности поворотного барьера, после чего зерновки опускаются на зерновой поток, а легкие частицы примеси поднимаются воздушным потоком и выносятся из канала через верхний выход.
Еще одна часть потока обрабатываемого материала, движущаяся выше поворотного барьера 8, продолжает движение в воздушном потоке вверх к выходу и к задней 2 стенке канала. В этой части потока содержатся преимущественно легкие частицы.
На участке канала между первым и вторым поворотными барьерами 8 процесс сепарации материала, поступившего на сетку в зазор между сеткой и первым барьером, осуществляется аналогично тому, как на участке между передней 1 стенкой и указанным поворотным барьером 8.
Второй поворотный барьер 8, так же как и первый, осаживает на сетку 5 основную часть зернового потока слоем, повышая его сопротивление воздушному потоку и стабилизируя его скорость на конечном участке канала между вторым поворотным барьером и задней стенкой.
В результате создания благоприятных условий по скорости воздушного потока по всей глубине пневмосепарирующего канала с поворотными барьерами осуществляется более качественный и без травмирований, чем при неравномерном воздушном потоке и без поворотных барьеров, процесс разделения зернового материала – очищенное зерно выходит через окно 7, а легкий компонент (примесь) выносится воздушным потоком из канала через верхний выход.
Оптимальные условия работы пневмосепарирующего канала, обеспечивающие максимальную сохранность биологической ценности семян и эффективность разделения зернового материала при обработке различных культур, определяются вышеприведенными соотношениями основных параметров размещения и размеров поворотных барьеров и глубины канала.
Предлагаемое устройство позволяет значительно повысить получения биологически ценных семян сельскохозяйственых культур с эффективным разделением зернового материала.
Формула изобретения
1. Канал для сепарации зерна с восходящим воздушным потоком, образованный передней, задней и боковыми стенками, содержащий установленную с наклоном от передней стенки к задней сетку и окна для приема исходного и вывода обрабатываемого зернового материала, отличающийся тем, что поперек боковых стенок над сеткой с изменяемым зазором установлен, по крайней мере, один поворотный барьер, при этом зазор между сеткой и нижним краем поворотного барьера, а также угол поворота барьера связан с критической скоростью начала разрушения семян, со средней толщиной d частиц обрабатываемого материала и глубиной канала соотношением 3d<( +h·sin )< , расстояние f от передней стенки до первого барьера и между соседними барьерами удовлетворяет соотношению <(f-h·sin )<0,75 , где h – ширина барьера.
2. Канал по п.1, отличающийся тем, что ширина h барьера связана с зазором соотношением 1<(h/[ (f+h·sin )])<10.
РИСУНКИ
|
|