|
| На основании пункта 1 статьи 1366 части четвертой Гражданского кодекса Российской Федерации патентообладатель обязуется заключить договор об отчуждении патента на условиях, соответствующих установившейся практике, с любым гражданином Российской Федерации или российским юридическим лицом, кто первым изъявил такое желание и уведомил об этом патентообладателя и федеральный орган исполнительной власти по интеллектуальной собственности. |
|
(21), (22) Заявка: 2009115771/15, 24.04.2009
(24) Дата начала отсчета срока действия патента:
24.04.2009
(46) Опубликовано: 20.06.2010
(56) Список документов, цитированных в отчете о поиске:
RU 2259240 C1, 27.08.2005. RU 2242290 C1, 20.12.2004. SU 1416192 A1, 15.08.1988. DE 1041431 B, 23.10.1958. WO 03084642 A1, 16.10.2003.
Адрес для переписки:
654007, Кемеровская обл., г. Новокузнецк, ул. Кирова, 42, СибГИУ, патентный отдел
|
(72) Автор(ы):
Павловец Виктор Михайлович (RU)
(73) Патентообладатель(и):
Павловец Виктор Михайлович (RU)
|
(54) СПОСОБ ОЧИСТКИ ГАЗОВ ОТ ПЫЛИ
(57) Реферат:
Изобретение относится к технологии очистки газов от пыли в теплоэнергетике, черной и цветной металлургии. Способ очистки газов от пыли включает ввод в циклон с верхним осевым выхлопным патрубком очищаемого газа, очистку газа от пыли за счет действия центробежных сил при поступательном движении вращающегося потока сверху вниз с разворотом очищенного потока вверх, сбор потока уловленной пыли в пылесборнике, подачу в циклон потока вспомогательной коагулирующей жидкости, которую распыляют в пылесборнике в форме струй, ориентированных на поток уловленной пыли, с образованием смеси уловленной пыли и жидкости, после чего смесь брикетируют на вальцовом прессе, установленном в нижней части пылесборника. Технический результат: повышение степени очистки газов от пыли и расширение технологических возможностей способа. 1 ил.
Изобретение относится к технологии очистки газов от пыли в теплоэнергетике, черной и цветной металлургии.
Известен способ очистки газов от пыли, заключающийся в тангенциальном подводе запыленного газа, очистке газа от пыли за счет действия центробежных сил, отделение пыли от газа в зоне разворота очищенного газа, сбор потоков уловленной пыли в пылесборнике (см. Пылеулавливание в металлургии. Справочник / В.М.Алешина, А.Ю.Вальдберг, Г.М.Гордон и др. М.: Металлургия, 1984, с.48-52). Недостатком известного способа очистки газов от пыли является низкая эффективность процесса пылеулавливания.
Наиболее близким по технической сущности и достигаемому результату является способ очистки газов от пыли, включающий ввод в циклон с верхним осевым выхлопным патрубком очищаемого газа, очистку газа от пыли за счет действия центробежных сил при поступательном движении вращающегося потока сверху вниз с разворотом очищенного потока вверх, сбор потока уловленной пыли в пылесборнике, подачу в циклон вспомогательной коагулирующей жидкости (см. Патент 2259240, Россия, МПК 7 B04C 5/18, заявлено 24.11.2004).
Недостатком известного способа очистки газов является невысокая степень очистки газов от пыли. Это обусловлено тем, что потоки уловленной пыли поступают в пылесборник в виде рыхлой сухой массы, которую легко захватывает обратный поток газа в зоне разворота. Увлажнение потоков пыли коагулирующей жидкостью в зоне разворота и в пылесборнике является полезным действием, направленным на повышение эффективности пылеулавливания, но образующаяся смесь пыли и жидкости в неподвижном (статическом) состоянии слеживается и формирует в пылесборнике плотную массу, выгрузить которую из него затруднительно. Чтобы обеспечить эффективное пылеулавливание и удаление уловленной пыли из пылесборника необходимо обеспечить ее орошение коагулирующей жидкостью и последующее брикетирование потока уловленной пыли.
Задача изобретения – повышение степени очистки газов от пыли и расширение технологических возможностей способа очистки газов от пыли.
Поставленная задача достигается тем, что в способе очистки газов от пыли, включающем ввод в циклон с верхним осевым выхлопным патрубком очищаемого газа, очистку газа от пыли за счет действия центробежных сил при поступательном движении вращающегося потока сверху вниз с разворотом очищенного потока вверх, сбор потока уловленной пыли в пылесборнике, подачу в циклон потока вспомогательной коагулирующей жидкости, коагулирующую жидкость распыляют в пылесборнике в форме струй, ориентированных на поток уловленной пыли, с образованием смеси уловленной пыли и жидкости, после чего смесь брикетируют на вальцовом прессе, установленном в нижней части пылесборника.
Сущность изобретения заключается в следующем. Коагулирующую жидкость распыляют в пылесборнике в форме струй, ориентированных на поток уловленной пыли, с образованием смеси уловленной пыли и коагулирующей жидкости. Коагулирующая жидкость подается под давлением в виде струй, ориентированных под острым углом (30-45°) к потокам уловленной пыли. Это обеспечивает равномерное увлажнение пыли и ускорение потоков пыли динамическим давлением струй. В результате происходит смесеобразование и ускоренная транспортировка влажной смеси к загрузочному узлу вальцового пресса. После этого влажная смесь, состоящая из уловленной пыли и жидкости, загружается в зазор между вальцами, установленными в нижней части пылесборника, и брикетируются. Образующиеся брикеты легко выгружаются из пылесборника и поступают либо на сушку, либо на утилизацию потребителям. При увлажнении потоков уловленной пыли полностью исключается захват пыли обратным потоком очищаемого газа, что повышает эффективность пылеулавливания. Образовавшаяся в пылесборнике смесь брикетируется с образованием брикетов, готовых к промышленной утилизации. Это позволяет смеси пыли и жидкости в форме брикетов легко выгрузить ее из пылесборника. Организация брикетирования в пылесборнике пылеуловителя позволяет расширить технологические возможности устройства, предназначенного для очистки газов от пыли. Брикеты, полученные в циклоне, можно использовать в технологиях утилизации сыпучих отходов производства. В качестве коагулирующих жидкостей применяют известные связующие: растворы жидкого стекла, сульфитдрожжевой бражки (СДБ), известковое или цементное молоко. Их количество зависит от типа уловленной пыли, крупности и плотности. Для брикетирования пыли в предлагаемом способе очистки газов от пыли содержание связующей жидкости, например, СДБ не должно превышать 5-6%, чтобы не ухудшать сыпучесть уловленной пыли в пылесборнике и обеспечить ее подачу к вальцовому прессу.
Таким образом, за счет отличительных признаков заявленный способ приобретает новые свойства: эффективная коагуляция связующей жидкостью потоков уловленной пыли, движущихся по наклонной поверхности пылеуловителя; динамическое ускорение и гранулирующий перекат уловленной пыли струями распыленной коагулирующей жидкости и ориентирование ее к загрузочному узлу вальцового пресса; организация брикетирования потоков уловленной пыли непосредственно в пылесборнике циклона. Указанные свойства повышают эффективность пылеулавливания в предлагаемом способе и расширяют его технологические возможности.
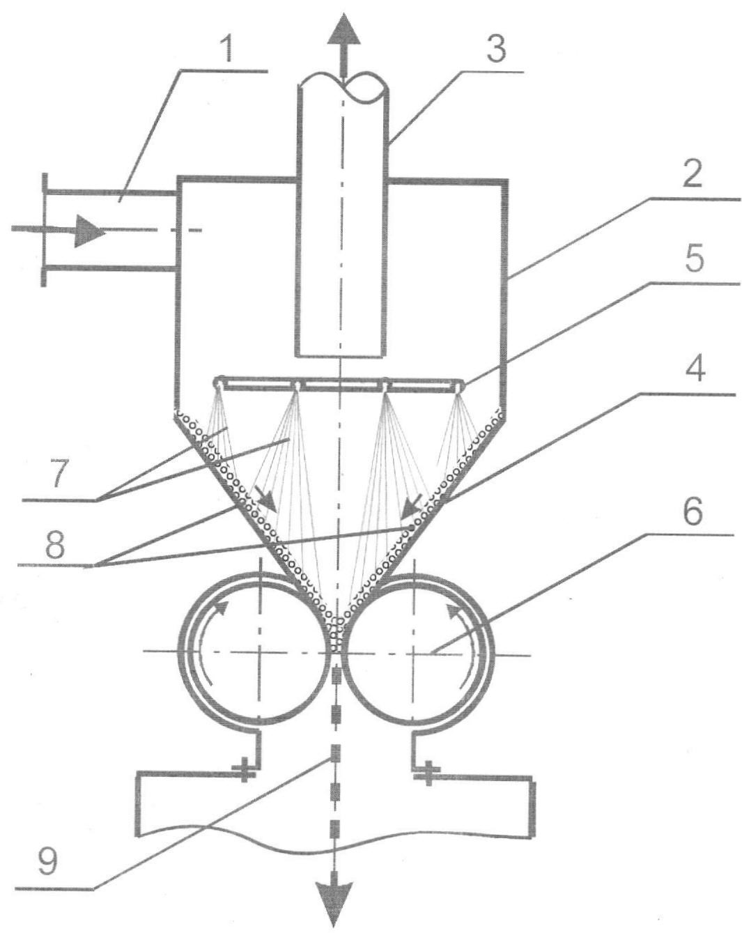
Способ очистки газов от пыли реализуется с помощью устройства, представленного на чертеже.
Оно содержит подводящий патрубок 1, корпус 2, выхлопной патрубок 3, пылесборник 4, трубопровод 5 для подачи коагулирующей жидкости, вальцовый пресс 6. В процессе работы устройства в пылеуловителе формируются струи 7 коагулирующей жидкости, потоки уловленной пыли 8, брикеты 9.
Способ очистки газов осуществляется следующим образом. Запыленный поток газов через патрубок 1 поступает в корпус 2, где происходит очистка газов от пыли за счет действия центробежных сил при поступательном движении вращающегося потока сверху вниз. В зоне разворота очищаемого газа установлен кольцевой трубопровод 5 коагулирующей жидкости. В кольцевом трубопроводе 5 установлены форсунки, через которые истекает коагулирующая жидкость в форме струй 7. Очищенный поток газа выходит в окружающую среду через патрубок 3. Потоки уловленной пыли 8 поступают в пылесборник 4 и движутся в его нижнюю часть. Струи 7 равномерно увлажняют потоки пыли 8 и ускоряют их движение к нижней части пылесборника 4. В процессе движения потоков пыли они перемешиваются с тонкораспыленной коагулирующей жидкостью и образуют смесь. Смесь пыли и жидкости поступает в загрузочный узел вальцового пресса 6. В процессе вращения вальцов (привод условно не показан) пресса 6 происходит брикетирование влажной смеси и образуются брикеты 9, которые направляются на утилизацию потребителям. При необходимости вальцы очищаются очистителями (на схеме не показано) любой известной конструкции, применяемой в промышленности.
Пример. Обработку способа очистки газа от пыли осуществляли на лабораторном центробежном пылеуловителе диаметром 300 мм, снабженном системой подачи коагулирующей жидкости и вальцовым прессом, согласно приведенной технологической схеме. В качестве коагулирующей жидкости использовали сульфитдрожжевую бражку (СДБ), расход которой меняли от 2 г/с до 6 г/с. Подводящий поток был запылен золошламовыми частицами размером 0-0,1 мм. У полученных брикетов размером 5×15 мм определяли прочность на сжатие. Результаты эксперимента представлены в таблице.
| Таблица |
 |
Расход коагулирующей жидкости, г/с |
Эффективность пылеулавливания способа, % |
Прочность брикетов, кПа |
| 1 |
2 |
64,9 |
80 |
| 2 |
4 |
71,6 |
140 |
| 3 |
6 |
78,4 |
300 |
| Данные прототипа |
| 4 |
 |
63,6 |
– |
Экспериментальные данные показывают, что предлагаемый способ очистки газов от пыли обладает более высокой эффективностью (на 1,3-14,8%) по сравнению с прототипом и позволяет получать золошламовые брикеты на основе СДБ прочностью 80-300 кПа.
Формула изобретения
Способ очистки газов от пыли, включающий ввод в циклон с верхним осевым выхлопным патрубком очищаемого газа, очистку газа от пыли за счет действия центробежных сил при поступательном движении вращающегося потока сверху вниз с разворотом очищенного потока вверх, сбор потока уловленной пыли в пылесборнике, подачу в циклон потока вспомогательной коагулирующей жидкости, отличающийся тем, что коагулирующую жидкость распыляют в пылесборнике в форме струй, ориентированных на поток уловленной пыли, с образованием смеси уловленной пыли и жидкости, после чего смесь брикетируют на вальцовом прессе, установленном в нижней части пылесборника.
РИСУНКИ
|
|