|
|
(21), (22) Заявка: 2007145091/12, 29.03.2006
(24) Дата начала отсчета срока действия патента:
29.03.2006
(30) Конвенционный приоритет:
09.05.2005 US 10/908,356
(43) Дата публикации заявки: 20.06.2009
(46) Опубликовано: 20.06.2010
(56) Список документов, цитированных в отчете о поиске:
US 2003126993 A1, 10.07.2003. US 5579678 A, 03.12.1996. US 4191101 A, 04.03.1980. RU 2002126946, 20.04.2004.
(85) Дата перевода заявки PCT на национальную фазу:
10.12.2007
(86) Заявка PCT:
US 2006/011361 20060329
(87) Публикация PCT:
WO 2006/121514 20061116
Адрес для переписки:
191186, Санкт-Петербург, а/я 230, “АРС-ПАТЕНТ”, пат.пов. В.М.Рыбакову, рег. 90
|
(72) Автор(ы):
ГРИН Чарльз Брэдли (US), ФИЛЛИПС Пол А. (US)
(73) Патентообладатель(и):
ДЗЕ КОКА-КОЛА КОМПАНИ (US)
|
(54) ДИСПЕНСЕР ДЛЯ КОФЕ И ЧАЯ
(57) Реферат:
Изобретение относится к диспенсеру для варки напитка с использованием контейнера с материалом, предназначенным для варки, и с подачей напитка в приемную емкость. Диспенсер содержит источник горячей воды, сопло для инжекции горячей воды в контейнер таким образом, что горячая вода течет через контейнер, а сваренный напиток стекает в приемную емкость, источник дополнительной жидкости и клапан для подачи дополнительной жидкости в приемную емкость, чтобы смешать дополнительную жидкость со сваренным напитком. Изобретение обеспечивает способность готовить рассчитанные на индивидуальных потребителей порции кофе, эспрессо, чая и других видов горячих напитков высокого качества, в больших количествах и с высокой скоростью. 3 н. и 12 з.п. ф-лы, 10 ил.
Область техники
Настоящее изобретение относится к диспенсеру для напитков, более конкретно к диспенсеру для напитков, выдающему кофе, эспрессо, чай и другие сваренные напитки с высокой производительностью и при высоком качестве напитков.
Уровень техники
Известны различные типы систем для варки напитков. Так, для приготовления обычного кофе, или кофе “американо”, давно применяются кофеварки гейзерного и капельного типов. Обычно, чтобы приготовить порцию кофе, горячая вода проходит через контейнер с молотым кофе, после чего кофе по каплям поступает в чашку или иную емкость. Подобным способом можно приготовить и чай. Кроме того, для приготовления напитков типа “эспрессо” уже давно используются устройства, создающие повышенное давление. Чтобы сварить напиток эспрессо, горячую воду подают под давлением через материал соответствующего помола, а получающийся при этом напиток стекает в чашку.
Один из недостатков известных систем проявляется при их использовании в режиме самообслуживания, а также в крупных ресторанах или в различных точках розничной торговли. Так, приготовление высококачественного напитка эспрессо в крупном ресторане на известном оборудовании может занимать слишком много времени. Аналогично время, требуемое на заваривание чашки чая, также может оказаться слишком большим. Как следствие, посетитель может отправиться за получением интересующего его напитка в другое место.
Кроме того, хотя в крупном ресторане или в другом аналогичном заведении кофе и/или чай могут приготавливаться в достаточных количествах, посетитель может предпочитать напиток, немедленно сваренный в непосредственной близости от него. Однако варка кофе или чая меньшими порциями не всегда дает напиток высокого качества. При этом она также может потребовать слишком много времени, чтобы быть практичной или экономически эффективной для многих коммерческих предприятий.
Раскрытие изобретения
В связи с этим представляется желательным создание диспенсера для напитков, который способен готовить рассчитанные на индивидуальных потребителей порции кофе, эспрессо, чая и других видов горячих напитков высокого качества, в больших количествах и с высокой скоростью. При этом желательно, чтобы подобное устройство было удобным в использовании и обслуживании и конкурентным по стоимости.
Таким образом, настоящее изобретение предлагает диспенсер для напитков, предназначенный для варки напитка с использованием контейнера, содержащего материал для варки напитка, и с подачей напитка в приемную емкость. Диспенсер может содержать источник горячей воды для инжекции горячей воды в контейнер таким образом, чтобы горячая вода проходила через контейнер, а сваренный напиток стекал в приемную емкость, источник добавочной жидкости и клапан для подачи добавочной жидкости в приемную емкость, чтобы смешать добавочную жидкость со сваренным напитком.
Источник горячей воды может содержать датчик потока и насос, функционально связанный с источником воды, а также резервуар с горячей водой и теплообменник. Между резервуаром с горячей водой и соплом может быть установлен клапан. Источник горячей воды может дополнительно содержать насос добавочной воды, установленный между резервуаром с горячей водой и приемной емкостью.
Приемная емкость может содержать собирающую воронку. Источник добавочной жидкости может содержать дополнительный источник воды, а также насос добавочной воды, установленный между дополнительным источником воды и приемной емкостью. Между насосом добавочной воды и приемной емкостью может быть установлен датчик потока. При этом источник добавочной жидкости может содержать холодную воду или молоко. Диспенсер для напитков, кроме того, может содержать источник дополнительной добавочной жидкости, обеспечивающий возможность ее смешивания со сваренным напитком и с добавочной жидкостью.
Предлагается также способ варки чая со льдом или кофе с использованием контейнера, содержащего материал для варки напитка, и с подачей напитка в приемную емкость. Способ может включать следующие операции:
инжектируют горячую воду в контейнер с указанным материалом;
пропускают горячую воду через контейнер для варки чая или кофе;
подают чай или кофе в приемную емкость;
подают в приемную емкость холодную воду;
смешивают холодную воду с чаем или с кофе.
К полученной смеси может быть добавлена дополнительная жидкость.
Изобретение относится также к аппарату для получения в приемной емкости смеси с использованием материала из контейнера. Аппарат может содержать источник основной жидкости, сопло для инжекции указанной жидкости в контейнер таким образом, что жидкость проходит через контейнер, а смесь поступает в приемную емкость, источник добавочной жидкости и клапан для подачи добавочной жидкости в приемную емкость для комбинирования добавочной жидкости с указанной смесью.
Краткое описание чертежей
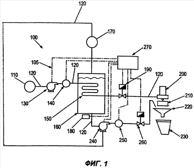
На фиг.1 представлено схематичное изображение описываемой далее диспенсерной системы для напитков.
На фиг.2 в перспективном изображении представлен один из вариантов диспенсерной системы для напитков.
На фиг.3 система по фиг.2 показана на виде сверху.
На фиг.4 в перспективном изображении представлен блок подачи картриджей диспенсерной системы по фиг.2.
На фиг.5 в перспективном изображении представлен инжекционный блок диспенсерной системы по фиг.2; пунктирными линиями показаны направляющие ролики несущей пластины.
На фиг.6 инжекционный блок диспенсерной системы по фиг.2 представлен в перспективном изображении на виде сзади с частичным вырывом, чтобы показать промежуточную шестерню и предельный выключатель.
На фиг.7 в перспективном изображении и в частичном разрезе представлен картридж для использования с изобретением.
На фиг.8 картридж по фиг.7 показан на виде снизу.
На фиг.9 на виде спереди показан торговый автомат, который может быть снабжен диспенсерной системой для напитков согласно изобретению.
На фиг.10 на виде спереди частично в сечении представлены картридж и инжекционная головка; показана также траектория текущего через них потока.
Осуществление изобретения
На чертежах схожие элементы имеют одинаковые обозначения. На фиг.1 дано схематичное изображение диспенсерной системы 100 для напитков согласно изобретению. Диспенсерная система 100 может содержать систему 105 управления водой. Данная система 105 управляет потоком воды в диспенсерной системе 100, необходимым для получения напитка. Система 105 управления водой может содержать источник 110 воды, который может представлять собой источник водопроводной воды или любое иное средство водоснабжения. Вода может находиться под атмосферным давлением и предпочтительно может быть охлажденной примерно до 15-24°С.
Вода от источника 110 воды может транспортироваться внутри диспенсерной системы 100 для напитков по одной или нескольким трубкам 120 для воды, в качестве которых можно использовать трубки обычного типа. Трубки 120 могут быть изготовлены из меди, нержавеющей стали, металлов других типов, пластиков и иных материалов, устойчивых к коррозии. С учетом повышенных температур и давлений, имеющих место в системе, предпочтительно использовать медь или аналогичный материал. Длина и диаметр трубок 120 для воды могут зависеть от общих размеров и объема диспенсерной системы 100 в целом. В типичном случае трубки 120 для воды могут иметь внутренний диаметр около 0,95 см или более, чтобы производительность диспенсерной системы 100 могла составить 1000-1500 мл сваренных напитков в минуту. К одной или нескольким трубкам 120 может быть подсоединен откачивающий насос 130.
Откачивающий насос 130 может прокачивать воду под давлением от источника 110 воды через диспенсерную систему 100 для напитков. В качестве насоса 130 может быть использован обычный диафрагменный, центробежный, лопастной или шестеренчатый насос или насос какого-либо иного известного типа. Производительность насоса 130 выбирается предпочтительно пропорциональной расходу воды через него и в зависимости от размеров диспенсерной системы 100 в целом может находиться в интервале 180-1500 мл/мин. При этом насос 130, который может работать с различной производительностью, может быть способен повышать давление воды от примерно атмосферного до примерно 1,4 МПа.
Датчик 140 потока (расходомер), который может быть функционально связан с одной или более трубками 120 для воды или встроен в одну из них за откачивающим насосом 130 по направлению потока, может измерять количество воды, прокачиваемой по трубке 120 откачивающим насосом 130. Датчик 140 потока может иметь известную конструкцию и, в частности, представлять собой датчик на базе турбинки или лопастного колеса.
За датчиком 140 потока с одной из трубок 120 для воды может быть функционально связан теплообменник 150. Данный теплообменник, который может иметь известную конструкцию в форме спирали или представлять собой теплообменник с перекрестным потоком, может быть изготовлен из меди, нержавеющей стали или материалов аналогичного типа. Теплообменник 150 может быть помещен внутрь резервуара 160 с горячей водой. Проходя через резервуар 160 с горячей водой, вода внутри теплообменника 150 нагревается. Данный резервуар 160 может представлять собой обычный контейнер с горячей водой, изготовленный из меди, нержавеющей стали, латуни или материала аналогичного типа. В зависимости от общих размеров и производительности диспенсерной системы 100 для напитков резервуар 160 с горячей водой может содержать 7-19 л воды. Вода в данном резервуаре 160 может нагреваться обычным нагревателем 180, который может содержать резистивное устройство, тепловой насос или аналогичные нагревательные средства. Нагреватель 180 способен нагревать воду в резервуаре 160 примерно до 87-102°С.
Резервуар 160 с горячей водой может запитываться от дополнительного источника 170 воды, который может быть идентичен источнику 110 воды, описанному выше. Так, дополнительный источник 170 воды может представлять собой источник водопроводной воды или аналогичное известное средство водоснабжения. Дополнительный источник 170 воды может быть связан с указанным резервуаром 160 одной или несколькими вышеупомянутыми трубками 120 для воды.
На одной из данных трубок 120 за теплообменником 150 и резервуаром 160 с горячей водой может быть установлен соленоидный клапан 190, который альтернативно может быть функционально связан с одной или более таких трубок. Данный клапан 190 способен открывать и перекрывать одну или более трубок 120 для воды за теплообменником 150 и резервуаром 160 с горячей водой. Соленоидный клапан 190 может иметь обычную конструкцию. Вместо него может быть применен клапан какого-либо иного типа.
С одной или более трубок 120 для воды за соленоидным клапаном 190 может быть функционально связано инжекционное сопло (сопло для инжекции) 200. Оно может направлять поток горячей воды под давлением, выходящей из теплообменника 150. Возможные варианты выполнения инжекционного сопла 200 будут описаны далее.
Далее будет подробно показано также, что инжекционное сопло 200 может взаимодействовать с порционным контейнером (картриджем) 210. Картридж 210 может содержать кофе, чай, эспрессо или другие варианты размолотого материала для варки напитка, листья или иные подходящие материалы. Картридж 210 может быть многократного или однократного использования. Инжекционное сопло 200 может инжектировать, т.е. впрыскивать, поток горячей воды под высоким давлением в картридж 210 для того, чтобы сварить кофе, чай, эспрессо или напиток иного типа. За картриджем 210 по направлению потока может быть установлена собирающая воронка 220, которая может иметь традиционную конструкцию. Под собирающей воронкой 220 может быть установлена чашка 230, кружка или другой питьевой сосуд для приема сваренного кофе, чая, эспрессо или иного сваренного напитка. В альтернативном варианте чашка 230 может использоваться без собирающей воронки 220 или какого-то аналогичного компонента.
С резервуаром 160 с горячей водой посредством одной или более трубок 120 для воды может быть связан насос 240 добавочной воды. Этот насос может быть идентичным или аналогичным откачивающему насосу 130, описанному выше. Альтернативно данный насос 240 может представлять собой перистальтический или шестереночный насос или иное аналогичное устройство. От насоса 240 добавочной воды не требуется нагнетать воду под давлением. В зависимости от размеров и ожидаемой производительности диспенсерной системы 100 для напитков в целом производительность данного насоса может выбираться в интервале 1000-1250 мл/мин, причем насос 240 добавочной воды может быть рассчитан на работу с различными расходами и при давлениях 19,6-39,2 кПа.
Датчик 250 потока добавочной воды, функционально связанный с одной или более трубками 120 или встроенный в одну из них за насосом 240 добавочной воды, может быть выполнен идентично или аналогично описанному выше датчику 140 потока.
За указанным датчиком 250 потока с одной из трубок 120 может быть функционально связан соленоидный клапан 260, который может быть идентичен или аналогичен соленоидному клапану 190, описанному выше. Вместо соленоидного клапана 260 и насоса 240 добавочной воды поток воды из резервуара 160 с горячей водой может контролироваться системой гравитационного питания. Другими словами, при открытом соленоидном клапане 260 вода из резервуара 160 с горячей водой может просто течь вниз. Соленоидный клапан 260 может быть связан с собирающей воронкой 220 одной или более трубками 120 для воды. Горячая вода из резервуара 160 с горячей водой может смешиваться в собирающей воронке 220 со сваренным кофе, чаем, эспрессо или иным напитком, поступающим из картриджа 210, до поступления напитка в чашку 230, для того чтобы изменить крепость или другие свойства напитка. Горячую воду можно добавлять также непосредственно в чашку 230 или в иную приемную емкость.
Альтернативно насос 240 добавочной воды может быть связан одной или более трубками 120 для воды с дополнительным источником 170 воды или с иным альтернативным источником водоснабжения. В таком варианте насос 240 добавочной воды способен подавать через клапан 260 и датчик 250 потока добавочной воды холодную воду в собирающую воронку 220 и/или в чашку 230. В этом случае также можно применить гравитационное питание. Холодная вода от дополнительного источника 170 воды или от других источников может смешиваться, например, со сваренным чаем, чтобы получить холодный чай, который пригоден для приготовления чая со льдом. Холодная вода может поступать в собирающую воронку 220 или подаваться непосредственно в чашку 230 или в другую приемную емкость. В чашке 230 может содержаться лед. По желанию для охлаждения воды можно использовать охладитель или иное известное теплообменное устройство.
Хотя на фиг.1 насос 240 добавочной воды показан подающим как горячую, так и холодную воду, для этой цели можно использовать различные насосы добавочной воды. Кроме того, насос 240 может быть функционально связан с источником любой другой добавочной жидкости, включая молоко, вкусовые и ароматизирующие добавки и т.д.
Управление диспенсерной системой 100 для напитков и каждым из ее компонентов может осуществляться электронным блоком 270 управления, который может представлять собой микроконтроллер PIC16F876, поставляемый фирмой Microchip Technology (США), или аналогичное устройство.
Электронный блок 270 управления может, в частности, управлять работой откачивающего насоса 130, датчика 140 потока, нагревателя 180, соленоидного клапана 190, насоса 240 добавочной воды, датчика 250 потока добавочной воды, дополнительного соленоидного клапана 260 и других компонентов системы 100. Более конкретно, электронный блок 270 управления может отслеживать количество воды, подаваемое откачивающим насосом 130 через датчик 140 потока. По завершении подачи требуемого количества воды соленоидный клапан 190 может перекрыть одну или более трубок 120 для воды. Аналогично, когда требуется подача добавочной воды, электронный блок 270 управления может отслеживать (на основе информации от датчика 250 потока добавочной воды) поток, поступающий от насоса 240 добавочной воды, чтобы своевременно включать и отключать соленоидный клапан 260. Электронный блок 270 управления может активировать насос 240 добавочной воды для обеспечения подачи горячей воды из резервуара 160 с горячей водой или холодной воды от дополнительного источника 170 воды или от других источников. Кроме того, электронный блок 270 управления может отслеживать и изменять расход воды, обеспечиваемый насосами 130, 240, а также температуру воды в теплообменнике 150 и в резервуаре 160, как и температуру нагревателя 180.
Фиг.2 и 3 иллюстрируют одно из применений диспенсерной системы 100 для напитков. На этих чертежах представлен аппарат 300 для варки напитка с использованием контейнера-картриджа. Видно, что данный аппарат 300 может содержать каждый из компонентов, описанных выше применительно к системе 105 управления водой, включая теплообменник 150, помещенный в резервуар 160 с горячей водой, и инжекционное сопло 200. В данном варианте компоненты диспенсерной системы 100 для напитков установлены на раме 305 диспенсера, которая может быть изготовлена из нержавеющей стали, алюминия, других металлов или других материалов, устойчивых к коррозии.
Как описано выше, инжекционное сопло 200 может взаимодействовать с одним или более картриджами 210, чтобы получить желаемый напиток. Картриджи 210 в диспенсерной системе 100 для напитков могут устанавливаться внутрь входящего в ее состав блока 310 подачи картриджей. Блок 310 подачи картриджей может быть жестко прикреплен к раме 305 диспенсера. Как показано на фиг.4, блок 310 подачи картриджей может содержать поворотное основание 320, установленное внутри рамы 325 этого блока. Данная рама 325 может быть изготовлена из нержавеющей стали, алюминия, других металлов или других материалов, устойчивых к коррозии. Поворотное основание 320 может быть выполнено, по существу, круглым или иметь любую иную удобную форму. В нем могут быть выполнены отверстия 330 под картриджи, размеры которых соответственно согласованы с размерами картриджей 210. Поворотное основание 320 может вращаться вокруг оси 340. Блок 310 подачи картриджей может приводиться в действие двигателем 350, в качестве которого может использоваться обычный электродвигатель переменного тока или аналогичное устройство. Двигатель 350 может обеспечивать вращение поворотного основания 320 с угловой скоростью 6-30 об/мин, предпочтительно 25 об/мин.
На боковой стороне поворотного основания 320 могут иметься стопоры 360. Стопоры 360 могут быть расположены напротив каждого из отверстий 330 и иметь возможность взаимодействия с одним или более предельных выключателей 365 для того, чтобы управлять вращением поворотного основания 320. После того как электронный блок 270 управления активирует двигатель 350 для приведения во вращение поворотного основания 320, вращение этого основания 320 может быть остановлено, когда предельный выключатель 365 придет во взаимодействие с одним из стопоров 360.
Смежно с блоком 310 подачи картриджей может быть установлен инжекционный блок 400, который может быть закреплен на раме 305. Как показано на фиг.5 и 6, инжекционный блок 400 может содержать инжекционное сопло 200, описанное выше. Сопло 200 может быть выполнено с диаметром 0,3-0,65 мм и иметь, по существу, коническую форму, чтобы оно могло входить внутрь картриджа 210. Альтернативно, если введения сопла 200 внутрь картриджа не требуется, оно может быть выполнено, по существу, плоским. Инжекционный блок 400 может также содержать раму 410, выступающую над блоком 310 подачи картриджей. Эта рама 410 тоже может быть изготовлена из нержавеющей стали, других металлов или других материалов, устойчивых к коррозии.
Инжекционный блок 400 может содержать инжекционную головку 420, в состав которой может входить инжекционное сопло 200, описанное выше. Диаметр инжекционной головки 420 может слегка превышать диаметр картриджей 210. Эта головка 420 также может быть изготовлена из нержавеющей стали, пластиков или других материалов, устойчивых к коррозии. Она может содержать уплотнительное кольцо, расположенное вдоль ее нижней кромки. Уплотнительное кольцо может быть изготовлено из резины, силикона или из упругого материала иного типа, способного обеспечить водонепроницаемое уплотнение между инжекционной головкой 420 и картриджем 210. Чтобы обеспечить подачу горячей воды под давлением к картриджам 210, с инжекционной головкой 420 может быть функционально связан теплообменник 150, как это было описано выше.
Инжекционная головка 420 может быть выполнена подвижной, по существу, в вертикальной плоскости с помощью кулачкового механизма 440 (следует отметить, что “вертикальная”, “горизонтальная” и аналогичные термины используются в данном описании для обозначения относительных, а не абсолютных положений и направлений, поскольку инжекционная головка 420 и другие элементы диспенсерной системы способны функционировать при любой ориентации). Кулачковый механизм 440 имеет собственный приводной двигатель 450, который может представлять собой обычный электродвигатель переменного тока, аналогичный приводному двигателю 350 блока подачи картриджей, описанному выше. Двигатель 450, который может также являться двигателем с расщепленными полюсами или двигателем постоянного тока, способен через ременную или зубчатую передачу 470 приводить во вращение эксцентриковый кулачок 460 с угловой скоростью 6-30 об/мин, предпочтительно 25 об/мин. Эксцентриковый кулачок 460 может быть выполнен таким образом, что его нижняя часть имеет радиус 4,1-4,8 см, а его верхняя часть – радиус 3,5-4,1 см.
Эксцентриковый кулачок 460 может взаимодействовать с промежуточной шестерней 480, которая может быть установлена внутри несущей пластины 490 и взаимодействовать с ней. Несущая пластина 490, имеющая возможность перемещения относительно рамы 410 инжекционного блока, может быть изготовлена из нержавеющей стали, стали другого типа, пластиков или иных материалов. Эта пластина 490, которая может быть жестко прикреплена к инжекционной головке 420, может нести направляющие ролики 500, которые обеспечивают возможность ее движения в вертикальном направлении в пределах рамы 410 инжекционного блока. К несущей пластине и к указанной раме 410 прикреплена возвратная пружина 520. Чтобы поворот кулачка не превысил заданный предел, вблизи кулачка может быть установлен предельный выключатель 530.
Таким образом, посредством кулачкового механизма 440 инжекционная головка 420 может перемещаться по вертикали в прямом и обратном направлениях. Более конкретно, приводной двигатель 450 может приводить во вращение эксцентриковый кулачок 460 через передачу 470. По мере возрастания текущего радиуса эксцентрикового кулачка 460 промежуточная шестерня 480 перемещает несущую пластину 490 вниз, так что инжекционная головка 420 приходит в контакт с картриджем 210. Эксцентриковый кулачок 460 может опускать инжекционную головку 420 на 6,4-12,7 мм. После того как инжекционная головка 420 придет в контакт с картриджем 210, эксцентриковый кулачок 460 может продолжать свое вращение (увеличивая давление на картридж 210), пока не дойдет до предельного выключателя 530. В этот момент электронный блок 270 управления выдает на приводной двигатель 450 команду удерживать кулачок 460 в фиксированном положении в течение заданного времени. После этого электронный блок 270 управления производит реверсирование кулачкового механизма 440, и инжекционная головка 420 возвращается в исходное положение.
На фиг.7 и 8 представлен вариант картриджа 210, в составе которого может иметься чашка 800. Она может быть изготовлена из обычного термопластика, такого как полистирол или полиэтилен. В качестве альтернативы может быть использована нержавеющая сталь или иные материалы, стойкие к коррозии. Чашка 800 может быть выполнена, по существу, жесткой. Верхний конец чашки может быть перекрыт насадкой 810, которая также может быть изготовлена из термопластика или аналогичного материала, использованного для изготовления чашки 800. В насадке 810 может быть выполнено множество отверстий 820. При этом насадка 810 может быть слегка смещена относительно верхнего края чашки 800. Другими словами, между насадкой 810 и чашкой может иметься зазор 825 (см. фиг.10). Верхний конец чашки может быть перекрыт также герметизирующим слоем 830, выполненным из фольги или аналогичного, по существу, воздухонепроницаемого материала.
На нижнем конце чашки 800 может иметься фильтрующий слой 840, образованный фильтровальной бумагой или аналогичным материалом. Нижний конец чашки 800 может быть при этом перекрыт нижним герметизирующим слоем, также выполненным из фольги или аналогичного материала. У нижнего герметизирующего слоя 850 может иметься участок 860, отделяющийся от указанного слоя 850 при приложении к нему давления изнутри чашки.
Чашка 800 может быть заполнена материалом 900 для варки напитка. Таким материалом может быть кофе, эспрессо или молотый кофе для кофейных напитков иного типа, чайные листья или альтернативно материал, предназначенный для приготовления иного желаемого горячего напитка. Если диаметр чашки 800 составляет 3,7-4 см, а ее глубина равна примерно 1,8-2 см, в нее можно поместить 2-8 г материала 900. Герметизирующие слои 830, 850 обеспечивают хранение материала 900 без доступа к нему воздуха, чтобы сохранить его свежесть. Альтернативно картридж 210 может быть таким, как это описано в параллельной патентной заявке США 10/908,350 заявителя настоящего изобретения, озаглавленной “COFFEE AND TEA POD” (“КАРТРИДЖ ДЛЯ КОФЕ И ЧАЯ”) и опубликованной как US 20050183581, 25.08.2005. Кроме того, картридж 210 может быть таким, как это описано в патентной заявке США 10/604,445 того же заявителя, озаглавленной “COFFEE AND TEA POD” и опубликованной как US 20050016383, 27.01.2005, а также в параллельной заявке RU 2006105387, 27.06.2006.
На фиг.9 представлен вариант диспенсерной системы 100 для напитков, реализованной в виде торгового автомата 910, в составе которого может функционировать описанный выше аппарат 300 для варки напитка. Торговый автомат 910 может включать зону 920 выдачи напитка, наличие которой позволяет пользователю извлекать чашку 230 из торгового автомата 910. Торговый автомат 910 может содержать также несколько индикаторов 930 выбора, в качестве которых могут служить нажимные кнопки или иные средства, посредством которых пользователь может выразить свое предпочтение по отношению к кофе, чаю, эспрессо и т.д. У торгового автомата 910 могут иметься также дополнительные индикаторы 940, которые позволяют пользователю задать количественную меру, например, молока, сливок, сахара или других добавок (включая ароматизирующие) к сваренному напитку. Торговый автомат 910 может быть также снабжен устройством 950 для осуществления платежа, которое может иметь обычную конструкцию.
При использовании автомата картриджи 210 могут быть заполнены различными размолотыми веществами, листьями или иным материалом 900 для варки напитка. В случае приготовления порций напитка эспрессо объемом около 30 мл в картридж 210 можно поместить 6-8 г частиц, имеющих соответствующий помол. Аналогично 6-8 г молотого кофе может быть помещено в картридж 210, чтобы получить чашку кофе объемом около 240 мл. Чтобы приготовить чашку чая объемом около 150 мл, в картридж 210 можно поместить 3-5 г чайных листьев.
В случае приготовления чая со льдом объем сваренного горячего чая может составлять только 29,6 мл. Для этой цели можно использовать 4-8 г концентрированных чайных листьев. После этого можно добавить 355 мл холодной воды, а затем некоторое количество льда. Концентрированные чайные листья используются с учетом добавляемого количества холодной воды.
После того как картридж 210 будет установлен в заданное положение в отверстии 330, электронный блок 270 управления активирует двигатель 350, чтобы привести поворотное основание 320 во вращение в направлении инжекционного блока 400. Двигатель 350 отключается, когда стопор 360 на поворотном основании 320 подойдет к предельному выключателю 365.
Когда картридж 210 будет находиться в заданном положении рядом с инжекционным блоком 400, электронный блок 270 управления активирует приводной двигатель 450 кулачкового механизма 440. Как показано на фиг.5 и 6, приводной двигатель 450 может активировать ременную или зубчатую передачу 470, чтобы осуществить вращение эксцентрикового кулачка 460. При вращении эксцентрикового кулачка 460 будет опускаться несущая пластина 490 с инжекционной головкой 420. Инжекционная головка 420 может быть опущена на 0,64 см, в результате чего она приходит в контакт с картриджем 210. Инжекционная головка 420 может воздействовать на картридж 210 с направленной вниз силой, составляющей 1330-1570 Н. Благодаря этому уплотнительное кольцо 430 может обеспечить воздухонепроницаемое и водонепроницаемое уплотнение вокруг картриджа 210. Опускание инжекционной головки 420 и работа приводного двигателя 450 могут быть остановлены по сигналу предельного выключателя 530.
Как показано на фиг.10, электронный блок 270 управления может затем активировать соленоидный клапан 190, чтобы горячая вода под высоким давлением смогла поступать от теплообменника 150 в инжекционное сопло 200. Вода может иметь температуру 82-102°С и находиться под давлением 1,1-1,4 МПа. С учетом присутствия в картридже материала 900 для варки напитка и в зависимости от его свойств давление воды, проходящей через картридж 210, может составлять 0,14-1,4 МПа.
Вода проходит сквозь инжекционное сопло 200 и растекается по насадке 810 пластиковой чашки 800, входящей в состав картриджа 210. Затем вода проходит сквозь отверстия 820 насадки и проникает в материал 900. Давление поступающей воды заставляет отделяющийся участок 860 нижнего герметизирующего слоя 850 открыться, так что сваренный напиток вытекает из картриджа 210 в собирающую воронку 220 и далее в чашку 230.
Электронный блок 270 управления может также включить откачивающий насос 130, чтобы забрать дополнительное количество воды от источника 110 воды. Датчик 140 потока может отслеживать количество воды, текущей по трубкам 120 для воды. Вода поступает в теплообменник 150, находящийся в резервуаре 160 с горячей водой, и нагревается до соответствующей температуры. После того как достаточное количество воды поступило в сопло 200, электронный блок 270 управления может запереть соленоидный клапан 190 и отключить откачивающий насос 130.
В случае приготовления напитка эспрессо вода может проходить через картридж 210 под давлением 0,97-1,4 МПа. Для приготовления эспрессо (поступающего в чашку 230) может понадобиться 10 с или менее. Чашка кофе может быть сварена несколько иным способом. Сначала картридж 210 с материалом 900 для варки напитка, которым в данном случае является молотый кофе, используется для варки напитка так, как это было описано применительно к напитку эспрессо. В случае варки обычного кофе (“американо”) вода может проходить через картридж 210 под давлением 0,97-1,4 МПа (предпочтительным является давление около 1,3 МПа). Альтернативно при использовании более крупного помола давление воды может составлять только 0,3 МПа. Приготовление кофе занимает 10-12 с или менее.
Затем к напитку, до его поступления в чашку 230 или одновременно с этим поступлением, через собирающую воронку 220 или прямо в чашку 230 может быть добавлено некоторое количество добавочной воды. Более конкретно, электронный блок 270 управления может открыть соленоидный клапан 260 добавочной воды и активировать насос 240 добавочной воды. В результате некоторое количество воды (отслеживаемое датчиком 250 потока) поступит из резервуара 160 с горячей водой в собирающую воронку 220 или прямо в чашку 230. Альтернативно можно использовать некоторое количество холодной воды от дополнительного источника 170 воды для приготовления кофе со льдом, подобно тому, как это будет описано далее применительно к чаю со льдом. В альтернативном варианте насос 240 добавочной воды и датчик 250 потока можно исключить, так что вода будет поступать из резервуара 160 с горячей водой под действием силы тяжести. В любом случае, после того как соответствующее количество добавочной воды было подано в собирающую воронку 220 или в чашку 230, электронный блок 270 управления снова запирает соленоидный клапан 260. При приготовлении 240 мл кофе в чашке 230 около 40 мл кофе будет сварено с помощью картриджа 210, а добавочные 180-200 мл горячей воды будут поданы в собирающую воронку 220 или в чашку 230.
Чашка чая может быть сварена аналогично напитку эспрессо, как это было описано выше. Поскольку в этом случае материалом 900 для варки напитка служат чайные листья, вода проходит через картридж 210 при давлении, составляющем только 0,3 МПа. Приготовление чая может занять 10 с или менее.
В случае чая со льдом к напитку (через собирающую воронку 220 или прямо в чашку 230) до поступления напитка в чашку 230 или одновременно с этим поступлением может быть добавлено некоторое количество добавочной воды. Более конкретно, электронный блок 270 управления может открыть соленоидный клапан 260 добавочной воды и активировать насос 240 добавочной воды. В результате некоторое количество воды (отслеживаемое датчиком 250 потока) поступит от дополнительного источника 170 воды или иного источника в собирающую воронку 220 или прямо в чашку 230. В альтернативном варианте насос 240 добавочной воды и датчик 250 потока можно исключить, так что вода будет поступать от дополнительного источника 170 воды или иного источника под действием силы тяжести. В любом случае, после того как соответствующее количество добавочной воды было подано в собирающую воронку 220 или в чашку 230, электронный блок 270 управления снова запирает соленоидный клапан 260.
Применительно к чаю со льдом в чашку 230 можно подать 29,6 мл горячего чая с температурой 88°С. После этого насос 240 добавочной воды может подать в чашку 230 177,5-355 мл холодной воды с температурой 0°С. Полученный таким образом напиток может иметь температуру около 12°С. В чашку 230 может быть добавлен лед. Можно использовать также и другие жидкости.
Кофе со льдом может быть приготовлен аналогичным образом. Кроме того, в дополнение к холодной добавочной воде может быть использовано холодное молоко. Могут быть использованы также различные добавки, подсластители и другие ингредиенты.
Хотя приведенные примеры были рассмотрены в контексте приготовления единственной чашки 230 напитка, могут быть использованы и иные варианты приемных емкостей, например емкость типа кувшина.
Могут быть использованы и другие способы приготовления напитка, описанные, в частности, в вышеупомянутых патентных заявках США  10/908,350, 10/604,445, принадлежащих заявителю настоящего изобретения, а также и иные способы варки.
Формула изобретения
1. Диспенсер для напитков, предназначенный для варки напитка с использованием контейнера, содержащего материал для варки напитка, и с подачей напитка в приемную емкость, причем диспенсер содержит: источник горячей воды, содержащий резервуар с горячей водой; сопло для инжекции горячей воды в контейнер таким образом, что горячая вода проходит через контейнер, а сваренный напиток стекает в приемную емкость; источник добавочной жидкости, содержащий холодную воду и насос добавочной воды, связанный с резервуаром с горячей водой и источником добавочной жидкости, таким образом, что подает либо добавочную горячую воду из резервуара горячей воды, либо холодную воду из дополнительного источника жидкости в приемную емкость.
2. Диспенсер по п.1, отличающийся тем, что источник горячей воды содержит насос, функционально связанный с источником воды.
3. Диспенсер по п.1, отличающийся тем, что источник горячей воды содержит датчик потока.
4. Диспенсер по п.1, отличающийся тем, что источник горячей воды содержит теплообменник.
5. Диспенсер по п.1, отличающийся тем, что источник горячей воды содержит клапан, установленный между резервуаром с горячей водой и соплом.
6. Диспенсер по п.1, отличающийся тем, что источник горячей воды содержит насос добавочной воды, установленный между резервуаром с горячей водой и приемной емкостью.
7. Диспенсер по п.1, отличающийся тем, что приемная емкость содержит собирающую воронку.
8. Диспенсер по п.1, отличающийся тем, что источник добавочной жидкости содержит дополнительный источник воды.
9. Диспенсер по п.8, отличающийся тем, что источник добавочной жидкости содержит насос добавочной воды, установленный между дополнительным источником воды и приемной емкостью.
10. Диспенсер по п.9, отличающийся тем, что источник добавочной жидкости содержит датчик потока, установленный между насосом добавочной воды и приемной емкостью.
11. Диспенсер по п.1, отличающийся тем, что источник добавочной жидкости содержит молоко.
12. Диспенсер по п.1, отличающийся тем, что содержит источник дополнительной добавочной жидкости, обеспечивающий возможность смешивания дополнительной добавочной жидкости со сваренным напитком и с добавочной жидкостью.
13. Способ варки чая со льдом или кофе с использованием контейнера, содержащего материал для варки напитка, и с подачей напитка в приемную емкость, включающий следующие операции: инжектируют горячую воду в контейнер с указанным материалом; пропускают горячую воду через контейнер для варки чая или кофе; подают чай или кофе в приемную емкость; подают посредством насоса добавочной воды холодную воду из источника добавочной жидкости в приемную емкость и смешивают холодную воду с чаем или с кофе.
14. Способ по п.13, отличающийся тем, что включает добавление дополнительной жидкости к холодной воде и чаю или кофе.
15. Аппарат для получения в приемной емкости смеси с использованием материала из контейнера, содержащий: источник горячей воды, содержащий резервуар с горячей водой; сопло для инжекции указанной жидкости в контейнер таким образом, что жидкость проходит через контейнер, а смесь поступает в приемную емкость; источник добавочной жидкости, содержащий холодную воду и насос добавочной воды, связанный с резервуаром с горячей водой и источником добавочной жидкости, таким образом, что подает либо добавочную горячую воду из резервуара горячей воды, либо холодную воду из дополнительного источника жидкости в приемную емкость.
РИСУНКИ
|
|