|
|
(21), (22) Заявка: 2008143190/13, 31.10.2008
(24) Дата начала отсчета срока действия патента:
31.10.2008
(46) Опубликовано: 20.06.2010
(56) Список документов, цитированных в отчете о поиске:
RU 2185286 C1, 20.07.2002. RU 2227782 C1, 27.04.2004. UA 27142 U, 25.10.2007.
Адрес для переписки:
109316, Москва, ул. Сосинская, 43, ЗАО “Лев Клименко”, пат.пов. А.Е.Кульмизеву, рег. 746
|
(72) Автор(ы):
Курилов Василий Андреевич (RU)
(73) Патентообладатель(и):
Закрытое акционерное общество “Ассортимент-Сергиев Посад” (RU)
|
(54) ЭКСТРУДЕР (ВАРИАНТЫ)
(57) Реферат:
Изобретение относится к области пищевой промышленности. Экструдер, согласно одному из вариантов изобретения, включает установленный в корпусе шнек и экструзионную головку, имеющую канал для выхода продукта из экструдера. Экструдер снабжен расположенным в экструзионной головке между входным и выходным отверстиями канала для выхода продукта из экструдера валом, в котором выполнен поперечный сквозной канал, сообщающийся при вращении вала с каналом для выхода продукта из экструдера. Вал установлен перпендикулярно оси шнека и выполнен с регулируемым приводом на базе мотор-редуктора с частотным преобразователем. Экструдер, согласно второму варианту изобретения, включает установленные в корпусе, по крайней мере, два шнека и экструзионную головку, имеющую каналы для выхода продукта из экструдера. В экструзионной головке между входными и выходными отверстиями каналов для выхода продукта из экструдера перпендикулярно осям шнеков расположен вал, в котором под углом друг к другу выполнены поперечные сквозные каналы, сообщающиеся при вращении вала с каналами для выхода продукта из экструдера. Вал выполнен с регулируемым приводом на базе мотор-редуктора с частотным преобразователем. Изобретение обеспечивает уменьшение вероятности засорения проходных каналов экструдера. 2 н. и 7 з.п. ф-лы, 12 ил.
Изобретение относится к области экструзионной переработки различных материалов, в том числе пищевых продуктов, составляющих компонент комбикорма, переработки отходов убоя птицы в перьевую и мясокостную муку и т.п.
Известен экструдер, включающий корпус, установленный в нем шнек, выполненный заодно с наконечником, матрицу. Экструдер снабжен втулкой со снятой на ней фаской и формующей шайбой, которые вставлены в матрицу, при этом наконечник выполнен в виде цилиндра и образует с втулкой зазор, возможность изменения величины и ширины которого предусмотрена за счет замены втулки [1].
Недостатком данного экструдера является малое поперечное сечение проходных каналов и проходных зазоров экструдера, что приводит к их забиванию выходным продуктом. Каждый такой случай вынуждает производить остановку экструдера и чистку каналов, что снижает производительность и надежность экструдера.
Наиболее близким к предложенному является экструдер, включающий корпус, установленный в нем шнек, выполненный заодно с наконечником, матрицу с фильерами, при этом наконечник выполнен в виде конуса, переходящего в цилиндр и имеющего канавки, проточенные вдоль оси шнека, канал между наконечником и корпусом в области конической части наконечника имеет высоту, равную высоте канала шнека, которая уменьшается в области цилиндрической части наконечника, фильеры матрицы выполнены в один ряд и с осями, перпендикулярными оси вала шнека, а угол между любыми соседними осями фильер является постоянным, образующая отверстия фильеры имеет, по крайней мере, одну общую точку с внутренней поверхностью матрицы, которая имеет отверстие, ось которого совпадает с осью шнека [2].
Данный экструдер также склонен к засорению каналов и их забиванию, что приводит к снижению производительности и надежности экструдера.
Задачей изобретения является повышение производительности и надежности экструдера.
Техническим результатом является уменьшение вероятности засорения проходных каналов экструдера.
Технический результат достигается тем, что экструдер, включающий установленный в корпусе шнек, экструзионную головку, имеющую канал для выхода продукта из экструдера, согласно изобретению снабжен расположенным в экструзионной головке между входным и выходным отверстиями канала для выхода продукта из экструдера валом, в котором выполнен поперечный сквозной канал, сообщающийся при вращении вала с каналом для выхода продукта из экструдера, при этом вал установлен перпендикулярно оси шнека и выполнен с регулируемым приводом на базе мотор-редуктора с частотным преобразователем.
В зоне между шнековой областью и экструзионной головкой может быть установлен датчик давления, управляющий частотным преобразователем.
В экструзионной головке могут быть выполнены дополнительные каналы для выхода продукта из экструдера, при этом вал имеет расположенные под углом друг к другу дополнительные поперечные сквозные каналы, каждый из которых при вращении вала сообщается с соответствующим дополнительным каналом для выхода продукта из экструдера.
Канал для выхода продукта из экструдера может быть выполнен в виде щели, расположенной вдоль образующей вала, при этом вал имеет расположенные под углом друг к другу дополнительные поперечные сквозные каналы, сообщающиеся при вращении вала с каналом для выхода продукта из экструдера.
Угол между поперечными сквозными каналами при наличии дополнительных поперечных сквозных каналов может составлять 180°/n, где n – количество поперечных сквозных каналов.
Технический результат (по второму варианту) достигается тем, что эструдер включает установленные в корпусе, по крайней мере, два шнека, экструзионную головку, имеющую каналы для выхода продукта из экструдера, при этом в экструзионной головке между входными и выходными отверстиями каналов для выхода продукта из экструдера перпендикулярно осям шнеков расположен вал, в котором под углом друг к другу выполнены поперечные сквозные каналы, сообщающиеся при вращении вала с каналами для выхода продукта из экструдера, при этом вал выполнен с регулируемым приводом на базе мотор-редуктора с частотным преобразователем.
В зоне между шнековой областью и экструзионной головкой может быть установлен датчик давления, управляющий частотным преобразователем.
Каналы для выхода продукта из экструдера могут быть выполнены в виде щелей, расположенных вдоль образующей вала.
Угол между поперечными сквозными каналами может составлять 180°/n, где n – количество поперечных сквозных каналов.
Заявленное изобретение поясняется чертежами, где на фиг. 1-6 проиллюстрирован вариант 1, на фиг.7-12 – вариант 2, в частности:
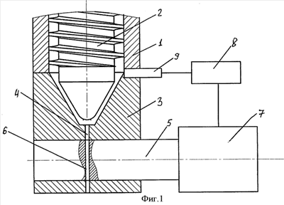
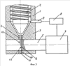
на фиг. 1 показан общий вид экструдера (вариант 1),
на фиг. 2 – поперечное сечение вала, проходящее через поперечный сквозной канал экструдера, изображенного на фиг.1,
на фиг. 3 – общий вид экструдера с дополнительными каналами для выхода продукта из экструдера и дополнительными поперечными сквозными каналами,
на фиг.4 – поперечное сечение вала, проходящее через поперечный сквозной канал экструдера, изображенного на фиг.3.
на фиг.5 – общий вид экструдера с каналом для выхода продукта из экструдера, выполненным в виде щели,
на фиг.6 – поперечное сечение вала, проходящее через поперечный сквозной канал экструдера, изображенного на фиг. 5.
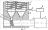
на фиг. 7 показан общий вид экструдера (вариант 2) с четырьмя каналами для выхода продукта из экструдера,
на фиг. 8 – поперечное сечение вала, проходящее через поперечный сквозной канал экструдера, изображенного на фиг.7,
на фиг.9 – общий вид экструдера с четырьмя каналами для выхода продукта из экструдера,
на фиг. 10 – поперечное сечение вала, проходящее через поперечный сквозной канал экструдера, изображенного на фиг.9.
на фиг.11 – общий вид экструдера с каналами для выхода продукта из экструдера, выполненными в виде щелей,
на фиг. 12 – поперечное сечение вала, проходящее через поперечный сквозной канал экструдера, изображенного на фиг. 11.
Экструдер (фиг. 1-2) включает установленный в корпусе 1 шнек 2, экструзионную головку 3, имеющую канал 4 для выхода продукта из экструдера. В экструзионной головке 3 между входным и выходным отверстиями канала 4 для выхода продукта из экструдера расположен вал 5, в котором выполнен поперечный сквозной канал 6, сообщающийся при вращении вала 5 с каналом 4 для выхода продукта из экструдера. Вал 5 установлен перпендикулярно оси шнека 2 и выполнен с регулируемым приводом 7 на базе мотор-редуктора с частотным преобразователем 8, а в рабочей камере экструдера установлен датчик давления 9.
В экструзионной головке (фиг.3-4) могут быть выполнены дополнительные каналы 10-11 для выхода продукта из экструдера, а вал 5 имеет расположенные под углом друг к другу дополнительные поперечные сквозные каналы 12-13, каждый из которых при вращении вала 5 сообщается с соответствующим дополнительным каналом 10-11 для выхода продукта из экструдера.
Канал 4 (фиг. 5-6) для выхода продукта из экструдера может быть выполнен в виде щели, расположенной вдоль образующей вала 5, при этом вал 5 имеет расположенные под углом друг к другу дополнительные поперечные сквозные каналы 12-13, сообщающиеся при вращении вала 5 с каналом 4 для выхода продукта из экструдера.
Экструдер работает следующим образом.
Продукт, подаваемый шнеком 2, поступает в конусную полость экструзионной головки 3. При вращении вала 5 часть периода времени канал 4 для выхода продукта из экструдера перекрыт телом вала 5 до момента, пока канал 4 для выхода продукта из экструдера не совпадет с поперечным сквозным каналом 6. В течение этого времени идет возрастание давления в зоне перед экструзионной головкой 3. При совпадении поперечного сквозного канала 6 с каналом 4 для выхода продукта из экструдера происходит образование сквозного прохода и кратковременный выброс продукта наружу. Затем этот проход закрывается, но через короткое время открывается снова. Время образования прохода определяется скоростью вращения вала 5 и его диаметром. В связи с тем, что выброс продукта из экструдера осуществляется кратковременными порциями, удается, во-первых, использовать проходные каналы (поперечные сквозные каналы 6, 12, 13 и каналы 4, 10, 11 для выхода продукта из экструдера) гораздо большего сечения, во-вторых, работать при больших уровнях давления, чем при непрерывном истечении продукта, т.е. уменьшить вероятность засорения проходных каналов. Изменением скорости вращения вала 5 можно регулировать величину максимального давления и пульсаций давления в конусных областях рабочей камеры экструдера, что также уменьшает вероятность засорения проходных каналов экструдера. Управление скоростью вращения вала 5 осуществляется с помощью частотного преобразователя 8, управляемого в свою очередь датчиком давления 9, установленным в зоне между шнековой областью и экструзионной головкой 3, т.е. в предматричной зоне.
Дополнительным преимуществом заявленного экструдера является то, что в нем происходит разделение выходного продукта на отдельные гранулы, величину которых можно изменять проходным сечением поперечных сквозных каналов и скоростью вращения вала 5.
Экструдер – вариант 2 (фиг.7-8, 9-10), включает установленные в корпусе 1, по крайней мере, два шнека 2, экструзионную головку 3, имеющую каналы 4 для выхода продукта из экструдера. В экструзионной головке между входными и выходными отверстиями каналов 4 для выхода продукта из экструдера перпендикулярно осям шнеков 2 расположен вал 5, в котором под углом друг к другу выполнены поперечные сквозные каналы 6, сообщающиеся при вращении вала 5 с каналами 4 для выхода продукта из экструдера. Вал 5 выполнен с регулируемым приводом 7 на базе мотор-редуктора с частотным преобразователем 8. В зоне между шнековой областью и экструзионной головкой 3 установлен датчик давления 9.
Каналы 4 (фиг. 11-12) для выхода продукта из экструдера могут быть выполнены в виде щелей, расположенных вдоль образующей вала.
Угол между поперечными сквозными каналами 6 составляет 180°/n, где n -количество поперечных сквозных каналов 6.
Экструдер работает следующим образом.
Продукт, подаваемый шнеком 2, поступает в конусные полости экструзионной головки 3. При вращении вала 5 часть периода времени один из каналов 4 для выхода продукта из экструдера перекрыт телом вала 5 до момента, пока он не совпадет с поперечным сквозным каналом 6. В течение этого времени идет возрастание давления в зоне перед экструзионной головкой 3. При совпадении поперечного сквозного канала 6 с каналом 4 для выхода продукта из экструдера происходит образование сквозного прохода и кратковременный выброс продукта наружу. Затем этот проход закрывается, но через короткое время открывается другой проходной канал, образованный другой парой каналов – вторым каналом 4 для выхода продукта из экструдера и вторым поперечным сквозным каналом 6. Время образования проходного канала определяется скоростью вращения вала 5 и его диаметром. В связи с тем, что выброс продукта из экструдера осуществляется кратковременными порциями, удается, во-первых, использовать проходные каналы (поперечные сквозные каналы 6 и каналы 4 для выхода продукта из экструдера) гораздо большего сечения, во-вторых, работать при больших уровнях давления, чем при непрерывном истечении продукта, т.е. уменьшить вероятность засорения проходных каналов. Изменением скорости вращения вала 5 можно регулировать величину максимального давления и пульсаций давления в конусных областях рабочей камеры экструдера, что также уменьшает вероятность засорения проходных каналов экструдера. Управление скоростью вращения вала 5 осуществляется с помощью частотного преобразователя 8, управляемого в свою очередь датчиком давления 9, установленным в зоне между шнековой областью и экструзионной головкой 3, т.е. в предматричной зоне.
Дополнительным преимуществом заявленного экструдера является то, что в нем происходит разделение выходного продукта на отдельные гранулы, величину которых можно изменять проходным сечением поперечных сквозных каналов и скоростью вращения вала 5.
Изобретение обеспечивает повышение и стабилизацию давления в предматричной зоне экструдера при изменении технологических параметров процесса в ходе экструдирования различного исходного сырья, повышение надежности работы, снижение трудозатрат на эксплуатацию экструдера, а также повышение фактической производительности экструдера.
Источники информации
1. Патент РФ 2294282, кл. А23Р 1/12, опубл. 27.02.2007.
2. Патент РФ 2186511, кл. А23Р 1/12, опубл. 27.04.2002.
Формула изобретения
1. Экструдер, включающий установленный в корпусе шнек, экструзионную головку, имеющую канал для выхода продукта из экструдера, отличающийся тем, что он снабжен расположенным в экструзионной головке между входным и выходным отверстиями канала для выхода продукта из экструдера валом, в котором выполнен поперечный сквозной канал, сообщающийся при вращении вала с каналом для выхода продукта из экструдера, при этом вал установлен перпендикулярно оси шнека и выполнен с регулируемым приводом на базе мотор-редуктора с частотным преобразователем.
2. Экструдер по п.1, отличающийся тем, что в зоне между шнековой областью и экструзионной головкой установлен датчик давления, управляющий частотным преобразователем.
3. Экструдер по п.1, отличающийся тем, что в экструзионной головке выполнены дополнительные каналы для выхода продукта из экструдера, а вал имеет расположенные под углом друг к другу дополнительные поперечные сквозные каналы, каждый из которых при вращении вала сообщается с соответствующим дополнительным каналом для выхода продукта из экструдера.
4. Экструдер по п.1, отличающийся тем, что канал для выхода продукта из экструдера выполнен в виде щели, расположенной вдоль образующей вала, при этом вал имеет расположенные под углом друг к другу дополнительные поперечные сквозные каналы, сообщающиеся при вращении вала с каналом для выхода продукта из экструдера.
5. Экструдер по п.3 или 4, отличающийся тем, что угол между поперечными сквозными каналами составляет 180°/n, где n – количество поперечных сквозных каналов.
6. Экструдер, характеризующийся тем, что он включает установленные в корпусе, по крайней мере, два шнека, экструзионную головку, имеющую каналы для выхода продукта из экструдера, при этом в экструзионной головке между входными и выходными отверстиями каналов для выхода продукта из экструдера перпендикулярно осям шнеков расположен вал, в котором под углом друг к другу выполнены поперечные сквозные каналы, сообщающиеся при вращении вала с каналами для выхода продукта из экструдера, при этом вал выполнен с регулируемым приводом на базе мотор-редуктора с частотным преобразователем.
7. Экструдер по п.6, отличающийся тем, что в зоне между шнековой областью и экструзионной головкой установлен датчик давления, управляющий частотным преобразователем.
8. Экструдер по п.6, отличающийся тем, что каналы для выхода продукта из экструдера выполнены в виде щелей, расположенных вдоль образующей вала.
9. Экструдер по п.6, отличающийся тем, что угол между поперечными сквозными каналами составляет 180°/n, где n – количество поперечных сквозных каналов.
РИСУНКИ
|
|