|
|
(21), (22) Заявка: 2008138281/13, 25.09.2008
(24) Дата начала отсчета срока действия патента:
25.09.2008
(46) Опубликовано: 20.06.2010
(56) Список документов, цитированных в отчете о поиске:
SU 1653692 A1, 07.06.1991. SU 248508 A, 10.12.1969. RU 2212863 C2, 27.09.2003. SU 1671224 A1, 23.08.1991. RU 70537 U1, 27.01.2008.
Адрес для переписки:
196601, Санкт-Петербург, Пушкин, Петербургское ш., 2, СПбГАУ, патентная группа
|
(72) Автор(ы):
Шкрабак Владимир Степанович (RU), Шкрабак Роман Владимирович (RU), Шкрабак Владимир Владимирович (RU), Посыпаева Юлия Александровна (RU), Теляковская Надежда Петровна (RU), Рюмин Андрей Анатольевич (RU)
(73) Патентообладатель(и):
Министерство сельского хозяйства РФ Федеральное государственное образовательное учреждение высшего профессионального образования “Санкт-Петербургский государственный аграрный университет” (ФГОУ ВПО СПбГАУ) (RU)
|
(54) УСТРОЙСТВО ФИКСАЦИИ ТУШ ЖИВОТНЫХ
(57) Реферат:
Изобретение относится к сельскому хозяйству, переработке мяса, а именно к оборудованию для безопасной транспортировки туш скота. Устройство фиксации туш животных содержит подвесной конвейер с грузонесущими элементами, каждый из которых содержит кронштейн с выступом в его нижней части и съемные крюки для навешивания туш. В верхней части крюка жестко крепится цепь, на конце которой жестко фиксируется зажим. Зажим выполнен из двух полуцилиндров, соединенных с одной стороны шарнирным соединением, а с другой стороны имеющих наружные выступы с соосными отверстиями. В одном из отверстий выполнена резьба. К наружному выступу, отверстие которого не имеет резьбы, жестко крепится соединительная цепь, с другого конца которой с возможностью вращения относительно нее установлен болт. В центральной части головки болта жестко крепится Т-образный ограничитель, на вертикальной стойке которого установлено кольцо, к которому крепится соединительная цепь. Изобретение повышает надежность фиксации туши животного на крюке и, как следствие, снижает вероятность травмирования работника. 1 з.п. ф-лы, 3 ил.
Изобретение относиться к сельскому хозяйству, переработке мяса, а именно к оборудованию для безопасной транспортировки туш скота.
Известно устройство для крепления на подвесном конвейере животных, преимущественно каракулевых ягнят, содержащее вертикально расположенную подвеску, механизм захвата ног животных, состоящий из каркаса, установленного в подвеске с возможностью поворота вокруг горизонтальной оси, образованного двумя частями, имеющими средство для их соединения и разъема, и двух захватов ног животных, смонтированных соответственно на верхней и нижней частях каркаса с возможностью поворота в горизонтальной плоскости, причем верхняя часть каркаса имеет полость с расположенной в ней пружиной, а нижняя выполнена из прутка, концевая часть которого входит в полость верхней части, при этом в полости верхней части каркаса над пружиной установлен поршень, а в стенке полости выполнены продольная и сопряженные с ней поперечные щели, служащие для фиксации положения поршня; пруток, образующий нижнюю часть каркаса, выполнен некруглым в поперечном сечении, а его концевой участок со стороны средства для соединения и разъема выполнен с уменьшенным поперечным сечением, при этом средство для соединения и разъема частей каркаса имеет полость, в которой расположена пружина, и отверстие, размер и форма которого соответствуют размеру и форме поперечного сечения прутка (А.С. 1671224 А22В 7/00).
Недостатками данного устройства являются следующие.
1. Захваты выполнены в виде клиновидных вырезов, что приводит к низкой надежности фиксации и, как следствие, возможности травмирования работников при убое и первичной переработке скота.
Наиболее близким аналогом к заявляемому устройству относится установка для транспортировки туш мелкого рогатого скота, включающая подвесной конвейер с грузонесущими элементами, каждый из которых содержит кронштейн с выступом в его нижней части и съемные крюки для навешивания туш; установка снабжена размещенной под подвесным конвейером направляющей для крюков, приемником-наполнителем, состоящим из нескольких участков подвесного пути, и стрелками для соединения каждого из этих участков с направляющей, при этом механизм перевески расположен в зоне размещения приемника-накопителя и представляет собой замкнутый цепной конвейер с толкателями, смонтированными с возможностью взаимодействия с крюками, причем каждый крюк в верхней части имеет палец, а в выступе каждого кронштейна выполнено отверстие для взаимодействия с пальцем крюка (А.С. 1653692, А22В 7/00).
Недостатками данного устройства являются следующие.
1. Туша животного подвешивается за острый край С-образного крюка. В процессе обработки возможен разрыв сухожилий туши и ее падение, что может привести к травмированию работников.
Задача изобретения – повышение надежности фиксации туши животного на крюке и, как следствие, снижение вероятности травмирования работников.
Поставленная задача решается за счет того, что устройство фиксации туш животных содержит подвесной конвейер с грузонесущими элементами, каждый из которых содержит кронштейн с выступом в его нижней части и съемные крюки для навешивания туш, при этом в верхней части крюка жестко крепится цепь, на конце которой жестко фиксируется зажим, выполненный из двух полуцилиндров, соединенных с одной стороны шарнирным соединением, а с другой стороны имеющих наружные выступы с соосными отверстиями, в одном из которых выполнена резьба, при этом к наружному выступу, отверстие которого не имеет резьбы, жестко крепится соединительная цепь, с другого конца которой с возможностью вращения относительно нее установлен болт. В центральной части головки болта жестко крепится Т-образный ограничитель, на вертикальной стойке которого установлено кольцо, к которому крепится соединительная цепь.
Новые существенные признаки
1. В верхней части крюка жестко крепится цепь, на конце которой жестко фиксируется зажим.
2. Зажим выполнен из двух полуцилиндров, соединенных с одной стороны шарнирным соединением.
3. С другой стороны полуцилиндры имеют наружные выступы с соосными отверстиями.
4. В отверстии одного из наружных выступов выполнена резьба.
5. К наружному выступу, отверстие которого не имеет резьбы, жестко крепится соединительная цепь, с другого конца которой с возможностью вращения относительно нее установлен болт.
6. В центральной части головки болта жестко крепится Т-образный ограничитель, на вертикальной стойке которого установлено кольцо, к которому крепится соединительная цепь.
Перечисленные новые существенные признаки в совокупности с известными необходимы и достаточны для достижения технического результата во всех случаях, на которые распространяется испрашиваемый объем правовой охраны.
Установка в верхней части крюка жестко закрепленной цепи, на конце которой жестко фиксируется зажим, служит для повышения надежности фиксации обрабатываемой туши на линии за счет дополнительного зажима, устанавливаемого перед скакательным суставом на ноге животного.
Выполнение зажима из двух полуцилиндров, соединенных с одной стороны шарнирным соединением, а с другой стороны с наличием наружных выступов с соосными отверстиями, позволяет легко раскрывать его для установки.
Наличие наружных выступов с соосными отверстиями облегчает фиксацию зажима после его установки. Выполнение внутренней резьбы только в одном отверстии предотвращает возможность несовпадения резьбы одного отверстия относительно другого. Установка соединительной цепи на наружном выступе, отверстие которого не имеет резьбы, обеспечивает прохождение фиксирующего болта через это отверстие и затем завинчивание его через отверстие, имеющее резьбу, для надежной фиксации ноги животного в зажиме. Для возможности осуществить завинчивание болта в резьбу отверстия создается возможность вращения болта относительно соединительной цепи.
Соединительная цепь, закрепленная между наружным выступом зажима и болтом, служит для соединения болта и зажима, повышая технологичность сборки зажима в процессе эксплуатации.
Наличие в центральной части головки болта жестко закрепленного Т-образного ограничителя, на вертикальной стойке которого установлено кольцо, к которому крепится соединительная цепь, позволяет надежно и просто фиксировать болт на соединительной цепи и обеспечить свободное вращение болта при завинчивании в резьбу.
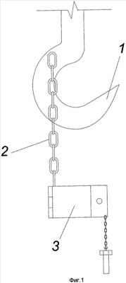
На фиг.1 схематично изображено устройство фиксации туш животных.
На фиг.2 схематично изображен зажим в открытом виде.
На фиг.3 схематично изображен зажим в закрытом виде.
Устройство фиксации туш животных содержит подвесной конвейер с грузонесущими элементами, каждый из которых содержит кронштейн с выступом в его нижней части (на фиг. не показан) и съемные крюки 1 для навешивания туш. В верхней части крюка 1 жестко крепится свободно натянутая цепь 2, на конце которой жестко фиксируется зажим 3, выполненный в виде двух полуцилиндров 4, которые соединены между собой с одной стороны соединением 5, а с другой стороны имеют наружные выступы 6, 7 с соосными отверстиями 8, 9 соответственно. В отверстии 9 выполнена резьба. К наружному выступу 6, отверстие 8 которого не имеет резьбы, жестко крепится соединительная цепь 10. А с другой стороны этой соединительной цепи 10 с возможностью вращения относительно нее установлен болт 11. В центральной части головки болта 11 жестко закреплен Т-образный ограничитель 12, на вертикальной стойке которого установлено кольцо 13, к которому крепится соединительная цепь 10.
При подвешивании туши животного на крюк 1 она дополнительно фиксируется перед скакательным суставом каждой ноги зажимом 3. Для этого каждый зажим 3 раскрывают и одевают на ногу животного перед скакательным суставом. Закрывают зажим 3 болтом 11, который устанавливают в соосные отверстия 8, 9 наружных выступов 6, 7. После этого завинчивают болт 11 в резьбу отверстия 9, тем самым надежно фиксируя ногу животного в зажиме. При срыве туши с крюка 1 зажим 3 обеспечивает удержание туши животного на линии за счет крепления зажима 3 через цепь 2 к крюку 1.
Снятие зажима происходит в обратном порядке.
Формула изобретения
1. Устройство фиксации туш животных, содержащее подвесной конвейер с грузонесущими элементами, каждый из которых содержит кронштейн с выступом в его нижней части и съемные крюки для навешивания туш, отличающееся тем, что в верхней части крюка жестко крепится цепь, на конце которой жестко фиксируется зажим, выполненный из двух полуцилиндров, соединенных с одной стороны шарнирным соединением, а с другой стороны имеющих наружные выступы с соосными отверстиями, в одном из которых выполнена резьба, при этом к наружному выступу, отверстие которого не имеет резьбы, жестко крепится соединительная цепь, с другого конца которой с возможностью вращения относительно нее установлен болт.
2. Устройство по п.1, отличающееся тем, что в центральной части головки болта жестко крепится Т-образный ограничитель, на вертикальной стойке которого установлено кольцо, к которому крепится соединительная цепь.
РИСУНКИ
|
|