|
|
(21), (22) Заявка: 2008127166/13, 04.07.2008
(24) Дата начала отсчета срока действия патента:
04.07.2008
(43) Дата публикации заявки: 10.01.2010
(46) Опубликовано: 20.06.2010
(56) Список документов, цитированных в отчете о поиске:
RU 2272410 C1, 27.03.2006. RU 2297147 C1, 20.04.2007. SU 1706506 A1, 23.01.1992.
Адрес для переписки:
119049, Москва, 1-й Добрынинский пер., 2/10, кв.38, А.Ю. Гаврилову
|
(72) Автор(ы):
Шамаев Алексей Николаевич (RU)
(73) Патентообладатель(и):
Шамаев Алексей Николаевич (RU)
|
(54) СПОСОБ ИЗГОТОВЛЕНИЯ ПРОДУКТА ПИТАНИЯ
(57) Реферат:
Изобретение относится к области пищевой промышленности и может быть использовано, в частности, при производстве полуфабрикатов, содержащих начинку и тестовую оболочку. Способ изготовления продукта питания из тестовой оболочки с начинкой заключаюется в том, что используют устройство для подачи начинки, включающее канал для подачи фарша в фаршенасос, сам фаршенасос, состоящий из электродвигателя и роторного насоса, а также фаршепитатель и соединяющий последний с фаршенасосом трубопровод. При этом на тестовые листы из фаршепитателя подают начинку, тогда как в процессе изготовления продукта обеспечивают либо переменный массовый или объемный расход начинки, либо переменную скорость упомянутой подачи. Изобретение позволяет добиться стабильного массового расхода начинки при изменении ее плотности в сочетании с высокой скоростью подачи начинки, а также упростить регулировку оборудования. Достижению заявляемого технического результата способствует также ряд отличительных признаков, указанных в зависимых пунктах. 4 з.п. ф-лы, 1 ил.
Область техники
Изобретение относится к области пищевой промышленности и может быть использовано, в частности, при производстве полуфабрикатов, содержащих начинку и тестовую оболочку.
Уровень техники
Известен дозатор (заявка на получение патента RU 2297147), выполненный в виде расположенного над вершиной клинообразного фрагмента фаршепитателя конструктивного элемента последнего, тогда как к нему подведен трубопровод, соединенный с фаршенасосом. Дозатор включает вентиль, включающий несколько поперечных отверстий, в которых размещены предметы. Упомянутые предметы выполнены с возможностью перемещения внутри указанных отверстий при воздействии на них определенной силы.
Достоинством такой конструкции являются обеспечение стабильности подачи начинки и постоянство параметров ее импульсной подачи.
Недостаток упомянутого дозатора заключается в следующем. Нагнетание начинки в дозатор происходит с помощью фаршенасоса, который должен иметь регулируемый привод или клапаны-задвижки для обеспечения постоянства массы начинки в полуфабрикате. Это делает конструкцию оборудования трудоемкой в настройке. При этом данная настройка происходит до запуска цикла изготовления полуфабриката, что делает сложным процесс перехода на производство изделий с другими начинками на одном и том же оборудовании и не позволяет интерактивно менять давление подачи в случае скачков плотности начинки.
Сущность изобретения
Основной задачей промышленного оборудования для производства полуфабрикатов с начинками является обеспечение постоянства при одновременном оптимуме соотношения массы начинки к массе оболочки, а также скорости изготовления конечного продукта, которая напрямую зависит от скорости осуществления подачи фарша в зону формирования конечного изделия.
Сложность выполнения этих задач заключается в необходимости регулировки оборудования при изменении необходимого массового расхода начинки при изменении порции начинки или при изменении типа начинки. Более того, в случае скачков плотности определенного вида начинки при заданном расходе происходит изменение соотношения массы начинки к массе оболочки.
Цель изобретения – добиться стабильного массового расхода начинки при изменении ее плотности в сочетании с высокой скоростью подачи начинки, а также упростить регулировку оборудования.
Поставленная цель реализуется благодаря достижению следующего технического результата:
– снижение трудоемкости настройки фаршенасоса на различную линейную скорость подачи начинки при изменении требуемого массового расхода или при изменении состава начинки;
– обеспечение стабильности массового расхода начинки, в частности, при изменении плотности последней;
– обеспечение целостности тестовой оболочки при формировании изделия;
– повышение плотности начинки в изделии и, как следствие, улучшение соотношения массы начинки к массе оболочки.
Заявляемый технический результат достигается следующим.
Для реализации цели изобретения предлагается использовать устройство для подачи начинки, включающее канал для подачи начинки в фаршенасос, сам фаршенасос, фаршепитатель и соединяющий последний с фаршенасосом трубопровод. При этом фаршенасос состоит из таких основных частей, как электродвигатель и роторный насос. Электродвигатель может быть асинхронным, а фаршенасос может иметь частотный преобразователь.
Упомянутое устройство в процессе изготовления продукта обеспечивает либо переменный массовый или объемный расход начинки, либо переменную скорость подачи последней, для чего оно может включать регулируемое перепускное устройство, на вход которого подают начинку из трубопровода, а выход которого соединяют с упомянутым каналом или непосредственно с фаршенасосом. Данное устройство имеет входной клапан, устанавливаемый в упомянутом трубопроводе после роторного насоса, и выпускное отверстие, которое находится в канале для подачи начинки или непосредственно в роторном насосе в зоне подачи начинки из канала для подачи начинки. Это обеспечивает удаление из трубопровода избыточной массы начинки и изменение линейной скорости подачи начинки в трубопроводе, если давление на выходе из насоса повышается из-за увеличения плотности начинки.
В другом исполнении заявляемое устройство для подачи начинки обеспечивает переменную скорость ее подачи за счет использования в его составе регулятора массового расхода, выполненного на основе подпружиненных упругим элементом с регулируемым усилием или упругой средой, в пространство за которой через впускной клапан закачан газ под давлением, поршня и/или мембраны. Данный регулятор устанавливают в трубопроводе и/или в фаршепитателе. При этом упомянутые трубопровод или фаршепитатель могут иметь расширение поперечного сечения внутреннего канала, по которому поступает начинка, в то время как описываемый регулятор может быть установлен в данном расширении. Данная конструкция позволяет при повышении давления из-за увеличения плотности начинки, поступающей в трубопровод, увеличить объем трубопровода и тем самым уменьшить линейную скорость начинки в трубопроводе. И, наоборот, при уменьшении давления из-за уменьшения плотности начинки, поступающей в трубопровод, уменьшить объем трубопровода, что приведет к увеличению линейной скорости начинки в трубопроводе. Это ведет к стабилизации массового расхода начинки.
В ином исполнении устройство для подачи начинки включает вибрационный уплотнитель фарша, установленный в трубопроводе и/или в фаршепитателе. Этот уплотнитель выполнен на основе подпружиненных упругим элементом поршня и/или мембраны, при этом на упомянутый элемент замкнут либо электромагнитный толкатель, либо кулачковый механизм, кинематически связанный с формующими изделия барабанами. Для достижения технического результата частота колебаний такого уплотнителя должна составлять не менее 2 за время формирования одного изделия. При работе этого устройства меняется линейная скорость подачи начинки, в то время как ее средняя линейная скорость подачи за время формирования одного изделия не изменяет массовый расход начинки от изделия к изделию.
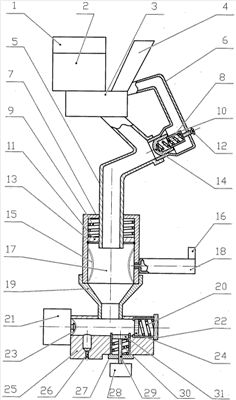
На чертеже представлен один из вариантов исполнения заявляемого устройства для подачи начинки.
На чертеже приняты следующие обозначения:
1 – регулятор частоты вращения электродвигателя;
2 – электродвигатель;
3 – роторный насос;
4 – канал подачи фарша в роторный насос;
5 – трубопровод;
6 – корпус;
7 – корпус;
8 – стакан;
9 – пружина;
10 – пружина;
11 – поршень;
12 – винт;
13 – поршень;
14 – клапан;
15 – мембрана;
16 – штуцер;
17 – полость;
18 – емкость с газом;
19 – переходник;
20 – пружина;
21 – электромагнитный толкатель;
22 – корпус;
23 – мембрана;
24 – поршень;
25 – фаршепитатель;
26 – отверстие для подачи начинки в зону формообразования продукта;
27 – корпус;
28 – кулачковый механизм;
29 – толкатель;
30 – пружина;
31 – поршень.
Сведения, подтверждающие возможность реализации изобретений
Заявляемое изобретение имеет следующее конструктивное исполнение.
Устройство для подачи начинки приводится в действие электродвигателем 2, который снабжен регулятором частоты его вращения 1. Крутящий момент от электродвигателя 2 передается на вал роторного насоса 3, который осуществляет нагнетание фарша из канала подачи 4 в трубопровод 5.
При повышении давления начинки выше требуемого она из трубопровода 5 поступает в размещенное в корпусе 6 перепускное устройство через клапан 14, сжимая установленную в стакане 10 пружину 8. Данное перепускное устройство регулируется с помощью винта 12.
Двигаясь по трубопроводу 5, начинка поступает в регулятор массового расхода, представляющий собой полость 17, ограниченную корпусом 7, в котором между стенкой корпуса 7 и трубопроводом 5 установлен поршень 11, опирающийся на стопорное кольцо 13. Поршень 11 перемещается под воздействием пружины 9.
Внутри полости 17 установлена мембрана 15, пространство за которой заполнено газом с избыточным давлением из емкости 18, при этом в последнюю газ закачен через штуцер 16.
Далее через переходник 19 начинка поступает в фаршепитатель 25, на одном конце которого установлен электромагнитный толкатель 21 с мембраной 23, предназначенный для вибрационного воздействия на начинку. На другом конце имеется еще одни регулятор массового расхода, заключенный в корпусе 22 и представляющий собой поршень 24 с пружиной 20.
Также в конструкции устройства для подачи начинки имеется вибрационный уплотнитель, выполненный в виде поршня 31, на который воздействует толкатель 29, соединенный с кулачковым механизмом 28. Возвратное движение поршня 31 обеспечивает пружина 30, установленная в корпусе 27 данного уплотнителя.
Также в фаршепитателе имеется отверстие для подачи начинки в зону формообразования продукта 26.
Заявляемое устройство функционирует следующим образом.
По каналу подачи начинки под действием силы тяжести начинка поступает в роторный насос, который приводится в действие электродвигателем. В случае использования асинхронного электродвигателя для регулирования частоты вращения такого двигателя может быть использован частотный преобразователь с плавным или дискретным изменением частоты. При дискретном изменении частоты шаг ее изменения может лежать в пределах 0,001-50 Гц, тогда как диапазон частоты вращения находится в пределах 0,1-150 об/сек. Роторный насос нагнетает начинку в трубопровод. В случае временного увеличения плотности начинки сверх допустимого предела давление в трубопроводе также может превысить допустимое, что приведет к разрыву тестовой оболочки изделия в процессе его формообразования. Для исключения разрыва тестовой оболочки в трубопроводе на расстоянии не более чем 0,5 метра от роторного насоса устанавливается регулируемое перепускное устройство. В случае повышения давления сверх допустимого давлением начинки сжимается пружина клапана перепускного устройства, при этом клапан открывает канал, по которому избыточная масса начинки поступает обратно в канал для подачи фарша или на вход в роторный насос. Поступая по трубопроводу, начинка проходит через регулятор массового расхода, представляющий собой полость, в которой установлен подпружиненный поршень. Под давлением поступающей в эту полость начинки пружина немного сжимается. При увеличении давления в процессе подачи начинки, связанного с неоднородностью начинки, поршень увеличивает давление на пружину, которая, сжимаясь, увеличивает объем полости, занятой начинкой, уменьшая при этом линейную скорость последней, что обеспечивает стабилизацию массового расхода начинки. В случае падения давления в процессе подачи начинки, связанного с неоднородностью начинки, поршень уменьшает давление на пружину, которая, разжимаясь, уменьшает объем полости, занятой начинкой, увеличивая при этом линейную скорость последней, что обеспечивает стабилизацию массового расхода начинки. Также по ходу движения начинки устанавливается мембрана, в пространстве за которой находится газ под избыточным давлением. Избыточное давление получают путем закачки газа через штуцер в емкость, соединенную с пространством за мембраной. При этом избыточное давление в пространстве за мембраной может находиться в пределах от 1000 Па до 300000 Па. При увеличении давления в процессе подачи начинки, связанного с неоднородностью начинки, последняя увеличивает давление на мембрану, которая, прогибаясь, увеличивает объем полости, занятой начинкой, уменьшая при этом ее линейную скорость, что обеспечивает стабилизацию массового расхода начинки. В случае падения давления в процессе подачи начинки, связанного с неоднородностью начинки, последняя уменьшает давление на мембрану, которая, выгибаясь, уменьшает объем полости, занятой начинкой, увеличивая при этом ее линейную скорость, что обеспечивает стабилизацию массового расхода начинки. Полость, в которой находятся поршень и мембрана регулятора массового расхода, может иметь площадь поперечного сечения, увеличенную по отношению к площади поперечного сечения трубопровода для более эффективной работы регулятора массового расхода. Причем такое отношение лежит в пределах от 1 до 100.
Затем начинка поступает в фаршепитатель. В фаршепитателе также находится регулятор массового расхода начинки в виде подпружиненного поршня. Под давлением поступающей в фаршепитатель начинки пружина немного сжимается. При увеличении давления в процессе подачи начинки, связанного с неоднородностью начинки, поршень увеличивает давление на пружину, которая, сжимаясь, увеличивает объем фаршепитателя, занятый начинкой, тем самым уменьшая линейную скорость последней, что обеспечивает дополнительную стабилизацию массового расхода начинки. В случае падения давления в процессе подачи начинки, связанного с неоднородностью начинки, поршень уменьшает давление на пружину, которая, разжимаясь, уменьшает объем фаршепитателя, занятый начинкой, увеличивая при этом линейную скорость последней.
Для улучшения соотношения массы начинки к массе тестовой оболочки в фаршепитателе установлены вибрационные уплотнители фарша. Один из вибрационных уплотнителей фарша приводится в действие электромагнитным толкателем, воздействующим через мембрану на поступающую в фаршепитатель начинку. При этом частота колебаний такого вибрационного уплотнителя фарша может регулироваться в зависимости от типа и плотности начинки и составлять от 0,5 Гц до 150 Гц, имея при этом регулируемую амплитуду колебаний мембраны.
Другой вибрационный уплотнитель фарша приводится в действие кулачковым механизмом, кинематически связанным с формообразующими изделия барабанами. Кулачковый механизм, действуя на толкатель, заставляет поршень двигаться в направлении начинки. Возвратное движение поршня обеспечивается усилием сжимающей пружины и давлением начинки. Число колебаний для эффективной работы такого вибрационного уплотнителя должно составлять не менее 2 за время формообразования одного изделия продукта.
В результате совместной работы перечисленных выше устройств и механизмов линейная скорость выхода начинки из отверстия фаршепитателя для подачи начинки в зону формообразования будет переменной.
Первая составляющая изменения скорости подачи начинки будет зависеть от изменения плотности начинки в процессе работы устройства и служит для стабилизации массового расхода начинки, т.е. получения одинаковой массы начинки в каждом изделии.
Вторая составляющая изменения скорости подачи начинки в процессе работы устройства будет зависеть от настройки вибрационных уплотнителей начинки. Эта настройка связана с плотностью начинки, размером изделия, временем его формообразования и массой начинки в одном изделии и служит для улучшения соотношения массы начинки к массе тестовой оболочки при сохранении одинаковой массы начинки в каждом изделии.
Формула изобретения
1. Способ изготовления продукта питания из тестовой оболочки с начинкой, заключающийся в том, что используют устройство для подачи начинки, включающее канал для подачи фарша в фаршенасос, сам фаршенасос, состоящий из электродвигателя и роторного насоса, а также фаршепитатель и соединяющий последний с фаршенасосом трубопровод, при том, что на тестовые листы из фаршепитателя подают начинку, тогда как в процессе изготовления продукта обеспечивают либо переменный массовый или объемный расход начинки, либо переменную скорость упомянутой подачи.
2. Способ по п.1, отличающийся тем, что конструкция устройства для подачи начинки включает регулируемое перепускное устройство, на вход которого подают фарш из трубопровода, а выход которого соединяют с упомянутым каналом или непосредственно с фаршенасосом.
3. Способ по п.1, отличающийся тем, что на поступающие на формующие барабаны тестовые листы из фаршепитателя подают начинку, тогда как в процессе изготовления продукта обеспечивают переменную скорость упомянутой подачи, для чего используют выполненный на основе поршня и/или мембраны, подпружиненных упругим элементом, на который замкнут либо электромагнитный толкатель, либо кулачковый механизм, кинематически связанный с барабанами вибрационный уплотнитель фарша, который устанавливают в трубопроводе и/или в фаршепитателе.
4. Способ по п.1, отличающийся тем, что устройство для подачи начинки включает выполненный на основе поршня и/или мембраны, подпружиненных упругим элементом с регулируемым усилием или упругой средой, в пространство за которой через впускной клапан закачен газ под давлением, регулятор массового расхода, который устанавливают в трубопроводе и/или в фаршепитателе.
5. Способ по п.4, отличающийся тем, что трубопровод или фаршепитатель имеет расширение поперечного сечения внутреннего канала, по которому поступает фарш.
РИСУНКИ
|
|