|
|
(21), (22) Заявка: 2008129981/13, 21.07.2008
(24) Дата начала отсчета срока действия патента:
21.07.2008
(43) Дата публикации заявки: 27.01.2010
(46) Опубликовано: 20.06.2010
(56) Список документов, цитированных в отчете о поиске:
RU 2325055 C1, 27.05.2008. RU 2289247 C2, 20.12.2006. RU 2196427 C2, 20.01.2003.
Адрес для переписки:
600020, г.Владимир, ул. Б. Нижегородская, 80А, ООО “Технопромэкспорт”, В.Н. Виноградову
|
(72) Автор(ы):
Виноградов Владимир Николаевич (RU), Шинаков Владимир Геннадьевич (RU), Лялин Алексей Владимирович (RU), Шинаков Игорь Владимирович (RU)
(73) Патентообладатель(и):
ООО “Технопромэкспорт” (RU)
|
(54) ДЕЛИТЕЛЬНО-ЗАКАТОЧНАЯ МАШИНА ДЛЯ ПРОИЗВОДСТВА ТЕСТОВЫХ ЗАГОТОВОК БАРАНОЧНЫХ ИЗДЕЛИЙ
(57) Реферат:
Предлагаемое изобретение относится к оборудованию хлебопекарной промышленности, а именно делительно-закаточным машинам для производства тестовых заготовок бараночных изделий. Машина включает приемную воронку для теста, питающие валки, поршневые камеры, в которых размещены нагнетательные поршни, формующие гильзы, сменную обойму с раскатывающими стаканами, скалки, сбрасыватели, ленточный транспортер и приводной механизм. Нагнетательные поршни установлены вертикально, питающие валки расположены один над другим, угол поворота валков устанавливается временем их вращения, а ленточный транспортер совершает возвратно-поступательное движение в горизонтальной плоскости в направлении, перпендикулярном движению ленты. Изобретение позволяет упростить конструкцию, снизить потребляемую мощность. 9 ил.
Предлагаемое изобретение относится к пищевой промышленности, в частности к хлебопекарному производству, а именно к хлебопекарному оборудованию.
Известна конструкция универсальной делительно-закаточной машины марки Б-4-58, которая предназначена для деления и закатки тестовых заготовок бубликов, баранок и сушек. Она состоит из приемной воронки для теста, питающих валков с механизмом регулирования угла поворота валков, сменных поршневых камер, в которых размещены нагнетательные поршни и формующие гильзы, сменной обоймы с раскатывающими стаканами, скалок, сбрасывателей, ленточного транспортера и приводного механизма. Рабочие органы машины приводятся в движение от электродвигателя, передающего движение через ременную передачу, цилиндрические пары шестерен главному валу, от которого передается движение через различные механизмы (кулачки, рычаги и др.) питающим валкам, нагнетательным поршням и ленточному транспортеру (Паспорт на универсальную делительно-закаточную машину для бараночных изделий Б-4-58000000 ПС, Курганмашзавод, 1995 г.).
Недостатком указанной делительно-закаточной машины является необходимость перекладки тестовых заготовок с ленточного транспортера на доски, которая производится вручную.
Известна также конструкция четырехручьевой делительно-закаточной машины с укладчиком тестовых заготовок на доски, разработанная ВНИИХПом (Технологическое оборудование хлебозаводов, Николай Владимирович Зайцев, Издательство «Пищевая промышленность», Москва 1967 г., стр.513-517), в которой укладка тестовых заготовок баранок на доски механизирована.
Принцип устройства и работа самой машины аналогичны универсальной делительно-закаточной машине Б-4-58. Отличаются эти машины между собой лишь тем, что последняя машина предназначена для деления и формования только круглых баранок, и позволяет механизировать операцию укладки их на доски.
В качестве прототипа выбрана конструкция делительно-закаточной машины, патент RU 2325055 С1, которая включает в себя приемную воронку для теста, питающие валки с механизмом регулирования угла поворота валков, поршневые камеры, нагнетательные поршни, гибкие трубки, формующие гильзы, скалки, сменную обойму с раскатывающими стаканами, сбрасыватели, приводной механизм, ленточный транспортер. Скалки закреплены на штоках пневмоцилиндров. Сменная обойма с раскатывающими стаканами связана со штоком пневмоцилиндра сменной обоймы, сбрасыватели закреплены на направляющем кронштейне, который связан со штоком пневмоцилиндра сбрасывателей. Формующие гильзы закреплены в блоке, который может перемещаться по направляющим, и связан со штокам пневмоцилиндра блока.
Принцип работы машины заключается в следующем: тесто из приемной воронки перемещается питающими валками в поршневую камеру. Нагнетательные поршни продвигают тесто по каналам в поршневой камере и далее через гибкие трубки в формующие гильзы. Под действием давления тесто выжимается через кольцевую щель, образованную торцом формующей гильзы и скалкой. После того как нагнетательные поршни закончили движение влево, начинается движение скалок, которые перемещаются вверх до упора с торцом формующих гильз. Происходит подрезание тестовых заготовок. Пневмоцилиндры приводят в возвратно-поступательное движение сменную обойму с раскатывающими стаканами. Тестовая заготовка закатывается между скалкой и внутренней поверхностью стакана. После окончания процесса закатки сменная обойма с раскатывающими стаканами занимает крайнее верхнее положение и включает пневмоцилиндр, который через направляющий кронштейн приводит в движение сбрасыватели, они совершают одно возвратно-поступательное движение, тестовая заготовка сдвигается по скалке вниз и опускается на доску, ленточный транспортер перемещает доски на заданный шаг. Пневмоцилиндр перемещает по направляющим блок с закрепленными на нем формующими гильзами, стаканами и сбрасывателями в противоположное крайнее положение – цикл движения всей машины повторяется. Управление работой пневмоцилиндров производится микропроцессорным устройством по заданному алгоритму.
Недостатком прототипа является сложность конструкции. Нагнетательным поршням приходится создавать в поршневой камере высокое давление для продвижения теста по каналам, гибким трубкам и формующим гильзам. При этом тесто подвергается деформации, которая негативно влияет на качество готовой продукции. Большие усилия при движении нагнетательных поршней требуют установки на машине пневмоцилиндров большой мощности, что приводит к увеличению расхода воздуха и, следовательно, потребляемой мощности.
Техническим результатом предлагаемого изобретения является упрощение конструкции, снижение потребляемой мощности, бережное обращение с тестом.
Этот технический результат достигается с помощью предложенной конструкции делительно-закаточной машины для производства тестовых заготовок бараночных изделий, которая включает: приемную воронку для теста, питающие валки, поршневые камеры, в которых размещены нагнетательные поршни и формующие гильзы, сменную обойму с раскатывающими стаканами, скалки, сбрасыватели, ленточный транспортер и приводной механизм, при этом нагнетательные поршни установлены вертикально, питающие валки расположены один над другим, угол поворота валков устанавливается временем их вращения, а ленточный транспортер совершает возвратно-поступательное движение в горизонтальной плоскости в направлении, перпендикулярном движению ленты.
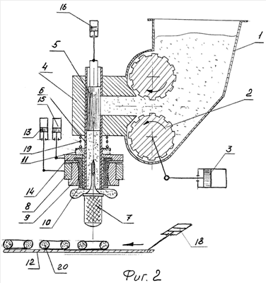
Предлагаемая делительно-закаточная машина для производства тестовых заготовок бараночных изделий представлена на чертежах (фиг.1 и фиг.2). Она включает в себя приемную воронку для теста 1, питающие валки 2 с механизмом регулирования угла поворота валков 3, поршневые камеры 4, нагнетательные поршни 5, формующие гильзы 6, скалки 7, сменную обойму 8 с раскатывающими стаканами 9, сбрасыватели 10, ножи 11, ленточный транспортер 12. Сменная обойма с раскатывающими стаканами связана с пневмоцилиндром 13, а сбрасыватели 10 закреплены в направляющем кронштейне 14, который связан с пневмоцилиндром 15. Нагнетательные поршни через шарнирный механизм связаны с пневмоцилиндром 16. Ленточный транспортер 12 установлен в направляющих 17 и связан с пневмоцилиндром 18. Ножи 11 прижаты к направляющему кронштейну 14 пружинами 19.
Работает машина следующим образом. Тесто из приемной воронки 1 (фиг.2) перемещается питающими валками 2 в поршневую камеру 4. Нагнетательные поршни 5 продвигают тесто в формующие гильзы 6. Под действием давления тесто выжимается через кольцевую щель, образованную торцом формующей гильзы 6 и скалкой 7. После того как нагнетательные поршни 5 закончили движение, включаются пневмоцилиндры 13 и 15, сменная обойма 8 и направляющий кронштейн 14 перемещаются вниз, ножи 11 под действием пружин 19 опускаются вниз до упора с торцом скалки 7 – происходит подрезание тестовой заготовки (фиг.4). В этом положении пневмоцилиндр 15 прекращает движение, а пневмоцилиндр 11 вместе с обоймой 8 и раскатывающими стаканами 9 начинает совершать возвратно-поступательное движение (фиг.5, 6) – происходит раскатка тестовой заготовки между скалкой 7 и стаканом 9. После окончания процесса раскатки включается пневмоцилиндр 15, который перемещает направляющий кронштейн 14 и сбрасыватели 10 вниз (фиг.7) – тестовая заготовка 20 перемещается на ленту транспортера 12 (фиг.8). Лента транспортера 12 вместе с тестовыми заготовками перемещается на один шаг, а пневмоцилиндр 18 перемещает по направляющим 17 (фиг.2) ленточный транспортер 12 до упора в свободную сторону перпендикулярно направлению движения ленты транспортера – таким образом, тестовые заготовки размещаются на ленте транспортера в шахматном порядке. Цикл движения машины повторяется. Работой всех пневмоцилиндров управляет микропроцессор по заданному алгоритму.
Формула изобретения
Делительно-закаточная машина для производства тестовых заготовок бараночных изделий, которая включает приемную воронку для теста, питающие валки, поршневые камеры, в которых размещены нагнетательные поршни, формующие гильзы, сменную обойму с раскатывающими стаканами, скалки, сбрасыватели, ленточный транспортер и приводной механизм, отличающаяся тем, что нагнетательные поршни установлены вертикально, питающие валки расположены один над другим, угол поворота валков устанавливается временем их вращения, а ленточный транспортер совершает возвратно-поступательное движение в горизонтальной плоскости в направлении, перпендикулярном движению ленты.
РИСУНКИ
|
|