|
|
(21), (22) Заявка: 2008142929/12, 29.10.2008
(24) Дата начала отсчета срока действия патента:
29.10.2008
(46) Опубликовано: 20.06.2010
(56) Список документов, цитированных в отчете о поиске:
RU 2110908 C1, 20.05.1998. RU 2111643 C1, 27.05.1998. SU 891014 A, 23.12.1981. RU 2332831 C1, 10.09.2008. SU 344811 A, 04.08.1972.
Адрес для переписки:
400002, г.Волгоград, 2, Университетский пр-кт, 26, ВГСХА, А.Н. Цепляеву
|
(72) Автор(ы):
Цепляев Алексей Николаевич (RU), Шапров Михаил Николаевич (RU), Абезин Валентин Германович (RU), Моторкин Александр Михайлович (RU), Цепляев Виталий Алексеевич (RU), Ульянов Максим Владимирович (RU)
(73) Патентообладатель(и):
Федеральное государственное образовательное учреждение высшего профессионального образования Волгоградская государственная сельскохозяйственная академия (RU)
|
(54) ВАЛКООБРАЗОВАТЕЛЬ ПЛОДОВ БАХЧЕВЫХ КУЛЬТУР
(57) Реферат:
Изобретение относится к сельскохозяйственному машиностроению, в частности к устройствам для уборки плодов бахчевых культур. Валкообразователь содержит закрепленную на навесной системе трактора угловую раму с закрепленными на ней секциями плодосдвигающих рабочих органов, выполненных в виде косо поставленных к направлению движения направляющих планок, связанных с опорными катками, установленными сзади планок. Плодосдвигающие рабочие органы в виде косо поставленных к направлению движения направляющих планок имеют наклон назад под углом 70 80°. Передняя рабочая поверхность направляющих планок имеет эластичное покрытие с низким коэффициентом трения относительно поверхности плодов. Сами направляющие планки смонтированы на угловой раме с помощью параллелограммных навесок, опирающихся на копирующее колесо и закрепленных к параллелограммной навеске с помощью шарниров. Правая тяга навески имеет пружинный амортизатор. За направляющими планками к угловой раме с помощью поводков закреплены плетеотрывные катки с ножами-измельчителями, закрепленными на боковой поверхности плетеотрывных катков по винтовой линии. Снижается количество травмированных плодов и обеспечивается возможность образования валка из плодов, очищенных от плетей. 4 ил.
Изобретение относится к сельскохозяйственному машиностроению, в частности к устройствам для уборки плодов бахчевых культур.
Известен валкообразователь плодов бахчевых культур, содержащий транспортное средство, угловую раму с шарнирно прикрепленными к ней секциями рабочих органов, выполненных в виде косопоставленных плодосдвигающих планок, связанных с опорными катками, установленными сзади плодосдвигающих планок, плодосдвигающее устройство, установленное перед передними колесами транспортного средства, при этом он снабжен прикатывающим катком, симметрично расположенным относительно осевой линии транспортного средства и шарнирно закрепленным на угловой раме, а плодоносящее устройство, установленное перед передними колесами транспортного средства, выполнено в виде прямого клина, а прикатывающий каток установлен за транспортным средством и погружен относительно угловой рамы (RU 2111643 С1, МПК6 A01D 45/00).
К недостаткам описанного валкообразователя относятся значительные повреждения плодов из-за двойного перекатывания и несовершенства конструкции рабочих органов.
Известен также подборщик корнеплодов, содержащий раму, несущую кулачковый питатель и связанные с механизмом привода грабельный захват и боковые подгребающие щитки с нижними рабочими кромками, при этом каждый из боковых подгребающих щитков снабжен двумя установленными в его нижней зоне шнеками, имеющими встречное направление вращения и расположенными параллельно нижней кромке щитка (RU 1240383, МПК4 A01D 51/00).
К недостаткам данного подборщика относятся сложность конструкции, а также высокая степень травмирования плодов шнековыми рабочими органами.
Известен валкообразователь плодов бахчевых культур, содержащий навешенный на движитель рабочий орган треугольной формы, а боковины рабочего органа выполнены по дуге, причем нижняя часть дуги смещена вперед относительно ее верхней части (RU 2112351 С1, МПК6 A01D 51/00).
К недостаткам валкообразователя относятся значительное травмирование плодов из-за протаскивания плодов по поверхности почвы и при скольжении плодов по боковинам.
Известен валкообразователь плодов бахчевых культур, содержащий угловую раму с шарнирно закрепленными на ней секциями плодосдвигающих рабочих органов, при этом для улучшения валкообразования рабочие органы в секциях выполнены в виде косо поставленных направляющих планок, связанных с опорными катками, установленными сзади планок, а направляющие планки секций в рабочей части имеют овальную форму (SU, авторское свидетельство 303953, МПК А01В 45/00).
К недостаткам валкообразователя относятся жесткое крепление плодосдвигающих рабочих органов к параллелограммной секции, что вызывает жесткий удар плода о направляющую планку и его повреждение.
Выполнение направляющей планки секции в рабочей части овальной формы вызывает при воздействии планки на плоды малых и средних диаметров результирующую силу, направленную к поверхности земли, это вызывает разрушение плодов, что было установлено экспериментально.
При воздействии планки на плод в данной конструкции валкообразователя вместе с плодом перемещаются плети, что вызывает сгруживание плодов и их травмирование.
Сущность заявленного изобретения.
Задача, на решение которой направлено заявленное изобретение, – подготовка валка из плодов без их травмирования для последующей машинной уборки.
Технический результат – снижение количества травмированных плодов и возможность образования валка из плодов, очищенных от плетей, а также не имеющих шарообразную форму.
Указанный технический результат достигается тем, что в известном валкообразователе плодов бахчевых культур, содержащем закрепленную на навесную систему трактора угловую раму с закрепленными на ней секциями плодосдвигающих рабочих органов, выполненных в виде косо поставленных к направлению движения направляющих планок, связанных с опорными катками, установленными сзади планок, согласно изобретения плодосдвигающие рабочие органы в виде косо поставленных к направлению движения направляющих планок имеют наклон назад под углом 70 80°, при этом передняя рабочая поверхность направляющих планок имеет эластичное покрытие с низким коэффициентом трения относительно поверхности плодов, а сами направляющие планки смонтированы на угловой раме с помощью параллелограммных навесок, опирающихся на копирующее колесо и закрепленных к параллелограммной навеске с помощью шарниров, при этом правая тяга навески имеет пружинный амортизатор, обеспечивающий возможность изменения угла установки направляющей планки к направлению движения, за направляющими планками к угловой раме с помощью поводков закреплены плетеотрывные катки с ножами-измельчителями, закрепленными на боковой поверхности плетеотрывных катков по винтовой линии.
Проведенные заявителем анализ уровня техники, включающий поиск по патентным и научно-техническим источникам информации и выявление источников, содержащих сведения об аналогах заявленного изобретения, позволил установить, что заявителем не обнаружен аналог, характеризующийся признаками, идентичными совокупности существенных признаков заявленного изобретения.
Следовательно, заявленное изобретение соответствует критерию «Новизна» по существующему законодательству.
Изобретение поясняется чертежами.
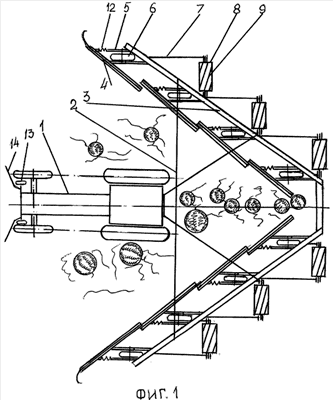
На фиг.1 изображен валкообразователь плодов бахчевых культур, вид в плане.
На фиг.2 изображена секция валкообразователя, вид сбоку.
На фиг.3 – то же вид в плане.
На фиг.4 – сечение А-А на фиг.3.
Сведения, подтверждающие возможность реализации заявленного изобретения, заключаются в следующем.
Валкообразователь плодов бахчевых культур содержит трактор 1, на навесной системе 2 которого установлена угловая рама 3 валкообразователя, с шарнирно закрепленными на ней секциями плодосдвигающих рабочих органов, выполненных в виде косо поставленных к направлению движения направляющих планок 4, которые смонтированы на раме 3 с помощью параллелограммных навесок 5 и опираются на поверхность земли копирующими колесами 6. К раме 3 с помощью поводков 7 закреплены плетеотрывные катки 8 с ножами-измельчителями 9. Ножи-измельчители установлены на боковой поверхности плетеотрывных катков 8 по винтовой линии. Направляющие планки 4 присоединены к поводкам параллелограммной навески 5 с помощью шарниров 10 отклоненными назад под углом 70 80° к поверхности земли.
При этом правый поводок 11 каждой параллелограммной навески имеет пружинный амортизатор 12. Впереди трактора 1, перед его передними колесами на копирующих катках 13 установлены плодосдвигающие планки 14, каждая плодосдвигающая планка 4 имеет эластичное покрытие 15 передней рабочей поверхности с низким коэффициентом трения относительно поверхности плодов 16, 17.
Подборщик плодов бахчевых культур работает следующим образом.
При движении по бахчевому полю плоды, находящиеся на линии перемещения опорно-приводных колес трактора 1, сдвигаются планками 14 и направляются между колесами трактора 1. При встрече плодов с направляющими планками 4 возникает ударный импульс, который сжимает пружину амортизатора 12, при этом планка 4 отклоняется назад, что снижает величину ударного импульса и уменьшает травмирование плодов. Установка направляющих планок 4 отклоненными назад при взаимодействии с плодом обеспечивает подъемную силу P1P2. Возвратное действие пружины амортизатора 12 способствует перекатыванию плода в валок, а эластичное покрытие 15 снижает травмирование плодов. Захват и перемещение плетей в валок предотвращается плетеотрывными катками 8. При этом ножи 9 производят измельчение плетей и частичное рыхление почвы, что способствует сохранению влаги в почве.
Применение пружинного амортизатора 12, шарнирное крепление планки к поводкам параллелограммной навески 5, эластичное покрытие направляющей планки обеспечивает значительное снижение травмирования плодов, а использование плетеотрывных катков 8 позволяет получать чистый валок плодов без плетей.
Формула изобретения
Валкообразователь плодов бахчевых культур, содержащий закрепленную на навесной системе трактора угловую раму с закрепленными на ней секциями плодосдвигающих рабочих органов, выполненных в виде косо поставленных к направлению движения направляющих планок, связанных с опорными катками, установленными сзади планок, отличающийся тем, что плодосдвигающие рабочие органы в виде косо поставленных к направлению движения направляющих планок имеют наклон назад под углом 70 – 80°, при этом передняя рабочая поверхность направляющих планок имеет эластичное покрытие с низким коэффициентом трения относительно поверхности плодов, а сами направляющие планки смонтированы на угловой раме с помощью параллелограммных навесок, опирающихся на копирующее колесо и закрепленных к параллелограммной навеске с помощью шарниров, при этом правая тяга навески имеет пружинный амортизатор, за направляющими планками к угловой раме с помощью поводков закреплены плетеотрывные катки с ножами-измельчителями, закрепленными на боковой поверхности плетеотрывных катков по винтовой линии.
РИСУНКИ
|
|