|
|
(21), (22) Заявка: 2008144527/12, 12.11.2008
(24) Дата начала отсчета срока действия патента:
12.11.2008
(46) Опубликовано: 20.06.2010
(56) Список документов, цитированных в отчете о поиске:
RU 2242101 C1, 20.12.2004. GB 2007071 A, 16.05.1979. ХАЛАНСКИЙ В.М. и др. Сельскохозяйственные машины. – М.: Колос, 2003, с.85, с.II. 11 д. SU 1342438 А1, 07.10.1987. RU 2200378 С2, 20.03.2003. US 4919211 A, 24.04.1990.
Адрес для переписки:
410000, г.Саратов, Главпочтамт, а/я 62, О.И.Куприяновой
|
(72) Автор(ы):
Покровский Вячеслав Владимирович (RU), Серебряков Владимир Михайлович (RU)
(73) Патентообладатель(и):
Покровский Вячеслав Владимирович (RU), Серебряков Владимир Михайлович (RU)
|
(54) ПОЧВООБРАБАТЫВАЮЩИЙ КАТОК
(57) Реферат:
Каток содержит вал с закрепленными на нем рабочими пластинами. На пластинах параллельно оси вала закреплены зубчатые планки, расположенные перпендикулярно радиусу вала. Зубцы на планке расположены перпендикулярно, с допустимым отклонением от указанного положения на величину до 10°. Зубцы образованы отогнутыми участками планки, находящимися между предварительно выполненными на планке надрезами и краями планки. Зубцы на планках расположены в два ряда по длинным сторонам в шахматном порядке. Пластины могут быть выполнены в форме правильных многоугольников, а зубчатые планки закреплены на сторонах многоугольников. Пластины могут быть выполнены в форме дисков. Надрезы на планке выполнены по форме дуги архимедовой спирали, или в форме дуги логарифмической спирали, или в форме дуги окружности. Такое конструктивное выполнение позволит повысить качество обработки почвы и расширить функциональные возможности катка за счет обеспечения резания и перемешивания комков почвы, расположенных на глубине, в процессе обработки почвы при одновременном снижении трудоемкости изготовления катка. 7 з.п. ф-лы, 10 ил.
Изобретение относится к сельскохозяйственному машиностроению, в частности к устройствам для измельчения почвенных комков, а также для выравнивания и перемешивания почвы.
Известно почвообрабатывающее орудие, содержащее установленные на раме посредством горизонтальной оси диски, каждый из которых имеет трапецеидальные ножи, расположенные по периметру диска под углом к плоскости его вращения (см. а.с. СССР 1535395, МПК А01В 21/04, опубл. 23.09.92 г.).
Недостатком данного устройства является его недостаточная эффективность из-за невысокого качества рыхления, обусловленного невозможностью размещения большого количества ножей. Кроме этого, устройство трудоемко в изготовлении.
Известен почвообрабатывающий каток, содержащий рабочие элементы в виде зубчатых планок, размещенных по многозаходным спиралям. Каток выполнен в виде барабана, состоящего из вала с приваренными к нему дисками, на которых закреплены в виде многозаходных спиралей зубчатые планки (см. патент РФ 2108014, МПК А01В 49/02, опубл. 10.04.1998 г.).
Основным недостатком данного устройства является большая трудоемкость его изготовления и невысокие функциональные возможности катка из-за неглубокого проникновения зубчатых планок в почву.
Наиболее близким к заявляемому является почвообрабатывающий каток, состоящий из вала с приваренными к нему перпендикулярно его оси дисками, на которых закреплены зубчатые планки. Зубчатые планки расположены в одной плоскости с осью вала (радиально), при этом их зубцы направлены по касательной к окружности дисков. Каждая из планок имеет с наружной стороны ряд прорезей, при этом зубцы планок образованы отогнутой в сторону от прорези частью планки (см. патент РФ 2242101, МПК А01В 29/04, опубл. 20.12.2004).
Недостатком прототипа является неглубокое рыхление почвы, так как зубцы направлены по касательной к окружности дисков.
Задачей изобретения является создание почвообрабатывающего катка простого в изготовлении, и обеспечивающего глубокую обработку разных типов почвы.
Технический результат заключается в повышении качества обработки почвы и расширении функциональных возможностей катка за счет обеспечения резания комков почвы, расположенных на глубине, в процессе обработки почвы. Кроме того, технический результат заключается в одновременном снижении трудоемкости изготовления катка.
Указанный технический результат достигается тем, что почвообрабатывающий каток содержит вал с закрепленными на нем рабочими пластинами, на которых параллельно оси вала закреплены зубчатые планки. Зубцы на планке расположены перпендикулярно, с допустимым отклонением от указанного положения на величину до 10°. Согласно решению зубчатые планки расположены перпендикулярно радиусу вала. Зубцы образованы отогнутыми участками планки, находящимися между предварительно выполненными на планке надрезами и краями планки. Зубцы на планках расположены в два ряда по длинным сторонам в шахматном порядке. Рабочие пластины выполнены в форме правильных многоугольников, при этом зубчатые планки закреплены на сторонах многоугольников. Рабочие пластины выполнены в форме дисков. Надрезы могут иметь форму дуги архимедовой спирали, логарифмической спирали или окружности.
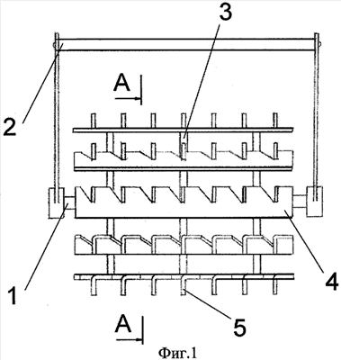
Изобретение поясняется чертежами, где на фиг.1 представлено схематичное изображение почвообрабатывающего катка в сборе, на фиг.2 – разрез А-А при использовании дисковых рабочих пластин, на фиг.3 – разрез А-А при использовании рабочих пластин в форме правильных многоугольников, на фиг.4 – вид Б режущей кромки зубца, на фиг.5 и 6 – планка с одним рядом зубцов, вид сверху, на фиг.7 – планка с двумя рядами зубцов, вид сверху, на фиг.8 – планка с двумя рядами зубцов, вид спереди, на фиг.9 – планка с зубцами, отогнутыми под разными углами, на фиг.10 – планка с зубцами, имеющими дугообразную кромку.
Позициями на чертежах обозначены:
1 – вал,
2 – тяга,
3 – рабочая пластина,
4 – зубчатая планка,
5 – зубец.
Почвообрабатывающий каток содержит вал 1, связанный через подшипниковые узлы с тягой 2 (фиг.1). Перпендикулярно валу 1 по всей его длине установлены рабочие пластины 3, по периметру которых параллельно оси вала на одинаковом расстоянии друг от друга установлены зубчатые планки 4. Рабочие пластины 3 могут быть выполнены в форме дисков, при этом плоскость планок расположена по касательной к дискам (фиг.2). Рабочие пластины 3 могут быть выполнены в форме правильных многоугольников, при этом зубчатые планки 4 закреплены на сторонах многоугольника (фиг.3). Зубчатая планка может быть выполнена из металлической пластины, например прямоугольной формы, на которой с одной (фиг.5, 6) или обеих (фиг.7 и 8) длинных боковых сторон под углом выполнены надрезы (прорези). Зубцы 5 образованы отогнутыми перпендикулярно плоскости планок участками металлической пластины, находящимися между надрезами и краями планок. Надрезы могут быть выполнены параллельно друг другу. Линии сгиба зубцов также могут располагаться параллельно друг другу. Угол – угол между линией сгиба и краем планки, угол – угол между линией прорези и краем планки 4, определяющий форму зубцов 5. Угол может быть выполнен постоянным или переменным, изменяющимся по длине планки от 90 до 60° (фиг.9). От величины и взаимного соотношения углов и , а также глубины прорезей зависит глубина рыхления почвы. Угол может быть любым. Выбор угла зависит от типа обрабатываемой почвы, который определяется плотностью, влажностью и наличием сорняков. Оптимальный результат достигается в случае расположения линий сгиба зубцов параллельно линии направления движения катка (перпендикулярно длинной стороне пластины) (фиг.5).
Зубцы выполнены отогнутыми от плоскости пластины под прямым углом, т.е. расположены перпендикулярно плоскости пластины с допустимым отклонением от такого расположения на величину до 10°. При этом форма зубца также может быть различной. Например, при прямолинейной линии сгиба и прямом надрезе зубцы имеют форму треугольника. При дугообразном надрезе и прямолинейной линии сгиба (фиг.10) зубцы имеют форму сектора круга. Криволинейные надрезы могут иметь форму дуги архимедовой спирали, дуги логарифмической спирали и т.п. Кроме того, отогнутые части планки также могут быть изогнуты по радиусу в одном направлении. Все полученные таким образом зубцы имеют кромку, прямолинейную или криволинейную, например дугообразную, которая при затачивании становится режущей и способствует более качественному крошению почвы (фиг.4). Наилучший вариант измельчения почвы достигается при выполнении заточки зубцов с уменьшающимся углом от поверхности пластины к вершине зубца, например, от 80 до 50°. Количество зубцов на планке может быть выполнено разным, количество которых зависит от состава, влажности и засоренности обрабатываемой почвы. Расстояние между зубцами варьируется в пределах от 50 до 120 мм. Высота зубцов – от 40 до 80 мм.
Устройство работает следующим образом. При движении по обрабатываемой почве каток вращается на валу 1 вокруг его оси, совершая поступательное движение посредством тяги 2. При этом рабочие пластины 3 воздействуют на почву, измельчая ее по прямым траекториям. Отогнутые зубцы 5 полностью погружаются в землю и образуют глубокие прорези в почве, измельчая крупные комки на глубине. Зубцы 5, отогнутые одинаково на угол в диапазоне от 60 до 90°, не только измельчают комки почвы, но и отбрасывают их в направлении, перпендикулярном линии отгиба. Зубцы 5, отогнутые под углом =90°, обеспечивают максимальную степень измельчения комков почвы, не отбрасывая ее (фиг.5). Зубцы 5, отогнутые с переменными углами, возрастающими от одного края планки к другому, отбрасывают комки почвы под разными углами. Для отброса комков почвы от центра к периферии следует применять планки, представленные на фиг.9.
Был изготовлен каток с шириной захвата 1500 мм, диаметром 350 мм и рабочими дисками в количестве 7 штук, два из которых расположены по краям катка, остальные пять – равномерно распределены по длине катка. На дисках были установлены зубчатые пластины в количестве 8 штук, также с равномерным их распределением по окружности катка.
Формула изобретения
1. Почвообрабатывающий каток, содержащий вал с закрепленными на нем рабочими пластинами, на которых параллельно оси вала закреплены зубчатые планки, при этом зубцы на планке расположены перпендикулярно, с допустимым отклонением от указанного положения на величину до 10°, отличающийся тем, что зубчатые планки расположены перпендикулярно радиусу вала.
2. Почвообрабатывающий каток по п.1, отличающийся тем, что зубцы образованы отогнутыми участками планки, находящимися между предварительно выполненными на планке надрезами и краями планки.
3. Почвообрабатывающий каток по п.1, отличающийся тем, что зубцы на планках расположены в два ряда по длинным сторонам в шахматном порядке.
4. Почвообрабатывающий каток по п.1, отличающийся тем, что рабочие пластины выполнены в форме правильных многоугольников, при этом зубчатые планки закреплены на сторонах многоугольников.
5. Почвообрабатывающий каток по п.1, отличающийся тем, что рабочие пластины выполнены в форме дисков.
6. Почвообрабатывающий каток по п.2, отличающийся тем, что надрезы на планке выполнены в форме дуги архимедовой спирали.
7. Почвообрабатывающий каток по п.2, отличающийся тем, что надрезы на планке выполнены в форме дуги логарифмической спирали.
8. Почвообрабатывающий каток по п.2, отличающийся тем, что надрезы на планке выполнены в форме дуги окружности.
РИСУНКИ
|
|