|
(21), (22) Заявка: 2009110267/09, 23.03.2009
(24) Дата начала отсчета срока действия патента:
23.03.2009
(46) Опубликовано: 10.06.2010
(56) Список документов, цитированных в отчете о поиске:
SU 706939, 30.12.1979. Вохминцев С.В. и др. Аппаратура станционной двухсторонней парковой связи с цифровой коммутацией. Ж.: Автоматика Связь Информатика, 2005, 10, с.6, 7. Найдено в Интернет: 03.08.2009. RU 19980 U1, 10.10.2001. CN 201036998 Y, 19.03.2008.
Адрес для переписки:
107174, Москва, ул. Новая Басманная, 2, ОАО “РЖД”, ЦУИС, Р.Ю. Тимофееву
|
(72) Автор(ы):
Слюняе Александр Николаевич (RU), Блиндер Илья Давыдович (RU), Каменецкий Борис Исаакович (RU), Вохминцев Сергей Владимирович (UA)
(73) Патентообладатель(и):
Открытое акционерное общество “Российские железные дороги” (RU)
|
(54) СПОСОБ ДВУХСТОРОННЕЙ ПАРКОВОЙ СВЯЗИ С ЦИФРОВОЙ КОММУТАЦИЕЙ
(57) Реферат:
Изобретение относится к области электросвязи и предназначено для организации громкоговорящей парковой связи на железнодорожных станциях, имеющих один или несколько технологических парков, на грузовых дворах, вокзалах, депо, промышленных предприятиях и обеспечивает взаимный вызов и переговоры диспетчеров станций с исполнителями технологического процесса в парках и исполнителей между собой. Технический результат заключается в возможности обеспечения связи в любой зоне станции за счет использования исполнителями средств радиодоступа, обеспечения связи для оповещения и ведения переговоров поездного диспетчера, диспетчера по пассажирским перевозкам и диспетчера службы гражданской обороны и чрезвычайных ситуаций, повышение надежности и снижение эксплуатационных расходов в результате применения системы мониторинга и администрирования, повышения оперативности и качества связи в результате сочетания средств громкоговорящего оповещения и радиосвязи. 1 з.п. ф-лы, 1 ил.
Изобретение относится к области электросвязи и предназначено для организации громкоговорящей парковой связи на железнодорожных станциях, имеющих один или несколько технологических парков, на грузовых дворах, вокзалах, депо, промышленных предприятиях.
Известен способ акустического оповещения, реализуемый устройством для акустического оповещения, заключающийся в использовании переговорных блоков, связанных через центральные коммутаторы с усилителями, подключенными к громкоговорителям (см. Каширская М.С. и др. Громкоговорящая связь на железнодорожном транспорте. М.: Транспорт, 1974, с.153-164.)
Недостатками известного способа являются значительные сложности обеспечения акустического оповещения больших площадей и создание значительных акустических помех.
Известен способ акустического оповещения, реализуемый известным устройством для акустического оповещения, заключающийся в использовании переговорных блоков, связанных через центральные коммутаторы с усилителями, подключенными к громкоговорителям и устройства индуктивной связи (SU 706936 A, 30.12.1979).
Недостатками известного способа являются значительные сложности обеспечения акустического оповещения и переговоров с исполнителями больших площадей.
Известен способ станционной двухсторонней парковой связи, реализуемый при использовании известной аппаратуры станционной двусторонней парковой связи модернизированной «СДПС.М 2» (см. Техническое описание 38130-00-00 ТО 1995 г., ТУ32ЦШ 3744-95.0КП 318582).
С использованием известной аппаратуры организуют системы станционной громкоговорящей связи различной сложности в зависимости от технологии работы проектируемой железнодорожной станции, количества командиров, линий громкоговорящего оповещения и парковых переговорных устройств, при этом соединение периферийных переговорных устройств: пультов командиров и парковых переговорных устройств, осуществляют через распределительные усилительные устройства.
Однако известный способ не обеспечивает надлежащей гибкости в выборе оптимального режима оповещения в случае отсутствия на заданной зоне станции переговорного устройства. Кроме того, известный способ использует аппаратуру, затраты на энергопотребление которой достаточно высокие.
10, 2005).
В состав аппаратуры станционной двухсторонней парковой связи с цифровой коммутацией входят устройство коммутации фидерных линий, устройство управления, трансляционные усилители, пульты руководителей, переговорные устройства, а также контрольно испытательное устройство.
Известный способ обеспечивает подключение пультов руководителей, переговорных устройств и фидерных линий громкоговорящего оповещения, позволяет конфигурировать работу в парках на отдельных технологических зонах, обеспечивает автоматическую диагностику и удаленный мониторинг, возможность автоматического оповещения ремонтных бригад. Однако он не решает вопросы обеспечения связи в любой точке станции, отсутствует возможность передачи оповещения и переговоров от поездного диспетчера, отсутствует возможность передачи оповещения на соседнюю станцию и ведение переговоров с ней.
Технический результат заключается в возможности обеспечения связи в любой зоне станции за счет использования исполнителями средств радиодоступа, обеспечения связи для оповещения и ведения переговоров поездного диспетчера, диспетчера по пассажирским перевозкам и диспетчеров служб гражданской обороны и чрезвычайных ситуаций, а также связи для оповещения на соседнюю станцию и ведения переговоров с ней.
Это достигается тем, что в способе двухсторонней парковой связи с цифровой коммутацией руководители, исполнители и диспетчера передают сигналы оповещения и ведут переговоры с помощью установленных в разных зонах станции или на соседних станциях устройств цифровой коммутации парковой связи, устанавливающих соединение с соответствующими фидерными линиями или линиями парковых переговорных устройств по командам устройства управления, для чего парковые переговорные устройства, пульты руководителей и диспетчеров, трансляционные усилители и аппаратуру оповещения ремонтных бригад подключают к устройству цифровой коммутации и устройству управления через соответствующие линейные комплекты, обеспечивающие сопряжение интерфейсов и передачу соответствующих команд управления и вызова, и занимают фидерные линии на время действия сигнала управления, при этом с исполнителями, удаленными от парковых переговорных устройств в парке, передачу оповещения и ведение переговоров осуществляют с помощью средств радиодоступа, подключенных через соответствующий линейный комплект к цифровому коммутатору, аналогичным образом обеспечивают передачу оповещения и ведение переговоров поездного диспетчера, диспетчера по пассажирским перевозкам и диспетчера служб гражданской обороны и чрезвычайных ситуаций.
При этом осуществляют мониторинг и администрирование двухсторонней парковой связи с последующей передачей информации о состоянии его оборудования в дорожный центр управления.
Предлагаемый способ реализуется с помощью системы двухсторонней парковой связи с цифровой коммутацией.
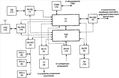
На чертеже представлена блок-схема системы двухсторонней парковой связи с цифровой коммутацией.
Система двухсторонней парковой связи с цифровой коммутацией содержит:
– устройство 1 управления, предназначенное для установки режимов работы и управления установлением соединений, ведения переговоров, посылкой вызовов, передачей громкоговорящего оповещения, разъединения;
– устройство 2 цифровой коммутации, предназначенное для установления соединения между пультами руководителей, линиями парковых переговорных устройств, входами трансляционных усилителей, устройствами радиодоступа, аппаратурой ОТС и аппаратурой парковой связи других станций;
– линейный комплект 3 связи с парковыми переговорными устройствами, предназначенный для сопряжения по уровням и сопротивлениям с линиями ППУ;
– линейный комплект 4 связи с трансляционным усилителем, предназначенный для сопряжения по уровням и сопротивлениям с трансляционным усилителем;
– линейный комплект 5 связи с пультом руководителя, предназначенный для физического и информационного сопряжения устройства 2 цифровой коммутации и устройства 1 управления с пультом 5 руководителя;
– линейный комплект 13 связи с аппаратурой оповещения, предназначенный для сопряжения по уровням и сопротивлениям с аппаратурой оповещения ремонтных бригад (на чертеже не показано);
– парковые переговорные устройства 8, предназначенные для установления связи с руководителем, диспетчером, другими парковыми переговорными устройствами и громкоговорящего оповещения;
– трансляционный усилитель 9, предназначенный для ведения громкоговорящего оповещения по фидерным линиями громкоговорящего оповещения;
– пульт 10 руководителя, предназначенный для установления связи руководителя с переговорными парковыми устройствами 8 и громкоговорящего оповещения;
– линейный комплект 6 сопряжения с аналогичным оборудованием двухсторонней парковой связи другой зоны, предназначенный для сопряжения устройства 2 цифровой коммутации с аналогичным оборудованием двухсторонней парковой связи, обеспечивающим связь в другой зоне станции или на соседней станции;
– линейный комплект 7 связи с пультом диспетчера, предназначенный для физического и информационного сопряжения устройства 1 управления и устройства 2 цифровой коммутации с пультом 11 диспетчера;
– пульт диспетчера 11, предназначенный для установления связи диспетчера с переговорными парковыми устройствами и громкоговорящего оповещения;
– устройство 12 мониторинга и администрирования, предназначенное для передачи информации о состоянии оборудования станционной двухсторонней парковой связи в Дорожный центр управления;
– линейный комплект 14 связи с устройством радиодоступа, предназначенный для сопряжения по уровням и сопротивлениям с устройством радиодоступа;
– устройство 15 радиодоступа, предназначенное для установления связи исполнителей в парке имеющих носимые устройства радиодоступа (носимые радиостанции) с руководителем, диспетчером и для громкоговорящего оповещения.
Взаимодействие в процессе передачи оповещения и переговоров обеспечивается с помощью устройства 2 цифровой коммутации, осуществляющего соединения по командам устройства 1 управления.
Используемые в системе переговорно-вызывные устройства 8, трансляционные усилители 9, пульты руководителей 10 и диспетчеров 11 подключаются к устройству цифровой коммутации 2 и к устройству управления 1 через соответствующие линейные комплекты 3, 4, 5, 7, обеспечивающие сопряжение интерфейсов и передачу команд управления и вызова.
Трансляция громкоговорящего оповещения и переговоров осуществляется с помощью трансляционного усилителя 9.
Передача громкоговорящего оповещения и переговоры исполнителей, находящихся в парках, с руководителями и между собой осуществляются с помощью парковых переговорных устройств 8.
Парковое переговорное устройство 8 содержит вызывное и управляющее устройство и приемо-передающий тракт с микрофоном и громкоговорителем.
Передающий и приемный тракты парковых переговорных устройств 8 подключены по линии связи к линейному комплекту 3.
К линии связи подключены параллельно остальные переговорные устройства парка (зоны парка).
Электропитание парковых переговорных устройств осуществляется по линии связи от линейного комплекта 3.
Подключение к выходу трансляционного усилителя 9 фидерной линии с громкоговорителями оповещения (режим «громкой» связи) осуществляется с помощью устройства управления усилителем (на схеме не показано).
Парковое переговорное устройство 8 оборудовано кнопками или переключателями (на фиг.1 не показано), предназначенными для посылки вызова на пульты 10 соответствующих руководителей и передачи оповещения (переговоров) в парке с трансляцией или без трансляции по громкоговорящей сети.
Пульт 10 руководителя содержит переговорное устройство и устройство, управляющее соединениями и вызовом, и обеспечивает возможность выхода на установленные регламентом фидерные линии и линии парковых переговорных устройств для передачи громкоговорящего оповещения и переговоров с исполнителями в парках.
На пульте 10 предусмотрена возможность ведения переговоров с трансляцией по громкоговорящей сети и без трансляции – в режиме «тихой» связи.
Между устройствами 2 цифровой коммутации, установленными в разных зонах станции или на соседних станциях, предусмотрено с помощью линейных комплектов 6 взаимодействие по каналам связи, в результате которого с пультов 10 руководителей соответствующих зон станции обеспечивается выход на фидерные линии и линии парковых переговорных устройств 8 других зон станции и соседних станций.
С пульта 11 диспетчера, содержащего переговорное устройство и устройство вызова и управления (на фиг.1 не показано), обеспечивается передача громкоговорящего оповещения в соответствующих зонах станций участка. Пульт 11 диспетчера может быть применен у поездного диспетчера, диспетчера по организации пассажирскими перевозками пригородного сообщения и диспетчера службы ГО и ЧС.
Соединение пульта 11 с устройствами оповещения осуществляется с использованием линейных комплектов 7.
Аппаратура автоматического оповещения ремонтных бригад подключается через последовательно соединенные линейный комплект 13, устройство 2 цифровой коммутации и линейный комплект 4 к трансляционному усилителю 9.
Порядок автоматической передачи оповещения ремонтных бригад осуществляется в соответствии с принятым на данном объекте регламентом.
Для оповещения и переговоров в отдельных зонах станции предусмотрено использование оборудования радиодоступа 15, подключенного к устройству 2 цифровой коммутации и устройству 1 управления через линейный комплект 14.
Оборудование двухсторонней парковой связи каждой станции (объекта) снабжено системой 12 мониторинга и администрирования.
Информация мониторинга передается по каналам связи в Дорожный центр управления.
Для организации станционной двухсторонней парковой связи систему используют следующим образом.
Для громкоговорящего оповещения руководитель с помощью пульта 10 подключает фидерные линии (на чертеже не показаны), по которым будет производиться оповещение, включает сигнал управления и передает сообщение через громкоговорители в парке, при этом автоматически включается режим работы «громко», а фидерные линии заняты только на время действия сигнала управления. При необходимости руководитель приглашает исполнителя в парке подключиться к линии связи. Исполнитель в парке с одного из переговорных устройств 8 подключается к линии связи и отвечает руководителю. Если абонент находится в удалении от переговорного устройства 8, он с помощью носимого устройства радиодоступа (на фиг. не показаны) через устройство радиодоступа 15 отвечает руководителю. При переговорах руководителя и исполнителя руководитель включает режим работы «тихо».
Для громкоговорящего оповещения от исполнителя в парке абонент нажимает соответствующую кнопку на переговорном устройстве 8 и передает сообщение через громкоговорители в парке. При этом фидерные линии заняты только на время действия сигнала управления, и громкоговоритель, находящийся в непосредственной близости от переговорного устройства, с которого производится оповещение, отключается во избежание акустической обратной связи.
Для связи с руководителем или диспетчером исполнитель в парке нажимает соответствующую кнопку на переговорном устройстве 8 и голосом вызывает руководителя для переговоров. При ответе руководителя автоматически включается режим работы «тихо», и переговоры производятся через громкоговоритель, встроенный в переговорное устройство 8.
Для связи между переговорными устройствами в парке абонент нажимает кнопку громкоговорящего оповещения на переговорном устройстве 8 и голосом приглашает исполнителя в парке подойти к одному из переговорных устройств. Отвечающий исполнитель отвечает с ближайшего переговорного устройства в режиме тихой или громкой связи.
Для вызова руководителя (диспетчера) исполнителем по радиоканалу исполнитель с носимого устройства радиодоступа посылает вызов и голосом вызывает руководителя для переговоров. При ответе руководителя автоматически включается режим работы «тихо».
Для громкоговорящего оповещения от исполнителя с носимого устройства радиодоступа абонент посылает вызов, устройство управления автоматически производит коммутацию входящего вызова на трансляционный усилитель громкоговорящего оповещения и передает сообщение через громкоговорители в парке, при этом фидерные линии заняты только на время действия сигнала управления.
Формула изобретения
1. Способ двухсторонней парковой связи с цифровой коммутацией, заключающийся в том, что руководители, исполнители и диспетчера передают сигналы оповещения и ведут переговоры с помощью установленных в разных зонах станции или на соседних станциях устройства цифровой коммутации парковой связи, устанавливающего соединение с соответствующими фидерными линиями или линиями парковых переговорных устройств по командам устройства управления, для чего парковые переговорные устройства, пульты руководителей и диспетчеров, трансляционные усилители и аппаратуру оповещения ремонтных бригад подключают к устройству цифровой коммутации и устройству управления через соответствующие линейные комплекты, обеспечивающие сопряжение интерфейсов и передачу соответствующих команд управления и вызова, и занимают фидерные линии на время действия сигнала управления, при этом с исполнителями, удаленными от парковых переговорных устройств в парке, передачу оповещения и ведение переговоров осуществляют с помощью средств радиодоступа, подключенных через соответствующий линейный комплект к цифровому коммутатору, аналогичным образом обеспечивают передачу оповещения и ведение переговоров поездного диспетчера, диспетчера по пассажирским перевозкам и диспетчера служб гражданской обороны и чрезвычайных ситуаций.
2. Способ по п.1, отличающийся тем, что осуществляют мониторинг и администрирование двухсторонней парковой связи с последующей передачей информации о состоянии его оборудования в дорожный центр управления.
РИСУНКИ
|