|
|
(21), (22) Заявка: 2009119535/09, 22.05.2009
(24) Дата начала отсчета срока действия патента:
22.05.2009
(46) Опубликовано: 10.06.2010
(56) Список документов, цитированных в отчете о поиске:
SU 811502 А1, 07.03.1981. RU 2115238 С1, 10.07.1998. US 2307771 А, 12.01.1943.
Адрес для переписки:
443096, г.Самара, а/я 2734, Н.П. Заметалиной
|
(72) Автор(ы):
Борисов Юрий Владимирович (RU), Борисов Павел Юрьевич (RU)
(73) Патентообладатель(и):
Общество с ограниченной ответственностью “Самарский внедренческий центр” (RU)
|
(54) УСТРОЙСТВО ПЕРЕДАЧИ ИНФОРМАЦИИ
(57) Реферат:
Устройство передачи информации относится к технике связи и может быть использовано для передачи телеметрической информации по высоковольтным линиям электропередач. Технический результат заключается в повышении надежности и безопасности работы устройства передачи информации при использовании высоковольтной линии электропередачи в качестве линии связи. Устройство передачи информации содержит блок передачи сигналов информации и блок приемника сигналов информации, подключенные через два трансформатора напряжения к высоковольтной линии электропередачи, используемой в качестве линии связи между блоком передачи сигналов информации и блоком приемника сигналов информации. В качестве трансформаторов напряжения используются понижающие трансформаторы, через которые подключены устройства потребителей электроэнергии. Выход блока передачи информации подключен к первому трансформатору напряжения через первый дополнительный трансформатор, магнитопровод которого охватывает линию, соединяющую нулевой провод вторичной обмотки первого трансформатора напряжения с заземлением. Вход блока приемника сигналов информации подключен ко второму трансформатору напряжения через второй дополнительный трансформатор, магнитопровод которого охватывает линию, соединяющую нулевой провод вторичной обмотки второго трансформатора напряжения с заземлением. 1 ил.
Изобретение относится к технике связи и может быть использовано для передачи телеметрической информации по высоковольтным линиям электропередач.
Известны устройства для передачи информации, содержащие блок передачи сигналов информации и блок приемника сигналов информации, подключенные через два трансформатора напряжения к высоковольтной линии электропередачи (см. например, описания изобретений к патентам US 2307771, C1 177-353, опубл. 16.01.1940; RU 2221333, МПК 7 Н04В 3/54, опубл. 10.01.2004; RU 2115238, МПК 6 Н04В 3/54, опубл. 10.07.1998; описание изобретения к авторскому свидетельству СССР 811502, МПК 3 Н04В 3/56, H02J 13/00, опубл. 07.03.1981).
Основным недостатком аналогичных устройств является недостаточная безопасность при эксплуатации, обусловленная необходимостью подключения трансформаторов напряжения к высоковольтной линии электропередачи через разделительный высоковольтный конденсатор.
Ближайшим аналогом заявленного технического решения является устройство для телесигнализации, содержащее блок передачи сигналов информации и блок приемника сигналов информации, подключенные через два трансформатора напряжения к высоковольтной линии электропередачи (см., например, описание изобретения к авторскому свидетельству СССР 811502, МПК 3 Н04В 3/56, H02J 13/00, опубл. 07.03.1981).
Недостатком ближайшего аналога является недостаточная безопасность при эксплуатации, обусловленная тем, что необходимы установка и подключение громоздкого конденсатора связи к высоковольтным проводам ЛЭП, для размещения которого в стандартном оборудовании трансформаторной подстанции не предусмотрено места.
Задачей заявленного технического решения является обеспечение подключения к высоковольтной линии как линии связи без дополнительных электрических контактов и без внесения изменений в уже эксплуатируемую систему энергоснабжения через понижающие трансформаторы потребителей электроэнергии.
Технический результат заключается в повышении надежности и безопасности работы устройства передачи информации при использовании высоковольтной линии электропередачи в качестве линии связи.
Сущность технического решения заключается в том, что оно содержит блок передачи сигналов информации и блок приемника сигналов информации, подключенные через два трансформатора напряжения к высоковольтной линии электропередачи, и отличается от ближайшего аналога тем, что выход блока передачи сигналов информации подключен к первому трансформатору напряжения через первый дополнительный трансформатор, магнитопровод которого охватывает линию, соединяющую нулевой провод вторичной обмотки первого трансформатора напряжения с заземлением, а вход блока приемника сигналов информации подключен ко второму трансформатору напряжения через второй дополнительный трансформатор, магнитопровод которого охватывает линию, соединяющую нулевой провод вторичной обмотки второго трансформатора напряжения с заземлением.
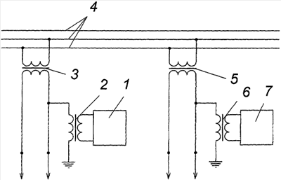
Сущность технического решения поясняется чертежом, на котором показана схема соединений.
Устройство передачи информации содержит блок передачи сигналов информации 1 и блок приемника сигналов информации 7, подключенные через два трансформатора напряжения 3 и 5 к высоковольтной линии электропередачи 4, используемой в качестве линии связи между блоком передачи сигналов информации 1 и блоком приемника сигналов информации 7. В качестве трансформаторов напряжения 3 и 5 используются понижающие трансформаторы, через которые подключены устройства потребителей электроэнергии. Выход блока передачи информации 1 подключен к первому трансформатору напряжения 3 через первый дополнительный трансформатор 2, магнитопровод которого охватывает линию, соединяющую нулевой провод вторичной обмотки первого трансформатора напряжения 3 с заземлением. Вход блока приемника сигналов информации 7 подключен ко второму трансформатору напряжения 5 через второй дополнительный трансформатор 6, магнитопровод которого охватывает линию, соединяющую нулевой провод вторичной обмотки второго трансформатора напряжения 5 с заземлением. Таким образом, выход блока передачи информации 1 подключен к высоковольтной линии электропередачи 4 через емкость между первичной и вторичной обмотками первого трансформатора напряжения 3 и первый дополнительный трансформатор 2, а вход блока приемника сигналов информации 7 подключен к высоковольтной линии электропередачи 4 через емкость между первичной и вторичной обмотками второго трансформатора напряжения 5 и второй дополнительный трансформатор 6.
Несущая частота генератора блока передачи информации 1 выбирается в диапазоне от десятков до сотен килогерц. Блок приема информации 7 рассчитан на прием сигналов в диапазоне несущей частоты блока передачи информации 1. В качестве магнитопроводов дополнительных трансформаторов 2 и 6 могут быть использованы кольцевые или прямоугольные ферритовые сердечники.
Одна из обмоток первого дополнительного трансформатора 2, присоединенная к выходу блока передачи информации 1, выполнена обычным образом. Вторая обмотка реализуется при охвате магнитопроводом первого дополнительного трансформатора 2 проводника линии, соединяющей нулевой провод вторичной обмотки первого трансформатора напряжения 3 с заземлением. Как правило, кольцевые или прямоугольные ферритовые сердечники выполняются из двух частей, соединяемых между собой после размещения на них обмоток. В заявленном техническом решении обе части магнитопровода первого дополнительного трансформатора 2 соединяются между собой после охвата проводника линии, соединяющей нулевой провод вторичной обмотки первого трансформатора напряжения 3 с заземлением.
Аналогичным образом выполнен второй дополнительный трансформатор 6 и его соединение с линией, соединяющей нулевой провод вторичной обмотки второго трансформатора напряжения 5 с заземлением.
Устройство работает следующим образом. Сигнал с выхода блока передачи информации 1 посредством первого дополнительного трансформатора 2 через емкость между первичной и вторичной обмотками трансформатора 3 возбуждает высокочастотные электрические колебания в линии электропередачи 4, которые распространяются вдоль нее. За счет этого через емкость между первичной и вторичной обмотками второго трансформатора напряжения 5 и через второй дополнительный трансформатор 6 на входе блока приема возбуждается сигнал, закон изменения которого повторяет закон изменения сигнала на выходе блока передатчика сигналов информации 1. Далее этот сигнал обрабатывается в блоке приемнике сигналов информации 7.
Заявленное устройство передачи информации испытано в реальных условиях на линии электропередачи предприятия ОАО «Приволжскнефтепровод», где оно подключалось в качестве составной части системы телеметрии. Проведенные испытания показали высокую достоверность связи, обеспечиваемой с помощью данного устройства, повышение надежности и безопасности работы устройства передачи информации при использовании высоковольтной линии электропередачи в качестве линии связи.
Формула изобретения
Устройство передачи информации, содержащее блок передачи сигналов информации и блок приемника сигналов информации, подключенные через два трансформатора напряжения к высоковольтной линии электропередачи, отличающееся тем, что выход блока передачи сигналов информации подключен к первому трансформатору напряжения через первый дополнительный трансформатор, магнитопровод которого охватывает линию, соединяющую нулевой провод вторичной обмотки первого трансформатора напряжения с заземлением, а вход блока приемника сигналов информации подключен ко второму трансформатору напряжения через второй дополнительный трансформатор, магнитопровод которого охватывает линию, соединяющую нулевой провод вторичной обмотки второго трансформатора напряжения с заземлением.
РИСУНКИ
|
|