|
|
(21), (22) Заявка: 2008138032/28, 23.09.2008
(24) Дата начала отсчета срока действия патента:
23.09.2008
(46) Опубликовано: 10.06.2010
(56) Список документов, цитированных в отчете о поиске:
SU 1048427 A1, 15.10.1983. JP 11273587 A, 08.10.1999. US 6194825 В1, 27.02.2001. WO 97/18607 A1, 22.05.1997.
Адрес для переписки:
141190, Московская обл., г. Фрязино, пр-кт Мира, 24, корп.3, кв.12, В.Н. Уласюку
|
(72) Автор(ы):
Уласюк Владимир Николаевич (RU), Уласюк Валентина Филипповна (RU)
(73) Патентообладатель(и):
Общество с ограниченной ответственностью “Научно-производственная компания “ЭЛИТАР” (RU)
|
(54) ЛАЗЕРНЫЙ ЭЛЕКТРОННО-ЛУЧЕВОЙ ПРИБОР ДЛЯ ГЕНЕРАЦИИ ПИКОСЕКУНДНЫХ ИМПУЛЬСОВ
(57) Реферат:
Изобретение относится к лазерным электронно-лучевым приборам, сканирующим полупроводниковым лазерам с накачкой электронным пучком, которые применяются, в частности, в измерительной и медицинской технике. Техническим результатом данного изобретения является обеспечение генерации пикосекундных импульсов с возможностью сканирования лазерного излучения в пределах, определяемых размером лазерного экрана. Лазерный электронно-лучевой прибор содержит последовательно расположенные электронную пушку, СВЧ отклоняющую систему, системы фокусировки и отклонения электронного пучка и лазерный экран, включающий плоскопараллельную полупроводниковую пластину с нанесенными на ее поверхности отражающими покрытиями и щелевую маску, выполненную из непрозрачного для электронов материала, расположенную со стороны электронного пучка. При приложении к СВЧ отклоняющей системе напряжения, достаточного для перемещения электронного пучка по лазерному экрану на ширину щели, из выбранной точки на оси любой из щелей маски генерируются пикосекундные импульсы излучения. 4 ил.
Настоящее изобретение относится к электронной и лазерной технике, а более конкретно к лазерным электронно-лучевым приборам – сканирующим полупроводниковым лазерам с накачкой электронным пучком для измерительной и медицинской техники.
Известен лазерный электронно-лучевой прибор [Патент РФ 2080718, кл. Н01S 3/18, 1997], содержащий электронную пушку и лазерный экран, содержащий полупроводниковую пластину с нанесенными на ее поверхности отражающими покрытиями, приклеенную оптически прозрачным клеем к лейкосапфировому хладопроводу, причем на лазерном экране выполнен дополнительно слой оксида алюминия толщиной (0,152±0,002) (где – длина волны излучения лазерного экрана), напыленный на поверхность лейкосапфирового хладопровода, к которому приклеена полупроводниковая пластина.
Известен лазерный электронно-лучевой прибор [В.Н.Уласюк. Квантоскопы. – М.: Радио и связь, 1988, с.105-108], содержащий электронную пушку с катодом и модулирующим электродом (модулятором), системы фокусировки и отклонения электронного пучка и лазерный экран, содержащий плоскопараллельную полупроводниковую пластину с нанесенными на ее поверхности отражающими покрытиями. Этот прибор наиболее близок к предлагаемому и поэтому выбран за прототип.
В известном приборе остросфокусированный (~10÷100 мкм) электронный пучок, сканируя по лазерному экрану, возбуждает излучение в полупроводнике, то есть точка экрана, возбуждаемая в данный момент электронным пучком, становится мини-лазером. Излучение выходит наружу через отражающее покрытие. Мощность излучения в конкретной точке лазерного экрана определяется уровнем накачки (током электронного пучка) и добротностью резонатора. Модулируя ток электронного пучка импульсным напряжением, подаваемым на модулятор, и отклоняя с помощью системы отклонения электронный пучок, сфокусированный фокусирующей системой, можно управлять длительностью и мощностью лазерных импульсов и осуществлять сканирование лазерного излучения в пределах лазерного экрана.
Недостаток известного прибора состоит в том, что модуляция лазерного излучения пикосекундными импульсами в них практически нереализуема. Связано это с тем, что для получения тока электронного пучка, достаточного для эффективной лазерной генерации (~1 мА), необходимы относительно большое управляющее напряжение на модуляторе (~100 В), относительно большая площадь эмитирующей поверхности катода (~1 мм2) и относительно малое расстояние катод-модулятор (~10 мкм). Такая геометрия определяет относительно большую паразитную емкость катод-модулятор (~10-11 Ф), вследствие чего реально достижимая длительность лазерных импульсов в известном приборе ограничена величиной порядка 1 нс.
Известен другой прибор на основе компактного ускорителя электронов с предварительной группировкой электронного потока [О.В.Богданкевич, С.А.Дарзнек, П.Г.Елисеев. Полупроводниковые лазеры. – М.: Наука, 1976, с.364-368], содержащий катод электронной пушки, трубки дрейфа, группирующие резонаторы, ускоряющие резонаторы, постоянный магнит, полупроводниковый лазерный монокристалл.
Ускоритель представляет собой обращенный клистрон средней мощности, работающий на частоте 8 ГГц, в котором электронный пучок, сформированный пушкой Пирса, последовательно проходит через четыре тороидальных резонатора, разделенных дрейфовыми трубками (первые два резонатора служат для группировки электронного потока в сгустки малой фазовой протяженности, два последующих – для ускорения электронных сгустков). Попадая на полупроводниковый монокристалл, электронный пучок вызывает генерацию лазерного излучения, интенсивность которого благодаря режиму самосинхронизации продольных мод на внутренней нелинейности активной полупроводниковой среды представляет собой регулярную последовательность пикосекундных импульсов. Период повторения этих импульсов Т определяется длиной лазерного резонатора L:
Т=2n*L/c,
где n* – эффективный показатель преломления внутрирезонаторной среды, L – расстояние между зеркалами резонатора, с – скорость света в вакууме.
Недостаток данного прибора состоит в том, что отклонение и острая фокусировка электронного пучка по всему лазерному экрану, а следовательно, сканирование лазерного излучения, практически не осуществимы из-за размытия энергетического спектра электронов, которое слишком велико для использования в сканирующих лазерных электронно-лучевых приборах даже при использовании предложенной многорезонаторной схемы с предварительной группировкой электронного потока.
В основу настоящего изобретения поставлена задача обеспечения генерации пикосекундных импульсов с возможностью сканирования лазерного излучения в пределах, определяемых размером лазерного экрана.
Поставленная задача решается тем, что лазерный электронно-лучевой прибор, содержащий электронную пушку, системы фокусировки и отклонения электронного пучка и лазерный экран, включающий плоскопараллельную полупроводниковую пластину с нанесенными на ее поверхности отражающими покрытиями, содержит дополнительно СВЧ отклоняющую систему, размещенную между электронной пушкой и системой отклонения электронного пучка, и щелевую маску, выполненную из поглощающего электроны материала, расположенную на полупроводниковой пластине со стороны электронного пучка. Щелевая маска может быть выполнена, в частности, с круглыми или квадратными отверстиями, или же с длинными параллельными щелями. Маска может быть выполнена, например, нанесением на лазерный экран в вакууме пленки тяжелых металлов (Os, W, Pt, Au и др.) с последующей фотолитографией, либо может использоваться металлическая маска, подобная используемым в цветных кинескопах, вплотную прижатая к лазерному экрану (предпочтительный вариант).
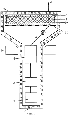
Сущность изобретения поясняется на фиг.1.
На фиг.1 приведен схематически изображенный в разрезе предлагаемый лазерный электронно-лучевой прибор для варианта щелевой маски с длинными параллельными щелями.
Лазерный электронно-лучевой прибор содержит вакуумированную оболочку 1, электронную пушку 2, СВЧ отклоняющую систему 3, системы фокусировки 4 и отклонения 5 электронного пучка 6, лазерный экран 7, представляющий собой полупроводниковую пластину 8 с отражающими покрытиями 9, 10 и щелевую маску 11.
Лазерный электронно-лучевой прибор работает следующим образом. Электронный пучок, формируемый электронный пушкой, фокусируется системой фокусировки и направляется системой отклонения в выбранное место лазерного экрана так, чтобы центр электронного пучка находился на оси одной из щелей щелевой маски при отключенной СВЧ-развертке. При подаче СВЧ-напряжения на СВЧ отклоняющую систему электронный пучок периодически отклоняют от оси выбранной щели с частотой, задаваемой внешним генератором СВЧ-развертки. При амплитуде СВЧ-напряжения достаточной, чтобы электронный пучок в крайних положениях СВЧ-развертки полностью затенялся поглощающими электроны перемычками щелевой маски, смежными с выбранной щелью, из выбранной точки экрана генерируются импульсы лазерного излучения пикосекундной длительности.
При размещении СВЧ отклоняющей системы вблизи от электронной пушки как можно дальше от лазерного экрана и ширине щели, не превышающей диаметр электронного пучка, угол отклонения в СВЧ отклоняющей системе невелик. Это позволяет, как показали эксперименты, использовать СВЧ отклоняющие системы с уплощенными спиральными электродами, используемыми в СВЧ осциллографических ЭЛП, и стандартные маломощные генераторы и усилители СВЧ-колебаний с регулируемой частотой колебаний порядка 1·1010÷2·1010 Гц и амплитудой, не превышающей нескольких вольт. При этом длительность импульсов тока накачки лазерного экрана составляет ~10-12 с, а интенсивность излучения представляет собой регулярную последовательность сверхкоротких импульсов с длительностью ~10-12 с. При равенстве частоты СВЧ-развертки разности частот соседних продольных мод резонатора, определяемых Т, становится возможным режим активной синхронизации продольных мод более устойчивый, чем режим самосинхронизации.
Еще одним возможным вариантом исполнения лазерного экрана предлагаемого прибора может быть создание в объеме полупроводникового материала областей, которые поглощают фотоны с частотой, лежащей в полосе лазерной генерации прибора, например областей в виде параллельных полос с легированием полупроводника, приводящим к безизлучательной рекомбинации носителей и поглощению света, или же удалением в пределах полос части полупроводникового материала с заполнением образовавшихся щелей безизлучательно поглощающим электроны материалом, например диффузионно-твердеющим металлическим припоем Ga-In-Cu или Ga-In-Ag. Более детально второй вариант исполнения лазерного экрана предлагаемого прибора поясняется на фиг.2. Лазерный экран в этом исполнении состоит из полупроводниковой пластины 8 с отражающими покрытиями 9, 10 и поглощающими областями 11.
Для увеличения Т может быть использован внешний резонатор, изготовленный из материала прозрачного для генерируемого лазерного излучения, например лейкосапфира или алюмоиттриевого граната, приклеенный к тонкой полупроводниковой пластине, или полупроводниковая гетероструктура, содержащая относительно тонкий активный слой, выращенный эпитаксиальным способом на подложке прозрачной для излучения, генерируемого в активном слое. Более детально варианты исполнения лазерного экрана предлагаемого прибора с внешним резонатором поясняются на фиг.3 и 4. Лазерный экран в этом исполнении состоит из внешнего резонатора 7а, полупроводниковой пластины 8 с отражающими покрытиями 9, 10 и щелевой маски 11 (фиг.3) или поглощающих областей 11 (фиг.4).
В качестве материала лазерного экрана могут быть использованы монокристаллы полупроводниковых соединений группы АII BVI (CdS, CdS1-х Seх, CdSe, Znx Cd1-xS, ZnSe ZnxCd1-xSe, ZnSe1-xTex) монокристаллы ZnO и GaAs, эпитаксиальные пленки GaPxAs1-x, и AlxGa1-xAs, выращенные на подложках из GaAs и GaP, а также гетероструктуры GaAs/GaAlAs, GaAs/GaPAs и CdS1-xSex/CdS, в том числе квантоворазмерные гетероструктуры.
Формула изобретения
Лазерный электронно-лучевой прибор, включающий электронную пушку, системы фокусировки и отклонения электронного пучка и лазерный экран, включающий плоскопараллельную полупроводниковую пластину с нанесенными на ее поверхности отражающими покрытиями, отличающийся тем, что содержит дополнительно СВЧ отклоняющую систему, расположенную между электронной пушкой и системой отклонения, и щелевую маску, выполненную из поглощающего электроны материала, расположенную на лазерном экране со стороны электронного пучка.
РИСУНКИ
|
|