|
(21), (22) Заявка: 2009113161/28, 09.04.2009
(24) Дата начала отсчета срока действия патента:
09.04.2009
(46) Опубликовано: 10.06.2010
(56) Список документов, цитированных в отчете о поиске:
US 4403166 А, 06.09.1983. US 5093600 А, 03.03.1992. RU 18594 U1, 27.06.2001. RU 21113 U1, 20.12.2001. RU 5288 U1, 16.10.1997. SU 433565 А1, 25.06.1974.
Адрес для переписки:
124460, Москва, Зеленоград, Панфиловский пр-кт, 10, ОАО “НИИ “Элпа”
|
(72) Автор(ы):
Гриценко Анатолий Лукьянович (RU), Брушкин Лев Рафаилович (RU), Шаруев Евгений Александрович (RU), Никифоров Виктор Георгиевич (RU)
(73) Патентообладатель(и):
Открытое акционерное общество “Научно-исследовательский институт “Элпа” с опытным производством” (ОАО “НИИ “Элпа”) (RU)
|
(54) ПЬЕЗОЭЛЕКТРИЧЕСКОЕ РЕЛЕ И СПОСОБ РЕГУЛИРОВАНИЯ ПАРАМЕТРОВ РЕЛЕ
(57) Реферат:
Изобретение относится к области коммутационной техники и может быть использовано при разработке и изготовлении пьезореле. Пьезокерамическое реле содержит основание, закрепленный на нем консольно биморфный пластинчатый пьезоэлемент с контактами цепи управления на неподвижном конце пьезоэлемента и с контактом коммутационной цепи, установленным на свободном конце пьезоэлемента, взаимодействующим при подаче напряжения на контакты цепи управления пьезоэлемента с другим контактом коммутационной цепи. Причем упомянутое реле дополнительно содержит механизм регулировки зазора между упомянутыми электрическими контактами коммутационной цепи, выполненный в виде установленного в корпусе цилиндрического торцевого кулачка, имеющего возможность поворота вокруг оси и подпружиненного рычага, один конец которого закреплен в упомянутом корпусе механизма регулировки зазора, а второй конец рычага находится в кинематической связи с упомянутым торцевым кулачком и содержит электрический контакт коммутационной цепи, взаимодействующий с другим упомянутым электрическим контактом, установленным на подвижном конце пьезоэлемента. Способ реализуется вышеуказанным устройством. Технический результат изобретения заключается в упрощении технического процесса производства и получении воспроизводимых параметров пьезоэлектрического реле. 2 н.п. ф-лы, 1 ил.
Настоящее изобретение относится к области коммутационной техники и может быть использовано при разработке и изготовлении пьезореле.
Известно пьезореле, содержащее корпус, в котором консольно закреплен плоский биморфный пьезоэлемент с выводами для подключения к схеме управления и подвижный электрический контакт, установленный на свободном конце пьезоэлемента, для подключения к цепи коммутации сигналов (Патент US 4.403.166).
Недостатками такого реле являются необходимость высокой точности сборки, обусловленная весьма малыми зазорами между электрическими контактами, и отсутствие возможности регулировки зазоров.
Наиболее близким техническим решением к предложенному изобретению является патент US 5.093.600 кл. 310/332.
В этом изобретении заявляется пьезоэлектрическое реле, содержащее основание (корпус), закрепленный на нем консольно пластинчатый биморфный пьезоэлемент с контактами цепи управления на неподвижном конце и с электрическим контактом коммутационной цепи, установленным на свободном конце пьезоэлемента, взаимодействующим при подаче напряжения на контакты цепи управления пьезоэлемента с другим электрическим контактом коммутационной цепи, установленным в основании реле.
Недостатки этого реле состоят в том, что для надежной работы и обеспечения воспроизводимости параметров реле требуется с высокой точностью (единицы микрон) выдержать зазор между контактами коммутационной цепи, что существенно усложняет технологический процесс производства и получение воспроизводимых параметров реле.
Задачей настоящего изобретения является получение технического результата, заключающегося в упрощении технического процесса производства и получении воспроизводимых параметров пьезоэлектрического реле.
Согласно изобретению указанный технический результат достигается в пьезоэлектрическом реле, содержащем основание, закрепленный на нем консольно биморфный пластинчатый пьезоэлемент с контактами цепи управления на неподвижном конце пьезоэлемента и с контактом коммутационной цепи, установленным на свободном конце пьезоэлемента, взаимодействующим при подаче напряжения на контакты цепи управления пьезоэлемента с другим контактом коммутационной цепи, реле снабжено механизмом регулировки зазора между упомянутыми электрическими контактами коммутационной цепи, выполненным в виде установленного в корпусе цилиндрического торцевого кулачка, имеющего возможность поворота вокруг оси, и подпружиненного рычага, один конец которого закреплен в упомянутом корпусе механизма регулировки зазора, а второй конец рычага находится в кинематической связи с упомянутым торцевым кулачком и содержит электрический контакт коммутационной цепи, взаимодействующий с другим упомянутым электрическим контактом, установленным на подвижном конце пьезоэлемента.
Таким образом, отличительным признаком изобретения является наличие механизма регулировки зазора между электрическими контактами коммутационной цепи, выполненного в виде установленного в корпусе цилиндрического торцевого кулачка, имеющего возможность поворота вокруг оси, и подпружиненного рычага, один конец которого закреплен в корпусе механизма регулировки зазора, а второй конец рычага находится в кинематической связи с торцевым кулачком и содержит электрический контакт коммутационной цепи, взаимодействующий с другим электрическим контактом, установленным на подвижном конце пьезоэлемента.
Указанная совокупность отличительных признаков позволяет достичь технического результата, заключающегося в упрощении технического процесса производства и получении воспроизводимых параметров реле.
Предлагается также способ регулировки параметров заявляемого пьезоэлектрического реле.
Задачей данного изобретения является достижение технического результата, заключающегося в упрощении технического процесса производства.
Поставленная задача решается в способе регулировки параметров пьезоэлектрического реле, отличающемся тем, что устанавливают пороговое напряжение срабатывания реле, вращая торцевой кулачок механизма регулирования зазора до момента замыкания контактов коммутационный цепи, затем подают на контакты управляющей цепи пьезореле пороговое напряжение срабатывания и поворачивают торцевой кулачок в сторону увеличения зазора до момента размыкания контактов.
Таким образом, отличительными признаками способа регулировки параметров пьезоэлектрического реле являются установление заданного порогового напряжения срабатывания реле вращением торцевого кулачка механизма регулирования зазора до момента замыкания контактов коммутационной цепи, подача на контакты управляющей цепи пьезореле порогового напряжения срабатывания и поворачивание торцевого кулачка в сторону увеличения зазора до момента размыкания контактов.
Указанная совокупность отличительных признаков позволяет достичь технического результата, заключающегося в упрощении технологического процесса производства и получении воспроизводимых параметров пьезореле.
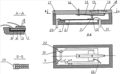
Сущность настоящего изобретения поясняется чертежом.
Основными элементами конструкции пьезореле являются основание 1, биморфный пьезокерамический элемент 2 и механизм регулировки зазора, собранный в корпусе 17.
Конструкция биморфного пьезоэлемента приведена в сечениях А-А и Б-Б на чертеже. Он состоит из двух слоев пьезоэлектрика 3, 4, покрытых слоями металла 5, 6, 7, образующими электроды. Верхний 5 и нижний 6 слои электрически соединены припаянной токопроводящей перемычкой 19 (сечение Б-Б).
Пьезоэлемент 2 консольно закрепляется одним концом на основании 1 с помощью эпоксидного клея 8. Наружный электрод 5 и внутренний электрод 7 соединены припаянными проволочными перемычками 9, 10 с внешними выводами пьезореле 20, 22.
На свободном конце пьезоэлемента 2 приклеена на изолирующей подкладке пластина 11, являющаяся подвижным контактом коммутационной цепи, выполненная из материала с высокой электропроводностью и износостойкостью, например из сплава Cu-Ag. С помощью припаянной гибкой проволочной перемычки 23 контактная пластина соединена с внешним выводом 23.
В корпусе 17 механизма регулирования зазора установлен торцевой цилиндрический кулачок 14, закрытый сверху крышкой 15, и подпружиненный рычаг 13 с контактным штырьком 12, являющимся неподвижным контактом коммутационной цепи, выполненным также из материала с высокой электропроводностью и износостойкостью. Рычаг 13 закреплен одним концом в корпусе 17, например, пайкой и штифтом 16. Противоположный конец рычага 13 через отверстие в корпусе 17 прижат к кулачку 14.
Пластина 1 и штырек 12 образуют пару электрических контактов коммутационной цепи, в которую они могут быть включены через внешние выводы 18, 21.
Описанное реле работает следующим образом.
При подаче на выводы 20, 22 управляющего напряжения пьезоэлемент 2 изгибается и зазор между штырьком 12 и пластиной 11 коммутационной цепи уменьшается.
При подаче на выводы 20, 22 порогового напряжения Uпор зазор становится равным нулю =0. При этом пластина 11 только касается штырька 12 практически без усилия прижатия.
При подаче на выводы 20, 22 рабочего напряжения Uраб пластина 11 прижимается к штырьку 12 с определенным усилием, зависящим от величины прогиба пьезоэлемента.
В связи с особенностями технологического процесса изготовления биморфного пьезоэлемента при одном и том же значении напряжения Uпор для разных образцов пьезореле зазор будет также различен. Кроме того, технологические допуски на изготовление деталей и монтаж пьезореле определяют значительный разброс начальной величины зазора .
Для получения воспроизведенных параметров пьезореле необходимо отрегулировать величину зазора между деталями 11, 12.
Регулировку зазора производят в следующем порядке.
Первоначально, вращая отверткой кулачок 14, добиваются замыкания контактов 11, 12. Это может быть проконтролировано с помощью омметра, подключенного к выводам 18, 21 коммутационной цепи.
Затем на выводы 20, 22 цепи управления подают пороговое напряжение заданной величины и поворачивают кулачок 14 в сторону увеличения зазора до момента разрыва цепи коммутации, определяемого также с помощью омметра.
Для надежной работы пьезореле рабочее напряжение Uраб цепи управления устанавливают больше порогового напряжения Uраб 1,5÷2 Uпор.
Минимальная величина Uпор определяется жесткостью крепления неподвижного конца пьезоэлемента 2 в основании реле и гистерезисными свойствами пьезокерамики.
После завершения регулировки реле кулачок 14 фиксируют с помощью эпоксидного клея.
Пример реализации изобретения.
В соответствии с настоящим изобретением были изготовлены экспериментальные образцы пьезоэлектрических реле, которые имеют следующие параметры:
1. Габаритные размеры, мм – 18×8×4;
2. Размеры пьезокерамического элемента, мм – 4×11×0,1
3. Материал пьезокерамики – ЦТС-46;
4. Пороговое напряжение срабатывания, В – 8±0,2 в партии из 5 шт.
5. Рабочее напряжение, В – 18;
6. Рабочая частота, Гц – 0÷240.
Формула изобретения
1. Пьезокерамическое реле, содержащее основание, закрепленный на нем консольно биморфный пластинчатый пьезоэлемент с контактами цепи управления на неподвижном конце пьезоэлемента и с контактом коммутационной цепи, установленным на свободном конце пьезоэлемента, взаимодействующим при подаче напряжения на контакты цепи управления пьезоэлемента с другим контактом коммутационной цепи, отличающееся тем, что упомянутое реле дополнительно содержит механизм регулировки зазора между упомянутыми электрическими контактами коммутационной цепи, выполненный в виде установленного в корпусе цилиндрического торцевого кулачка, имеющего возможность поворота вокруг оси и подпружиненного рычага, один конец которого закреплен в упомянутом корпусе механизма регулировки зазора, а второй конец рычага находится в кинематической связи с упомянутым торцевым кулачком и содержит электрический контакт коммутационной цепи, взаимодействующий с другим упомянутым электрическим контактом, установленным на подвижном конце пьезоэлемента.
2. Способ регулирования параметров пьезоэлектрического реле, отличающийся тем, что устанавливают пороговое напряжение срабатывания реле, вращая торцевой кулачок механизма регулирования зазора до момента замыкания контактов коммутационной цепи, затем на контакты управляющей цепи пьезореле подают пороговое напряжение срабатывания и поворачивают упомянутый торцевой кулачок в сторону увеличения зазора до момента размыкания контактов коммутационной цепи.
РИСУНКИ
|