|
|
(21), (22) Заявка: 2007112776/28, 06.10.2005
(24) Дата начала отсчета срока действия патента:
06.10.2005
(30) Конвенционный приоритет:
06.10.2004 KR 10-2004-0079447
(43) Дата публикации заявки: 10.10.2008
(46) Опубликовано: 10.06.2010
(56) Список документов, цитированных в отчете о поиске:
WO 2004025651 A1, 25.03.2004. WO 2004074976 A2, 02.09.2004. JP 2004213713 A, 29.07.2004. JP 2004039003 A, 05.02.2004.
(85) Дата перевода заявки PCT на национальную фазу:
05.04.2007
(86) Заявка PCT:
KR 2005/003312 20051006
(87) Публикация PCT:
WO 2006/038784 20060413
Адрес для переписки:
129090, Москва, ул.Б.Спасская, 25, строение 3, ООО “Юридическая фирма Городисский и Партнеры”, пат.пов. Ю.Д.Кузнецову
|
(72) Автор(ы):
СЕО Канг Соо (KR), ЙОО Дзеа Йонг (KR), КИМ Биунг Дзин (KR)
(73) Патентообладатель(и):
ЭЛ ДЖИ ЭЛЕКТРОНИКС ИНК. (KR)
|
(54) НОСИТЕЛЬ ЗАПИСИ И СПОСОБ И УСТРОЙСТВО ВОСПРОИЗВЕДЕНИЯ ДАННЫХ С НОСИТЕЛЯ ЗАПИСИ
(57) Реферат:
Способ воспроизведения данных с носителя записи, на котором записаны первый элемент компоновки и второй элемент компоновки, имеющие различные атрибуты. Способ содержит этапы, на которых воспроизводят первый элемент компоновки, принимают команду «Вызвать» для перехода от воспроизведения первого элемента компоновки к воспроизведению второго элемента компоновки, приостанавливают операции первого блока воспроизведения, сохраняют информацию состояния воспроизведения первого элемента компоновки и воспроизводят второй элемент компоновки. Воспроизведение первого элемента компоновки осуществляется при помощи первого блока воспроизведения. Воспроизведение второго элемента компоновки осуществляется при помощи второго блока воспроизведения. Устройство для воспроизведения данных с носителя записи содержит первый и второй блоки воспроизведения, диспетчер модулей и регистр плеера. Диспетчер модулей выполнен с возможностью приема команды «Вызвать». Регистр плеера выполнен с возможностью сохранения информации состояния воспроизведения первого элемента компоновки, когда воспроизведение первого элемента компоновки приостановлено. Технический результат – возможность эффективно управлять данными на носителе записи, что ведет к большему удобству пользователя. 3 н. и 20 з.п. ф-лы, 21 ил.
Область техники
Изобретение относится к носителю записи и, более конкретно, к способу воспроизведения данных и устройству для эффективного воспроизведения данных, имеющих различные атрибуты, записанные на носителе записи.
Уровень техники
Оптический диск, служащий в качестве носителя записи, позволяющего записывать на нем большой объем данных, получил в целом широкое распространение. В частности, недавно был разработан оптический носитель высокой плотности записи, позволяющий записывать/хранить высококачественные видеоданные и высококачественные звуковые данные в течение длительного времени, например, диски формата Blu-ray (BD).
Диск BD, основанный на способе записи на носитель следующего поколения, считается решением в области оптической записи следующего поколения, позволяющим хранить значительно больше данных, чем обычный DVD. В последнее время многие разработчики проводят широкие исследования в области связанных с BD технических характеристик международного стандарта, а также в области технических характеристик, относящихся к другим цифровым устройствам.
В связи с вышеуказанной ситуацией недавно было разработано оптическое устройство записи/воспроизведения, основанное на международном стандарте BD, но поскольку разработка международного стандарта BD еще не завершена, остается множество ограничений и препятствий для разработки оптического устройства записи/воспроизведения.
В частности, на вышеуказанный BD может быть записано множество блоков данных, имеющих различные атрибуты, первый элемент компоновки (тайтл), под которым записан фильм, сжатый в формате MPEG2, второй элемент компоновки, под которым записана интерактивная информация, включающая фильмы, выполняемые программой Java, третий элемент компоновки, записанный на Web-языке.
Однако способ и устройство для воспроизведения вышеуказанных данных (например, элементов компоновки), имеющих различные атрибуты, пока не известны специалистам в данной области техники, имеющим отношение к техническим характеристикам BD, так что возникает множество ограничений и проблем при разработке оптического устройства записи/воспроизведения на основе BD.
Раскрытие изобретения
Соответственно, настоящее изобретение относится к способу и устройству для воспроизведения данных с носителя записи, которые по существу устраняют одну или несколько проблем, связанных с ограничениями и недостатками соответствующего уровня техники.
Задача настоящего изобретения заключается в том, чтобы получить способ и устройство для воспроизведения данных с носителя записи, на который записаны данные, имеющие различные атрибуты, так что на носитель записи записывается информация, классифицирующая данные, имеющие различные атрибуты, и данные, записанные на носителе записи, воспроизводятся с использованием этой информации.
Другие преимущества, задачи и признаки изобретения будут отчасти изложены в нижеследующем описании и отчасти станут ясны обычным специалистам в данной области техники после ознакомления с нижеследующим или могут быть поняты при практическом использовании изобретения. Задачи и другие преимущества настоящего изобретения могут быть поняты и достигнуты на основе конструкции, которая, в частности, указана в письменном описании и формуле настоящего изобретения, а также на прилагаемых чертежах.
Для решения этих задач и обеспечения других преимуществ и в соответствии с целью изобретения, изложенного и в общих чертах описанного в настоящей заявке, способ воспроизведения данных с носителя записи, на котором записан первый элемент компоновки и второй элемент компоновки, имеющие различные атрибуты, включает в себя этапы, на которых воспроизводят первый элемент компоновки при помощи первого специально предназначенного блока воспроизведения и выполняют переход воспроизведения от первого элемента компоновки ко второму элементу компоновки посредством остановки первых специально предназначенных блоков воспроизведения и запуска вторых специально предназначенных блоков воспроизведения.
Другим объектом настоящего изобретения является устройство воспроизведения данных с носителя записи, на котором записаны элемент компоновки HDMV и элемент компоновки Java, имеющие различные атрибуты, устройство включает в себя средство управления воспроизведением для воспроизведения операции воспроизведения в соответствии со статическим сценарием, записанным на носителе записи, модуль фильма для управления средством управления воспроизведением в соответствии с командой воспроизведения элемента компоновки HDMV, модуль BDJ для выполнения программы Java, способной воспроизводить элемент компоновки Java, и управления средством управления воспроизведением, когда требуется операция воспроизведения, вызванная статическим сценарием, записанным на носителе записи, и диспетчер модулей для приема внешней команды управления и управления операциями, выполняемыми модулем фильма и модулем BDJ.
Еще одним объектом настоящего изобретения является носитель записи, который включает в себя область записи элементов компоновки, в которой записаны первый элемент компоновки и второй элемент компоновки, имеющие различные атрибуты, и область записи управляющих файлов, в которой записаны первый управляющий файл для воспроизведения первого элемента компоновки и второй управляющий файл для воспроизведения второго элемента компоновки, причем область записи управляющих файлов хранит информацию для классификации первого элемента компоновки и второго элемента компоновки.
Предпочтительно, чтобы первый элемент компоновки являлся элементом компоновки HDMV, а второй элемент компоновки – элементом компоновки Java.
Следует понимать, что как предшествующее общее описание, так и последующее подробное описание настоящего изобретения являются иллюстративными и поясняющими и предназначены для более подробного объяснения изобретения, изложенного в формуле.
Краткое описание чертежей
Прилагаемые чертежи, которые включены для обеспечения большей ясности изобретения и являются составной частью настоящей заявки, иллюстрируют вариант(ы) выполнения изобретения и вместе с описанием служат для объяснения основной идеи изобретения. На чертежах:
Фиг.1A-1C – концептуальные схемы, иллюстрирующие отдельные элементы компоновки, записанные на носителе записи (а именно на BD-ROM) согласно настоящему изобретению.
Фиг.2 – концептуальная схема, иллюстрирующая файловую структуру, записанную на оптическом диске, служащем в качестве носителя записи, и взаимосвязи для воспроизведения данных файловой структуры согласно настоящему изобретению.
Фиг.3 – структурная схема, иллюстрирующая структуру записи данных, записанную на оптический диск согласно настоящему изобретению.
Фиг.4A и 4B – концептуальные схемы, иллюстрирующие воспроизведение элемента компоновки и взаимосвязи при переходе между элементами компоновки согласно настоящему изобретению.
Фиг.5A и 5B – блок-схемы, иллюстрирующие устройство для воспроизведения данных с носителя записи согласно настоящему изобретению.
Фиг.6A и 6B – концептуальные схемы, иллюстрирующие способ воспроизведения данных с носителя записи, и операции, когда по команде Jump (Перескочить) происходит переход от элемента компоновки HDMV к элементу компоновки Java согласно настоящему изобретению.
Фиг.7A и 7B – концептуальные схемы, иллюстрирующие способ воспроизведения данных с носителя записи, и операции, когда по команде Jump (Перескочить) происходит переход от элемента компоновки Java к элементу компоновки HDMV согласно настоящему изобретению.
Фиг.8A и 8B – концептуальные схемы, иллюстрирующие способ воспроизведения данных с носителя записи, и операции, когда по команде Call (Вызвать) происходит переход от элемента компоновки HDMV к элементу компоновки Java согласно настоящему изобретению.
Фиг.9A и 9B – концептуальные диаграммы, иллюстрирующие способ воспроизведения данных с носителя записи, и операции, когда по команде Resume (Возобновить) происходит переход от элемента компоновки Java к элементу компоновки HDMV согласно настоящему изобретению.
Фиг.10 – блок-схема, иллюстрирующая устройство для воспроизведения данных с носителя записи, и, в частности, устройство для приема/обработки команды пользователя согласно настоящему изобретению.
Фиг.11 – блок-схема, иллюстрирующая устройство для воспроизведения данных с носителя записи, и, в частности, устройство для управления графической плоскостью согласно настоящему изобретению.
Фиг.12A и 12B – структурные схемы, иллюстрирующие информацию о синтаксисе индексного файла согласно настоящему изобретению.
Лучший вариант выполнения изобретения
Теперь будет приведено подробное описание предпочтительных вариантов осуществления настоящего изобретения, примеры которого иллюстрируются прилагаемыми чертежами. Всюду, где это возможно, одинаковые номера позиций относятся на всех чертежах к одинаковым или подобным составным частям.
Ниже описан способ и устройство воспроизведения данных с носителя записи со ссылкой на прилагаемые чертежи.
Перед началом описания настоящего изобретения следует заметить, что большинство терминов, раскрытых в настоящем изобретении, являются общими терминами, известными из уровня техники, но некоторые термины были выбраны заявителем по необходимости, и их значение будет раскрыто ниже в последующем описании настоящего изобретения. Поэтому предпочтительно, чтобы термины, определенные заявителем, понимались в соответствии с их значением в настоящем изобретении.
Носитель записи, предназначенный для использования в настоящем изобретении, относится ко всем носителям информации, например, к оптическим дискам, магнитной ленте и т.д. в соответствии с различными схемами записи. Для удобства описания и лучшего понимания настоящего изобретения, в дальнейшем описании в качестве примера вышеуказанного носителя записи в настоящем изобретении будет использоваться оптический диск, такой как BD. Следует заметить, что технические идеи настоящего изобретения могут применяться и в отношении других носителей записи без отступления от объема и сущности изобретения.
Термин “элемент компоновки” относится к воспроизводимому блоку, взаимодействующему с пользователем, и каждый элемент компоновки связан с определенным объектом, так что поток, связанный с соответствующим элементом компоновки, записанным на диске, воспроизводится в соответствии с командой или программой, хранящейся в объекте.
Элемент компоновки, записанный на диске, и файловая структура на диске для воспроизведения элемента компоновки будут описаны со ссылкой на фиг.2. В частности, для удобства описания и лучшего понимания настоящего изобретения первый элемент компоновки, в котором записаны фильмы и интерактивная информация в соответствии со схемой сжатия MPEG2, называется элементом компоновки HDMV, а второй элемент компоновки, в котором записаны фильмы и интерактивная информация в соответствии с программой Java, называется элементом компоновки Java.
Термин “объект” относится к информации управления воспроизведением, включающей команду или программу для воспроизведения диска. Иначе говоря, множество объектов, имеющихся на диске, связаны с определенным элементом компоновки или соединены с другими объектами. Поэтому вышеуказанные объекты созданы заранее в соответствии с замыслом производителя или автора диска, записаны на диск и увеличивают число сценариев воспроизведения данных на диске. В связи с вышеупомянутым описанием в одном файле может иметься множество объектов, или в одном таком файле также может иметься один объект.В частности, объект для воспроизведения вышеуказанного “элемента компоновки HDMV” в дальнейшем будет называться “объект фильма” или “M-OBJ”, а объект для воспроизведения вышеуказанного “элемента компоновки Java” в дальнейшем будет называться “объект BD-J” или “объект Java”, либо будет также называться “объект BDJ” или “BD-J OBJ”.
На фиг.1A-1C приведены концептуальные схемы, иллюстрирующие отдельные элементы компоновки, записанные на носителе записи (например, на BD-ROM) согласно настоящему изобретению. Более конкретно, на фиг.1A-1C приведен пример BD-ROM, предназначенный для использования в устройстве 10 оптической записи/воспроизведения.
Устройство 10 оптической записи/воспроизведения может записывать/воспроизводить данные на/с различных оптических дисков, имеющих различные форматы. При необходимости устройство оптической записи/воспроизведения 10 может записывать/воспроизводить определенные данные только на/с определенного оптического диска, такого как BD, или может воспроизводить данные с оптического диска без записи данных на него. С учетом стандарта BD и корреляции с периферийными устройствами настоящее изобретение для удобства описания использует либо BD-плеер, способный воспроизводить данные с BD, либо записывающее BD-устройство записи/воспроизведения данных на/с BD в качестве предпочтительного варианта осуществления. Из уровня техники известно, что устройство 10 оптической записи/воспроизведения может также относиться к накопителю, встроенному в определенное устройство, например, в компьютер.
Устройство 10 оптической записи/воспроизведения воспроизводит данные с BD-ROM, считывает данные с BD-ROM, выполняет обработку сигналов и декодирование в отношении считанных данных в соответствии с информацией об атрибутах считанных данных и передает результат обработки сигналов и результат декодирования на дисплей 30, соединенный с устройством 10 оптической записи/воспроизведения, так что пользователь может наблюдать результат обработки сигналов и результат декодирования на дисплее 30.
На фиг.1A приведен первый случай, в котором элемент компоновки, записанный на BD-ROM, относится к элементам компоновки HDMV. На фиг.1B приведен второй случай, в котором элементы компоновки, записанные на BD-ROM, относятся к элементам компоновки Java. На фиг.1C приведен третий случай, в котором элемент компоновки, записанный на BD-ROM, смешан с элементом компоновки HDMV и элементом компоновки Java, так что записан элемент компоновки, смешанный с элементами компоновки HDMV и Java. Третий случай называется полным режимом.
Настоящее изобретение обеспечивает стандартизированную файловую структуру на диске для воспроизведения данных с BD-ROM в соответствии с вышеуказанным первым, вторым и третьим случаями и обеспечивает модель плеера, служащего в качестве устройства воспроизведения данных с BD-ROM.
Фиг.2 является концептуальной схемой, иллюстрирующей файловую структуру (a), записанную на оптическом диске, таком как BD-ROM, и взаимосвязи (b) между файлами, хранящимися в файловой структуре (a), при воспроизведении определенного элемента компоновки из файловой структуры (a) согласно настоящему изобретению.
Вышеуказанная файловая структура (a), изображенная на фиг.2, будет описана ниже.
Управляющая файловая структура (a) включает в себя один или несколько каталогов BD в единственном корневом каталоге. Каталог BD включает в себя не только индексный файл “index”, служащий в качестве общего файла (то есть, верхнего файла), способного обеспечивать интерактивность пользователя, но также и вышеуказанный объект. Управляющая файловая структура (a) включает в себя различные каталоги для хранения информации о фактических данных, записанных на диск, и другой информации, связанной со способом воспроизведения данных, например, каталог списка воспроизведения (PLAYLIST), каталог информации о клипах (CLIPINF), каталог потоков (STREAM) и каталог java (JAVA). Вышеуказанные каталоги и различные файлы, входящие в каталог, будут описаны ниже.
Каталог потоков (STREAM) включает в себя множество AV (звуковых и видео) файлов потока, записанных на диске в соответствии с определенным форматом. Например, каталог потоков (STREAM) использует расширения файлов потока (01000.m2ts и 02000.m2ts) в качестве специального расширения “*.m2ts”. В целом файл потока содержит данные о движущемся изображении.
Каталог (CLIPINF) информации о клипах (clip-info) состоит из множества файлов информации о клипе (01000.clpi и 02000.clpi), связанных с вышеуказанными файлами потока взаимно однозначным соответствием. В частности, файлы clip-info (*.clpi) содержат информацию об атрибутах и информацию о времени, относящуюся к файлам потоков. Файлы clip-info (*.clpi), связанные с файлами потока (*.m2ts) взаимно однозначным соответствием, носят в стандарте BD общее название “Clip”. Иначе говоря, это означает, что отдельный файл потока (*.m2ts) должен соответствовать файлу clip-info (*.clpi).
Каталог (PLAYLIST) списка воспроизведения включает в себя множество файлов списков воспроизведения (*.mpls). Каждый файл списка воспроизведения (*.mpls) включает в себя одну или несколько позиций воспроизведения (PlayItem) для обозначения времени воспроизведения, в течение которого воспроизводится определенный клип. Позиция воспроизведения (PlayItem) включает в себя информацию, относящуюся к определенному клипу, подлежащему воспроизведению, а именно, информацию, относящуюся ко времени начала воспроизведения (IN-Time), и другую информацию, относящуюся ко времени окончания воспроизведения (OUT-Time), для клипа, имя которого (Clip_ Information_File_name) содержится в позиции воспроизведения.
Файл списка воспроизведения (*.mpls) используется в качестве основного управляющего файлового блока, содержащегося во всей управляющей файловой структуре, так что он может воспроизвести требуемый клип при помощи объединения одного или нескольких позиций воспроизведения. Файл списка воспроизведения (*.mpls) может включать в себя данные, отличные от данных для воспроизведения, образованных позицией воспроизведения. В частности, файл списка воспроизведения (*.mpls) может включать в себя подсписок воспроизведения (SubPlayItem), предназначенный для воспроизведения вспомогательных данных.
Файл списка воспроизведения (*.mpls) управляется командой или программой вышеуказанного объекта. С точки зрения сценария показа диска объект выполняет или управляет динамическим сценарием, а файл списка воспроизведения (*.mpls) выполняет или управляет статическим сценарием.
Каталог java (JAVA) записывает в себя множество файлов программы Java (например, PPPPP.jar или QQQQQ.JAR). В отдельных файлах программы Java запрограммировано множество приложений и каждое из запрограммированных приложений может также быть названо “Xlet”. Как следует из вышеуказанного описания, файл программы Java (*.jar) включает в себя “Объект BDJ” для выполнения элемента компоновки Java. Если пользователь хочет воспроизвести определенный элемент компоновки Java, выполняется один файл программы Java, включающий в себя вышеуказанный “Объект BDJ”. Файлы программы Java выполняются специально предназначенным устройством воспроизведения, и их подробное описание будет приведено ниже со ссылкой на фиг.5B.
Позиция (b), приведенная на фиг.2, показывает взаимосвязи для воспроизведения определенного элемента компоновки при помощи вышеуказанной файловой структуры (а) на фиг.2. А именно, на фиг.2 (b) приведены взаимосвязи для воспроизведения определенного элемента компоновки при получении от пользователя команды на воспроизведение элемента компоновки в отношении определенного элемента компоновки, связанного с таблицей индексов индексного файла.
Если с соответствующего диска загружены данные, индексный файл включает в себя информацию о первом воспроизведении “Первое воспроизведение”, относящуюся к информации, связанной с первым изображением для воспроизведения, информацию об основном меню “Основное меню”, способную предоставить элемент компоновки, записанный на диске, вместе с изображением меню, и по меньшей мере информацию об одном элементе компоновки (например, элемент компоновки 1-элемент компоновки 4). Более конкретно, вышеуказанные элементы компоновки Элемент компоновки 1-Элемент компоновки 4 могут быть выполнены в виде элемента компоновки HDMV или элемента компоновки Java.
Впоследствии, если пользователь выбирает команду воспроизведения определенного элемента компоновки (например, Элемент компоновки 1), то воспроизводится определенный список воспроизведения в соответствии с командой или программой объекта, связанной с элементом компоновки (Элемент компоновки 1) в файле объекта файловой структуры (a), и воспроизводится определенный клип “*.clip” или “*.m2ts” по позиции воспроизведения, содержащейся в списке воспроизведения.
Если выбранный элемент компоновки (Элемент компоновки 1) является элементом компоновки HDMV, он воспроизводится определенным объектом “M-OBJ”, содержащимся в отдельном файле объекта. Если же выбранный элемент компоновки является элементом компоновки Java, он воспроизводится определенным объектом “J-OBJ”, содержащимся в файле программы Java (*.jar) каталога Java (Java).
В соответствии с вышеупомянутым описанием вышеуказанный индексный файл выполняют в виде “index.bdj”, так чтобы можно было проиндексировать как элемент компоновки HDMV, так и элемент компоновки Java. Или же вышеуказанный индексный файл может включать в себя определенный файл для индексации только элемента компоновки HDMV, предназначенного для устройства оптической записи/воспроизведения, способного воспроизводить только элемент компоновки HDMV, так чтобы его можно было также выполнить в виде двух индексных файлов.
На фиг.3 приведена структурная схема, иллюстрирующая типичную структуру диска для записи информации, связанной с файловой структурой (a) на диске. Как показано на фиг.3, с точки зрения внутренней области диска вышеуказанная структура диска последовательно включает в себя область информации о файловой системе, служащую в качестве информации о системе для управления файлами в целом, область баз данных для записи файла списка и файла информации о клипах для воспроизведения записанных потоков (*.m2ts) и область потоков для записи множества потоков, состоящих из звуковых данных, видеоданных, графических данных и т.д. В частности, следует заметить, что данные, записанные на диске в области потоков, могут быть данными, имеющими различные атрибуты, о чем говорилось выше.
На фиг.4A и 4B приведены концептуальные схемы, иллюстрирующие воспроизведение элементов компоновки и взаимосвязи перехода между элементами компоновки согласно настоящему изобретению. В частности, воспроизводимый диск согласно настоящему изобретению относится к полнорежимному диску, включающему в себя как элемент компоновки HDMV, так и элемент компоновки Java.
Например, если на BD-ROM содержится четыре элемента компоновки, и при этом из этих четырех элементов компоновки элементы компоновки 1 и 2 относятся к элементу компоновки HDMV, а оставшиеся элементы компоновки 3 и 4 относятся к элементу компоновки Java, отдельные элементы компоновки связаны с определенным файлом объекта описанным выше способом.
Иначе говоря, элемент компоновки 1, служащий в качестве элемента компоновки HDMV, связан с объектом фильма “Объект фильма 2″, а элемент компоновки 2, служащий в качестве элемента компоновки HDMV, связан с объектом фильма “Объект фильма 3″. Элемент компоновки 3, служащий в качестве элемента компоновки Java”, связан с объектом BDJ “Объект BDJ 2″, а элемент компоновки 4, служащий в качестве элемента компоновки Java, связан с объектом BDJ “Объект BDJ 3″. Например, информация о первом воспроизведении “Первое воспроизведение”, содержащаяся в таблице индексов, может быть связана с объектом фильма “Объект фильма 1″, а информация об основном меню “Основное Меню” может быть связана с объектом BDJ “Объект BDJ 1″. В соответствии с вышеприведенным описанием информация о первом воспроизведении “Первое воспроизведение” может быть связана с объектом BDJ, или информация об основном меню “Основное меню” может быть связана с объектом фильма в зависимости от намерений производителя или автора диска.
Кроме того, можно установить, что объект фильма “Объект фильма 4″ связан с объектом фильма “Объект фильма 3″, а объект BDJ “Объект BDJ 4″ cвязан с объектом BDJ “Объект BDJ 3″.
На фиг.4B приведена концептуальная схема, иллюстрирующая взаимосвязи перехода между элементами компоновки, имеющими различные атрибуты, когда элементы компоновки, содержащиеся на диске, изображенном на фиг.4A, воспроизводятся в соответствии с настоящим изобретением.
В соответствии с вышеприведенным описанием взаимосвязи перемещения или перехода между элементом компоновки HDMV и элементом компоновки Java согласно настоящему изобретению имеют следующие характеристики.
Во-первых, не допускается непосредственный переход между объектами, имеющими различные атрибуты. Иначе говоря, может быть установлено, что переход между объектами, имеющими одинаковые атрибуты, может происходить, как показано на фиг.4A. Например, объект фильма “Объект фильма 3″ может быть перемещен к другому объекту фильма “Объект фильма 4 “, а объект BDJ “Объект BDJ 3″ может быть перемещен к другому объекту BDJ “Объект BDJ 4″. В то же время непосредственный переход между объектом фильма и объектом BDJ, имеющими различные атрибуты, недопустим, и допускается лишь переход, осуществляемый посредством преобразования элемента компоновки.
Во-вторых, в процессе преобразования элемента компоновки преобразование элемента компоновки из элемента компоновки HDMV в элемент компоновки Java производится командами “Jump” (Перескочить) “Call/Resume” (Вызвать/Возобновить). Команда “Jump” (Перескочить) завершает текущий элемент компоновки в процессе преобразования элемента компоновки и переключает с текущего элемента компоновки на другой элемент компоновки. Команда “Call” (Вызвать) приостанавливает текущий элемент компоновки в процессе преобразования элемента компоновки и переключает с текущего элемента компоновки на другой элемент компоновки. Команда “Resume” (Возобновить) выполняет возврат к приостановленному элементу компоновки. Иначе говоря, команды “Call” и “Resume” действуют как пара команд.
Например, если элемент компоновки 1 (то есть элемент компоновки HDMV) преобразуется в элемент компоновки 3 (то есть в элемент компоновки Java), что на фиг.4B обозначено сплошными линиями, то операции преобразования на основе команд “Jump” и “Call” полностью допустимы.
В-третьих, в процессе преобразования элемента компоновки преобразование элемента компоновки от элемента компоновки Java к элементу компоновки HDMV осуществляется только командой “Jump” (Перескочить). Например, если элемент компоновки 3 (то есть элемент компоновки Java) преобразуется в элемент компоновки 1 (то есть в элемент компоновки HDMV), как показано пунктирными линиями на фиг.4B, то допустима только команда “Jump”.
Поскольку переход между элементами компоновки, имеющими различные атрибуты, допускается указанным выше способом, пользователь при использовании определенного диска может по своему усмотрению воспроизводить различные элементы компоновки. Причина, по которой преобразование элемента компоновки из элемента компоновки Java в элемент компоновки HDMV не допускается по команде “Call” (Вызвать), заключается в том, что система Java не включает в себя регистра для приостановления текущего состояния воспроизведения. Поэтому, если система Java включает в себя резервный регистр, то преобразование элемента компоновки из элемента компоновки Java в элемент компоновки HDMV может осуществляться по команде “Сall”.
На фиг.5A и 5B приведены блок-схемы, иллюстрирующие устройство оптической записи/воспроизведения согласно настоящему изобретению. В частности, на фиг.5A приведена блок-схема, иллюстрирующая устройство 10 оптической записи/воспроизведения согласно настоящему изобретению, а на фиг.5B приведена блок-схема, иллюстрирующая воспроизводящий процессор 17 для воспроизведения данных на диске, на котором в соответствии с настоящим изобретением записаны элементы компоновки, имеющие различные атрибуты.
Устройство 10 оптической записи/воспроизведения согласно настоящему изобретению будет описано ниже со ссылкой на фиг.5A.
Как показано на фиг.5A, устройство 10 оптической записи/воспроизведения включает в себя приемный блок 11, блок 14 управления, процессор 13 сигналов, память 15 и микропроцессор 16. Приемный блок 11 считывает данные, записанные на оптическом диске в области записи элемента компоновки, и считывает управляющую информацию, включающую в себя информацию о файлах, записанную в управляющей области. Блок 14 управления управляет операциями приемного блока 11. Процессор 13 сигналов принимает сигнал воспроизведения от приемного блока 11, восстанавливает принятый сигнал воспроизведения до требуемого значения сигнала или модулирует сигнал, подлежащий записи в другой сигнал, записанный на оптическом диске, так что он передает восстановленный или модулированный результат. Память 15 хранит информацию, необходимую для воспроизведения данных на диске. Микропроцессор 16 осуществляет общее управление операциями, выполняемыми вышеуказанными компонентами, содержащимися в устройстве 10 оптической записи/воспроизведения. С учетом вышеуказанных операций сочетание вышеуказанных компонентов 11, 14, 13, 15 и 16 называется также устройством 20 записи/воспроизведения, причем устройство 20 записи/воспроизведения может быть выполнено в виде единого изделия.
Всеми составляющими компонентами, изображенными на фиг.6A, управляет контроллер 12. В частности, контроллер 12 управляет командой воспроизведения определенного элемента компоновки или командой преобразования элемента компоновки посредством взаимодействия с пользователем согласно настоящему изобретению.
Наконец, процессор 17 воспроизведения декодирует выходные данные после приема сигнала управления от контроллера 12 и передает декодированный результат пользователю. Процессор 17 воспроизведения включает в себя декодер 17a для расшифровки AV- сигналов; и модель 17b плеера для анализа команды или программы, содержащейся в объекте, и команды пользователя, принятой от контроллера 12, в связи с воспроизведением вышеуказанного определенного элемента компоновки, и для определения направления воспроизведения на основе проанализированного результата.
Следует, однако, заметить, что в некоторых предпочтительных вариантах осуществления модель 17b плеера может включать в себя декодер 17a, и процессор 17 воспроизведения может соответствовать модели плеера, приведенной на фиг.5B.
После приема управляющего сигнала от контроллера 12 кодирующее устройство 18 преобразует входной сигнал в сигнал определенного формата (например, в транспортный поток MPEG2) и передает преобразованный результат на процессор 13 сигналов, так чтобы он мог записать на оптический диск требуемый сигнал.
На фиг.5B приведена подробная блок-схема процессора 17 воспроизведения согласно настоящему изобретению. Модель 17b плеера включает в себя диспетчер 171 модулей, модуль 172 фильма, модуль 173 BDJ, средство 174 управления воспроизведением и средство 175 показа, и ниже приведено его подробное описание.
Модуль 172 фильма, служащий в качестве дополнительного модуля процесса воспроизведения, способного воспроизводить элемент компоновки HDMV, и модуль 173 BDJ, служащий в качестве дополнительного модуля процесса воспроизведения, способный воспроизводить элемент компоновки Java, сконструированы независимо друг от друга. Модуль 172 фильма принимает команду или программу, содержащуюся в вышеуказанном объекте “Объект фильма”, а модуль 173 BDJ принимает команду или программу, содержащуюся в вышеуказанном объекте “Объект BDJ”, так что модуль 172 фильма и модуль 173 BDJ обрабатывают принятую команду или программу.
Модуль 172 фильма включает в себя процессор 172a команд, а модуль 173 BDJ включает в себя диспетчер 173a приложений и виртуальную машину 173b Java, так что модуль 172 фильма и модуль 173 BDJ способны принимать/обрабатывать вышеуказанную команду.
Модель плеера, приведенная на фиг.5B, включает в себя диспетчер 171 модулей, средство 174 управления воспроизведением и средство 175 показа. Диспетчер 171 модулей передает команду пользователя модулю 172 фильма и модулю 173 BDJ и управляет операциями модуля 173 BDJ. Средство 174 управления воспроизведением анализирует содержимое файла со списком воспроизведения (связанное со статическим сценарием), записанное на диске после принятия команды воспроизведения от модуля 172 фильма и модуля 173 BDJ, и выполняет функцию воспроизведения на основе проанализированного результата. Средство 175 показа отображает определенный поток, управляемый средством 174 управления воспроизведением. Средство 174 управления воспроизведением включает в себя функцию 174a управления воспроизведением для управления всеми операциями по воспроизведению; регистр состояния плеера (РСП) для указания среды воспроизведения или состояния воспроизведения плеера и регистр 174b плеера для хранения информации регистра общего назначения (РОН). Функция 174b управления воспроизведением может, при необходимости, выполняться средством 174 управления воспроизведением.
Диспетчер 171 модулей, модуль 172 фильма, модуль 173 BDJ и средство 174 управления воспроизведением, содержащиеся в модели плеера, приведенной на фиг.10B, могут обрабатываться программным образом. Предпочтительно, чтобы вышеуказанные компоненты 171, 172, 173 и 174 обрабатывались программным, а не аппаратным образом. Средство 175 показа, декодер 17a и графические плоскости 17c и 17d являются, вообще говоря, аппаратными средствами. Составные компоненты (например, 171, 172, 173 и 174), обрабатываемые программным образом, могут быть объединены в один блок, так чтобы объединенный блок можно было установить в контроллере 12. Поэтому следует отметить, что понимание вышеуказанных компонентов настоящего изобретения может быть обеспечено на основании их функций и не должно ограничиваться способами их выполнения, например, программным или аппаратным выполнением.
В соответствии с вышеприведенным описанием модель плеера имеет следующие характеристики.
Во-первых, как уже говорилось, модуль 172 фильма для элемента компоновки HDMV и модуль 173 BDJ для элемента компоновки Java конфигурируются независимо друг от друга, и эти два модуля 172 и 173 не могут выполняться одновременно. Более конкретно, элемент компоновки Java нельзя воспроизводить, когда воспроизводится элемент компоновки HDMV, а элемент компоновки HDMV нельзя воспроизводить, когда воспроизводится элемент компоновки Java.
Во-вторых, элемент компоновки HDMV и элемент компоновки Java принимают команды пользователя, соответственно, на основе различных схем. Элемент компоновки HDMV и элемент компоновки Java используют различные способы для выполнения отдельных команд пользователя. Существует потребность в предварительно установленном блоке, способном принимать команду пользователя и передавать принятую команду пользователя либо модулю 172 фильма, либо модулю 173 BDJ. В данном случае вышеприведенные операции выполняются диспетчером 171a событий пользователя, содержащимся в диспетчере 171 модулей. Например, если принятая команда является командой пользователя, введенной действием пользователя (ДП), диспетчер 171a событий пользователя передает команду пользователя диспетчеру 172b ДП, содержащемуся в модуле 172 фильма. Если же принятая команда является командой пользователя, введенной ключевым событием, диспетчер 171a событий пользователя передает принятую команду пользователя виртуальной машине 173b Java, содержащейся в модуле 173 BDJ. Подробное описание приведено ниже со ссылкой на фиг.10.
В-третьих, один из модулей 172 и 173 управляет вышеуказанным средством 174 управления воспроизведением. Более конкретно, при воспроизведении элемента компоновки HDMV модуль 172 фильма служит в качестве ведущего устройства для средства 174 управления воспроизведением. При воспроизведении элемента компоновки Java модуль 173 BDJ служит в качестве ведущего устройства для средства 174 управления воспроизведением.
В-четвертых, графическая плоскость управляется независимо. Например, плоскости 17c HDMV управляют средством 175 показа, выступая в качестве ведущего устройства. Плоскости 17d Java управляют виртуальной машиной 173b Java, содержащейся в модуле 173 BDJ, выступая в качестве ведущего устройства. Подробное описание приведено ниже со ссылкой на фиг.11.
На фиг.6A и 6B приведены концептуальные схемы, иллюстрирующие операции модели плеера, изображенной на фиг.5B, когда осуществляется переход между элементами компоновки, имеющими различные атрибуты, как показано на фиг.4B.
На фиг.6A и 6B приведены концептуальные схемы, иллюстрирующие переход от элемента компоновки HDMV к элементу компоновки Java по команде Jump (Перескочить) согласно настоящему изобретению. Что касается вышеприведенной модели 17b плеера, то некоторые детали вышеприведенной модели 17b плеера не связаны с предпочтительным вариантом осуществления настоящего изобретения, так что для удобства описания их подробное описание здесь не приводится.
Диспетчер 171 модулей распознает данные содержимого индексной таблицы, содержащейся на диске. Более конкретно, можно распознать, что элемент компоновки 1 относится к элементу компоновки HDMV, а элемент компоновки 3 относится к элементу компоновки Java, что можно видеть из индексной таблицы.
Поэтому, если на этапе при воспроизведении элемента компоновки 1, служащего в качестве элемента компоновки HDMV, модель плеера принимает от контроллера 12 команду перехода, равную команде Jump (Перескочить), для переключения от элемента компоновки 1, служащего в качестве элемента компоновки HDMV, к элементу компоновки 3, служащему в качестве элемента компоновки Java, то диспетчер 171 модулей на этапе дает команду модулю 172 фильма, управляющему элементом компоновки 1, прекратить операции, на этапе дает команду модулю 172 фильма прервать операции команды определенного объекта “Объект фильма” и на этапе дает команду модулю 172 фильма прекратить воспроизведение элемента компоновки 1. После прерывания элемента компоновки HDMV модуль 172 фильма прекращает свои операции. Затем на этапе диспетчер 171 модулей запускает модуль 173 BDJ для выполнения элемента компоновки 3, служащего в качестве элемента компоновки Java, и на этапах – воспроизводится определенный элемент компоновки 3 в соответствии с командой или программой определенного объекта “Объект BDJ”, связанного с элементом компоновки 3.
Как указано выше, модель плеера, приведенная на фиг.5B, не выполняет одновременно элементы компоновки, имеющие различные признаки. Для выполнения перехода (то есть команды Jump (Перескочить)) от элемента компоновки HDMV к элементу компоновки Java во время воспроизведения элемента компоновки HDMV может быть установлено, что необходимо запустить модуль 173 BDJ после прекращения работы модуля 172 фильма.
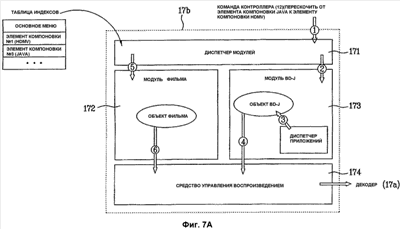
На фиг.7A и 7B приведены концептуальные схемы, иллюстрирующие операции при переходе от элемента компоновки Java к элементу компоновки HDMV по команде Jump (Перескочить) согласно настоящему изобретению. Что касается вышеприведенной модели плеера, изображенной на фиг.5B, некоторые части вышеприведенной модели плеера не связаны с предпочтительным вариантом осуществления настоящего изобретения, так что для удобства описания их подробное описание здесь не приводится. Диспетчер 171 модулей распознает данные содержимого из индексной таблицы, содержащейся на диске. Конкретнее, можно определить, что элемент компоновки 1 относится к элементу компоновки HDMV, а элемент компоновки 3 относится к элементу компоновки Java, что можно видеть из таблицы индексов. Поэтому, если на этапе при воспроизведении элемента компоновки 3, служащего в качестве элемента компоновки Java, модель плеера принимает от контроллера 12 команду перехода, равную команде Jump (Перескочить), для переключения от элемента компоновки 3, служащего в качестве элемента компоновки Java, к элементу компоновки 1, служащему в качестве элемента компоновки HDMV, то диспетчер 171 модулей на этапе дает команду модулю 173 BDJ, управляющему элементом компоновки 3, остановить операции, на этапе дает команду модулю 173 BDJ прервать операции программы определенного объекта “Объект BDJ” и на этапе дает команду модулю 173 BDJ прекратить воспроизведение элемента компоновки 3, связанного с программой. После прерывания элемента компоновки Java модуль 173 BDJ прекращает свои операции. Затем на этапе диспетчер 171 модулей запускает модуль 172 фильма для выполнения элемента компоновки 1, служащего в качестве элемента компоновки HDMV, и на этапе воспроизводится определенный элемент компоновки 1 в соответствии с командой определенного объекта “Объект фильма”, связанного с элементом компоновки 1.
Как было описано выше, модель 17b плеера не выполняет одновременно элементы компоновки, имеющие различные атрибуты. Для выполнения перехода (то есть команды Jump (Перескочить)) от элемента компоновки Java к элементу компоновки HDMV во время воспроизведения элемента компоновки Java, может быть установлено, что требуется запустить модуль 172 фильма после завершения работы модуля 173 BDJ.
На фиг.8A и 8B приведены концептуальные схемы, иллюстрирующие операции при переходе элемента компоновки HDMV к элементу компоновки Java по команде Call (Вызвать) согласно настоящему изобретению. Что касается вышеприведенной модели 17b плеера, то некоторые части вышеприведенной модели 17b плеера не связаны с предпочтительным вариантом осуществления настоящего изобретения, так что для удобства описания их подробное описание будет опущено.
Если при воспроизведении элемента компоновки HDMV модель плеера на этапе принимает от контроллера 12 команду перехода, равную команде Call (Вызвать), для переключения от элемента компоновки 1, служащего в качестве элемента компоновки HDMV, к элементу компоновки 3, служащему в качестве элемента компоновки Java, то диспетчер 171 модулей на этапе дает команду модулю 172 фильма, управляющему элементом компоновки 1, прекратить операции, на этапе дает команду модулю 172 фильма приостановить команду определенного объекта “Объект фильма” и на этапе дает команду модулю 172 фильма приостановить воспроизведение элемента компоновки 1, связанного с командой. После прерывания элемента компоновки HDMV модуль 172 фильма прекращает свою работу. Более конкретно, поскольку команда Call (Вызвать) выполняет возврат к текущему положению к воспроизводимому элементу компоновки 1 иначе, чем вышеупомянутая команда Jump (Перескочить), вся информация о воспроизводимом элементе компоновки 1 не удаляется, и информация о состоянии воспроизведения сохраняется в регистрах 174b плеера на этапе . В этом случае вышеупомянутый возврат к текущему положению элемента компоновки 1 выполняется по команде Resume (Возобновить), и ее подробное описание дано ниже со ссылкой на фиг.9A и 9B.
Как указано выше, модель плеера, изображенная на фиг.5B, не выполняет одновременно элементы компоновки, имеющие различные атрибуты. Чтобы выполнить переход (то есть команду Call (Вызвать)) от элемента компоновки HDMV к элементу компоновки Java во время воспроизведения элемента компоновки HDMV, необходимо прервать запущенный модуль 172 фильма.
Затем на этапе диспетчер 171 модулей запускает модуль 173 BDJ для выполнения элемента компоновки 3, служащего в качестве элемента компоновки Java, и на этапах – определенный элемент компоновки 3 воспроизводится в соответствии с программой определенного объекта “Объект BDJ”, связанного с элементом компоновки 3.
На фиг.9A и 9B приведены концептуальные схемы, иллюстрирующие операции при обратном переходе от элемента компоновки Java к элементу компоновки HDMV по команде “Resume” (Возобновить) после перехода от элемента компоновки HDMV к элементу компоновки Java по команде “Call” (Вызвать), изображенного на фиг.8A и 8B, согласно существующему изобретению. Некоторые части вышеуказанной модели плеера, приведенной на фиг.5B, не связаны с предпочтительным вариантом осуществления настоящего изобретения, так что для удобства описания их подробное описание не приводится.
Если модель плеера на этапе принимает от контроллера 12 команду перехода, равную команде “Resume” (Возобновить), для переключения с элемента компоновки 3, служащего в качестве элемента компоновки Java, к элементу компоновки 1, служащему в качестве элемента компоновки HDMV, то на этапе диспетчер 171 модулей дает команду модулю 173 BDJ, управляющему элементом компоновки 3, прекратить операции, на этапе дает команду модулю 173 BDJ прекратить операции программы определенного объекта “Объект-BDJ” и на этапе дает команду модулю 173 BDJ прекратить воспроизведение элемента компоновки 3, связанного с программой. После прерывания элемента компоновки Java модуль 173 BDJ прекращает работу. Затем на этапе диспетчер 171 модулей запускает модуль 172 фильма для выполнения элемента компоновки 1, служащего в качестве элемента компоновки HDMV, и на этапе воспроизводится определенный элемент компоновки 1 в соответствии с командой определенного объекта “Объект фильма”, связанного с элементом компоновки 1. Воспроизведение элемента компоновки 1 обращается к информации о состоянии воспроизведения, заранее сохраненной в регистрах 174b плеера (см. фиг.8A и 8B), и на этапе осуществляется по значению соответствующего регистра 174b плеера на основе вышеуказанной информации о состоянии воспроизведения. Может быть установлено, что воспроизведение элемента компоновки 1, приостановленное командой “Call” (Вызвать) (см. фиг.8A и 8B), может быть возобновлено по команде “Resume” (Возобновить).
Как указано выше, модель плеера, приведенная на фиг.5B, не выполняет одновременно элементы компоновки, имеющие различные атрибуты. Для выполнения перехода от элемента компоновки Java к элементу компоновки HDMV по команде “Resume” (Возобновить) во время воспроизведения элемента компоновки Java может быть установлено, что необходимо прервать модуль 173 BDJ.
На фиг.10 приведена блок-схема, иллюстрирующая устройство для воспроизведения данных с носителя записи, и, в частности, устройство для приема/обработки команды пользователя согласно настоящему изобретению. Более конкретно, на фиг.10 приведен пример модели плеера, приведенной на фиг.5B, согласно настоящему изобретению, и приведены вторые характеристики вышеуказанной модели плеера, приведенной на фиг.5B.
В связи со вторыми характеристиками вышеуказанной модели плеера, приведенной на фиг.5B, диспетчер 171 модулей включает в себя диспетчер 171a событий пользователя для приема команды пользователя. После приема команды пользователя диспетчер 171a событий пользователя определяет, является ли принятая команда пользователя командой пользователя, введенной действием пользователя (ДП). Если установлено, что команда пользователя является командой пользователя, введенной действием пользователя (ДП) для элемента компоновки HDMV, диспетчер 171a событий пользователя передает команду пользователя контроллеру 172b ДП, содержащемуся в модуле 172 фильма, так что контроллер 172b ДП выполняет команду пользователя. Если же установлено, что принятая команда является командой пользователя, введенной ключевым случаем для элемента компоновки Java, диспетчер 171a событий пользователя передает принятую команду пользователя виртуальной машине 173b Java, содержащейся в модуле 173 BDJ, так что виртуальная машина 173b Java выполняет команду пользователя.
Иначе говоря, режим элементов компоновки HDMV и режим элементов компоновки Java имеют независимые друг от друга системы приема команд пользователя. Поэтому, если вышеуказанные различные команды пользователя выполняются совместно, это может привести к неопределенности пользователя. В результате, команда пользователя для режима элементов компоновки HDMV выполняется модулем 172 фильма, а команда пользователя для режима элементов компоновки Java выполняется модулем 173 BDJ. Модель плеера отличается тем, что она дополнительно включает в себя диспетчер 171a событий пользователя для определения, связана ли принятая команда пользователя с режимом элементов компоновки HDMV или с режимом элементов компоновки Java, и для передачи соответствующей команды пользователя соответствующему модулю 172 или 173 в соответствии с результатом определения.
На фиг.11 приведена блок-схема, иллюстрирующая устройство для воспроизведения данных с носителя записи и, более конкретно, устройство для управления графической плоскостью согласно настоящему изобретению. Более конкретно, на фиг.11 приведен еще один пример вышеуказанной модели плеера, приведенной на фиг.5B, согласно настоящему изобретению, и приведены четвертые характеристики вышеуказанной модели плеера, приведенной на фиг.5B.
В соответствии с вышеприведенным описанием четвертая характеристика модели плеера, приведенной на фиг.5B, относится к управлению графической плоскостью. Например, плоскости 17c HDMV могут включать в себя видеоплоскость, плоскость показа, графическую плоскость, интерактивную графическую плоскость и плоскость текстовых подзаголовков. Вышеуказанные плоскости HDMV управляются средством 175 показа, служащим в качестве ведущего устройства. Плоскости 17d Java могут включать в себя графические плоскости Java. Графические плоскости Java используют виртуальную машину 173b Java, содержащуюся в модуле 173 BDJ, в качестве ведущего устройства, так что ими управляет виртуальная машина 173b Java, служащая в качестве ведущего устройства.
Плоскости 17c HDMV и плоскости 17d Java могут частично использоваться совместно. В частности, интерактивная графическая плоскость, содержащаяся в плоскостях 17c HDMV, может при необходимости использоваться совместно с плоскостью 17d Java.
На фиг.12A и 12B приведены структурные схемы, иллюстрирующие информацию о синтаксисе вышеуказанного индексного файла согласно настоящему изобретению.
На фиг.12A приведен синтаксис, связанный с заголовочной частью индексного файла (index.bdmv). Например, в поле “type_indicator” записывается определенная информация, способная идентифицировать индексный файл, например, код символа “INDX”. В поле “version_number” записывается информация, относящаяся к информации о версии индексного файла. В поле “Indexes_start_address” записывается информация о местоположении, относящаяся к начальному положению файла поля “Indexes()”. Индексный файл (index.bdmv) включает в себя поле “ApplnfoBDMV()” для предоставления общей информации, относящейся к автору диска; и поле “Indexes()” для индексации содержимого, записанного на диске, и предоставления пользователю индексированного содержимого. Описание поля “Indexes()”, относящегося к настоящему изобретению, дано ниже.
На фиг.12B приведен синтаксис поля “Indexes()”, содержащегося в индексном файле (index.bdmv). В сочетании с вышеприведенным описанием нижеследующее описание фиг.12B можно легко понять с учетом действий и конструкций, приведенных на фиг.2, 4A и 4B. Более конкретно, в поле “length” записывается информация о размере поля “Indexes()”. Поле “FirstPlayback()” включает в себя информацию “FirstPlayback_obj_id_ref” для извлечения информации “obj_id”, способной обозначать определенный объект, связанный с соответствующим изображением воспроизведения, так что он может обязательно отобразить первое изображение воспроизведения, когда загружены данные с диска. Как указывалось выше, информация “FirstPlayback_obj_id_ref” может определять как объект фильма, так и объект BDJ.
Поле “TopMenu()” включает в себя информацию “TopMenu_obj_id_ref” для извлечения поля “obj_id”, способного обозначать определенный объект, связанный с соответствующим изображением меню, так чтобы он мог обеспечивать изображение меню по команде пользователя “Menu Call” (Вызов меню). Вышеуказанная информация “TopMenu_obj_id_ref” может обозначать как объект фильма, так и объект BDJ.
В поле “number_of_Title” записывается информация, относящаяся к числу элементов компоновки, имеющихся в индексном файле. На основе вышеуказанной информации о числе элементов компоновки в поле “number_of_Title” содержится множество полей “Title()”, число которых определяется вышеуказанной информацией о числе. Поле “Title()” включает в себя информацию “Title_obj_id_ref” для извлечения определенной информации “obj_id”, содержащейся в файле объекта, включающем в себя команду воспроизведения или программу для воспроизведения соответствующего элемента компоновки, и также включает в себя следующие дополнительные поля.
Более конкретно, поле “Title_environment(type)” указывает информацию о категории элемента компоновки, определяет, является ли соответствующий элемент компоновки элементом компоновки HDMV или элементом компоновки Java. Устройство оптической записи/воспроизведения может заранее запустить модель плеера, изображенную на фиг.5B, для воспроизведения элемента компоновки, имеющего определенный атрибут, посредством обращения к информации о классификации элементов компоновки “Title_environment(type)”.
Поле “Title_playback_type” указывает определенную информацию, способную определять, является ли соответствующий элемент компоновки элементом компоновки движущегося изображения, такого как фильм, или интерактивным элементом компоновки, таким как информация меню, предоставляемая пользователю.
Поле “Title_link” указывает определенную информацию, способную отображать наличие или отсутствие других элементов компоновки, связанных с соответствующим элементом компоновки. В частности, поле “Title_link” позволяет проводить предварительную проверку, связаны ли друг с другом элементы компоновки, имеющие различные атрибуты, так чтобы модель плеера, изображенная на фиг.5B, могла быстро выполнить необходимые операции.
Поле “Title_access_type” указывает определенную информацию для определения, может ли быть выполнена операция поиска соответствующего элемента компоновки. Более конкретно, поле “Title_access_type” требуется для управления операциями действия пользователя (ДП) и требуется только для элемента компоновки HDMV.
Поле “Object_type” указывает определенную информацию для определения, является ли соответствующий элемент компоновки элементом компоновки HDMV или элементом компоновки Java, и управляет объектами, подходящими для выполнения отдельных элементов компоновки.
Для обозначения объекта фильма “Объект фильма” поле “Title_obj_id_ref” включает в себя определенную информацию для обозначения объекта фильма, содержащегося в файле “MovieObject.bdmv”. Для обозначения объекта Java “Объект BDJ” поле “Title_obj_id_ref” включает в себя определенную информацию для обозначения файла Java, например, путь к каталогу для обозначения файла “PPPPP.jar” или файла “QQQQQ.jar” и имя файла. Кроме того, поле “Title_obj_id_ref” может включать в себя информацию “идентифицирующую приложения” или “идентифицирующую информацию Xlet” файла программы Java.
Хотя на фиг.12B приведена в качестве примера лишь ограниченная информация об атрибутах отдельных файлов, следует заметить в связи с вышеприведенным описанием, что при необходимости в отдельных категориях элементов компоновки может также содержаться и другая информация об элементах компоновки, отличная от приведенной ограниченной информации об атрибутах. Как с очевидностью следует из вышеприведенного описания, носитель записи, и способ и устройство для воспроизведения данных с носителя записи согласно настоящему изобретению могут осуществлять запись данных, имеющих различные атрибуты, на один носитель записи, и могут предоставлять пользователю единый носитель записи. Кроме того, настоящее изобретение позволяет эффективно управлять носителем записи, что повышает удобство его использования.
Промышленная применимость
Специалистам в данной области техники будет очевидно, что в настоящее изобретение могут быть внесены различные модификации и изменения при сохранении сущности и объема притязаний изобретения. Так, предусматривается, что настоящее изобретение охватывает все модификации и изменения настоящего изобретения при условии, что они не выходят за пределы притязаний, определяемых прилагаемой формулой и ее эквивалентами.
Формула изобретения
1. Способ воспроизведения данных с носителя записи, на который записаны первый элемент компоновки и второй элемент компоновки, имеющие различные атрибуты, способ содержит этапы, на которых: воспроизводят первый элемент компоновки при помощи первого блока воспроизведения; принимают команду «Вызвать» для перехода от воспроизведения первого элемента компоновки к воспроизведению второго элемента компоновки; приостанавливают операции первого блока воспроизведения; сохраняют информацию состояния воспроизведения первого элемента компоновки и воспроизводят второй элемент компоновки при помощи второго блока воспроизведения.
2. Способ по п.1, дополнительно содержащий этапы, на которых: принимают команду «Возобновить» для осуществления обратного перехода воспроизведения от второго элемента компоновки к первому элементу компоновки и возобновляют воспроизведение первого элемента компоновки на основе информации состояния воспроизведения.
3. Способ по п.1, дополнительно содержащий этапы, на которых представляют пользователю индексную таблицу, включенную в индексный файл для первого и второго элементов компоновки.
4. Способ по п.3, в котором индексный файл включает в себя информацию о среде элемента компоновки для классификации первого элемента компоновки и второго элемента компоновки.
5. Способ по п.3, в котором индексный файл включает в себя информацию о связи элементов компоновки между первым элементом компоновки и вторым элементом компоновки.
6. Способ по п.3, в котором индексная таблица указывает объект, содержащий команду для воспроизведения элемента компоновки.
7. Способ по п.6, в котором объект предназначен для воспроизведения первого элемента компоновки.
8. Способ по п.7, в котором объект содержится в одном файле объектов.
9. Способ по п.6, в котором объект предназначен для воспроизведения второго элемента компоновки.
10. Способ по п.9, в котором объект содержится в файле программы Java.
11. Способ по п.1, в котором первый элемент компоновки включает в себя фильм и интерактивную информацию в соответствии со схемой сжатия MPEG2, второй элемент компоновки является элементом компоновки Java, причем первый блок воспроизведения является модулем фильма для управления средством управления воспроизведением в соответствии с командой для воспроизведения первого элемента компоновки, а второй блок воспроизведения является модулем Java для выполнения программы Java, способной воспроизводить элемент компоновки Java.
12. Устройство для воспроизведения данных с носителя записи, на котором записаны первый элемент компоновки и второй элемент компоновки, имеющие различные атрибуты, при этом устройство содержит: первый блок воспроизведения, выполненный с возможностью воспроизведения первого элемента компоновки; второй блок воспроизведения, выполненный с возможностью воспроизведения второго элемента компоновки; диспетчер модулей, выполненный с возможностью приема команды «Вызвать» для перехода от воспроизведения первого элемента компоновки к воспроизведению второго элемента компоновки и приостановления операций первого блока воспроизведения в соответствии с командой «Вызвать»; и регистр плеера, выполненный с возможностью сохранения информации состояния воспроизведения первого элемента компоновки, когда воспроизведение первого элемента компоновки приостановлено.
13. Устройство по п.12, в котором диспетчер модулей включает в себя диспетчер событий пользователя для управления командами пользователя.
14. Устройство по п.13, в котором диспетчер событий пользователя выполнен с возможностью приема команды пользователя и передачи принятой команды пользователя первому блоку воспроизведения или второму блоку воспроизведения согласно характеристической информации в принятой команде пользователя.
15. Устройство по п.14, в котором первый блок воспроизведения содержит контроллер действий пользователя (ДП), выполненный с возможностью приема команды пользователя от диспетчера событий пользователя и управления средством управления воспроизведением при помощи принятой команды пользователя.
16. Устройство по п.14, в котором второй блок воспроизведения содержит виртуальную машину Java, выполненную с возможностью приема команды пользователя от диспетчера событий пользователя и воспроизведения программы Java или управления средством управления воспроизведением при помощи принятой команды пользователя.
17. Устройство по п.16, в котором второй блок воспроизведения дополнительно содержит диспетчер приложений, выполненный с возможностью классификации множества приложений, содержащихся в программе Java, и управления классифицированными приложениями.
18. Устройство по п.12, дополнительно содержащее средство показа, выполненное с возможностью управления изображением воспроизведения первого элемента компоновки.
19. Устройство по п.12, дополнительно содержащее декодер, выполненный с возможностью декодирования данных первого элемента компоновки.
20. Устройство по п.12, в котором диспетчер модулей дополнительно выполнен с возможностью приема команды «Возобновить» для осуществления обратного перехода воспроизведения от второго элемента компоновки к первому элементу компоновки и возобновления воспроизведения первого элемента компоновки на основе информации состояния воспроизведения.
21. Устройство по п.12, в котором первый элемент компоновки включает в себя фильм и интерактивную информацию в соответствии со схемой сжатия MPEG2, второй элемент компоновки является элементом компоновки Java, причем первый блок воспроизведения является модулем фильма для управления средством управления воспроизведением в соответствии с командой для воспроизведения первого элемента компоновки, а второй блок воспроизведения является модулем Java для выполнения программы Java, способной воспроизводить элемент компоновки Java.
22. Носитель записи, содержащий: область записи элементов компоновки, хранящую первый элемент компоновки и второй элемент компоновки, имеющие различные атрибуты; и область записи управляющих файлов, хранящую файл объектов, включающий в себя команду «Вызвать» для перехода от воспроизведения первого элемента компоновки к воспроизведению второго элемента компоновки, при этом команда «Вызвать» сконфигурирована для: управления первым блоком воспроизведения для приостановления воспроизведения первого элемента компоновки, управления регистром плеера для сохранения информации состояния воспроизведения первого элемента компоновки и управления вторым блоком воспроизведения для воспроизведения второго элемента компоновки.
23. Носитель записи по п.22, в котором файл объектов дополнительно включает в себя команду «Возобновить» для осуществления обратного перехода воспроизведения от второго элемента компоновки к первому элементу компоновки, причем команда «Возобновить» выполнена с возможностью управления первым блоком воспроизведения для возобновления воспроизведения первого элемента компоновки на основе информации состояния воспроизведения.
РИСУНКИ
|
|