|
|
(21), (22) Заявка: 2008145976/28, 21.11.2008
(24) Дата начала отсчета срока действия патента:
21.11.2008
(46) Опубликовано: 10.06.2010
(56) Список документов, цитированных в отчете о поиске:
US 5626941 А, 06.05.1997. US 6351339 В1, 26.02.2002. US 2005120545 A1, 09.06.2005. US 6583957 В1, 24.06.2003. RU 2323485 С2, 27.10.2007.
Адрес для переписки:
125009, Москва, ул. Моховая, 11, стр.7, Учреждение Российской академии наук Институт радиотехники и электроники им. В.А. Котельникова РАН
|
(72) Автор(ы):
Никитов Сергей Аполлонович (RU), Филимонов Юрий Александрович (RU), Высоцкий Сергей Львович (RU), Кожевников Александр Владимирович (RU), Хивинцев Юрий Владимирович (RU), Джумалиев Александр Сергеевич (RU), Никулин Юрий Васильевич (RU)
(73) Патентообладатель(и):
Учреждение Российской академии наук Институт радиотехники и электроники им. В.А. Котельникова РАН (RU)
|
(54) СРЕДА ДЛЯ МАГНИТНОЙ ЗАПИСИ НА МАГНИТНЫХ НАНОСТРУКТУРАХ
(57) Реферат:
Изобретение направлено на повышение остаточной намагниченности и коэрцитивности ферромагнитной пленки. Среда для магнитной записи содержит ферромагнитную пленку, размещенную на подложке с профилированной поверхностью, образующей периодическую двумерную наноструктуру из одиночных наноразмерных элементов. Ферромагнитная пленка покрывает наноструктуру из одиночных наноразмерных элементов сплошным слоем на их основаниях, боковых склонах и дне профиля и имеет полосовую доменную структуру. Параметры полосовой доменной структуры ферромагнитной пленки и наноструктуры удовлетворяют условию: Т1=(0,95-1,05)T2, где T1-период полосовой доменной структуры ферромагнитной пленки, Т2 -период наноструктуры. 3 з.п. ф-лы, 4 ил.
Изобретение относится к электронной технике и может быть использовано при производстве магнитных носителей информации.
Известно, что повышение объема хранимой информации на единицу поверхности носителя достигается уменьшением плоскостных размеров элемента, предназначенного для записи бита информации. Для увеличения количества таких элементов на единице площади описан ряд технических решений. Так, известен магнитный носитель (RU 2169398 С1, Гурович и др., 20.06.2001), состоящий из подложки с нанесенной на нее пленкой. Единичный магнитный элемент формируют с отношением его наибольшего размера к каждому из двух других 3,5:1-15:1, а пленку из материала с низкой или нулевой начальной намагниченностью насыщения наносят толщиной, равной одному из трех размеров элемента. Это позволяет повысить плотность размещения элементов записи информации, однако участки пленки не имеют пространственного разрешения с участками исходной пленки, что приводит к их взаимодействию и ухудшению параметров.
Описан магнитный материал для записи информации с высокой плотностью по патенту RU 2227941 C2, Спичкин Ю.А. и др., 27.04.2004, в котором в пленку магнитной матрицы вводятся области с отличным от матрицы магнитным состоянием и имеют размеры в диапазоне от нескольких ангстрем до 50 нм. Формируются в результате введения в матрицу примесей или дефектов кристаллической структуры. Однако процесс формирования областей с отличным от матрицы магнитным состоянием имеет последовательный характер, что значительно увеличивает время формирования магнитной среды на площади, пригодной для коммерческого использования.
Известен способ получения среды для перпендикулярной магнитной записи по заявке JP 2006277843, Kikuchi и др., 12.10.2006, включающий способ защиты поверхности пленки магнитомягкого подслоя от загрубления в процессе получения пленки углерода в пористом алюминии. На подложке формируется слой магнитомягкого материала, состав которого препятствует загрублению поверхности в процессе получения пленки углерода на поверхности пор. После покрытия пленкой углерода поры заполняются, например, кобальтом, образуя слой для магнитной записи, состоящий из кобальтовых наностолбиков. Однако пространственная упорядоченность пор в пористом алюминии плохо совместима с существующей организацией считывания/записи информации в жестких дисках. В изобретении (US 6665145, Wada, 16.12.2003) среда для магнитной записи на подложке имеет треки, состоящие из набора отдельных микроскопических элементов из ферромагнитного материала (Со, Ni, Fe), разделенные немагнитным материалом (например, оксидами или нитридами кремния, алюминия, титана и др.) и/или утопленные в него, причем выступают элементы не более чем на 20-40 нм. Среда для магнитной записи (US 7413819 Hattori и др., 19.08.2008), содержащая подложку, например, из стекла, на которой последовательно нанесены подслой из Та (Сr), слой магнитомягкого материала (30-300 нм), металлический подслой, которая по существу является матрицей для образования собственно наноструктур – элементов записи. Ферромагнитные наночастицы, отделенные друг от друга и защищенные снаружи немагнитным материалом, размещены на поверхности упомянутой матрицы.
Известна среда для магнитной записи (RU 2323485 С2, Воробьев и др., 27.04.2008), состоящая из подложки и двух или более осажденных на нее ферромагнитных слоев кобальта, разделенных немагнитными наноразмерными прослойками меди. Однако уменьшение размеров домена ограничивается возможностью его перехода в суперпарамагнитное состояние, результатом чего является неустойчивость намагниченности из-за тепловых флуктуации и возможность потери данных со временем.
Наиболее близким аналогом к патентуемой является среда для магнитной записи
по патенту US 6351339, Bar-Gadda, 29.02.2002. Она содержит ферромагнитную пленку, размещенную на подложке с профилированной поверхностью, образующей периодическую двумерную наноструктуру из одиночных наноразмерных элементов.
Анализ упомянутых источников информации, в том числе и ближайшего аналога, показал, что в процессе изготовления элементов памяти на наноструктурах не ставится задача оптимизации параметров структуры. Вместе с тем, в результате собственных исследований заявителем установлено, что за счет выбора соотношения размеров матрицы и параметров магнитных доменов в ферромагнитной пленке возможно облегчить режим функционирования считывающей головки за счет увеличения полезного сигнала.
Патентуемая среда для магнитной записи содержит ферромагнитную пленку, размещенную на подложке с профилированной поверхностью, образующей периодическую двумерную наноструктуру из одиночных наноразмерных элементов.
Среда, согласно изобретению, характеризуется тем, что ферромагнитная пленка покрывает наноструктуру из одиночных наноразмерных элементов сплошным слоем на их основаниях, боковых склонах и дне профиля и имеет полосовую доменную структуру; при этом параметры полосовой доменной структуры ферромагнитной пленки и наноструктуры удовлетворяют условию:
T1=(0,95-1,05)Т2, где Т1 – период полосовой доменной структуры ферромагнитной пленки, Т2 – период наноструктуры.
Среда может характеризоваться тем, что подложка выполнена из кристаллического диэлектрика, а двумерная наноструктура представляет симметрично размещенные в одной плоскости наноразмерные элементы с размером основания 30-80 нм и дном профиля, составляющим 30-80 нм при глубине профиля 30-50 нм.
Среда может характеризоваться и тем, что ферромагнитная пленка выполнена из кобальта, и/или никеля, и/или железа, и/или содержащих их сплавов толщиной 20-200 нм, а также тем, что подложка выполнена из монокристаллического кремния или двуокиси кремния 0,25-0,5.
Технический результат изобретения – повышение остаточной намагниченности и коэрцитивности ферромагнитной пленки.
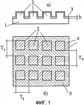
Сущность изобретения поясняется на чертежами, где:
на фиг.1 показана топология участка поверхности среды для магнитной записи: а) вид сбоку, б) вид в плане со стороны наноструктур;
на фиг.2 – фотографии наноструктур;
на фиг.3 – график зависимости коэрцитивной силы от соотношения периодов доменной структуры и профиля поверхности;
на фиг.4 – график зависимости остаточной намагниченности от соотношения периодов доменной структуры и профиля поверхности.
На фиг.1 показана топология участка поверхности наноструктуры, содержащая 12 элементов памяти: а) вид сбоку, б) вид в плане со стороны наноструктур.
В результате верхние основания наноразмерных элементов 2, боковые склоны и дно профиля покрываются сплошной ферромагнитной пленкой 3, характеризующейся наличием доменной структуры. Требуемые параметры полосовой доменной структуры достигаются с помощью выбора определенной для каждого материала толщины ферромагнитной пленки. Полосовые домены 4 условно показаны штрихами на фиг.1,б). Разные направления штриховки отвечают разному направлению намагниченности в соседних доменах 4. Параметры полосовых доменов 4 ферромагнитной пленки 3 и двумерной наноструктуры, образованной на подложке 1 удовлетворяют условию: Т1=(0,95-1,05) Т2, где T1 – период полосовой доменной структуры ферромагнитной пленки, Т2 – период наноструктуры. Иными словами, обеспечиваются условия совпадения периодов наноструктуры и полосовой доменной структуры пленки, чем достигается технический результат.
Требуемые параметры полосовой доменной структуры достигаются с помощью выбора для каждого материала толщины ферромагнитной пленки. При этом период T1=2a, где а – ширина полосового домена, которая, как известно, определяется толщиной наносимой пленки и иарамехрами используемого ферромагнитного материала по известному выражению: , где h – толщина ферромагнитного слоя, ( – константа неоднородного обмена ферромагнитного материала, – безразмерный коэффициент анизотропии).
Ввиду пренебрежимо малой разности в периодах наноструктуры создаваемой среды в плоскости элементов 2 принимается, что Т2 Т3. Типичные размеры наноструктуры: симметрично размещенные в одной плоскости наноразмерные элементы имеют размер внешнего основания 30-80 нм, дно профиля – 30-80 нм, и глубину профиля 30-50 нм.
Пленка 3 выполнена с толщиной 20-200 нм из традиционных ферромагнитных материалов: кобальта и/или никеля и/или железа и/или содержащих их сплавов, а подложка может иметь толщину 0,25-0,5 мм и быть изготовлена из монокристаллического кремния или двуокиси кремния.
На фиг.2 показано атомно-силовое изображение поверхности наноструктуры с периодом T1=T2=1 мкм после нанесения пленки кобальта толщиной 20 нм (фиг.2,а), магнитно-силовое изображение поверхности структур при толщинах пленки 20 нм (фиг.2,б) и 40 нм (фиг.2,г), вид полосовой доменной структуры при толщинах пленки 20 нм (фиг.2,в) и 40 нм (фиг.2,д). Видно, что в том случае, когда период Т1 доменной структуры совпадает с периодом Т2 наноструктуры на фиг.2,а (случай фиг.2,г), то намагниченность периодической наноструктуры выше (намагниченность пропорциональна величине перепада шкалы nА): на фиг.2,б – 0,2; на фиг.2,г – 0,4.
На фиг.3, 4 показаны экспериментальные результаты: графики зависимостей коэрцитивной силы (фиг.3) и остаточной намагниченности (фиг.4) от отношения периодов T1 доменной структуры и периода Т3 профиля поверхности двумерной наноструктуры. Зависимость магнитных характеристик от периода Т2 носит аналогичный характер, то есть при T1~Т2 наблюдается максимум коэрцитивной силы и остаточной намагниченности.
Таким образом, следует ожидать, что патентуемое решение позволит улучшить эксплуатационные характеристики элементов памяти (надежность считывания информации) за счет повышения остаточной намагниченности и коэрцитивности ферромагнитной пленки.
Формула изобретения
1. Среда для магнитной записи, содержащая ферромагнитную пленку, размещенную на подложке с профилированной поверхностью, образующей периодическую двумерную наноструктуру из одиночных наноразмерных элементов, отличающаяся тем, что ферромагнитная пленка покрывает наноструктуру из одиночных наноразмерных элементов сплошным слоем на их основаниях, боковых склонах и дне профиля и имеет полосовую доменную структуру; при этом параметры полосовой доменной структуры ферромагнитной пленки и наноструктуры удовлетворяют условию: T1=(0,95-1,05)T2, где T1 – период полосовой доменной структуры ферромагнитной пленки, Т2 – период наноструктуры.
2. Среда по п.1, отличающаяся тем, что подложка выполнена из кристаллического диэлектрика, а двумерная наноструктура представляет симметрично размещенные в одной плоскости наноразмерные элементы с размером основания 30-80 нм и дном профиля, составляющим 30-80 нм при глубине профиля 30-50 нм.
3. Среда по п.1, отличающаяся тем, что ферромагнитная пленка выполнена из кобальта, и/или никеля, и/или железа, и/или содержащих их сплавов толщиной 20-200 нм.
4. Среда по п.1, отличающаяся тем, что подложка выполнена из монокристаллического кремния или двуокиси кремния.
РИСУНКИ
|
|