|
|
(21), (22) Заявка: 2008106651/09, 25.08.2006
(24) Дата начала отсчета срока действия патента:
25.08.2006
(30) Конвенционный приоритет:
29.08.2005 US 11/214,484
(43) Дата публикации заявки: 10.10.2009
(46) Опубликовано: 10.06.2010
(56) Список документов, цитированных в отчете о поиске:
RU 2257556 С2, 27.07.2005. WO 2004/097797 А1, 11.11.2004. US 2004117176 А1, 17.06.2004. RU 2175454 C2, 27.10.2001.
(85) Дата перевода заявки PCT на национальную фазу:
31.03.2008
(86) Заявка PCT:
IB 2006/052956 20060825
(87) Публикация PCT:
WO 2007/026295 20070308
Адрес для переписки:
191036, Санкт-Петербург, а/я 24, “НЕВИНПАТ”, пат.пов. А.В.Поликарпову
|
(72) Автор(ы):
ВАСИЛАКЕ Адриана (FI), РЯМЁ Ансси (FI)
(73) Патентообладатель(и):
Нокиа Корпорейшн (FI)
|
(54) ВЕКТОРНОЕ КВАНТОВАНИЕ С ИСПОЛЬЗОВАНИЕМ ЕДИНОЙ КОДОВОЙ КНИГИ ДЛЯ МНОГОСКОРОСТНЫХ ПРИМЕНЕНИЙ
(57) Реферат:
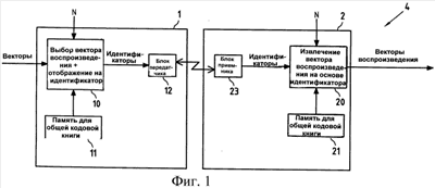
Изобретение касается способа, устройства и накопителя данных для N-уровневого квантования векторов, где N выбирают до квантования из множества, состоящего по меньшей мере из двух заранее заданных величин, которые меньше или равны заранее заданному максимальному числу уровней М. Вектор воспроизведения для каждого вектора выбирают из N-уровневой кодовой книги, состоящей из N векторов воспроизведения, которые для каждого N из упомянутого множества, по меньшей мере, из двух заранее заданных величин представлены первыми N векторами воспроизведения из одной и той же объединенной кодовой книги, состоящей из М векторов воспроизведения. Кроме того, изобретение касается способа, устройства и накопителя данных для извлечения векторов воспроизведения для векторов, которые были квантованы с N-уровнями, системы для передачи представлений векторов, способа, устройства и прикладного программного продукта для формирования объединенной кодовой книги и самой такой объединенной кодовой книги. Технический результат – обеспечение N-уровневого квантования векторов с различными выбираемыми числами уровней N. 10 н. и 25 з.п. ф-лы, 10 ил.
Текст описания приведен в факсимильном виде.                                            
Формула изобретения
1. Способ N-уровневого квантования векторов, где N выбирают до упомянутого квантования из множества, по меньшей мере, из двух заранее заданных величин, меньших или равных заранее заданному максимальному числу уровней М, при этом упомянутый способ включает: N-уровневое квантование вектора путем выбора вектора воспроизведения для указанного вектора из N-уровневой кодовой книги из N векторов воспроизведения, которые для каждого N из указанного множества, по меньшей мере, из двух заранее заданных величин представлены первыми N векторами воспроизведения одной и той же объединенной кодовой книги из М векторов воспроизведения, вывод идентификатора указанного выбранного вектора воспроизведения.
2. Способ по п.1, отличающийся тем, что N=2n и М=2m, где n и m являются целочисленными величинами.
3. Способ по п.1 или 2, отличающийся тем, что каждый вектор воспроизведения в N-уровневой кодовой книге идентифицируют n-битовым двоичным словом.
4. Способ по п.1, отличающийся тем, что упомянутые векторы содержат параметры, относящиеся к кодированию последовательности данных методом кодирования с линейным предсказанием.
5. Способ по п.1, отличающийся тем, что упомянутый шаг выбора выполняется переносным устройством связи.
6. Устройство для N-уровневого квантования векторов, где N выбирается до упомянутого квантования из множества, по меньшей мере, из двух заранее заданных величин, меньших или равных заранее заданному максимальному числу уровней М, причем упомянутое устройство содержит: средства для N-уровневого квантования вектора путем выбора вектора воспроизведения для указанного вектора из N-уровневой кодовой книги из N векторов воспроизведения, которые для каждого N из упомянутого множества, по меньшей мере, из двух заранее заданных величин представлены первыми N векторами воспроизведения из одной и той же объединенной кодовой книги из М векторов воспроизведения, и средства для вывода идентификатора указанного выбранного вектора.
7. Устройство по п.6, отличающееся тем, что N=2n и М=2m, где n и m являются целочисленными величинами.
8. Устройство по п.6 или 7, отличающееся тем, что каждый вектор воспроизведения в N-уровневой кодовой книге идентифицируют n-битовым двоичным словом.
9. Устройство по п.6, отличающееся тем, что упомянутое устройство является переносным устройством связи.
10. Носитель данных, на который помещено приложение для N-уровневого квантования векторов, где N выбирается до квантования из множества, по меньшей мере, из двух заранее заданных величин, которые меньше или равны заранее заданному максимальному числу уровней М, при этом упомянутое приложение включает: код программы для N-уровневого квантования вектора путем выбора вектора воспроизведения для указанного вектора из N-уровневой кодовой книги из N векторов воспроизведения, которые для каждого N из упомянутого множества, по меньшей мере, из двух заранее заданных величин представлены первыми N векторами воспроизведения одной и той же объединенной кодовой книги из М векторов воспроизведения, и код программы для вывода идентификатора указанного выбранного вектора воспроизведения.
11. Способ извлечения векторов воспроизведения для векторов, которые были квантованы с N-уровнями, где N выбрано до упомянутого квантования из множества, по меньшей мере, из двух заранее заданных величин, которые меньше или равны заранее заданному максимальному числу уровней М, упомянутый способ включает: прием идентификатора вектора воспроизведения, который был выбран для вектора при упомянутом квантовании, и извлечение на основе упомянутого идентификатора упомянутого вектора воспроизведения из N-уровневой кодовой книги из N векторов воспроизведения, которые для каждого N из упомянутого множества, по меньшей мере, из двух заранее заданных величин представлены первыми N векторами воспроизведения одной и той же объединенной кодовой книги из М векторов воспроизведения.
12. Способ по п.11, отличающийся тем, что N=2n и M=2m, где n и m являются целочисленными величинами.
13. Способ по п.11 или 12, отличающийся тем, что каждый вектор воспроизведения в N-уровневой кодовой книге идентифицируют n-битовым двоичным словом.
14. Устройство для извлечения векторов воспроизведения для векторов, которые были квантованы с N-уровнями, где N выбрано до квантования упомянутых векторов из множества, по меньшей мере, из двух заранее заданных величин, меньших или равных заранее заданному максимальному числу уровней М, при этом упомянутое устройство содержит: средства для приема идентификатора вектора воспроизведения, который был выбран для вектора при квантовании; и средства для извлечения на основе указанного идентификатора вектора воспроизведения из N-уровневой кодовой книги из N векторов воспроизведения, которые для каждого N из упомянутого множества, по меньшей мере, из двух заранее заданных величин представлены первыми N векторами воспроизведения одной и той же объединенной кодовой книги из М векторов воспроизведения.
15. Устройство по п.14, отличающееся тем, что N=2n и М=2m, где n и m являются целочисленными величинами.
16. Устройство по п.14 или 15, отличающееся тем, что каждый вектор воспроизведения в N-уровневой кодовой книге идентифицируют n-битовым двоичным словом.
17. Носитель данных, на который помещено приложение для извлечения векторов воспроизведения для векторов, которые были квантованы с N-уровнями, где N выбирается до упомянутого квантования из множества, по меньшей мере, из двух заранее заданных величин, меньших или равных заранее заданному максимальному числу уровней М, причем упомянутое приложение содержит: код программы для приема идентификатора вектора воспроизведения, который был выбран для вектора при упомянутом квантовании, и код программы для извлечения на основе упомянутого идентификатора упомянутого вектора воспроизведения из N-уровневой кодовой книги из N векторов воспроизведения, которые для каждого N из упомянутого множества, по меньшей мере, из двух заранее заданных величин представлены первыми N векторами воспроизведения одной и той же объединенной кодовой книги из М векторов воспроизведения.
18. Система для передачи представлений векторов, содержащая: средства для выбора вектора воспроизведения для каждого вектора из N-уровневой кодовой книги из N векторов воспроизведения, где N выбирается до упомянутого квантования из множества, по меньшей мере, из двух заранее заданных величин, которые меньше или равны заранее заданному максимальному числу уровней М, при этом N векторов воспроизведения для каждого N из упомянутого множества, по меньшей мере, из двух заранее заданных величин представлены первыми N векторами воспроизведения первой объединенной кодовой книги из М векторов воспроизведения; средства для передачи идентификатора упомянутого выбранного вектора воспроизведения по каналу передачи; средства для приема упомянутого идентификатора и средства для извлечения на основе упомянутого идентификатора упомянутого вектора воспроизведения из N-уровневой кодовой книги из N векторов воспроизведения, представленных первыми N векторами воспроизведения второй объединенной кодовой книги из М векторов воспроизведения, которая идентична первой объединенной кодовой книге.
19. Способ формирования объединенной кодовой книги из М векторов воспроизведения для использования при N-уровневом квантовании векторов, где М является заранее заданным максимальным числом уровней, а N выбирают до упомянутого квантования из множества, по меньшей мере, из двух заранее заданных величин, которые меньше или равны М, причем при упомянутом квантовании вектор воспроизведения для каждого вектора выбирают из N-уровневой кодовой книги из N векторов воспроизведения, которые для каждого N из упомянутого множества, по меньшей мере, из двух заранее заданных величин представлены первыми N векторами воспроизведения указанной объединенной кодовой книги, при этом согласно упомянутому способу: генерируют векторы воспроизведения посредством обучающего алгоритма, по меньшей мере, частично на основе множества обучающих векторов и размещают сгенерированные векторы воспроизведения в объединенной кодовой книге согласно алгоритму размещения так, чтобы для каждого числа N первые N векторов воспроизведения в объединенной кодовой книге формировали N-уровневую кодовую книгу, которая допускает малые средние искажения упомянутых векторов, когда используется при квантовании векторов.
20. Способ по п.19, отличающийся тем, что N=2n и М=2m, где n и m являются целочисленными величинами.
21. Способ по п.20, включающий: генерацию начальной кодовой книги из М векторов воспроизведения посредством указанного обучающего алгоритма; генерацию 2-уровневой кодовой книги из двух векторов воспроизведения посредством указанного обучающего алгоритма; выбор таких двух векторов воспроизведения из упомянутой начальной кодовой книги, которые наиболее сходны с упомянутыми двумя векторами воспроизведения в 2-уровневой кодовой книге; копирование двух выбранных векторов воспроизведения из начальной кодовой книги в первые две позиции в объединенной кодовой книге и удаление упомянутых двух выбранных векторов воспроизведения из начальной кодовой книги; и повторение для lm следующих шагов: генерация I-уровневой кодовой книги из I=2i векторов воспроизведения посредством указанного обучающего алгоритма; идентификация таких I/2 векторов воспроизведения из I-уровневой кодовой книги, которые наиболее сходны с упомянутыми I/2 векторами воспроизведения, уже скопированными в объединенную кодовую книгу; для оставшихся неидентифицированных I/2 векторов воспроизведения в I-уровневой кодовой книге выбор таких I/2 векторов воспроизведения из начальной кодовой книги, которые наиболее сходны с упомянутыми оставшимися неидентифицированными I/2 векторами воспроизведения; и копирование упомянутых I/2 выбранных векторов воспроизведения из начальной кодовой книги в следующие свободные позиции в направлении возрастания в объединенной кодовой книге и удаление упомянутых I/2 выбранных векторов воспроизведения из начальной кодовой книги.![]()
22. Способ по п.20, включающий: генерацию обучающим алгоритмом 2-уровневой кодовой книги из двух векторов воспроизведения; копирование упомянутых двух векторов воспроизведения из 2-уровневой кодовой книги в первые две позиции в объединенной кодовой книге; и повторение для 1m следующих шагов: генерация I-уровневой кодовой книги из I=2i векторов воспроизведения посредством указанного обучающего алгоритма, причем в этом обучающем алгоритме I/2 векторов воспроизведения, уже скопированных в объединенную кодовую книгу, формируют первую часть кодовой книги из I векторов воспроизведения, которая служит для инициализации упомянутой I-уровневой кодовой книги, генерируемой обучающим алгоритмом, и полагаются фиксированными на всем протяжении выполнения обучающего алгоритма; и копирование I/2 последних векторов воспроизведения сгенерированной I-уровневой кодовой книги в следующие свободные 1/2 позиции в направлении возрастания в упомянутой объединенной кодовой книге.![]()
23. Способ по п.19, включающий: генерацию начальной кодовой книги из М векторов воспроизведения посредством указанного обучающего алгоритма на основе множества обучающих векторов; выбор из начальной кодовой книги двух векторов воспроизведения, которые наиболее отличны друг от друга; копирование двух выбранных векторов воспроизведения из начальной кодовой книги в первые две позиции в объединенной кодовой книге и удаление двух выбранных векторов воспроизведения из начальной кодовой книги; и повторение, пока упомянутая начальная кодовая книга не пуста, следующих шагов: выбор такого вектора воспроизведения из начальной кодовой книги, который наиболее отличен от всех векторов воспроизведения, уже скопированных в объединенную кодовую книгу; копирование упомянутого выбранного вектора воспроизведения из начальной кодовой книги в следующую свободную позицию в направлении возрастания в объединенной кодовой книге и удаление упомянутого выбранного вектора воспроизведения из начальной кодовой книги.
24. Способ по п.19, включающий: генерацию начальной кодовой книги из М векторов воспроизведения посредством указанного обучающего алгоритма на основе множества обучающих векторов; выбор из начальной кодовой книги вектора воспроизведения, который является наиболее сходным со всеми упомянутыми обучающими векторами; копирование выбранного вектора воспроизведения из начальной кодовой книги в первую позицию в объединенной кодовой книге и удаление выбранного вектора воспроизведения из начальной кодовой книги; и повторение, пока начальная кодовая книга не пуста, следующих шагов: выбор из начальной кодовой книги вектора воспроизведения, который является наиболее отличным от всех векторов воспроизведения, уже скопированных в объединенную кодовую книгу; копирование упомянутого выбранного вектора воспроизведения из начальной кодовой книги в следующую свободную позицию в направлении возрастания в объединенной кодовой книге и удаление упомянутого выбранного вектора воспроизведения из начальной кодовой книги.
25. Способ по п.19, включающий: генерацию начальной кодовой книги из М векторов воспроизведения посредством указанного обучающего алгоритма; повторение, пока начальная кодовая книга не пуста, следующих шагов: выбор из начальной кодовой книги таких двух векторов воспроизведения, которые наиболее сходны друг с другом; копирование первого из двух выбранных векторов воспроизведения из начальной кодовой книги в следующую свободную позицию в направлении уменьшения, начиная с последней позиции, в объединенной кодовой книге и удаление первого из двух выбранных векторов воспроизведения из начальной кодовой книги.
26. Способ по п.19, отличающийся тем, что упомянутое множество, по меньшей мере, из двух заранее заданных величин для значения N, которое меньше или равно М, содержит К значений Ni с i=1, , К и Ni-1j M для j=2, , К, причем упомянутый способ включает: генерацию начальной кодовой книги из М векторов воспроизведения посредством указанного обучающего алгоритма на основе множества обучающих векторов; выбор из начальной кодовой книги N1 векторов воспроизведения так, чтобы искажения кодовой книги, которая содержит выбранные векторы воспроизведения, в отношении всех обучающих векторов были минимальны; копирование выбранных векторов воспроизведения из начальной кодовой книги в объединенную кодовую книгу и удаление упомянутых выбранных векторов воспроизведения из начальной кодовой книги; и повторение для каждого Ni при 1K следующих шагов: выбор из начальной кодовой книги Ni-Ni-1 векторов воспроизведения так, чтобы искажения кодовой книги, которая содержит Ni-1 векторов воспроизведения, уже скопированных в объединенную кодовую книгу, и выбранные векторы воспроизведения в отношении всех обучающих векторов были минимальны; и копирование упомянутых выбранных векторов воспроизведения из начальной кодовой книги в следующие свободные позиции в направлении возрастания в объединенной кодовой книге и удаление упомянутых выбранных векторов воспроизведения из начальной кодовой книги.![]()
27. Устройство для формирования объединенной кодовой книги из М векторов воспроизведения для использования при N-уровневом квантовании векторов, где М является заранее заданным максимальным числом уровней, а N выбирается до упомянутого квантования из множества, по меньшей мере, из двух заранее заданных величин, которые меньше или равны М, причем при квантовании вектор воспроизведения для каждого вектора выбирается из N-уровневой кодовой книги из N векторов воспроизведения, которые для каждого N из упомянутого множества, по меньшей мере, из двух заранее заданных величин представлены первыми N векторами воспроизведения объединенной кодовой книги, при этом упомянутое устройство содержит: средства для генерации векторов воспроизведения с помощью обучающего алгоритма, по меньшей мере, частично на основе множества обучающих векторов; и средства для размещения упомянутых сгенерированных векторов воспроизведения в объединенной кодовой книге согласно алгоритму размещения так, чтобы для каждого N первые N векторов воспроизведения в множестве из М векторов воспроизведения формировали N-уровневую кодовую книгу, которая допускает малые средние искажения упомянутых векторов, когда используется при их квантовании.
28. Устройство по п.27, отличающееся тем, что N=2n и М=2m, где n и m являются целочисленными величинами.
29. Устройство по п.28, включающее: средства для генерации начальной кодовой книги из М векторов воспроизведения посредством указанного обучающего алгоритма; средства для генерации 2-уровневой кодовой книги из двух векторов воспроизведения посредством указанного обучающего алгоритма; средства для выбора таких двух векторов воспроизведения из упомянутой начальной кодовой книги, которые наиболее сходны с упомянутыми двумя векторами воспроизведения в 2-уровневой кодовой книге; средства для копирования двух выбранных векторов воспроизведения из начальной кодовой книги в первые две позиции в объединенной кодовой книге и удаление упомянутых двух выбранных векторов воспроизведения из начальной кодовой книги; и средства для повторения для 1m следующих шагов: генерация I-уровневой кодовой книги из I=2i векторов воспроизведения посредством указанного обучающего алгоритма; идентификация таких I/2 векторов воспроизведения из I-уровневой кодовой книги, которые наиболее сходны с упомянутыми I/2 векторами воспроизведения, уже скопированными в объединенную кодовую книгу; для оставшихся неидентифицированных I/2 векторов воспроизведения в I-уровневой кодовой книге выбор таких I/2 векторов воспроизведения из начальной кодовой книги, которые наиболее сходны с упомянутыми оставшимися неидентифицированными I/2 векторами воспроизведения; и копирование упомянутых I/2 выбранных векторов воспроизведения из начальной кодовой книги в следующие свободные позиции в направлении возрастания в объединенной кодовой книге и удаление упомянутых I/2 выбранных векторов воспроизведения из начальной кодовой книги.![]()
30. Устройство по п.28, включающее: средства для генерации обучающим алгоритмом 2-уровневой кодовой книги из двух векторов воспроизведения; средства для копирования упомянутых двух векторов воспроизведения из 2-уровневой кодовой книги в первые две позиции в объединенной кодовой книге; и средства для повторения для 1m следующих шагов: генерация I-уровневой кодовой книги из I=2i векторов воспроизведения посредством указанного обучающего алгоритма, причем в этом обучающем алгоритме I/2 векторов воспроизведения, уже скопированных в объединенную кодовую книгу, формируют первую часть кодовой книги из I векторов воспроизведения, которая служит для инициализации упомянутой I-уровневой кодовой книги, генерируемой обучающим алгоритмом, и полагаются фиксированными на всем протяжении выполнения обучающего алгоритма; и копирование I/2 последних векторов воспроизведения сгенерированной I-уровневой кодовой книги в следующие свободные I/2 позиции в направлении возрастания в упомянутой объединенной кодовой книге.![]()
31. Устройство по п.27, включающее: средства для генерации начальной кодовой книги из М векторов воспроизведения посредством указанного обучающего алгоритма на основе множества обучающих векторов; средства для выбора из начальной кодовой книги двух векторов воспроизведения, которые наиболее отличны друг от друга; средства для копирования двух выбранных векторов воспроизведения из начальной кодовой книги в первые две позиции в объединенной кодовой книге и удаления двух выбранных векторов воспроизведения из начальной кодовой книги; и средства для повторения, пока упомянутая начальная кодовая книга не пуста, следующих шагов: выбор такого вектора воспроизведения из начальной кодовой книги, который наиболее отличен от всех векторов воспроизведения, уже скопированных в объединенную кодовую книгу; копирование упомянутого выбранного вектора воспроизведения из начальной кодовой книги в следующую свободную позицию в направлении возрастания в объединенной кодовой книге и удаление упомянутого выбранного вектора воспроизведения из начальной кодовой книги.
32. Устройство по п.27, включающее: средства для генерации начальной кодовой книги из М векторов воспроизведения посредством указанного обучающего алгоритма на основе множества обучающих векторов; средства для выбора из начальной кодовой книги вектора воспроизведения, который является наиболее сходным со всеми упомянутыми обучающими векторами; средства для копирования выбранного вектора воспроизведения из начальной кодовой книги в первую позицию в объединенной кодовой книге и удаления выбранного вектора воспроизведения из начальной кодовой книги; и средства для повторения, пока начальная кодовая книга не пуста, следующих шагов: выбор из начальной кодовой книги вектора воспроизведения, который является наиболее отличным от всех векторов воспроизведения, уже скопированных в объединенную кодовую книгу; копирование упомянутого выбранного вектора воспроизведения из начальной кодовой книги в следующую свободную позицию в направлении возрастания в объединенной кодовой книге и удаление упомянутого выбранного вектора воспроизведения из начальной кодовой книги.
33. Устройство по п.27, включающее: средства для генерации начальной кодовой книги из М векторов воспроизведения посредством указанного обучающего алгоритма; средства для повторения, пока начальная кодовая книга не пуста, следующих шагов: выбор из начальной кодовой книги таких двух векторов воспроизведения, которые наиболее сходны друг с другом; копирование первого из двух выбранных векторов воспроизведения из начальной кодовой книги в следующую свободную позицию в направлении уменьшения, начиная с последней позиции, в объединенной кодовой книге и удаление первого из двух выбранных векторов воспроизведения из начальной кодовой книги.
34. Устройство по п.27, отличающееся тем, что упомянутое множество, по меньшей мере, из двух заранее заданных величин для значения N, которое меньше или равно М, содержит К значений Ni с i-1, , К и Ni-1j M для j=2, , К, причем упомянутое устройство включает: средства для генерации начальной кодовой книги из М векторов воспроизведения посредством указанного обучающего алгоритма на основе множества обучающих векторов; средства для выбора из начальной кодовой книги N1 векторов воспроизведения так, чтобы искажения кодовой книги, которая содержит выбранные векторы воспроизведения, в отношении всех обучающих векторов были минимальны; средства для копирования выбранных векторов воспроизведения из начальной кодовой книги в объединенную кодовую книгу и удаления упомянутых выбранных векторов воспроизведения из начальной кодовой книги; и средства для повторения для каждого Ni при 1K следующих шагов: выбор из начальной кодовой книги Ni-Ni-1 векторов воспроизведения так, чтобы искажения кодовой книги, которая содержит Ni-1 векторов воспроизведения, уже скопированных в объединенную кодовую книгу, и выбранные векторы воспроизведения в отношении всех обучающих векторов были минимальны; и копирование упомянутых выбранных векторов воспроизведения из начальной кодовой книги в следующие свободные позиции в направлении возрастания в объединенной кодовой книге и удаление упомянутых выбранных векторов воспроизведения из начальной кодовой книги.![]()
35. Носитель данных, на который помещено приложение для формирования объединенной кодовой книги из М векторов воспроизведения для использования при N-уровневом квантовании векторов, где М является заранее заданным максимальным числом уровней, а N выбирается до упомянутого квантования из множества, по меньшей мере, из двух заранее заданных величин, которые меньше или равны М, причем при упомянутом квантовании вектор воспроизведения для каждого вектора выбирается из N-уровневой кодовой книги из N векторов воспроизведения, которые для каждого N из множества, по меньшей мере, из двух заранее заданных величин представлены первыми N векторами воспроизведения объединенной кодовой книги, при этом упомянутое приложение содержит: код программы для генерации упомянутых векторов воспроизведения с помощью обучающего алгоритма, по меньшей мере, частично на основе множества обучающих векторов; и код программы для размещения сгенерированных векторов воспроизведения в объединенной кодовой книге согласно алгоритму размещения так, чтобы для каждого N первые N векторов воспроизведения в множестве из М векторов воспроизведения формировали N-уровневую кодовую книгу, которая допускает малые средние искажения упомянутых векторов, когда используется при их квантовании.
РИСУНКИ
|
|