|
|
(21), (22) Заявка: 2007105501/09, 11.07.2005
(24) Дата начала отсчета срока действия патента:
11.07.2005
(30) Конвенционный приоритет:
14.07.2004 EP 04103370.5 18.04.2005 EP 05103072.4
(43) Дата публикации заявки: 20.08.2008
(46) Опубликовано: 10.06.2010
(56) Список документов, цитированных в отчете о поиске:
WO 03/090206 A1, 30.10.2003. EP 1376538 A1, 02.01.2004. RU 2129336 C1, 20.04.1999. WO 2003/007656 A1, 03.01.2003. US 2004044527 A1, 04.03.2004.
(85) Дата перевода заявки PCT на национальную фазу:
14.02.2007
(86) Заявка PCT:
IB 2005/052293 20050711
(87) Публикация PCT:
WO 2006/008697 20060126
Адрес для переписки:
129090, Москва, ул. Б.Спасская, 25, стр.3, ООО “Юридическая фирма Городисский и Партнеры”, пат.пов. Ю.Д.Кузнецову, рег. 595
|
(72) Автор(ы):
БРЕБАРТ Дирк Й. (NL), СХЕЙЕРС Эрик Г. П. (NL), ПУРНХАГЕН Хейко (SE), РЁДЕН Карл Й. (SE)
(73) Патентообладатель(и):
КОНИНКЛЕЙКЕ ФИЛИПС ЭЛЕКТРОНИКС Н.В. (NL), КОУДИНГ ТЕКНОЛОДЖИЗ АБ (SE)
|
(54) ПРЕОБРАЗОВАНИЕ АУДИОКАНАЛОВ
(57) Реферат:
Изобретение относится к преобразованию аудиоканалов. Устройство (1) для преобразования первого количества (М) входных аудиоканалов во второе большее количество (N) выходных аудиоканалов содержит: блок (3) декорреляции для разбиения входных аудиоканалов в набор декоррелированных вспомогательных каналов, по меньшей мере, один блок (4) смешения для комбинирования декоррелированных вспомогательных каналов в выходные аудиоканалы и, по меньшей мере, один блок (2) предварительной обработки для предварительной обработки входных аудиоканалов и подачи предварительно обработанных входных аудиоканалов на блоки (3) декорреляции. Управление блоком (2) предварительной обработки и блоком (4) смешения предпочтительно осуществляется на основе аудиопараметров. Технический результат – снижение искажений сигнала путем временного выравнивания между параметрами сигнала и соответствующими частями сигнала. 4 н. и 9 з.п. ф-лы, 6 ил.
Настоящее изобретение относится к преобразованию аудиоканалов. В большей степени частности, настоящее изобретение относится к устройству и способу для преобразования первого количества входных аудиоканалов во второе количество выходных аудиоканалов, причем первое количество является меньшим, чем второе количество.
Широко известно преобразование количества аудиоканалов в другое, большее количество аудиоканалов. Это может быть сделано по разным причинам. Первой причиной может быть преобразование в другой формат. Стереозаписи, например, имеют только два канала, в то время как современные аудиосистемы в типичном случае имеют пять или шесть каналов, как в популярной системе “5.1”. Таким образом, два стереоканала должны быть преобразованы в пять или шесть каналов для того, чтобы получить полное преимущество такой усовершенствованной аудиосистемы. Второй причиной может быть эффективность кодировки. Было обнаружено, что стерео аудиосигналы могут быть закодированы как аудиосигналы одного канала, скомбинированные с битовым потоком параметров, описывающих пространственные свойства аудиосигнала. Декодер может воспроизводить стерео аудиосигналы с очень хорошим уровнем точности. В этом способе может быть получена существенная экономия в плане расхода битов на отсчет.
Существуют несколько параметров, которые описывают пространственные свойства аудиосигналов. Одним из таких параметров является межканальная взаимная корреляция, например в стереосигналах взаимная корреляция между каналом L и каналом R. Другим параметром является соотношение мощностей двух каналов. В так называемых параметрических пространственных аудиокодировщиках эти и другие параметры восстанавливаются из исходного аудиосигнала с тем, чтобы генерировать аудиосигнал, имеющий уменьшенное количество каналов, например только один канал, плюс набор параметров, описывающих пространственные свойства исходного аудиосигнала. В так называемых параметрических пространственных аудиодекодерах исходный аудиосигнал по существу восстанавливается.
Параметрический пространственный аудиодекодер в типичном случае содержит некоторое количество фильтров декорреляции для генерирования наборов декоррелированных вспомогательных каналов каждого входного аудиоканала. Эти декоррелированные вспомогательные каналы затем комбинируются с исходными входными каналами в так называемом блоке смешения для генерирования выходных каналов, имеющих требуемую корреляцию, то есть корреляцию, соответствующую исходному аудиосигналу. В добавление к установке корреляции блок смешения в типичном случае также устанавливает соотношение мощностей аудиоканалов и/или выполняет другие этапы обработки сигнала, такие как прогнозирование аудиоканала на основе других каналов.
Авторы настоящего изобретения обнаружили, что фильтры декорреляции вводят временную задержку и временное “размывание” аудиосигнала и что, как результат этого, может быть временное расхождение между частью сигнала (например, сигналом, содержащимся в выделенном интервале времени) и его соответствующими параметрами: при том, что часть сигнала задерживается, ее параметры могут быть применены к другой сигнальной части, что приводит к искажению сигнала. Это является безусловно нежелательным. Однако удаление блоков декорреляции из декодера не является осуществимым, так как это сделало бы невозможным предоставление аудиоканалов, имеющих правильную межканальную корреляцию.
Целью настоящего изобретения является преодоление этих и других проблем предшествующего уровня техники и предоставление устройства и способа для преобразования некоторого количества аудиоканалов аудиосигнала, в которых неблагоприятные воздействия фильтров декорреляции существенно уменьшены или даже устранены.
Соответственно настоящее изобретение предоставляет устройство для преобразования первого количества входных аудиоканалов во второе количество выходных аудиоканалов, где первое количество является меньшим, чем второе количество, при этом устройство содержит:
по меньшей мере один блок декорреляции для генерации набора декоррелированных вспомогательных каналов из входного аудиоканала, причем этот набор декоррелированных вспомогательных каналов включает в себя один или более декоррелированных вспомогательных каналов; и по меньшей мере один блок смешения для комбинирования каналов в выходные аудиоканалы, при этом упомянутый по меньшей мере один блок смешения выполнен с возможностью объединения входного аудиоканала или предварительно обработанного входного аудиоканала и декоррелированного вспомогательного канала на основе зависящего от времени параметра межканальной взаимной корреляции, причем упомянутое устройство дополнительно содержит:
по меньшей мере один блок предварительной обработки для предварительной обработки входного аудиоканала перед подачей входного аудиоканала на упомянутый по меньшей мере один блок декорреляции, причем упомянутый по меньшей мере один блок предварительной обработки выполнен с возможностью осуществления переменной по времени обработки сигнала, иной чем установка корреляции.
Посредством предоставления блока предварительной обработки для предварительной обработки входных аудиоканалов до блоков декорреляции, аудиоканалы могут быть (предварительно) обработаны до того, как любая задержка или “размывание” будет введено блоками декорреляции. В результате правильные параметры используются для этой обработки и аннулируется любое рассогласование частей сигнала и параметров.
Упомянутый по меньшей мере один блок предварительной обработки размещен так, что предварительная обработка имеет место до того, как входной аудиоканал подается на блок(и) декорреляции. Соответственно блок предварительной обработки размещен между входной клеммой устройства и упомянутым по меньшей мере одним блоком декорреляции.
Набор вспомогательных каналов, производных от единственного входного аудиоканала, может состоять из одного, двух, трех или более каналов. Вспомогательные аудиоканалы могут также быть производными от промежуточных каналов, то есть каналов, производных от входных аудиоканалов посредством обработки сигналов, отличной от декорреляции, например, посредством прогнозирования, как может быть выполнено в блоке предварительной обработки согласно настоящему изобретению.
Блок(и) смешения могут комбинировать входной аудиоканал (или каналы), декоррелированный вспомогательный канал (или каналы) и/или любые промежуточные каналы известным способом. В дополнение к комбинированию (то есть смешению) блок смешения может также выполнять масштабирование. Однако в соответствии с настоящим изобретением обработка вспомогательных каналов и входных аудиоканалов, отличная от комбинирования, главным образом или исключительно выполняется в блоке предварительной обработки.
Управление блоком(ами) предварительной обработки и/или блоком(ами) смешения предпочтительно осуществляется на основе аудиопараметров. Эти блоки, следовательно, предназначены для того, чтобы быть управляемыми посредством этих параметров. Это обеспечивает большую гибкость и позволяет изменять свойства предварительной обработки и/или свойства смешения.
Соответственно блок предварительной обработки преимущественно устроен для переменной во времени предварительной обработки. То есть обработка, выполняемая посредством блоков предварительной обработки, изменяется со временем. В большей степени частности, эта обработка определяется изменяющимися во времени параметрами сигнала. Блок смешения предпочтительно также устроен для переменной во времени обработки, такой как переменная во времени декорреляция. В противоположность, блоки декорреляции предпочтительно устроены для неизменной во времени декорреляции.
Блок(и) предварительной обработки может преимущественно быть устроен для установки соотношения мощностей аудиоканалов и/или прогноза. Этот прогноз включает в себя прогнозирование сигналов определенных аудиоканалов на основе свойства других каналов и параметров прогнозирования.
Отмечено, что установка корреляций аудиоканалов должна быть выполнена после блоков декорреляции, то есть традиционным блоком смешения. Вся другая обработка сигнала, однако, может происходить в блоке предварительной обработки.
Настоящее изобретение также предоставляет аудиосистему, содержащую устройство, как определено выше. Аудиосистема может дополнительно содержать один или более аудиоисточников, блоки усилителя и громкоговорителей или их эквиваленты.
Настоящее изобретение сверх того предоставляет способ преобразования первого количества входных аудиоканалов во второе количество выходных аудиоканалов, где первое количество является меньшим, чем второе количество, при этом способ содержит этапы, на которых:
генерируют набор декоррелированных вспомогательных каналов из входного аудиоканала, причем набор декоррелированных вспомогательных каналов включает в себя один или более декоррелированных вспомогательных каналов; и комбинируют каналы в выходные аудиоканалы, при этом на этапе комбинирования комбинируют входной аудиоканал или предварительно обработанный входной аудиоканал и декоррелированный вспомогательный канал на основе зависящего от времени параметра межканальной корреляции, причем упомянутый способ дополнительно содержит этапы, на которых:
выполняют предварительную обработку входного аудиоканала до этапа генерации набора декоррелированных вспомогательных каналов из входного аудиоканала, причем на этапе предварительной обработки выполняют зависящую от времени обработку сигнала, отличную от установки корреляций.
Предпочтительно аудиопараметры используются для управления этапом комбинирования и этапом предварительной обработки.
Настоящее изобретение дополнительно предоставляет компьютерный программный продукт для выполнения способа, как определено выше. Компьютерный программный продукт может содержать набор машиноисполняемых инструкций, хранимых на носителе данных, таком как CD или DVD. Этот набор машиноисполняемых инструкций, который позволяет программируемому компьютеру выполнять способ, как определено выше, может также быть доступным для скачивания с удаленного сервера, например посредством Интернета.
Настоящее изобретение будет дополнительно разъяснено ниже со ссылкой на примерные варианты реализации, проиллюстрированные на сопутствующих чертежах, на которых:
Фиг. 1 схематично показывает устройство преобразования каналов в соответствии с предшествующим уровнем техники.
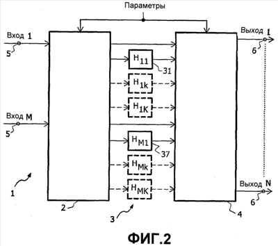
Фиг. 2 схематично показывает первый вариант осуществления устройства преобразования каналов в соответствии с настоящим изобретением.
Фиг. 3 схематично показывает второй вариант осуществления устройства преобразования каналов в соответствии с настоящим изобретением.
Фиг. 4 схематично показывает третий вариант осуществления устройства преобразования каналов в соответствии с настоящим изобретением.
Фиг. 5 схематично показывает четвертый вариант осуществления устройства преобразования каналов в соответствии с настоящим изобретением.
Фиг. 6 схематично показывает аудиосистему в соответствии с настоящим изобретением.
Устройство 1′ предшествующего уровня техники, показанное на фиг. 1, содержит совокупность 3 блоков декорреляции и блок 4 смешения. Устройство имеет M входов 5 и N выходов 6, которые все соединены с блоком 4 смешения. Каждый вход 5 принимает аудиоканал из набора аудиоканалов, которые вместе составляют многоканальный аудиосигнал.
Количество выходных каналов (N выходов 6) больше, чем количество входных каналов (M входов 5). Примерными значениями являются N = 6 и M = 2, как в случае, когда аудиосигнал преобразуется в аудиосигнал 5.1, или N = 2 и M = 1, как в случае, когда стереосигнал кодируется как моносигнал плюс дополнительная информация, хотя допустимы также и другие значения M и N. Выходные каналы в типичном случае имеют (взаимные) корреляции, определенные параметрами, подаваемыми на блок 4 смешения. Для генерации выходных каналов, имеющих требуемые корреляции, набор взаимно некоррелированных каналов порождается из входных каналов. С этой целью блоки 3 декорреляции соединены с каждым входом 5, с тем, чтобы генерировать набор некоррелированных входных каналов. Фактическое количество фильтров декорреляции, которые хорошо известны в данной области техники, может изменяться и не ограничено количеством, показанным на чертежах.
Блоки 31, …, 39 декорреляции в типичном случае включают в себя фильтры, имеющие всечастотные характеристики. Подобные фильтры по существу сохраняют огибающую спектра аудиосигнала. Однако всечастотные характеристики имеют недостаток привнесения временной задержки. В добавление, они часто являются причиной “размывания” входного сигнала, то есть временная огибающая декоррелированных сигналов менее строго очерченная, чем временная огибающая исходного сигнала. И временная задержка, и размывание имеют результатом различие между аудиосигналом и соответствующими параметрами: некоторые части сигнала (то есть временные сегменты сигнала, сгенерированные фильтрами декорреляции) достигают блока смешения позже, чем соответствующие параметры. В результате к этим частям сигнала применяются неверные параметры и аудиосигнал обрабатывается некорректно, приводя к ощутимым искажениям сигнала, например к перекрестным помехам. Будет понятно, что это является весьма нежелательным.
Отмечено, что параметры могут быть задержаны (например, блоком задержки) с тем, чтобы лучше приводить в соответствие согласование во времени параметров и сигналов. Однако блок смешения также получает недекоррелированные входные сигналы, которые не были задержаны. В добавление, “размывание” может быть зависимым от частоты. В результате трудно привести в соответствие параметры и соответствующие части сигналов.
Настоящее изобретение решает эту проблему посредством обработки аудиосигнала перед декорреляцией. То есть значительная часть обработки сигнала выполняется до того, как аудиосигнал подается на фильтры декорреляции. При этом способе несоответствие, вызванное фильтрами декорреляции, в значительной степени аннулируется.
Устройство 1 согласно настоящему изобретению и продемонстрированное только в качестве не ограничивающего примера на фиг. 2 также содержит набор 3 фильтров (31, …) декорреляции и блок 4 смешения. В отличие от устройства 1′ предшествующего уровня техники по фиг. 1, тем не менее устройство 1 согласно настоящему изобретению дополнительно содержит блок 2 предварительной обработки для предварительной обработки аудиосигнала перед декорреляцией.
Блок 2 предварительной обработки принимает M входных каналов аудиосигнала по M входам 5. Блок 2 также принимает параметры, относящиеся к аудиосигналу, которые являются указывающими требуемые свойства сигнала. Используя эти параметры, блок 2 предварительной обработки выполняет обработку сигнала, такую как корректировка соотношений мощностей аудиоканалов и прогнозирование некоторых аудиоканалов на основе других аудиоканалов. В результате корректировка соотношения мощностей и прогнозирование выполняется не подвергаясь воздействию фильтров 3 декорреляции, и любое несоответствие между аудиосигналом и параметрами, относящимися к этим операциям, аннулируется.
Будет понятно, что не всякая обработка сигнала может быть выполнена блоком предварительной обработки. Установка требуемых корреляций аудиоканалов в типичном случае требует наличия некоррелированных каналов, как они сгенерированы фильтрами 3 декорреляции. Следовательно, установка корреляций выполняется блоком 4 смешения. В добавление, блоком 4 смешения могут быть выполнены дополнительные корректировки сигнала, такие как дополнительная корректировка уровней мощности аудиоканалов. В этом случае корректировка мощности может быть выполнена и в блоке 2 предварительной обработки, и в блоке 4 смешения, хотя весьма возможно выполнять эту операцию только в одном из этих блоков.
Дополнительным преимуществом настоящего изобретения является возможность выбирать, который из блоков 2 или 4 наиболее пригоден для выполнения определенной операции обработки сигнала. Посредством предоставления двух блоков (2 и 4) вместо одного блока (4) достигается большая гибкость конструкции, и неблагоприятные эффекты блоков декорреляции могут быть аннулированы до высочайшей возможной степени.
В предпочтительных вариантах осуществления настоящего изобретения блок 2 предварительной обработки и блок 4 смешения являются переменными во времени: управление их свойствами обработки сигнала осуществляется на основе параметров сигнала, которые могут изменяться во времени. Фильтры 3 декорреляции, однако, преимущественно являются постоянными во времени: их свойства являются не зависимыми от времени и преимущественно не управляются параметрами сигнала, которые меняются со временем. Могут быть предусмотрены варианты осуществления, в которых блок 2 предварительной обработки или блок 4 смешения являются постоянными во времени.
В дальнейших полезных вариантах осуществления обработка, выполняемая блоком 2 предварительной обработки и/или блоком 4 смешения, является зависимой от частоты: управление свойствами обработки сигнала этих блоков может осуществляться на основе параметров, которые изменяются в зависимости от частоты.
Как упоминалось выше, количество выходных каналов (N) больше, чем количество входных каналов (M). Например, может быть два входных канала и пять или шесть выходных каналов, или может быть один входной канал и два или более выходных каналов, хотя возможны и другие сочетания.
Также является возможным, чтобы количество выходных 6 каналов являлось равным количеству входных каналов 5 (то есть M=N), в каковом случае устройство согласно настоящему изобретению обеспечивает перемешивание аудиоканалов. Это может быть полезно для корректировки определенных свойств сигнала и для улучшения аудиосигнала.
Отмечено, что аудиосигнал может быть составлен последовательностью частей сигнала, содержащихся в последовательных временных сегментах. Такие временные сегменты могут быть интервалами времени или другими элементами, определяющими ограниченную во времени часть сигнала. Из-за блоков декорреляции синхронизация между временными сегментами и соответствующими параметрами может быть потеряна. Эта проблема решается настоящим изобретением.
Вариант осуществления устройства только для примера настоящего изобретения показан с большей подробностью на фиг. 3. Устройство 1 по фиг. 3 принимает входной сигнал одного канала (M=1). В примерном варианте осуществления на фиг. 3 блок 2 предварительной обработки содержит два блока 22 и 23 усиления, имеющих соответствующие коэффициенты усиления G3 и G4. Блоки 22 и 23 усиления устанавливают уровни вспомогательных аудиоканалов до того, как эти вспомогательные каналы декоррелируются соответствующими блоками 31, 32, 33 декорреляции набора (совокупности) 3 блоков декорреляции. Каждый из блоков 31, 32 и 33 декорреляции имеет соответствующую функцию преобразования H1, H2 и H3 и генерирует соответствующий декоррелированный вспомогательный канал S1, S2 и S3.
(Первый) блок 21 усиления, имеющий коэффициент усиления G1, может быть добавлен между входной клеммой и первым блоком 31 декорреляции, но был изъят из показанного варианта осуществления, где первый коэффициент усиления равен 1.
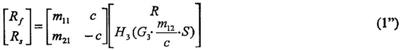
Блок 4 смешения содержит, в показанном примере, три смешивающих блока 41, 42 и 43, которые смешивают входной канал и его три вспомогательных канала для генерации четырех выходных каналов Lf (левый передний), Ls (левый окружения), Rf (правый передний), Rs (правый окружения). Смешивающий блок 41 принимает (зависящие от времени) параметры IID_lr (Межканальная разница интенсивностей левый – правый) и ICC_lr (Межканальная взаимная корреляция левый – правый), смешивающий блок 42 принимает (зависящие от времени) параметры IID_l (Межканальная разница интенсивности левый передний – левый окружения) и ICC_l (Межканальная взаимная корреляция левый передний – левый окружения), в то время как смешивающий блок 43 принимает (зависящие от времени) параметры IID_r (Межканальная разница интенсивностей правый передний – правый окружения) и ICC_r (Межканальная взаимная корреляция правый передний – правый окружения).
Параметры, упомянутые выше, в типичном случае используются в так называемой матрице смешивания для определения требуемых выходных сигналов. Например, выходные сигналы Rf (Правый передний) и Rs (Правый окружения) могут быть определены матрицей M смешивания смешивающего блока 43:

где матрица M имеет коэффициенты m11 … m22, и где H3(G3·S) = S3 является выходным сигналом блока 33 декорреляции. Нормированный коэффициент ICC декорреляции сигналов Rf и Rs задан посредством:

где 2 x является мощностью сигнала x. Соотношение интенсивностей IID задано посредством:

Поскольку суммарная мощность будет неизмененной, следует, что:

Обнаружено, что дополнительная константа m12 = -m22 является эффективной. Другими словами, мощность промежуточного сигнала (вспомогательного канала) S3 в обоих сигналах Rf и Rs является равной, но имеет противоположные знаки (противофаза). Если m12 = -m22 имеет силу, коэффициенты m11 и m22 могут быть перемещены выше блока 33 декорреляции, например к блоку 23 усиления, для того чтобы сделать возможным обработку перед декорреляцией. Уравнение (1) может быть затем переписано как:

Уравнение (1′) может быть обобщено, используя параметр c:

Для с = 1 вся переменная во времени обработка трассы сигнала декоррелятора выполняется до декоррелятора, в то время как для с = G3·m12 вся переменная во времени обработка пути сигнала декоррелятора выполняется после декоррелятора. В соответствии с настоящим изобретением параметр с будет предпочтительно иметь значение примерно или по существу равное 1.
В примерном варианте осуществления, описанном выше, блок 4 смешения устанавливает взаимную корреляцию и разницу интенсивностей четырех выходных каналов. Это, конечно, не является существенным и в некоторых вариантах осуществления межканальная интенсивность может быть установлена в блоке 2 предварительной обработки. Это может быть достигнуто посредством выполнения всех операций смешения в блоке 2 предварительной обработки, например, прямо используя входной сигнал S.
Можно увидеть на фиг. 3, что в соответствии с настоящим изобретением выполняется операция предварительной обработки, на показанном примере корректировки усиления (то есть мощности).
Другой пример устройства 1 согласно настоящему изобретению проиллюстрирован на фиг. 4, где аудиосигнал, содержащий два входных аудиоканала L0 и R0, преобразуется в аудиосигнал, состоящий из пяти аудиоканалов Lf, Ls, С (Центр), Rf и Rs. Блок 2 предварительной обработки содержит один смешивающий блок 25, который принимает (зависящие от времени) параметры сигнала c_1 и c_2. Параметры c_1 и c_2 являются параметрами прогноза для прогнозирования промежуточных сигналов L, С и R выхода посредством смешивающего блока 25 на основе входных сигналов L0 и R0. Блоки 31 и 32 декорреляции генерируют некоррелированные дополнения промежуточных каналов L и R, которые затем подаются на блок 4 смешения. Действие смешивающих блоков 41 и 42 блока 4 смешения аналогично действию смешивающих блоков 41 – 43 в варианте осуществления на фиг. 3.
Как может быть видно на фиг. 4, часть обработки выполняется блоком 4 обработки перед декорреляцией. Это является особенно благоприятным, когда используется прогнозирование, так как декорреляторы имеют тенденцию искажать исходную волновую форму, тогда как правильное прогнозирование нуждается в том, чтобы исходные волновые формы были не изменены. Прогнозирование выполняется до декорреляции, поэтому дает намного лучшие результаты. Будет понятно, что вместо одного блока 2 предварительной обработки могут присутствовать два или более подобных блоков, например один блок предварительной обработки, выполняющий операции прогнозирования, и другой блок предварительной обработки, выполняющий операции смешивания и/или масштабирования.
Примерный стереодекодер в соответствии с настоящим изобретением проиллюстрирован по фиг. 5. Стереодекодер по фиг. 5 является по существу устройством 1 согласно настоящему изобретению, имеющим один вход (M = 1) и два выхода (N = 2). Блок 2 предварительной обработки выполняет операцию масштабирования (коэффициент усиления G) и генерирует два промежуточных канала, один из которых декоррелирован блоком 3 декорреляции (функция преобразования H). Блок 4 смешения выполняет операцию поворота (Rot) таким образом, чтобы повернуть пространственную ориентацию сигнала. Отметим, что такой поворот многоканального сигнала широко известен в данной области техники. Поворот сигнала обсуждался с большей подробностью в Международной патентной заявке WO 03/090206 (Ссылка в реестре заявителя PHNL020639EPP), полное содержание которой настоящим включено в данный документ.
Аудиосистема 10 согласно настоящему изобретению схематично проиллюстрирована на фиг. 6. Аудиосистема 10 показана как включающая в себя устройство 1 для преобразования первого количества входных аудиоканалов во второе количество выходных аудиоканалов, как обсуждалось выше.
Соответственно настоящее изобретение может быть использовано в аудиоусилителях и/или системах. Такие аудиосистемы могут дополнительно содержать один или более аудиоисточников, блоков усилителя и громкоговорителей или их эквиваленты. Аудиоисточники могут включать CD-проигрыватель, DVD-проигрыватель, MP3 или AAC проигрыватель, радиоприемник, жесткий диск и/или другие источники. Аудиосистема может быть включена в состав развлекательного центра или компьютерной системы.
Как обсуждалось выше, настоящее изобретение предоставляет устройство и способ. Этапы способа очевидны из фиг. 2, где этап предварительной обработки входных аудиоканалов перед этапом разложения входных аудиоканалов в набор декоррелированных вспомогательных каналов выполняется блоком 2 предварительной обработки, этап разложения входных аудиоканалов в набор декоррелированных вспомогательных каналов выполняется совокупностью 3 блоков (31, 32, …) декорреляции, и этап преобразования декоррелированных вспомогательных каналов, предпочтительно в сочетании со входными аудиоканалами и/или промежуточными каналами, в выходной аудиоканал выполняется блоком 4 смешения.
Настоящее изобретение основано на понимании того, что временная задержка и возможное “размывание”, вызванное декорреляцией в аудиодекодере, может служить причиной расхождений временного выравнивания между параметрами сигнала и соответствующими частями сигнала. Настоящее изобретение имеет преимущества от дальнейшего понимания того, что это расхождение может быть устранено, по меньшей мере для определенных операций обработки сигнала, посредством выполнения этих операций перед декорреляцией.
Отметим, что любые термины, используемые в этом документе, не должны толковаться таким образом, чтобы ограничивать объем настоящего изобретения. В частности, слова “содержит” и “содержащий” не предполагаются для исключения любых элементов, не указанных конкретно. Одиночные (схемные) элементы могут быть заменены множественными (схемными) элементами или их эквивалентами.
Специалисту в данной области будет понятно, что настоящее изобретение не ограничено проиллюстрированными выше вариантами осуществления, и что может быть сделано множество модификаций и дополнений без отступления от объема изобретения, как определено в прилагаемой формуле изобретения.
Формула изобретения
1. Устройство (1) для преобразования первого количества (М) входных аудиоканалов во второе количество (N) выходных аудиоканалов, где первое количество (М) является меньшим, чем второе количество (N), при этом устройство содержит: по меньшей мере, один блок (3) декорреляции для генерации набора декоррелированных вспомогательных каналов из входного аудиоканала, причем данный набор декоррелированных вспомогательных каналов включает в себя один или более декоррелированных вспомогательных каналов; и по меньшей мере, один блок (4) смешения для комбинирования каналов в выходные аудиоканалы, причем упомянутый, по меньшей мере, один блок (4) смешения выполнен с возможностью комбинирования входного аудиоканала или предварительно обработанного входного аудиоканала и декоррелированного вспомогательного канала на основе зависящего от времени параметра межканальной взаимной корреляции, полученного из исходного аудиосигнала, при этом упомянутое устройство дополнительно содержит: по меньшей мере, один блок (2) предварительной обработки для предварительной обработки входного аудиоканала до подачи входного аудиоканала на упомянутый, по меньшей мере, один блок декорреляции, причем упомянутый, по меньшей мере, один блок (2) предварительной обработки выполнен с возможностью осуществления зависимой от времени корректировки сигнала в соответствии с параметром, указывающим требуемое свойство сигнала.
2. Устройство по п.1, в котором управление упомянутым, по меньшей мере, одним блоком (2) предварительной обработки и упомянутым, по меньшей мере, одним блоком (4) смешения осуществляется на основе аудиопараметров.
3. Устройство по п.1, в котором упомянутый, по меньшей мере, один блок (2) предварительной обработки приспособлен для переменной во времени предварительной обработки.
4. Устройство по п.1, в котором упомянутый, по меньшей мере, один блок (3) декорреляции приспособлен для постоянной во времени декорреляции.
5. Устройство по п.1, в котором блок (4) смешения приспособлен для переменной во времени декорреляции.
6. Устройство по п.1, в котором блок (2) предварительной обработки приспособлен для установки соотношений мощностей аудиоканалов и/или для прогнозирования.
7. Устройство по п.1, в котором первое количество (М) равно одному.
8. Устройство по п.1, в котором первое количество (М) равно двум.
9. Аудиосистема (10), содержащая устройство по п.1.
10. Способ преобразования первого количества (М) входных аудиоканалов во второе количество (N) выходных аудиоканалов, где первое количество (М) является меньшим, чем второе количество (N), при этом способ содержит этапы, на которых: генерируют набор декоррелированных вспомогательных каналов из входного аудиоканала, причем данный набор декоррелированных вспомогательных каналов включает в себя один или более декоррелированных вспомогательных каналов; и комбинируют каналы в выходные аудиоканалы, причем на этапе комбинирования комбинируют входной аудиоканал или предварительно обработанный входной аудиоканал и декоррелированный вспомогательный канал на основе переменного во времени параметра межканальной взаимной корреляции, полученного из исходного аудиосигнала, при этом упомянутый способ дополнительно содержит этап, на котором выполняют предварительную обработку входного аудиоканала до этапа генерации набора декоррелированных вспомогательных каналов из входного аудиоканала, причем на этапе предварительной обработки выполняют зависящую от времени корректировку сигнала в соответствии с параметром, указывающим требуемое свойство сигнала.
11. Способ по п.10, в котором на этапе комбинирования и этапе предварительной обработки используются аудиопараметры.
12. Способ по п.10, в котором этап предварительной обработки содержит этапы, на которых устанавливают соотношения мощностей аудиоканалов и/или выполняют прогнозирование.
13. Носитель данных, на котором сохранен компьютерный программный продукт, содержащий машиночитаемые инструкции, обеспечивающие выполнение программируемым компьютером способа по п.10.
РИСУНКИ
|
|