|
|
(21), (22) Заявка: 2009107794/09, 04.03.2009
(24) Дата начала отсчета срока действия патента:
04.03.2009
(30) Конвенционный приоритет:
05.03.2008 JP 2008-055089
(46) Опубликовано: 10.06.2010
(56) Список документов, цитированных в отчете о поиске:
JP 8016775 A, 19.01.1996. SU 1316003 A1, 07.06.1987. JP 2007281767 A, 25.10.2007. JP 6169399 A, 14.06.1994. SU 1621060 A1, 15.01.1991.
Адрес для переписки:
129090, Москва, ул. Б.Спасская, 25, стр.3, ООО “Юридическая фирма Городисский и Партнеры”, пат.пов. А.В.Мицу, рег. 364
|
(72) Автор(ы):
МОРИВАКИ Дайсаку (JP)
(73) Патентообладатель(и):
КЭНОН КАБУСИКИ КАЙСЯ (JP)
|
(54) УСТРОЙСТВО ДЛЯ ОБРАБОТКИ ИЗОБРАЖЕНИЙ И СПОСОБ УПРАВЛЕНИЯ ЭТИМ УСТРОЙСТВОМ
(57) Реферат:
Изобретение относится к обработке изображений. Техническим результатом является определение необходимости сглаживания в соответствии с состоянием целевого пикселя и его периферийной области, и по необходимости проведения сглаживания, без увеличения размера схемы устройства. Результат достигается тем, что из данных изображения выделяют область обращения, а из пикселей, включенных в эту область обращения, выделяют множество малых участков, причем пиксели расположены симметрично относительно центрального пикселя области обращения в горизонтальном и вертикальном направлениях, а также точечно-симметрично относительно центрального пикселя, и при этом обеспечивается перекрытие пикселей между каждым из малых участков. Определяют, совпадают ли данные, включенные в область обращения, с заданным шаблоном. Определяют характеристику данных изображения области обращения на основании некоторого количества характеристик множества малых участков. На основании результатов определения выносят суждение о том, надо ли проводить сглаживание на центральном пикселе области обращения. Затем проводят сглаживание на центральном пикселе, по которому вынесено упомянутое суждение. 3 н. и 4 з.п. ф-лы, 7 ил.
Область техники, к которой относится изобретение
Настоящее изобретение относится к устройству для обработки изображений, которое определяет, нужно ли проводить сглаживание в соответствии с состоянием целевого пикселя и его периферийной области, и проводит сглаживание на целевом пикселе, изобретение также относится к способу управления устройством для обработки изображений.
Предшествующий уровень техники
В последнее время в устройствах формирования изображений с помощью электрофотографии стали рассматривать различные способы сглаживания для коррекции неровностей контура с использованием дискретизации с запасом по частоте или замены путем сопоставления с шаблоном и т.п.
В способе сглаживания для замены пикселя с использованием сопоставления с шаблоном осуществляют обращение к множеству пикселей в окрестности целевого пикселя, и если шаблон, состоящий из этих многочисленных пикселей, является заданным шаблоном, проводят коррекцию на целевом пикселе, подвергающемся формированию. В соответствии с этим способом, если область обращения, принятая исходя из окрестности целевого пикселя, мала, например, можно распознать, что целевой пиксель является частью кривой, то невозможно распознать, какую кривизну имеет эта кривая. В частности, поскольку нельзя обнаружить контур, близкий к горизонтальной или вертикальной линии, невозможно провести подходящую коррекцию в соответствии с кривизной контура. Чтобы провести наиболее подходящую коррекцию в соответствии с кривизной контура, необходимо принять относительно большую область обращения. Однако, если сопоставление с шаблоном надлежит провести полностью на большой области обращения, то может увеличиться размер схемы сравнения, что приводит к высокой стоимости.
При осуществлении способа, описанного в патенте US 4847641, лишь часть целевой области обращения сравнивают с сопоставляемым изображением, а остальную часть игнорируют. В соответствии с этим способом, хотя принимается большая целевая область обращения, область, фактически сравниваемая с сопоставляемы шаблоном, ограничена частью, что делает возможным поддерживать размер упомянутой схемы малым. Вместе с тем, поскольку при сопоставлении с шаблоном не производится обращение ко всей целевой области обращения, в случае полутонового изображения или в случае плотного расположения пикселей качество изображения может ухудшиться в результате коррекции.
При осуществлении способа, описанного в патенте US 5465157, выделяют малые участки, каждый из которых состоит из множества пикселей, и на основании состояния множества выделенных малых участков определяют, является ли изображение полутоновым изображением или плотным изображением. В соответствии с этим способом влияние упомянутой проблемы ухудшения качества изображений можно уменьшить.
Между тем, для способа сравнения области обращения с сопоставляемым шаблоном при использовании малой схемы разработан широко известный метод, заключающийся в том, что проводят сравнение, а сопоставляемый шаблон или область обращения при этом симметрично преобразуют относительно горизонтальной и вертикальной осей, а также оси вращения.
Как упоминалось выше, ухудшение качества изображения в полутоновых изображениях или плотных изображениях можно уменьшить с помощью способа или устройства, предусматривающих использование эталона характеристик малых участков. Вместе с тем, когда при осуществлении этих традиционных методов проводят сравнение между целевым пикселем, к которому обращаются, и сопоставляемым шаблоном с использованием свойства симметрии, проводится преобразование матрицы пикселей. Чтобы поддержать преобразование матрицы пикселей, необходимо зарегистрировать и сравнить многие эталоны характеристик малых участков, которые отличаются друг от друга. По этой причине размер схемы может увеличиваться, а сравнение может оказаться неэффективным.
Краткое изложение существа изобретения
Задача настоящего изобретения состоит в том, чтобы исключить указанные проблемы известной технологии.
В соответствии с одним аспектом настоящего изобретения можно эффективно проводить сглаживание, не увеличивая размера схемы.
В соответствии с одним аспектом настоящего изобретения предложено устройство для обработки изображений, содержащее блок выделения области, конфигурированный для выделения области обращения из данных изображения; блок выделения, конфигурированный для выделения множества малых участков, где пиксели, включенные в область обращения, расположены симметрично относительно центрального пикселя области обращения в горизонтальном и вертикальном направлениях, а также точечно-симметрично относительно центрального пикселя, и при этом обеспечивается перекрытие пикселей между каждыми из малых участков; блок определения шаблона, конфигурированный для определения, совпадают ли данные изображения, включенные в область обращения, с заданным шаблоном; блок определения характеристики, конфигурированный для определения характеристики данных изображения области обращения на основании некоторого количества характеристик множества малых участков, выделенных блоком выделения; блок вынесения суждения, конфигурированный для вынесения суждения о том, надо ли проводить сглаживание на центральном пикселе области обращения, на основании результатов определения, полученных блоком определения шаблона и блоком определения характеристики; и блок коррекции, конфигурированный для проведения сглаживания на центральном пикселе, по которому блок вынесения суждения вынес суждение о том, что сглаживание проводить надо.
В соответствии с другим аспектом настоящего изобретения предложен способ обработки изображений, содержащий следующие шаги: выделяют область обращения из данных изображения; выделяют множество малых участков, где пиксели, включенные в область обращения, расположены симметрично относительно центрального пикселя области обращения в горизонтальном и вертикальном направлениях, а также точечно-симметрично относительно центрального пикселя, и при этом обеспечивают перекрытие пикселей между каждыми из малых участков; определяют шаблон, для чего определяют, совпадают ли данные, включенные в область обращения, с заданным шаблоном; определяют характеристику данных изображения области обращения на основании характеристик множества малых участков, выделенных на этапе выделения; выносят суждение о том, надо ли проводить сглаживание на центральном пикселе, на основании результатов определения, полученных на этапе определения шаблона и этапе определения характеристики; осуществляют коррекцию, при которой проводят сглаживание на центральном пикселе, по которому вынесено суждение о том, что сглаживание проводить надо.
Краткое описание чертежей
Дополнительные признаки и аспекты настоящего изобретения станут очевидными из нижеследующего описания возможных вариантов осуществления, приводимых со ссылками на прилагаемые чертежи, на которых:
фиг. 1 изображает схематично конфигурацию устройства формирования изображений, вариант осуществления;
фиг. 2А и 2В – функциональные блок-схемы, реализующие операцию сглаживания, проводимую в принтере, вариант осуществления;
фиг. 3А и 3В – схемы, поясняющие основную концепцию определения характеристики точечного шаблона, проводимого по всей площади области матрицы, на основании области матрицы, имеющей 7 точек в направлении основного сканирования и 7 точек в направлении вспомогательного сканирования, которая хранится в области хранения матрицы, согласно изобретению;
фиг. 4А и 4В виды, иллюстрирующие пример сопоставления с шаблоном при использовании свойства симметрии шаблона, согласно изобретению;
фиг. 5А и 5В – виды, иллюстрирующие точечный шаблон согласно фиг. 4А и характеристику малых участков на фиг. 4В, которые повернуты на 90° вправо, согласно изобретению;
фиг. 6А и 6В – виды, иллюстрирующие точечный шаблон согласно фиг. 4А и характеристику малых участков на фиг. 4В, которые повернуты на 180° вправо, согласно изобретению;
фиг. 7А и 7В – виды, иллюстрирующие точечный шаблон согласно фиг. 4А и характеристику малых участков на фиг. 4В, которые повернуты на 270° вправо, согласно изобретению.
Описание предпочтительных вариантов
осуществления изобретения
Ниже, со ссылками на прилагаемые чертежи, описаны варианты осуществления настоящего изобретения. Следует понимать, что нижеследующие варианты осуществления не следует рассматривать ограничивающими притязания настоящего изобретения и что не все из совокупностей признаков, описанных здесь, обязательно необходимы для решения задачи в соответствии с настоящим изобретением.
На фиг. 1 показана схема поперечного сечения устройства формирования изображений в соответствии с возможным вариантом осуществления. Показан 4-барабанный цветной лазерный принтер 1. Для каждого цвета предусмотрены барабан 14 с фоточувствительным поверхностным слоем, проявочный блок 52, лазерный сканер 51 и переносящий элемент (переносящий валик) 57. Конфигурация, соответствующая каждому цвету, обозначена буквой, указывающей каждый цвет, например Y, М, С и К. В нижеследующем описании, когда поясняется операция, общая для соответствующих цветов, буквы, обозначающие цвета, например Y, М, С и К, опущены, а приводятся просто позиции. Отметим, что Y обозначает желтый цвет, М обозначает пурпурный цвет, С обозначает голубой цвет, а К обозначает черный цвет.
Принтер 1 имеет кассету 53 для листов на нижней части основного корпуса. Листы бумаги (далее просто листы), содержащиеся в кассете 53 для листов, подбираются один за другим за счет вращения подбирающего валика 54 и посредством вращения пары транспортирующих валиков 55-а и 55-b переносятся в секцию формирования изображений. В секции формирования изображений предусмотрена транспортирующая лента 10, протянутая в направлении транспортировки (справа налево на фиг. 1), для транспортировки листа множеством вращающихся валиков, а спереди в крайней по ходу части транспортирующей ленты лист электростатически крепится к транспортирующей ленте 10. Четыре барабана 14-С, 14-Y, 14-М и 14-К с фоточувствительным поверхностным слоем, служащие в качестве барабанных носителей изображения, расположены напротив транспортирующей поверхности ленты и образуют секцию формирования изображений.
Проявочные блоки 52-С, 52-Y, 52-М и 52-К предусмотрены для соответствующих цветов, которыми являются голубой (С), желтый (Y), пурпурный (М) и черный (К), а каждый блок содержит фоточувствительный барабан, тонер, зарядное средство и проявочное средство. Между зарядным средством и проявочным средством в корпусе каждого проявочного блока 52 предусмотрен зазор. Через этот зазор проходит лазерный луч, который испускается в соответствии с изображением каждого цвета из лазерного сканера 51. Перед излучением лазерного луча поверхность светочувствительного барабана 14 равномерно заряжена заданным электрическим зарядом с помощью зарядного средства. Лазерный сканер 51 экспонирует поверхность равномерно заряженного барабана 14 со светочувствительным поверхностным слоем в соответствии с сигналом изображения, вследствие чего образуется электростатическое скрытое (латентное) изображение, соответствующее каждому цвету изображения, а проявочный блок образует (проявляет) тонерное изображение путем переноса тонера каждого цвета на обладающую электрическим потенциалом часть электростатического скрытого изображения.
Переносящие элементы (переносящие валики) 57-С, 57-Y, 57-М и 57-К расположены на другой стороне транспортирующей поверхности транспортирующей ленты 10. Каждое цветное тонерное изображение, сформированное (проявленное) на поверхности каждого светочувствительного барабана 14, переносится на поверхность листа с помощью переносящего электрического поля, сформированного соответствующим переносящим элементом 57. Лист, на который перенесено каждое цветное тонерное изображение, выходит из принтера 1 за счет вращения пар выбрасывающих валиков 59-а и 59-b. Отметим, что транспортирующая лента 10 может быть промежуточной транспортирующей лентой, на которой голубое, желтое, пурпурное и черное тонерные изображения перекрываются (накладываются), и тонерное изображение на промежуточной транспортирующей ленте во вторую очередь переносится на лист. Фиксирующий блок 58 предназначен для фиксации тонерного изображения, которое перенесено на лист.
На фиг. 1 блок формирования изображения голубого цвета содержит лазерный сканер 51-С, проявочный блок 52-С, светочувствительный барабан 14-С и переносящий элемент 57-С. Аналогично, блок формирования изображения пурпурного цвета содержит лазерный сканер 51-М, проявочный блок 52-М, светочувствительный барабан 14-М и переносящий элемент 57-М. Блок формирования изображения желтого цвета содержит лазерный сканер 51-Y, проявочный блок 52-Y, светочувствительный барабан 14-Y и переносящий элемент 57-Y. Блок формирования изображения черного цвета содержит лазерный сканер 51-К, проявочный блок 52-К, светочувствительный барабан 14-К и переносящий элемент 57-К.
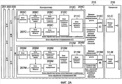
На фиг. 2А и 2В представлены функциональные блок-схемы для выполнения операции сглаживания, проводимой с помощью блока обработки изображений принтера 1 в соответствии с возможным вариантом осуществления.
Процессор 216 принтера обеспечивает формирование (печать) изображения на основании данных изображения, генерируемых контроллером 215. Блок 201 формирования изображений генерирует данные растровых изображений, которые можно печатать на основании данных печати, принимаемых из компьютера (не показан), являющегося внешним устройством, и выводит эти данные в качестве данных палитры «красный-зеленый-синий» (палитры RGB). Блок 202 генерирования цветов преобразует данные основной палитры в данные палитры «голубой-пурпурный-желтый-черный» (палитры CMYK), печать которых обеспечивает процессор 216 в пространстве палитры CMYK. Блок 203 обработки полутонов проводит цифровое формирование полутонов на данных палитры CMYK.
Блоки 204С, 204М, 204Y и 204К обработки сглаживанием проводят сглаживание на данных палитры CMYK соответственно. Поскольку блоки обработки сглаживанием для соответствующих цветов имеют одинаковую конфигурацию, ниже приводится описание блока 204С обработки сглаживанием в качестве типичного блока.
Блок 212С обработки путем сопоставления с шаблоном определяет точечный шаблон области обращения, включающей в себя окрестность целевого пикселя, и определяет характеристику целевого шаблона. Затем блок 212С обработки путем сопоставления с шаблоном выдает скорректированные данные пикселей, на которых проведена коррекция сглаживанием, или нескорректированные данные пикселей, и данные управления направлением роста, предназначенные для управления направлением роста широтно-импульсно-модулированного сигнала (ШИМ-сигнала). Блок 205С хранения матрицы выделяет из данных изображения множество пикселей, подлежащих использованию в качестве области обращения, принимает данные пикселей, соответствующие области обращения, на которых проведено цифровое формирование полутонов с помощью блока 203 обработки полутонов, и временно сохраняет эти данные. Блок 206С матричного преобразования преобразует матрицу данных пикселей, хранящуюся в блоке 205С хранения матрицы, в матрицы, в которых множество пикселей в области обращения горизонтально симметрично, вертикально симметрично и симметрично относительно оси вращения. Блок 207 выделения области выделяет малые участки, как показано на фиг. 3В, для определения характеристики на основании матрицы области обращения, на которой проведено матричное преобразование с помощью блока 206С матричного преобразования. Эти малые участки получаются путем выделения пикселей в области обращения с допущением перекрытия пикселей между каждыми из малых участков и путем расположения выделенных пикселей таким образом, что они оказываются вертикально и горизонтально симметричными относительно центрального пикселя 300 области обращения (фиг. 3А) и точечно-симметричными относительно центрального пикселя 300 (фиг. 3В).
Блок 208С определения точечного шаблона вводит данные пикселей области обращения, на которых проведено матричное преобразование с помощью блока 206С матричного преобразования, и определяет, совпадает ли точечный шаблон области обращения с заданным шаблоном. На основании характеристики малого участка, полученной блоком 207С выделения области, блок 209С определения определяет, к какой категории принадлежит область обращения. Блок 210С вынесения суждения о сопоставлении выносит суждение о том, надо ли проводить коррекцию на целевом пикселе (центральном пикселе) матрицы (области обращения), на основании типа шаблона области обращения, который определен блоком 208С определения точечного шаблона, и характеристики малого участка, которая определена блоком 209С определения. Блок 211С коррекции целевого пикселя корректирует целевой пиксель (центральный пиксель), по которому блок 210С вынесения суждения о сопоставлении определил, что коррекция необходима. Блок 211С коррекции целевого пикселя выдает данные управления направлением роста и скорректированные или нескорректированные данные целевого пикселя. Блок 213С широтно-импульсной модуляции (ШИМ) вводит скорректированные данные пикселей, на которых проведена коррекция сглаживанием, или нескорректированные данные пикселей, а также данные управления направлением роста для управления направлением роста ШИМ-сигнала, и проводит широтно-импульсную модуляцию данных пикселей. На основании ШИМ-сигнала происходит возбуждение лазерного сканера 51-С и формируется изображение голубого цвета. Более конкретно, блок 213С ШИМ выдает ШИМ-сигнал, соответствующий ширине импульса введенных данных пикселей. Далее, блок 213С ШИМ осуществляет равномерное деление размера одного пикселя на несколько областей и, в соответствии с данными управления направлением роста, управляет включением и выключением ШИМ-сигнала в зависимости от площади одного пикселя. Например, если направление роста является направлением влево, согласно направлению основного сканирования, то управление ШИМ-сигналом осуществляется так, что точки концентрируются на левой стороне одного пикселя. Если направление роста является направлением вправо, то управление ШИМ-сигналом осуществляется так, что точки концентрируются на правой стороне одного пикселя.
Поскольку работа блоков 204М, 204Y и 204К обработки сглаживанием, а также блоков 213М, 213Y и 213К ШИМ, соответствующих другим цветам, аналогична, описание их работы опущено.
Далее, со ссылками на фиг. 3А, 3В, 4А, 4В, 5А, 5В, 6А, 6В, 7А и 7В, приводится подробное описание, касающееся блока 212С обработки путем сопоставления с шаблоном. Поскольку операции блоков 212М, 212Y и 212К обработки путем сопоставления с шаблоном для других цветов аналогичны, их описания опущены.
На фиг. 3А и 3В показаны виды, иллюстрирующие базисную концепцию определения характеристики точечного шаблона, проводимой по всей области матрицы, на основании области матрицы, имеющей 7 точек в направлении основного сканирования и 7 точек в направлении вспомогательного сканирования, которая хранится в области 205С хранения матрицы. На основании характеристики площади матрицы определяют, подвергать ли шаблон сглаживанию.
На фиг. 3А показана область обращения матрицы, имеющая 7 точек в направлении основного сканирования и 7 точек в направлении вспомогательного сканирования.
Матрица 7×7, имеющая 7 пикселей (а, b, c, d, e, f и g) в направлении основного сканирования и 7 пикселей (1, 2, 3, 4, 5, 6 и 7) в направлении вспомогательного сканирования, содержит в общей сложности 49 пикселей. Например, центральный пиксель обозначен указанным на матрице символом 4d. Предположим, что центральным пикселем является целевой пиксель 300 для сглаживания. В нижеследующем описании каждый пиксель области обращения выражен с помощью координат матрицы.
На фиг. 3В область обращения, показанная на фиг. 3А, разделена на 17 малых участков, состоящих из малых участков Х1-Х8 и Y1-Y8 и центрального пикселя (4d). Малый участок Х1 конфигурирован пикселями 2b, 2c, 2d, 3b, 3c и 3d на фиг. 3А. Малый участок Х2 конфигурирован пикселями 2d, 2e, 2f, 3d, 3e и 3f на фиг. 3А. Малый участок Х3 конфигурирован пикселями 5b, 5c, 5d, 6b, 6c и 6d на фиг. 3А. Малый участок Х4 конфигурирован пикселями 5d, 5e, 5f, 6b, 6e и 6f на фиг. 3А. Малый участок Х5 конфигурирован пикселями 2b, 2c, 3b, 3c, 4b и 4c на фиг. 3А. Малый участок Х6 конфигурирован пикселями 4b, 4c, 5b, 5c, 6b и 6c на фиг. 3А. Малый участок Х7 конфигурирован пикселями 2e, 2f, 3e, 3f, 4e и 4f на фиг. 3А. Малый участок Х8 конфигурирован пикселями 4e, 4f, 5e, 5f, 6e и 6f на фиг. 3А. Как показано на фиг. 3В, каждый из малых участков Y1-Y8 тоже имеет конфигурацию, предусматривающую наличие 8-ми пикселей на фиг. 3А.
Как описано выше, область обращения на фиг. 3В может быть разделена на 8 малых участков (Х1-Х8), каждый из которых конфигурирован 6-тью пикселями, 8 малых участков (Y1-Y8), каждый из которых конфигурован 8-мью пикселями, и центральный пиксель 4d.
Предположим, что характеристика каждого малого участка выражается (Xn) или (Yn).
В случае, когда все пиксели на малом участке являются равнозначными пикселями (все пиксели являются пикселями белого цвета или пикселями черного цвета), характеристика (Xn) или (Yn) этого малого участка определяется как 0.
В случае, когда пиксели на малом участке отличаются друг от друга (пиксели белого цвета и пиксели черного цвета вперемешку), характеристика (Xn) или (Yn) этого малого участка определяется как 1. Например, если все пиксели малого участка Х1 являются пикселями белого цвета, то характеристика (Х1) малого участка Х1 представляет собой 0. Если все пиксели малого участка Х1 являются пикселями черного цвета, то характеристика (Х1) малого участка Х1 представляет собой 0. Если конфигурация пикселей малого участка Х1 предусматривает наличие пикселей белого и черного цвета, то характеристика (Х1) малого участка Х1 представляет собой 1. Характеристика каждого из малых участков Х1-Х8 и Y1-Y8 получается вышеописанным образом.
На от фиг. 4А и 4В – фиг. 7А и 7В показаны примеры сопоставления с шаблоном при использовании свойства симметрии шаблона в соответствии с вариантом осуществления.
На фиг. 4А показан пример точечного шаблона области обращения в окрестности целевого пикселя (центрального пикселя) 300.
На фиг. 4А и 4В пиксели 3е, 3f, 4c и 4d являются пикселями белого цвета, пиксели 4е, 4f, 5c, 5d и 5f являются пикселями черного цвета, а другие пиксели могут быть пикселями либо белого цвета, либо черного цвета. При этом характеристика малых участков принята (Х1)=(Х2)=(Х5)=(Х6)=0 и, по меньшей мере, одна из характеристик (Y1)-(Y8), (X3) и (Х4) представляет собой 0. Если обнаруживается шаблон этого типа, то область обращения (фиг. 4А) определяется как неполутоновая область, а целевой пиксель 300 становится целевым пикселем коррекции.
На фиг.1 термин “словарь” означает “память шаблона”, которая сохраняет несколько шаблонов, для определения, становится ли целевой пиксель целевым пикселем коррекции, что определяется в блоке определения шаблона.
На фиг. 5А и 5В – фиг. 7А и 7В показаны точечные шаблоны и характеристики малых участков, которые соответственно повернуты на 90°, 180° и 270° вправо (целевой пиксель при этом находится в центре) от точечного шаблона на фиг. 4А и характеристики малых участков на фиг. 4В.
Более конкретно, на фиг. 4А и 4В пиксели 3d, 4d, 5e и 6e являются пикселями белого цвета, пиксели 3с, 4с, 5c, 5d и 6в являются пикселями черного цвета, а другие пиксели могут быть пикселями либо белого цвета, либо черного цвета, при этом характеристика малых участков принята (Х2)=(Х7)=(Х8)=(4d)=0 и, по меньшей мере, одна из характеристик (Y1)-(Y8), (X5) и (Х6) представляет собой 0. Если обнаруживается шаблон этого типа, то центральный пиксель 300 становится целью коррекции.
На фиг. 6А и 6В пиксели 4d, 4e, 5b и 5c являются пикселями белого цвета, пиксели 3с, 3d, 3e, 4b и 4c являются пикселями черного цвета, а другие пиксели могут быть пикселями либо белого цвета, либо черного цвета. При этом характеристика малых участков принята (Х3)=(Х4)=(Х8)=(4d)=0 и, по меньшей мере, одна из характеристик (Y1)-(Y8), (X1) и (Х2) представляет собой 0. Если обнаруживается шаблон этого типа, то центральный пиксель 300 становится целью коррекции.
На фиг. 7А и 7В пиксели 2c, 3c, 4d и 5d являются пикселями белого цвета, пиксели 2d, 3d, 3e, 4e и 5e являются пикселями черного цвета, а другие пиксели могут быть пикселями либо белого цвета, либо черного цвета. При этом характеристика малых участков принята (Х3)=(Х5)=(Х6)=(4d)=0 и, по меньшей мере, одна из характеристик (Y1)-(Y8), (X7) и (Х8) представляет собой 0. Если обнаруживается шаблон этого типа, то центральный пиксель 300 становится целью коррекции.
На фиг. 2А и 2В блок 208С определения точечного шаблона, блок 209С и блок 210С вынесения суждения о сопоставлении сравнивают область матрицы размером 7×7 в общей сложности с 8-мью шаблонами, включая те, которые показаны на фиг. 4А и 4В – фиг. 7А и 7В, а также шаблоны и характеристики, которые вертикально или горизонтально симметричны им. Если блок 210С вынесения суждения о сопоставлении выносит суждение о том, что точечный шаблон области матрицы удовлетворяет одному из условий вышеописанных 8-ми шаблонов, то целевой пиксель 300 области обращения определяется как корректируемый целевой пиксель и подвергается коррекции блоком 211С коррекции целевого пикселя. Коррекция в блоке 211С коррекции целевого пикселя проводится, например, путем равномерного деления размера одного пикселя на четыре области в направлении основного сканирования, получения информации, указывающей, следует ли добавлять точку к каждой из четырех областей, и выдачи скорректированных данных изображения, к которым добавлена полученная информация, в блок 213 ШИМ. В соответствии, например, со значением пикселя или вышеописанной информацией блок 213 ШИМ управляет тем, нужно ли подавать тонер (добавлять точку) в каждую из четырех областей одного пикселя.
В соответствии с вариантом осуществления, описанным выше, решение о том, нужно ли добавлять точку, можно осуществлять в единицах каждой области, и это получается путем равномерного деления размера одного пикселя. Поэтому даже в изображении неполутоновой области можно скорректировать неровную часть, которая появляется у контура изображения.
В соответствии с вариантом осуществления, описанным выше, посредством матричного преобразования, проводимого блоком матричного преобразования, точки в области матрицы можно сравнивать с шаблоном и характеристикой на фиг. 4А восемью разными способами сравнения. Следовательно, нет необходимости регистрировать остальные 7 шаблонов и характеристик.
Известный способ не предусматривает использование свойства симметрии точечного шаблона при одновременном проведении сравнения с шаблоном и определении характеристики области.
С другой стороны, в соответствии с данным вариантом осуществления, при делении области матрицы размером 7×7 на малые участки для проведения определения характеристики на всех участках области матрицы размером 7×7 эту область делят на малые участки (фиг. 3В), которые обладают свойством симметрии в горизонтальном, вертикальном и окружном направлениях, и при этом в области обращения обеспечивается перекрытие пикселей между каждыми из малых участков. За счет свойства симметрии между малыми участками обеспечивается возможность проведения сравнения и определения с использованием свойства симметрии при наличии простой конфигурации.
При регистрации всех сопоставляемых шаблонов, подвергающихся обработке, в связи с множеством шаблонов, обладающих свойством симметрии, регистрируется только этот шаблон, который служит в качестве основания симметрии. Следовательно, количество шаблонов, подлежащих регистрации, можно значительно уменьшить.
В вышеописанном варианте осуществления преобразование матрицы осуществляется на области матрицы, а также проводится определение с использованием свойства симметрии. Вместе с тем, в этом варианте осуществления возможна конфигурация, что вместо преобразования области матрицы проводят матричное преобразование на шаблоне, используемом при сравнении.
Кроме того, в вышеописанном варианте осуществления целевой пиксель корректируется с использованием матрицы размером 7×7, служащей в качестве области обращения. Однако настоящее изобретение не ограничивается этим размером области обращения.
Кроме этого, вышеописанный вариант осуществления предусматривает определение характеристики путем деления области обращения на 17 малых участков таким образом, что каждый из участков обладает свойством симметрии. Вместе с тем, за исключением свойства симметрии, количество и форма малых участков не ограничиваются вышеупомянутым вариантом осуществления.
Кроме того, вышеописанный вариант осуществления предусматривает определение характеристики на участке, который меньше, чем область обращения, с учетом того, все ли пиксели малого участка являются одинаковыми. Вместе с тем, метод определения характеристики не ограничивается этим вариантом. В случае двухзначных данных пикселей, например, можно принять за показатель оценку количества пикселей черного цвета на участке, получаемую при подсчетах для всего малого участка, или, в случае многозначных данных пикселей, можно принять за показатель оценку количества пикселей, превышающего пороговое значение на участке, получаемую при подсчетах для малого участка.
Кроме этого, в вышеописанном варианте осуществления сглаживание проводят на тех данных пикселей, на которых проведено цифровое формирование полутонов. Однако порядок обработки не ограничивается этим вариантом. Иными словами, сглаживание можно проводить на многозначных данных пикселей перед проведением цифрового формирования полутонов.
Кроме того, в вышеописанном варианте осуществления сглаживание проводят на двухзначных данных пикселей, на которых проведено цифровое формирование полутонов. Однако порядок обработки не ограничивается двухзначными данными, и может быть проведено на многозначных данных, таких как трехзначные данные или четырехзначные данные.
Хотя в вышеописанном варианте осуществления приведен пример применения настоящего изобретения к устройству для многоцветной печати данных, настоящее изобретение может быть применено к устройству для одноцветной печати данных.
Хотя настоящее изобретение описано со ссылками на возможные варианты осуществления, должно быть понятно, что изобретение не ограничивается описанными возможными вариантами осуществления. Объем притязаний нижеследующей формулы изобретения следует толковать в самом широком смысле как охватывающий все такие модификации, а также эквивалентные конструкции и функции.
Формула изобретения
1. Устройство для обработки изображений, содержащее: блок выделения области, конфигурированный для выделения области обращения из данных изображения, блок выделения, конфигурированный для выделения множества малых участков, где пиксели, включенные в область обращения, расположены симметрично относительно центрального пикселя области обращения в горизонтальном и вертикальном направлениях, а также точечно-симметрично относительно центрального пикселя, и при этом обеспечивается перекрытие пикселей между каждыми из малых участков, блок определения шаблона, конфигурированный для определения, совпадают ли данные, включенные в область обращения, с заданным шаблоном; блок определения характеристики, конфигурированный для определения характеристики данных изображения области обращения на основании ряда характеристик множества малых участков, выделенных блоком выделения; блок вынесения суждения, конфигурированный для вынесения суждения, надо ли проводить сглаживание на центральном пикселе области обращения: на основании результатов определения, полученных блоком определения шаблона и блоком определения характеристики; и блок обработки коррекции, конфигурированный для проведения сглаживания на центральном пикселе, по которому блок вынесения суждения вынес суждение о том, что сглаживание проводить надо.
2. Устройство по п.1, отличающееся тем, что блок определения шаблона выполнен с возможностью определения путем сравнения данных изображения, включенных в область обращения, с шаблоном, который симметричен в горизонтальном направлении заданного шаблона, с шаблоном, который симметричен в вертикальном направлении заданного шаблона, и с шаблоном, который симметричен в окружном направлении заданного шаблона.
3. Устройство по п.1, отличающееся тем, что блок определения характеристики выполнен с возможностью определения характеристики данных изображения в области обращения в соответствии с тем, удовлетворяют ли заданному условию любые из шаблонов, которые симметричны в горизонтальном, вертикальном и окружном направлениях множества малых участков, выделенных блоком выделения.
4. Способ обработки изображений, содержащий следующие шаги: выделяют область обращения из данных изображения, выделяют множество малых участков, где пиксели, включенные в область обращения, расположены симметрично относительно центрального пикселя области обращения в горизонтальном и вертикальном направлениях, а также точечно-симметрично относительно центрального пикселя, и при этом обеспечивается перекрытие пикселей между каждым из малых участков, определяют шаблон, для чего определяют, совпадают ли данные, включенные в область обращения, с заданным шаблоном, определяют характеристику данных изображения области обращения на основании характеристик множества малых участков, выделенных на этапе выделения, выносят суждение о том, надо ли проводить сглаживание на центральном пикселе, на основании результатов определения, полученных на этапе определения шаблона и этапе определения характеристики, и осуществляют коррекцию, при которой проводят сглаживание на центральном пикселе, по которому на этапе вынесения суждения вынесено суждение о том, что сглаживание проводить надо.
5. Способ обработки изображений по п.4, отличающийся тем, что на этапе определения шаблона определяют путем сравнения данных изображения, включенных в область обращения, с шаблоном, который симметричен в горизонтальном направлении заданного шаблона, с шаблоном, который симметричен в вертикальном направлении заданного шаблона, и с шаблоном, который симметричен в окружном направлении заданного шаблона.
6. Способ обработки изображений по п.4, отличающийся тем, что на этапе определения характеристики определяют характеристику данных изображения в области обращения в соответствии с тем, удовлетворяют ли заданному условию любые из шаблонов, которые симметричны в горизонтальном, вертикальном и окружном направлениях множества малых участков, выделенных блоком выделения.
7. Считываемый компьютером носитель записи для хранения программы для выполнения компьютером способа обработки изображения по п.4.
РИСУНКИ
|
|