|
|
(21), (22) Заявка: 2006129283/09, 07.02.2005
(24) Дата начала отсчета срока действия патента:
07.02.2005
(30) Конвенционный приоритет:
12.02.2004 SE 0400308-3 12.02.2004 US 60/543,545
(43) Дата публикации заявки: 20.02.2008
(46) Опубликовано: 10.06.2010
(56) Список документов, цитированных в отчете о поиске:
WO 00/74001 A1, 07.12.2000. RU 2208247 C2, 10.07.2003. WO 01/1677 A1, 15.02.2001. US 6111506 A, 29.08.2000. US 5144680 A, 01.09.1992. WO 98/01820 A1, 15.01.1998.
(85) Дата перевода заявки PCT на национальную фазу:
11.08.2006
(86) Заявка PCT:
SE 2005/000141 20050207
(87) Публикация PCT:
WO 2005/078647 20050825
Адрес для переписки:
129090, Москва, ул. Б.Спасская, 25, стр.3, ООО “Юридическая фирма Городисский и Партнеры”, пат.пов. Ю.Д.Кузнецову, рег. 595
|
(72) Автор(ы):
АНДЕРССОН Йонас (SE)
(73) Патентообладатель(и):
ПРИСАЙЗ БИОМЕТРИКС АБ (SE)
|
(54) ПОРТАТИВНЫЙ НОСИТЕЛЬ ДАННЫХ, ВНЕШНЕЕ УСТРОЙСТВО, СИСТЕМА И СПОСОБЫ ДЛЯ БЕСПРОВОДНОЙ ПЕРЕДАЧИ ДАННЫХ
(57) Реферат:
Изобретение относится к портативному носителю данных, содержащему биометрический шаблон. Изобретение обеспечивает надежный и безопасный портативный носитель данных, который можно использовать в качестве средства идентификации. Портативный носитель данных содержит память (12) носителя для хранения данных, содержащих биометрический шаблон (13) и набор команд (15), в соответствии с которым организуется работа портативного носителя данных для выполнения функции, зависящей от области применения, в которой используется портативный носитель данных, а также коммуникационное средство (11) носителя для бесконтактного приема и передачи данных. Портативный носитель данных характеризуется тем, что он дополнительно содержит процессорное средство (16) носителя для сравнения биометрического шаблона с биометрическим образцом (23), принятым от внешнего устройства (20), и тем, что он выполнен с возможностью осуществления процесса квитирования с внешним устройством, а также выполнения упомянутой функции и передачи ее результата внешнему устройству только в том случае, если биометрический образец совпадает с биометрическим шаблоном. 5 н. и 29 з.п. ф-лы, 4 ил.
Область техники
Настоящее изобретение относится к портативному носителю данных, который содержит память носителя для хранения данных, содержащих биометрический шаблон и специализированную функцию, а также коммуникационное средство носителя для бесконтактного приема и передачи данных. Изобретение также относится к способу и носителю информации с командами для передачи данных посредством вышеуказанного портативного носителя данных.
Настоящее изобретение также относится к внешнему устройству, содержащему коммуникационное средство устройства для бесконтактного приема и передачи данных и сенсор для регистрации биометрического образца. Кроме того, изобретение относится к способу и носителю информации с командами для передачи данных посредством вышеуказанного внешнего устройства.
Настоящее изобретение также относится к системе для передачи данных, содержащей упомянутые выше портативный носитель данных и внешнее устройство. Кроме того, изобретение относится к способу передачи данных, включающему в себя упомянутые выше способ передачи данных посредством портативного носителя данных и способ передачи данных посредством внешнего устройства.
Описание известного уровня техники
Доступ к информации, к какому-либо помещению или т.п. в большинстве случаев необходимо ограничивать определенным кругом лиц. Это касается, например, электронных денежных операций, осуществляемых через Интернет, регистрационных записей в медицинских учреждениях или разрешения доступа к определенной информации или к определенным помещениям только определенным работникам в учреждении. В таких обстоятельствах часто применяются портативные носители данных, например интеллектуальные карточки или смарт-карты. Смарт-карта представляет собой карту размером с кредитную карточку со встроенным процессором или средством обработки сигналов, памятью и коммуникационным интерфейсом.
На всех смарт-картах, используемых в описанных выше случаях, хранится секретная информация. Такая секретная информация содержит, по меньшей мере, так называемый шаблон, который можно охарактеризовать как предварительно сохраненную эталонную информацию о пользователе карты. При каждой попытке использования карты право пользователя на ее использование верифицируется по этому шаблону. В зависимости от условий, в которых предполагается использовать смарт-карту, в памяти карты может храниться различная секретная информация.
Шаблон может соответствовать, например, ПИН-коду (ПИН – персональный идентификационный номер). Когда держатель карты желает верифицировать свое право на ее использование, он помещает карту в терминал и вводит ПИН-код. Право пользователя карты как ее держателя подтверждается, если введенный ПИН-код соответствует шаблону, хранящемуся в памяти. В другом примере шаблон может быть биометрическим, т.е. соответствовать индивидуальной информации, относящейся к телу человека, например к отпечатку пальца, форме кисти руки, радужной оболочке глаза или голосу пользователя. Известный способ, при котором держатель или владелец карты идентифицирует себя посредством биометрической информации, заключается в следующем.
Пользователь помещает свою смарт-карту в терминал, а палец приближает к сенсору, который формирует цифровой образ, т.е. цифровое представление пальца. Цифровой образ пальца затем передается во внешний процессор, например персональный компьютер, где он предварительно обрабатывается. При предварительной обработке уменьшается количество информации в образце, в результате чего формируется преобразованный в двоичную форму образ или части этого образа. Соответствующий предварительно обработанный образ хранится на карте в качестве шаблона. Внешний процессор извлекает шаблон из карты и сравнивает его с предварительно обработанным образом пальца. Право пользователя карты как ее держателя удостоверяется, если этот образ совпадает с шаблоном.
При использовании описанного выше портативного носителя данных пользователь должен привести его в физический контакт с терминалом, чтобы между ними мог совершаться обмен данными. Это означает, что в нормальных условиях пользователь портативного носителя данных всегда знает, когда его носитель данных осуществляет обмен данными с терминалом. Однако физический контакт между терминалом и носителем данных, необходимый для осуществления связи, иногда является источником проблем, помимо прочего из-за риска неплотного контакта, коррозии на поверхностях контакта и т.п. Известным решением этих проблем является использование беспроводной связи между портативным носителем данных и терминалом.
Например, в патенте США 6111506 описана система, в которой носитель данных в форме карточки, являющейся персональным идентификационным документом, осуществляет беспроводную связь с терминалом. Когда идентификационный документ принимает сигнал от терминала, он проверяет, имеет ли этот терминал право осуществлять обмен данными с идентификационным документом. Если он имеет такое право, терминалу разрешается считывать данные из идентификационного документа. Считываемые данные могут быть биометрическими данными, которые представляют, например, отпечаток пальца владельца идентификационного документа. При биометрической идентификационной проверке человеку, предъявившему идентификационный документ, предлагают осуществить взаимодействие с устройством, подключенным к терминалу, для регистрации биометрических данных. В компьютере, подключенном к терминалу, биометрические данные, считанные из идентификационного документа, сравниваются с зарегистрированными биометрическими данными. Если они совпадают, то верифицируется, что человек, предъявивший данный идентификационный документ, является его законным владельцем. В этой системе идентификационный документ активируется для считывания терминалом, как только будет установлено, что данный терминал имеет право осуществлять связь с данным идентификационным документом. Это значит, что данные в идентификационном документе будут открыты для считывания независимо от того, является ли предъявитель идентификационного документа его законным владельцем, или же неким субъектом, который, например, похитил этот идентификационный документ. Недостатком этой системы является то, что обмен данными с носителем данных возможен даже тогда, когда его держатель не знает об этом. Можно тайно расположить терминал, находящийся в недобросовестных руках, например, вблизи сумки или кармана, в котором находится носитель данных, и считывать из него хранящиеся данные или иным образом взаимодействовать с носителем данных. Во многих ситуациях это приводит к большим проблемам. Например, если идентификационный документ является паспортом, и владелец паспорта по какой-то причине не желает сообщать свою национальность или другую информацию, хранящуюся в паспорте. Владелец паспорта может даже пожелать держать в тайне само наличие у него паспорта. Последнее пожелание может также относиться к таким идентификационным документам, как членские билеты различных организаций, если желательно хранить это членство в тайне. И, наконец, если система, описанная выше, применяется для носителя данных в виде банковской карты, это может означать, что некто с портативным терминалом может относительно легко украсть деньги прямо со счета, связанного с банковской картой.
В патенте США 5484997 описана система, в которой носитель данных в виде идентификационной карты осуществляет беспроводной обмен данными с терминалом. Идентификационный документ активизируется для автоматической передачи хранящихся на нем данных, когда облучаются фотоэлементы на идентификационной карте. Если идентификационный документ не защищен, например, находится в кошельке или сумке, когда его не планируют использовать, он может нежелательным образом передавать данные находящимся недалеко терминалам. Кроме того, необходимо обеспечить достаточное облучение при использовании такого носителя данных, чтобы он мог работать. Поэтому существует риск, что такой носитель данных будет невозможно использовать, если он не расположен определенным образом относительно источника излучения, или если его пользователь случайно закроет фотоэлементы пальцами. И, наконец, изготовить прочный и практичный носитель данных описанного выше типа достаточно сложно.
Краткое изложение сущности изобретения
В основу настоящего изобретения положена задача полностью или частично решить проблемы, связанные с известными аналогами.
Эту задачу решают портативный носитель данных, способ и носитель информации с командами для передачи данных посредством портативного носителя данных, внешнее устройство, способ и носитель информации с командами для передачи данных посредством внешнего устройства, а также система и способ для передачи данных, охарактеризованные в независимых пунктах формулы изобретения. В зависимых пунктах формулы изобретения охарактеризованы варианты осуществления изобретения.
Основная цель настоящего изобретения состоит в том, чтобы предотвратить считывание секретных данных, хранящихся в портативном носителе данных, без знания и согласия носителя. Другая цель настоящего изобретения состоит в том, чтобы предотвратить считывание секретных данных, хранящихся на портативном носителе данных, без знания и согласия его законного владельца. И, наконец, цель настоящего изобретения, помимо прочего, состоит в том, чтобы предотвратить считывание секретных данных, хранящихся на портативном носителе данных, без проверки в отношении того, является ли лицо, несущее данный портативный носитель данных, его законным владельцем, и согласно ли это лицо на считывание.
Более конкретно, согласно первому аспекту изобретения предложен портативный носитель данных, содержащий память носителя для хранения данных, содержащих биометрический шаблон и специализированную функцию, а также коммуникационное средство носителя для бесконтактного приема и передачи данных. Портативный носитель данных характеризуется тем, что он дополнительно содержит процессорное средство носителя для сравнения биометрического шаблона с биометрическим образцом, полученным из внешнего устройства, и тем, что он выполнен с возможностью осуществления процесса квитирования с внешним устройством, а также выполнения специализированной функции и передачи ее результата внешнему устройству только в том случае, если биометрический образец совпадает с биометрическим шаблоном.
Под “носителем данных” подразумевается целый ряд различных устройств, как пассивных, так и активных, таких как смарт-карты, электронные паспорта, электронные визы и билеты, радиочастотные (РЧ) бирки, мобильные телефоны, карманные компьютеры и т.д. Термин “пассивный носитель данных” относится к носителю данных, который не имеет собственного источника питания и поэтому может работать только от внешнего источника питания. Термин “активный носитель данных” относится, напротив, к носителю данных, имеющему собственный источник питания. Выбор между пассивным и активным носителем данных зависит от области применения носителя данных. Термины “биометрический шаблон” и “биометрический образец” относятся к специфическим для конкретного человека данным, т.е. данным, которые являются уникальными для каждого человека. Примерами таких данных могут быть характеристика отпечатка пальца, формы кисти руки, радужной оболочки глаза или лица человека, голоса или ДНК. Под “шаблоном” подразумеваются эталонные данные, хранящиеся на носителе данных и обычно не изменяющиеся после их первоначальной регистрации. Под “образцом” подразумеваются данные, которые должен предоставлять человек каждый раз, когда он желает использовать портативный носитель данных.
Тот факт, что портативный носитель данных содержит коммуникационное средство носителя для бесконтактной передачи данных, означает, что исключены проблемы контакта, связанные с известными аналогами, например проблемы разрушения или износа поверхностей контакта. Бесконтактная передача также означает, что нет необходимости размещения портативного носителя данных в прямой связи с внешним устройством для того, чтобы между ними осуществился обмен данными. Теоретически, пользователь не должен даже извлекать свой носитель данных, например, из кармана или сумки для осуществления связи с внешним устройством. Это может быть удобно в том случае, когда пользователь несет в руках другие предметы, например билеты на самолет или чемоданы. Это также удобно потому, что пользователю не нужно искать носитель данных, например, в сумке и отсутствует риск его потери.
Тот факт, что портативный носитель данных содержит процессорное средство носителя для сравнения биометрического шаблона с биометрическим образцом, который получен из внешнего устройства, означает, что биометрический шаблон не должен покидать носитель данных при этом биометрическом сравнении, что имеет положительное значение с точки зрения безопасности.
Тот факт, что портативный носитель данных выполнен с возможностью выполнения специализированной функции и передачи ее результата во внешнее устройство только в том случае, если биометрический образец совпадает с биометрическим шаблоном, означает, что любая секретная информация защищена от окружающего мира до тех пор, пока не будет подтверждено, что человек, несущий портативный носитель данных, действительно является его законным владельцем.
Под “совпадением” в данном контексте подразумевается, что биометрический образец в достаточной степени соответствует биометрическому шаблону, чтобы признать человека, несущего этот портативный носитель данных, его законным владельцем.
Термин “специализированная функция” относится к набору команд, в соответствии с которым организуется работа носителя данных при определенных обстоятельствах. Состав этих команд зависит от области применения, в которой предполагается использовать данный портативный носитель данных.
Специализированная функция в носителе данных может содержать команду на извлечение из памяти носителя хранящейся в ней специализированной информации, чтобы результат, передаваемый во внешнее устройство, содержал эту специализированную информацию. Состав специализированной информации зависит от области применения, в которой предполагается использовать портативный носитель данных. Например, это может быть информация, которая хранится на действительном носителе данных в форме файлов данных, “ключ”, который позволяет использовать носитель данных, например, для открывания двери в помещение и предоставления пользователю доступа к информации, тип которой отличается от того, который может храниться на действительном носителе данных, или различные виды так называемых цифровых сертификатов. Если носитель данных предназначен, например, для использования в качестве электронного паспорта, то специализированная информация может содержать такую информацию, которая может содержаться в обычных паспортах, например информацию, идентифицирующую держателя электронного паспорта.
Специализированная функция в носителе данных может также или альтернативно содержать команду на выполнение программного кода, который хранится в памяти носителя. Выполнение этого программного кода позволяет обеспечить носителю данных различные функции, например, такие как шифрование, подпись, верификация, оценка и т.п. Если носитель данных является мобильным телефоном с функцией банковской карты, то выполнение программного кода может позволить подписывать денежные операции, и эта подпись будет включена в результат, передаваемый во внешнее устройство.
Портативный носитель данных может быть выполнен с возможностью реализации специализированной функции и передачи ее результата внешнему устройству в ответ на запрос, полученный из внешнего устройства. Такой запрос может означать, что внешнее устройство запрашивает портативный носитель данных передать информацию или выполнить эту функцию на основании определенных параметров.
Биометрический шаблон может соответствовать цифровому образу, т.е. записи в цифровой форме, содержащей специфическую для конкретного человека информацию, как было указано выше. Преимущество использования цифровых представлений состоит в том, что их можно легко и быстро записывать и обрабатывать различными способами.
Биометрический шаблон может определять, по меньшей мере, ту часть отпечатка пальца, которая предпочтительно имеет особенно значимое информационное содержание, соответствующее, например характерным точкам пересечения линий отпечатка пальца. Преимущество использования отпечатков пальца для биометрической идентификации, помимо прочего, состоит в том, что отпечаток пальца одного и того же человека при нормальных условиях остается неизменным. Кроме того, отпечатки пальца можно легко регистрировать обычными сенсорами.
Биометрический шаблон может соответствовать эталонным данным какой-либо характеристики, описывающим, например, наиболее отличительные характеристики отпечатка пальца владельца портативного носителя данных. В этом варианте можно использовать меньший объем информации для сравнения, чтобы установить факт биометрического совпадения, чем в том случае, когда биометрический шаблон соответствует целому отпечатку пальца.
Биометрический шаблон может также соответствовать комбинации приведенных альтернатив, например комбинации образа по меньшей мере части отпечатка пальца и эталонных данных какой-либо характеристики отпечатка пальца.
Портативный носитель данных можно выполнить с возможностью хранения в памяти носителя пороговой величины, которая определяет, в какой степени биометрический образец должен соответствовать биометрическому шаблону для признания их совпадения. В этом случае носитель данных выполняют с возможностью определения упомянутым процессорным средством носителя величины совпадения между биометрическим образцом и биометрическим шаблоном, а затем сравнения этой величины с пороговым значением. Если величина совпадения превосходит пороговое значение, то согласно этому определению совпадение признается существующим и наоборот. Пороговую величину можно выбирать и корректировать в соответствии с областью применения, в которой предполагается использовать данный портативный носитель данных. Если носитель данных является, например, электронным паспортом, то можно выбрать более высокую пороговую величину, чем в том случае, когда носитель данных является более простой “картой-ключом”, которую можно использовать, например, для получения согласия или отказа на физический доступ в помещение.
Портативный носитель данных может быть электронным паспортом, предназначенным для замены обычного паспорта. В одном варианте изобретения такой электронный паспорт может представлять собой обычный паспорт, снабженный компьютерным чипом, который способен хранить, передавать и обрабатывать данные. Такой вариант осуществления подразумевает, что нет необходимости отказываться от обычных паспортов, а можно адаптировать их к новой технологии, снабдив описанным выше чипом. Электронный паспорт согласно настоящему изобретению можно, конечно, реализовать в различных других формах, не выходя за рамки объема изобретения, определяемого приложенной формулой изобретения.
Электронный паспорт согласно настоящему изобретению позволяет облегчить проверку паспортов и повысить ее надежность. Вместо ручной проверки паспорта, при которой чиновник паспортного контроля сравнивает человека, предъявившего паспорт, с человеком, изображенным в паспорте, что может быть затруднительно, требует времени и подвержено ошибкам, надо всего лишь зарегистрировать биометрический образец, чтобы получить ответ, действительно ли этот человек является тем, за кого он себя выдает.
Как отмечалось выше, биометрический шаблон не должен покидать портативный носитель данных, чтобы можно было выполнить сравнение с биометрическим образцом. Портативный носитель данных можно выполнить с возможностью полного исключения внешнего доступа к биометрическому шаблону.
Портативный носитель данных можно выполнить с возможностью осуществления обмена данными с внешним устройством только в течение заранее заданного времени после того, как был признан факт совпадения. После истечения этого заранее заданного времени носитель данных прерывает связь с внешним устройством. Данное заранее заданное время предпочтительно имеет точно такую продолжительность, которая позволяет передать результат выполнения специализированной функции. Такое автоматическое прерывание линии связи между внешним устройством и носителем данных улучшает защиту от несанкционированного считывания секретной информации с носителя данных.
Портативный носитель данных согласно настоящему изобретению можно выполнить с возможностью передачи сигнала присутствия в ответ на сигнал поиска, принятый от внешнего устройства, для подтверждения своего присутствия в пределах дальности связи внешнего устройства. Преимущества такого варианта осуществления будут обсуждаться ниже в связи с внешним устройством согласно настоящему изобретению.
Портативный носитель данных можно также выполнить с возможностью предотвращения любой передачи данных из него до тех пор, пока не будет признан факт совпадения. Преимущество этого варианта осуществления заключается в том, что человек не раскрывает своего владения портативным носителем данных против своей воли. Человек должен активно выразить согласие на обнаружение своего владения портативным носителем данных, предоставив биометрический образец. Затем биометрический образец передается всем портативным носителям данных согласно настоящему изобретению, которые находятся в пределах дальности связи внешнего устройства, которому был предоставлен образец. При этом только один портативный носитель данных, содержащий совпавший биометрический шаблон, может обнаружить свое присутствие.
Согласно второму аспекту изобретения предложен способ передачи данных посредством портативного носителя данных, который содержит память носителя для хранения данных, содержащих биометрический шаблон и специализированную функцию, а также коммуникационное средство носителя для бесконтактного приема и передачи данных. Предложенный способ характеризуется тем, что дополнительно принимают биометрический образец из внешнего устройства, сравнивают посредством процессорного средства носителя в носителе данных биометрический образец с биометрическим шаблоном и осуществляют процесс квитирования с внешним устройством, а также выполняют специализированную функцию и передают результат внешнему устройству только в том случае, если биометрический образец совпадает с биометрическим шаблоном.
Согласно третьему аспекту настоящего изобретения предложен носитель информации, содержащей компьютерную программу с командами, обеспечивающими при их исполнении осуществление описанного выше способа.
Признаки, которые были раскрыты выше в связи с портативным носителем данных, конечно, также распространяются на способ и носитель информации согласно второму и третьему аспектам изобретения соответственно. Кроме того, эти признаки можно объединить в одном варианте осуществления.
Согласно четвертому аспекту настоящего изобретения предложено внешнее устройство, содержащее коммуникационное средство устройства для бесконтактного приема и передачи данных и сенсор для регистрации биометрического образца. Внешнее устройство характеризуется тем, что оно выполнено с возможностью передачи биометрического образца портативному носителю данных и осуществления процесса квитирования с портативным носителем данных, а также приема от портативного носителя данных результата специализированной функции, выполняемой в портативном носителе данных, только в том случае, если биометрический образец совпадает с биометрическим шаблоном, хранящимся в портативном носителе данных.
Внешнее устройство может быть выполнено с возможностью приема, в качестве упомянутого результата, специализированной информации, хранящейся в носителе данных.
Внешнее устройство может быть выполнено с возможностью приема упомянутого результата, в ответ на запрос, переданный в портативный носитель данных.
Если биометрический шаблон в памяти носителя соответствует цифровому образу, содержащему специфическую для человека информацию, то это должно относиться также и к биометрическому образцу.
Если биометрический шаблон в памяти носителя характеризует по меньшей мере часть отпечатка пальца, то это должно относиться также и к биометрическому образцу.
Если биометрический шаблон соответствует эталонным данным какой-либо характеристики, то биометрический образец должен соответствовать данным этой характеристики.
Если биометрический шаблон соответствует какой-то комбинации, то биометрический образец должен соответствовать соответствующей комбинации приведенных выше альтернатив.
Внешнее устройство может быть выполнено с возможностью передачи сигнала поиска и приема в ответ на сигнал поиска сигнала присутствия от портативного носителя данных для обнаружения его присутствия в пределах дальности связи внешнего устройства. В этом варианте внешнее устройство может быть активировано для осуществления регистрации посредством приема сигнала присутствия; преимущество, обеспечиваемое этим вариантом осуществления, состоит в том, что биометрический образец нельзя регистрировать или передавать без основания, т.е., если в пределах дальности связи внешнего устройства нет ни одного портативного носителя данных, который может принять биометрический образец, этим обеспечивается сбережение энергии. В альтернативном варианте внешнее устройство постоянно находится в активном состоянии.
Внешнее устройство можно выполнить с возможностью передачи биометрического образца согласно заранее заданному расписанию до тех пор, пока не будет признан факт совпадения. В этом варианте осуществления биометрический образец можно передавать после того, как он был зарегистрирован, всем портативным носителям данных согласно настоящему изобретению, которые находятся в пределах дальности связи внешнего устройства. Внешнее устройство в этом случае может совершенно не знать о наличии каких-либо портативных носителей данных до тех пор, пока не будет выполнено биометрическое сравнение в портативном носителе данных, содержащем совпадающий биометрический шаблон. Приведенное выше расписание передачи биометрического образца можно корректировать в зависимости от обстоятельств, т.е. области применения, в которой предполагается использование внешнего устройства. Расписание передачи может подразумевать, например, что биометрический образец передается через заранее определенные интервалы времени.
Тот факт, что внешнее устройство выполнено согласно приведенным выше вариантам осуществления, означает, что оно может удовлетворительно работать с различными вариантами осуществления портативного носителя данных согласно первому аспекту изобретения, обеспечивая при этом описанные выше преимущества.
Согласно пятому аспекту настоящего изобретения предложен способ передачи данных посредством внешнего устройства, содержащего коммуникационное средство устройства для бесконтактного приема и передачи данных и сенсор, заключающийся в том, что регистрируют биометрический образец посредством сенсора. Предложенный способ характеризуется тем, что дополнительно передают биометрический образец портативному носителю данных и осуществляют процесс квитирования с портативным носителем данных, а также принимают от портативного носителя данных результат специализированной функции, выполняемой в портативном носителе данных, только в том случае, если биометрический образец совпадает с биометрическим шаблоном, хранимым в портативном носителе данных.
Согласно шестому аспекту настоящего изобретения предложен носитель информации, содержащий компьютерную программу с командами, обеспечивающими при их исполнении реализацию способа согласно пятому аспекту изобретения.
Признаки, раскрытые выше в связи с внешним устройством, конечно, распространяются также на способ и память согласно пятому и шестому аспектам изобретения соответственно. Также понятно, что эти признаки можно объединить в одном варианте осуществления.
Согласно седьмому аспекту изобретения предложена система для передачи данных, содержащая портативный носитель данных согласно первому аспекту изобретения и внешнее устройство согласно четвертому аспекту изобретения.
Согласно восьмому аспекту изобретения предложен способ передачи данных, сочетающий в себе способ согласно второму аспекту изобретения и способ согласно пятому аспекту изобретения.
Как отмечалось выше, предложенные способы можно реализовать в виде компьютерных программ, которые хранятся в памяти и исполняются в процессорном средстве или внешнем устройстве. Альтернативно, эти способы можно полностью или частично реализовать в виде интегральных схем специального назначения, таких как специализированные интегральные схемы (ASIС), или в виде цифровых или аналоговых схем, или в виде их подходящей комбинации.
Признаки, обсуждавшиеся выше в связи с портативным носителем данных и внешним устройством, и также с соответствующими способами для передачи ими данных можно, конечно, распространить на систему и способ, соответственно, согласно седьмому и восьмому аспектам изобретения.
Определения терминов, приведенные выше в связи с описанием первого, второго и третьего аспекта изобретения, применимы также к четвертому, пятому, шестому, седьмому и восьмому аспектам настоящего изобретения.
Перечень чертежей
В дальнейшем изобретение будет описано более подробно со ссылками на прилагаемые схематические чертежи, иллюстрирующие примерные варианты осуществления изобретения.
Фиг.1 – иллюстрация портативного носителя данных согласно варианту осуществления настоящего изобретения;
фиг.2 – иллюстрация внешнего устройства согласно варианту осуществления настоящего изобретения;
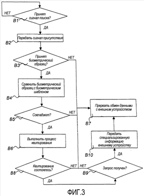
фиг.3 – блок-схема последовательности операций способа передачи данных посредством портативного носителя данных согласно настоящему изобретению;
фиг.4 – блок-схема последовательности операций способа передачи данных посредством внешнего устройства согласно настоящему изобретению.
Описание предпочтительных вариантов осуществления изобретения
На фиг.1 схематически показан портативный носитель 10 данных в виде электронного паспорта согласно изобретению. На фиг.2 схематически показано внешнее устройство 20 согласно настоящему изобретению. Портативный носитель 10 данных и внешнее устройство 20 входят в состав системы, в которой они обмениваются данными друг с другом бесконтактным способом согласно известным протоколам РЧ связи, например ISO 14443. Для этого они содержат коммуникационное средство 11 носителя и коммуникационное средство 21 устройства соответственно.
Портативный носитель 10 данных, функция которого частично напоминает функцию стандартной смарт-карты, например карты Java или MULTOS, содержит память 12 носителя для хранения данных, содержащих биометрический шаблон 13, специализированную информацию 14 и специализированную функцию 15. Регистрацию и хранение биометрического шаблона 13 можно реализовать каким-либо известным методом, например, как описано в патентных публикациях WO01/11577, WO01/84494, WO01/06445 и WO03/003286, принадлежащих заявителю и упоминаемых для сведения. В данном варианте осуществления биометрический шаблон 13 соответствует данным отпечатка пальца законного владельца данного электронного паспорта. Согласно определению состав специализированной информации 14 зависит от контекста, в котором предполагается использовать данный портативный носитель данных. В данном варианте осуществления, в котором портативный носитель данных является электронным паспортом, специализированная информация содержит данные, описывающие владельца данного портативного носителя данных, т.е. данные, которые содержатся в традиционных паспортах, например данные, указывающие возраст и национальность владельца, а также информацию об организации, выдавшей паспорт. Специализированная функция 15 содержит набор команд, в соответствии с которым портативный носитель данных может работать при определенных обстоятельствах. Согласно определению состав этих команд зависит от контекста, в котором предполагается использовать портативный носитель данных. В данном варианте осуществления специализированная функция содержит команду, извлечь специализированную информацию 14 из носителя данных и передать ее внешнему устройству. Это может быть выполнено только при условии, что был признан факт биометрического совпадения, осуществлено квитирование с внешним устройством 20 и получен запрос на передачу информации от внешнего устройства, как будет более подробно поясняться ниже со ссылками на описание фиг.3 и 4.
И наконец, портативный носитель 10 данных содержит процессорное средство 16 носителя в виде процессора, использующего программы, хранящиеся в памяти 12 носителя, для обработки данных в портативном носителе данных. Процессор реализует, например, упомянутые выше определение биометрического совпадения, квитирование и специализированную функцию.
Внешнее устройство 20, которое в данном варианте осуществления является внешним устройством, предназначенным для обмена данными с электронным паспортом, т.е. для электронной проверки паспортов, содержит память 22 устройства для хранения данных, содержащих биометрический образец 23. Регистрацию и хранение биометрического образца можно осуществлять каким-либо известным методом, например одним из способов, описанных в упомянутых выше патентных публикациях, принадлежащих заявителю. Так как биометрический шаблон 13 в данном варианте осуществления соответствует данным отпечатка пальца законного держателя электронного паспорта 10, биометрический образец 23 соответствует данным отпечатка пальца человека, предъявляющего данный электронный паспорт, который не обязательно может быть его законным держателем.
Внешнее устройство 20 дополнительно содержит сенсор 25, выполненный с возможностью регистрации биометрического образца 23 перед его сохранением в памяти 22 устройства. В данном варианте осуществления сенсор 25 представляет собой емкостной датчик, который регистрирует отпечатки пальцев. Однако в связи с настоящим изобретением можно также использовать другие известные датчики, такие как термодатчики или оптические датчики. И, наконец, внешнее устройство 20 содержит процессорное средство 26 устройства в виде процессора, использующего программное обеспечение, которое хранится в памяти 22 устройства, для обработки данных во внешнем устройстве. Процессор выполняет, например, квитирование с портативным носителем 10 данных, которое будет более подробно описано ниже в связи с описанием фиг.3 и 4. Обмен данными между различными узлами, входящими в состав носителя данных и внешнего устройства, соответственно, реализуется через информационную шину (не показана).
На фиг.3 и 4 проиллюстрирован способ передачи данных в системе, состоящей из портативного носителя 10 данных согласно фиг.1 и внешнего устройства 20 согласно фиг.2. На фиг.3 проиллюстрирован способ (этапы В1-В10), который выполняется в портативном носителе данных, т.е. в электронном паспорте, при передаче данных, а на фиг.4 показан способ (этапы U1-U10), который выполняется во внешнем устройстве при передаче данных.
В данном варианте осуществления способ передачи данных в описанной выше системе используется для бесконтактной проверки паспортов. Человек, электронный паспорт 10 которого должен быть проверен, подходит к пункту паспортного контроля, на котором установлено внешнее устройство 20. Сначала внешнее устройство 20 передает беспроводным способом посредством коммуникационного средства 21 устройства сигнал поиска (U1), чтобы обнаружить присутствие портативного носителя данных в пределах расстояния, которое определяет дальность связи внешнего устройства. Когда этот человек и его электронный паспорт 10 попадает в пределы дальности связи внешнего устройства, этим самым активируется электронный паспорт согласно известному способу с помощью антенны, предусмотренной в электронном паспорте (не показана), для приема поискового сигнала, передаваемого внешним устройством. После активации электронный паспорт проверяет (В1), принят ли поисковый сигнал. Если поисковый сигнал принят от внешнего устройства, то электронный паспорт 10 передает посредством коммуникационного средства 11 носителя сигнал присутствия (В2), чтобы подтвердить свое присутствие в пределах дальности связи внешнего устройства. Если сигнал не принят, проверка повторяется (В1). Повторение производится до тех пор, пока электронный паспорт находится в пределах дальности связи внешнего устройства. Когда электронный паспорт выходит за пределы дальности связи, он деактивируется и “замирает”. После того как внешнее устройство передало поисковый сигнал (U1), оно проверяет (U2), был ли принят сигнал присутствия в течение заранее заданного времени поиска после передачи поискового сигнала. Если в течение этого заранее заданного времени поиска сигнал присутствия не был принят, внешнее устройство передает новый сигнал поиска. Однако если сигнал присутствия принят в течение заранее заданного времени поиска, это означает, что рядом находится по меньшей мере один портативный носитель данных, который, возможно, является электронным паспортом.
На следующем этапе, если было установлено присутствие портативного носителя данных, внешнее устройство 20 активируется для осуществления регистрации, и упомянутый выше человек может приблизить свой палец к сенсору 25 для регистрации биометрического образца одним из известных способов, упомянутых выше (U3). После того как внешнее устройство запишет биометрический образец, оно передает его беспроводным способом посредством коммуникационного средства 21 устройства электронному паспорту (U4). В это же время электронный паспорт проверяет, был ли принят биометрический образец (В3) в течение заранее заданного времени приема после передачи сигнала присутствия. Конечно, это происходит только в том случае, если электронный паспорт все еще находится в пределах дальности связи внешнего устройства. Если в течение заранее заданного интервала приема не будет принят биометрический образец, то связь с внешним устройством прерывается (В7). В противном случае электронный паспорт 10 сравнивает посредством процессорного средства 16 носителя принятый биометрический образец с хранящимся биометрическим шаблоном (В4), чтобы установить, совпадают ли они, т.е. проверить, является ли источником биометрического образца и биометрического шаблона один и тот же человек. При этом сравнении вычисляется величина корреляции между биометрическим образцом и биометрическим шаблоном, а затем эта величина корреляции взвешивается относительно заранее заданной пороговой величины, хранящейся в памяти 12 носителя. Если величина корреляции превышает пороговую величину, то признается факт совпадения. В противном случае устанавливается отсутствие совпадения.
Если проверка на совпадение (В5) дала положительный ответ, то передается сообщение о совпадении из электронного паспорта внешнему устройству. Если же проверка на совпадение дала отрицательный ответ, обмен данными с внешним устройством прерывается (В7). В течение заранее заданного времени совпадения после передачи биометрического образца внешнее устройство проверяет, принято ли сообщение о совпадении (U). Если сообщение о совпадении принято, то выполняется известный процесс квитирования (В6, U6) между электронным паспортом 10 и внешним устройством 20. Однако если в течение заранее заданного времени не было принято сообщение о совпадении, обмен данными между электронным паспортом и внешним устройством прерывается.
В данном варианте осуществления выполняется трехэтапный процесс квитирования согласно известному способу, например способу “взаимной аутентификации между двумя сторонами”, который описан в “Philips Mifare”, ISO/IEC 9798-2. В данном варианте осуществления прием сообщения о совпадении, т.е. положительного ответа в проверке (U5) на стороне устройства, означает, что электронный паспорт в течение заранее заданного времени совпадения после передачи биометрического образца инициирует процесс квитирования. При инициировании квитирования электронным паспортом внешнее устройство будет информировано о наличии совпадения. В альтернативном варианте осуществления процесс квитирования может быть инициирован внешним устройством. В этом случае сообщение о совпадении приводит не к инициированию квитирования, а только к передаче сигнала, указывающего о факте совпадения.
Выполнение процесса квитирования (В6) означает, что электронный паспорт проверяет, является ли внешнее устройство правильным “типом”, т.е. тем “типом”, с которым электронный паспорт может “полностью” обмениваться данными. Выполнение процесса квитирования (U6) также означает, что внешнее устройство проверяет, является ли портативный носитель данных правильным “типом”, т.е. тем типом, с которым оно может “полностью” обмениваться данными. Правильным типом внешнего устройства для электронного паспорта является внешнее устройство, предназначенное для проверки паспортов, и наоборот.
Успешный результат процесса квитирования (В6, U6) означает, что две проверки факта того, состоялось ли квитирование (В8, U8), дали положительные ответы. Отрицательный результат этого процесса квитирования (В6, U6) означает, что по меньшей мере одна из двух проверок того, состоялось ли квитирование (В8, U8), дала отрицательный ответ. В данном варианте осуществления, когда электронный паспорт инициирует трехэтапный процесс квитирования, ответ проверки квитирования в электронном паспорте (В8) должен быть положительным для того, чтобы проверка квитирования во внешнем устройстве (U8) дала положительный ответ. Такой положительный ответ означает, что электронному паспорту и внешнему устройству разрешается полностью обмениваться данными друг с другом. Затем внешнее устройство передает запрос (U9) относительно передачи специализированной информации электронному паспорту. В это же время электронный паспорт проверяет, получен ли такой запрос (В9) от внешнего устройства в течение заранее заданного времени для запроса после выполнения процесса квитирования. Если этого не произошло, то обмен данными с внешним устройством прерывается (В7). Если же запрос был получен в течение времени для запроса, то требуемая специализированная информация передается из электронного паспорта внешнему устройству (В10, U10), прежде чем будет прервана связь (В7, U7). В данном варианте осуществления отрицательный ответ проверки квитирования во внешнем устройстве (U8) может означать как положительный, так и отрицательный ответ проверки квитирования в электронном паспорте (В8). В любом случае, это означает, что электронный паспорт и внешнее устройство не могут полностью обмениваться данными друг с другом, и обмен данными между ними прерывается.
После завершения передачи специализированной информации из электронного паспорта во внешнее устройство чиновник паспортного контроля может посмотреть эту специализированную информацию на дисплее, например на мониторе компьютера (не показан). В данном контексте он может также записать новые данные с помощью устройства ввода (не показано) в память электронного паспорта, например данные, указывающие, что владелец данного паспорта посетил страну, дату прибытия и дату убытия, т.е. те данные, которые штампуются в традиционных паспортах.
Для упрощения описания представленного выше варианта обсуждался всего один портативный носитель данных в связи с внешним устройством. Однако этот упрощенный вариант, вероятно, отражает реальную ситуацию применения изобретения, так как дальность связи внешних устройств, предназначенных для проверки паспортов, ограничена и составляет 10-15 см. Из-за такой малой дальности связи обмен данными между внешним устройством и множеством портативных носителей данных одновременно будет маловероятным, так как при этом держатели портативных носителей данных вынуждены бы были тесниться перед внешним устройством. Дальность связи описанного выше внешнего устройства можно увеличить, повысив мощность передачи коммуникационного средства. Однако это бы означало, что уровень облучения от внешнего устройства может превысить предельную величину. В любом случае в данном варианте осуществления реализуется функция предупреждения конфликтов, чтобы внешнее устройство могло осуществлять проверку, с каким портативным носителем данных оно обменивается данными, если в пределах дальности связи внешнего устройства находится множество портативных носителей данных. Более того, сигналы и информация, передаваемые в данном варианте, шифруются. Конечно, возможны альтернативные варианты, в которых шифрование не используется.
Для ясности следует отметить, что операции предложенного способа передачи данных между внешним устройством и портативным носителем данных могут выполняться только в том случае, когда портативный носитель данных находится в пределах дальности связи внешнего устройства. Если в описанном выше варианте осуществления электронный паспорт выходит за пределы дальности связи внешнего устройства, то способ должен быть выполнен еще раз с самого начала, если и когда этот электронный паспорт снова войдет в пределы дальности связи. Следовательно, все этапы способа, осуществляемого системой, можно выполнить только в том случае, если электронный паспорт находится в пределах дальности связи непрерывно в течение времени, достаточно продолжительного для выполнения всех этапов этого способа.
Предложенные способ и конструкции портативного носителя данных и внешнего устройства означают, что проверка, показывающая, что человек, использующий портативный носитель данных, действительно является его законным держателем, должна выполняться до того, как внешнее устройство сможет узнать даже тип этого носителя данных. Такая проверка держателя требует, как было описано выше, согласия и взаимодействия пользователя, что предотвращает несанкционированное считывание данных из портативного носителя данных. Кроме того, считывание персональной и возможно деликатной информации не разрешается без предварительного согласования, даже если проверка держателя дала положительный результат. Также “проверка квитирования” необходима для того, чтобы верифицировать, что внешнее устройство и портативный носитель данных предназначены для “полного” обмена данными друг с другом, до того, как внешнее устройство сможет получить доступ к информации в портативном носителе данных. И, наконец, все описанное выше означает, что биометрический шаблон, хранящийся в портативном носителе данных, не должен покидать память носителя, так как сравнение с биометрическим образцом происходит в портативном носителе данных. Более конкретно, портативный носитель данных в этом варианте осуществления выполнен с возможностью исключения доступа к биометрическому шаблону, что предотвращает его считывание внешним устройством.
Портативный носитель данных в описанном выше варианте осуществления является пассивным носителем данных в виде электронного паспорта. В альтернативном варианте портативный носитель данных является активным носителем данных в виде мобильного телефона или карманного компьютера с функцией банковской карты. Конструкция активного носителя данных соответствует конструкции пассивного носителя данных, изображенного на фиг.1, за исключением того, что активный носитель данных также содержит источник питания для активации входящих в его состав компонентов. Активный носитель данных и внешнее устройство, подобное описанному со ссылкой на фиг.2, входят в состав системы, в которой они осуществляют обмен данными друг с другом согласно известной технологии, например, такой как Bluetooth. Подобно описанному выше варианту осуществления биометрический шаблон, хранящийся в активном носителе данных, соответствует данным отпечатка пальца законного владельца активного носителя данных. Специализированная функция, хранящаяся в активном носителе данных, содержит набор команд, в соответствии с которыми организуется работа активного носителя данных в ответ на запрос, полученный от внешнего устройства. В этом варианте осуществления специализированная функция содержит команды, пригодные для такого использования банковской карты, как верификация данных, полученных от внешнего устройства, и подпись денежной операции. Их можно реализовать при условии признания биометрического совпадения, выполнения квитирования с внешним устройством и получения запроса от внешнего устройства. Как и в описанном выше варианте осуществления, внешнее устройство может регистрировать посредством сенсора биометрический образец, соответствующий данным отпечатка пальца человека, предъявляющего активный носитель данных.
Когда пользователь осуществляет банковскую операцию с помощью своего активного носителя данных, выполняется способ, подобный описанному выше со ссылками на фиг.3 и 4. Пользователь подходит к внешнему устройству, в котором должна выполняться банковская операция, и между активным носителем данных и внешним устройством передаются сигнал поиска и сигнал присутствия. Пользователь приближает палец к сенсору для регистрации биометрического образца, который затем передается беспроводным методом активному носителю данных. Активный носитель данных сравнивает принятый биометрический образец с биометрическим шаблоном и устанавливает наличие совпадения между ними. Затем выполняется квитирование, при котором верифицируется, что активный носитель данных и внешнее устройство предназначены для “полного” обмена данными друг с другом. Затем внешнее устройство передает запрос в активный носитель данных для верификации определенных данных и ставит подпись под использованием, к которому относится банковская операция. Эта подпись будет результатом, который передается из активного носителя данных внешнему устройству до того, как будет прервана связь между ними. Таким образом совершается банковская операция.
В связи с вариантом осуществления с пассивным носителем данных также как и с вариантом осуществления с активным носителем данных, было описано, что линия связи с внешним устройством автоматически прерывается после того, как результат специализированной функции был передан из носителя данных. В случае с пассивным носителем данных и в варианте осуществления без такого автоматического прерывания линия связи прерывается в любом случае, когда пассивный носитель данных выходит за пределы дальности активации внешнего устройства, так как при этом работа пассивного носителя данных прекращается. Однако этого не происходит в аналогичном варианте осуществления с активным носителем данных, поскольку он имеет собственный источник питания. Для повышения защиты от несанкционированного считывания активный носитель данных можно выполнить с возможностью проверки через регулярные интервалы после начала передачи результата, истек ли заранее заданный интервал времени. Если проверка показывает, что заранее заданный интервал времени передачи истек, активный носитель данных прерывает связь с внешним устройством.
Хотя выше были описаны специальные варианты осуществления изобретения, специалистам в данной области техники будет понятно, что многие альтернативы, модификации и варианты возможны в свете приведенного описания. Примеры таких альтернатив будут обсуждаться ниже.
В приведенном выше варианте осуществления пассивного носителя данных предполагалось, что дальность связи внешнего устройства такая же, как дальность активации пассивного носителя данных. В другом варианте осуществления изобретения дальность для активации пассивного носителя данных не равна дальности связи. В еще одном варианте осуществления пассивный носитель данных не активируется посредством внешнего устройства. Вместо этого его активация происходит с помощью отдельных устройств, расположенных вблизи внешнего устройства. Такие отдельные активирующие устройства могут быть расположены, например, в различных стратегических местах пространства, в котором также находится внешнее устройство. В этом варианте осуществления пассивный носитель данных будет активироваться, как только его держатель войдет в данное пространство.
Согласно альтернативным вариантам осуществления, описанным выше, исключаются этапы передачи поискового сигнала, проверки приема поискового сигнала, передачи сигнала присутствия и проверки приема сигнала присутствия (U1, В1, В2, U2 в системном способе по фиг.3 и 4). Этот вариант означает, что внешнее устройство выполнено с возможностью регистрации биометрического образца и его передачи по заранее заданному расписанию, например через заранее заданные интервалы, до тех пор пока не будет установлено наличие портативного носителя данных. Кроме того, в этом варианте осуществления портативный носитель данных, не открывая своего присутствия в пределах дальности связи внешнего устройства, может принимать биометрический образец и сравнивать его с биометрическим шаблоном, хранящимся в памяти носителя. В этом случае портативный носитель способен предотвращать любую передачу данных из него до тех пор, пока не будет признан факт совпадения с биометрическим образцом. Этот вариант осуществления означает, что биометрический образец, зарегистрированный внешним устройством, передается всем портативным носителям данных, находящимся в пределах дальности связи внешнего устройства, но только тот портативный носитель данных, который имеет сохраненный биометрический шаблон, совпадающий с биометрическим образцом, открывает свое присутствие внешнему устройству. Этот вариант позволяет хранить в тайне само владение портативным носителем данных, если это пожелает владелец.
Описанный выше вариант осуществления предусматривает, что обмен данными между портативным носителем данных и внешним устройством прерывается и должен инициироваться снова, если носитель данных выйдет на некоторое время за пределы дальности связи. Согласно альтернативному варианту осуществления предусмотрена возможность восстановления связи, что означает, что обмен данными можно “восстановить” от “точки”, в которой она была прервана, если только носитель данных не покинет пределы дальности связи на период времени, превосходящий заранее определенный максимальный период.
В описанном выше варианте осуществления процесс квитирования между портативным носителем данных и внешним устройством выполняется после признания факта биометрического совпадения. Согласно альтернативным вариантам осуществления процесс квитирования можно выполнять и до биометрического совпадения.
В описанных выше вариантах осуществления портативный носитель данных выполнен с возможностью осуществления специализированной функции и передачи ее результата внешнему устройству при условии, что признан факт биометрического совпадения, осуществлено квитирование и принят запрос. Возможны альтернативные варианты осуществления, в которых должны быть удовлетворены другие условия для выполнения специализированной функции и передачи результата. В одном варианте осуществления, например, выполняется дополнительная проверка личности после признания факта биометрического соответствия путем сравнения в портативном носителе данных. Эта дополнительная обработка может выполняться либо в портативном носителе данных, либо во внешнем устройстве и может, например, содержать верификацию секретного кода или выполнение другой биометрической сверки.
Под объем настоящего изобретения подпадают все возможные альтернативы, модификации и варианты приведенных выше вариантов осуществления, которые охвачены прилагаемой формулой изобретения.
Формула изобретения
1. Портативный носитель (10) данных, содержащий память (12) носителя для хранения данных, содержащих биометрический шаблон (13), и набора команд (15), в соответствии с которым организуется работа портативного носителя данных для выполнения функции, зависящей от области применения, в которой используется портативный носитель данных, коммуникационное средство (11) носителя для бесконтактного приема и передачи данных и процессорное средство (16) носителя для сравнения биометрического шаблона с биометрическим образцом (23), принятым из внешнего устройства (20), отличающийся тем, что выполнен с возможностью осуществлять процесс квитирования с внешним устройством, а также выполнять упомянутую функцию и передавать ее результат, содержащий информацию (14), зависящую от упомянутой области применения, внешнему устройству только в том случае, если биометрический образец совпадает с биометрическим шаблоном.
2. Портативный носитель (10) данных по п.1, отличающийся тем, что информация (14), зависящая от упомянутой области применения, хранится в памяти (12) носителя, и упомянутая функция представляет собой извлечение данной информации из памяти (12) носителя.
3. Портативный носитель (10) данных по п.1 или 2, отличающийся тем, что упомянутая функция представляет собой исполнение программного кода, хранящегося в памяти (12) носителя.
4. Портативный носитель (10) данных по п.1 или 2, отличающийся тем, что выполнен с возможностью выполнять упомянутую функцию (15) и передавать ее результат внешнему устройству (20) в ответ на запрос, принятый от внешнего устройства.
5. Портативный носитель (10) данных по п.1 или 2, отличающийся тем, что биометрический шаблон (13) соответствует цифровому образу, содержащему специфическую для конкретного человека информацию.
6. Портативный носитель (10) данных по п.1 или 2, отличающийся тем, что биометрический шаблон (13) определяет по меньшей мере часть отпечатка пальца.
7. Портативный носитель (10) данных по п.1 или 2, отличающийся тем, что биометрический шаблон (13) соответствует эталонным данным какой-либо характеристики.
8. Портативный носитель (10) данных по п.1 или 2, отличающийся тем, что выполнен с возможностью хранения в памяти (12) носителя пороговой величины, определяющей, в какой степени биометрический образец (23) должен соответствовать биометрическому шаблону (13) для признания факта совпадения.
9. Портативный носитель (10) данных по п.1 или 2, отличающийся тем, что является смарт-картой.
10. Портативный носитель (10) данных по п.1 или 2, отличающийся тем, что является электронным паспортом.
11. Портативный носитель (10) данных по п.1 или 2, отличающийся тем, что является мобильным телефоном.
12. Портативный носитель (10) данных по п.1 или 2, отличающийся тем, что является персональным цифровым информационным устройством (PDA).
13. Портативный носитель (10) данных по п.1 или 2, отличающийся тем, что выполнен с возможностью предотвращения доступа внешнего устройства (20) к биометрическому шаблону (13).
14. Портативный носитель (10) данных по п.1 или 2, отличающийся тем, что выполнен с возможностью обмена данными с внешним устройством (20) только в течение заранее заданного времени после того, как был признан факт совпадения.
15. Портативный носитель (10) данных по п.1 или 2, отличающийся тем, что выполнен с возможностью передачи сигнала присутствия в ответ на сигнал поиска, принятый от внешнего устройства (20), для подтверждения его присутствия в пределах дальности связи внешнего устройства.
16. Портативный носитель (10) данных по п.1 или 2, отличающийся тем, что выполнен с возможностью предотвращения любой передачи данных из него до тех пор, пока не будет признан факт совпадения.
17. Способ передачи данных посредством портативного носителя (10) данных, содержащего процессорное средство, память (12) носителя для хранения данных, содержащих биометрический шаблон (13), и набора команд (15), в соответствии с которым организуется работа портативного носителя данных для выполнения функции, зависящей от области применения, а также коммуникационное средство (11) носителя для бесконтактного приема и передачи данных, содержащий этапы, на которых принимают биометрический образец (23) от внешнего устройства (20) (В3), сравнивают посредством процессорного средства (16) носителя в носителе данных биометрический образец с биометрическим шаблоном (В4), отличающийся тем, что осуществляют процесс квитирования с внешним устройством, а также выполняют упомянутую функцию и передают ее результат, содержащий информацию (14), зависящую от упомянутой области применения, внешнему устройству (В10) только в том случае, если биометрический образец совпадает с биометрическим шаблоном.
18. Способ по п.17, отличающийся тем, что информация (14), зависящая от упомянутой области применения, хранится в памяти (12) носителя, причем при выполнении упомянутой функции извлекают из памяти (12) носителя данную информацию (14).
19. Способ по п.17 или 18, отличающийся тем, что при выполнении упомянутой функции исполняют программный код, хранящийся в памяти (12) носителя.
20. Способ по п.17 или 18, отличающийся тем, что выполняют упомянутую функцию (15) и передают ее результат внешнему устройству (20) (В10) в ответ на запрос, полученный от внешнего устройства (В9).
21. Способ по п.17 или 18, отличающийся тем, что биометрический шаблон (13) соответствует цифровому образу, содержащему информацию, специфическую для конкретного человека.
22. Способ по п.17 или 18, отличающийся тем, что биометрический шаблон (13) определяет по меньшей мере часть отпечатка пальца.
23. Способ по п.17 или 18, отличающийся тем, что биометрический шаблон (13) соответствует эталонным данным какой-либо характеристики.
24. Способ по п.17 или 18, отличающийся тем, что дополнительно оценивают результат сравнения с пороговой величиной, хранящейся в носителе данных и определяющей, в какой степени биометрический образец должен соответствовать биометрическому шаблону для признания факта совпадения (В5).
25. Способ по п.17 или 18, отличающийся тем, что носитель данных (10) является смарт-картой.
26. Способ по п.17 или 18, отличающийся тем, что носитель данных (10) является электронным паспортом.
27. Способ по п.17 или 18, отличающийся тем, что носитель данных (10) является мобильным телефоном.
28. Способ по п.17 или 18, отличающийся тем, что носитель данных (10) является персональным цифровым информационным устройством (PDA).
29. Способ по п.17 или 18, отличающийся тем, что дополнительно предотвращают обмен данными с внешним устройством (20) по истечении заранее заданного времени после признания факта совпадения (В5).
30. Способ по п.17 или 18, отличающийся тем, что дополнительно принимают сигнал поиска от внешнего устройства (20) (В1), и в ответ на сигнал поиска передают сигнал присутствия (В2) для подтверждения его присутствия в пределах дальности связи внешнего устройства.
31. Способ по п.17 или 18, отличающийся тем, что дополнительно предотвращают любую передачу данных из портативного носителя (10) данных до тех пор, пока не будет признан факт совпадения (В5).
32. Носитель информации, содержащий компьютерную программу с командами, обеспечивающими при их исполнении осуществление способа по п.17.
33. Система для передачи данных, содержащая портативный носитель (10) данных и внешнее устройство (20), при этом внешнее устройство (20) содержит коммуникационное средство (21) устройства для бесконтактного приема и передачи данных и сенсор (25) для регистрации биометрического образца (23), причем внешнее устройство выполнено с возможностью передачи биометрического образца портативному носителю (10) данных, при этом портативный носитель (10) данных содержит память (12) носителя для хранения данных, содержащих биометрический шаблон (13), и набора команд (15), в соответствии с которым организуется работа портативного носителя данных для выполнения функции, зависящей от области применения, в которой используется этот портативный носитель данных, коммуникационное средство (11) носителя для бесконтактного приема и передачи данных и процессорное средство (16) носителя для сравнения биометрического шаблона с биометрическим образцом (23), принятым от внешнего устройства (20), отличающаяся тем, что портативный носитель данных и внешнее устройство выполнены с возможностью осуществления взаимного процесса квитирования, и портативный носитель данных выполнен с возможностью выполнения упомянутой функции и передачи ее результата, содержащего информацию (14), зависящую от упомянутой области применения, внешнему устройству, с тем, чтобы внешнее устройство приняло этот результат от портативного носителя данных только в том случае, если биометрический образец совпадает с биометрическим шаблоном.
34. Способ передачи данных между портативным носителем (10) данных, содержащим процессорное средство (16) носителя, память (12) носителя для хранения данных, содержащих биометрический шаблон (13), и набора команд (15), в соответствии с которым организуется работа портативного носителя данных для выполнения функции, зависящей от области применения, в которой используется этот портативный носитель, а также коммуникационное средство (11) носителя для бесконтактного приема и передачи данных, и внешним устройством (20), содержащим коммуникационное средство (21) устройства для бесконтактного приема и передачи данных и сенсор (25), содержащий этапы, на которых регистрируют биометрический образец (23) посредством сенсора (U3), передают из внешнего устройства биометрический образец портативному носителю (10) данных (U4), принимают в портативном носителе данных биометрический образец (23) из внешнего устройства (20) (В3), сравнивают посредством процессорного средства (16) носителя в носителе данных биометрический образец с биометрическим шаблоном (В4), отличающийся тем, что осуществляют процесс квитирования между портативным носителем данных и внешним устройством, выполняют в портативном носителе данных упомянутую функцию и передают ее результат, содержащий информацию (14), зависящую от упомянутой области применения, внешнему устройству (В10) с тем, чтобы данный результат был принят во внешнем устройстве от портативного носителя данных только в том случае, если биометрический образец совпадает с биометрическим шаблоном.
РИСУНКИ
|
|