|
|
(21), (22) Заявка: 2005130357/09, 29.09.2005
(24) Дата начала отсчета срока действия патента:
29.09.2005
(30) Конвенционный приоритет:
30.09.2004 US 10/955,361 19.11.2004 US 10/993,950
(43) Дата публикации заявки: 10.04.2007
(46) Опубликовано: 10.06.2010
(56) Список документов, цитированных в отчете о поиске:
ЕР 1182600 А2, 27.02.2002. US 2004068545 A1, 08.04.2004. Пол МакФедрис: Internet E-mail, Компьютер, ЮНИТИ 1996. US 2003163531 A1, 28.08.2003.
Адрес для переписки:
129090, Москва, ул. Б.Спасская, 25, стр.3, ООО “Юридическая фирма Городисский и Партнеры”, пат.пов. Ю.Д.Кузнецову, рег. 595
|
(72) Автор(ы):
ЙОЗЕЛЛ-ЭПШТЕЙН Ребека (US), ХАРТВЕЛЛ Аарон (US), САВАСТАНО Эрнан (US), ФИНКЕЛШТЕЙН Эрик С. (US)
(73) Патентообладатель(и):
МАЙКРОСОФТ КОРПОРЕЙШН (US)
|
(54) СПОСОБ И СЧИТЫВАЕМЫЙ КОМПЬЮТЕРОМ НОСИТЕЛЬ ДЛЯ НАВИГАЦИИ МЕЖДУ ВЛОЖЕНИЯМИ В СООБЩЕНИЯ ЭЛЕКТРОННОЙ ПОЧТЫ
(57) Реферат:
Изобретение относится к способу для навигации между вложениями в сообщения электронной почты. Техническим результатом является возможность пользователю быстро идентифицировать и выбирать вложение в сообщение электронной почты из любого количества вложений. Предусмотрены способ и считываемый компьютером носитель для навигации между вложениями в сообщении электронной почты. Согласно способу отображается список сообщений электронной почты, который включает в себя информацию заголовка, ассоциированную с каждым сообщением. Когда выбирается одно из сообщений в списке, выполняется определение, имеет ли выбранное сообщение вложения. Если выбранное сообщение имеет вложения, идентификатор отображается рядом с информацией заголовка для каждого вложения. Идентификатор указывает, что вложение ассоциируется с выбранным сообщением и может предоставлять другую информацию, такую как тип и размер вложения. Идентификаторы отображаются так, чтобы ясно указывать пользователю, что вложения ассоциируются с выбранным сообщением электронной почты. Идентификаторы могут быть выбраны для предварительного просмотра соответствующего вложения. 2 и 12 з.п. ф-лы, 8 ил.
Перекрестная ссылка на родственные заявки
Данная заявка на патент является частичным продолжением заявки на патент США 10/955 361 (дело поверенного 60001.0432US01), поданной 30 сентября 2004 г., которая специально включена в данное описание по ссылке. Данная заявка на патент также имеет отношение к заявке на патент США 10/954 328 (дело поверенного 60001.416US01), озаглавленной «Method, System, and Apparatus for Providing A Document Preview» (Способ, система и устройство предоставления предварительного просмотра документа), которая была подана 30 сентября 2004 г. и которая также специально включена в данное описание по ссылке.
Уровень техники изобретения
Пользователи программ клиентских приложений электронной почты («электронной почты») обычно разочаровываются количеством шагов, которые необходимо предпринять пользователю, чтобы просмотреть содержимое документа, который был вложен в сообщение электронной почты. Во многих случаях пользователь хочет выполнить только предварительный просмотр вложения. Предварительный просмотр представляет собой визуализацию только для чтения документа, которая воспроизводит то, что пользователь хотел бы посмотреть, если документ будет открыт программой приложения, ассоциированной с документом. Однако в обычном случае пользователю необходимо выбрать вложение и затем запустить программу приложения, ассоциированную с вложением для просмотра его содержимого.
Когда выполняется этот традиционный процесс просмотра содержимого вложения электронной почты, пользователю необходимо менять контексты приложения между клиентским приложением электронной почты и приложением, используемым для просмотра вложения. Когда пользователь закончит просмотр вложения, пользователю снова необходимо сменить контексты приложения закрытием программы приложения и возвращением в клиентское приложение электронной почты. Такая смена контекстов приложения для просмотра предварительного просмотра вложения электронной почты может быть как трудоемкой, так и разочаровывающей для пользователя.
Так как известные программы приложений не предусматривали механизм для того, чтобы дать возможность пользователям просматривать содержимое вложения электронной почты без смены контекстов приложения, эти программы приложений также не предусматривали удобный механизм для навигации по вложениям в сообщение электронной почты. В частности, эти программы приложений не предусматривали механизм пользовательского интерфейса, посредством которого пользователь может легко просматривать доступные вложения в сообщение электронной почты и выбирать одно из вложений для предварительного просмотра.
Именно в отношении этих и других соображений были выполнены различные варианты осуществления настоящего изобретения.
Сущность изобретения
В соответствии с вариантами осуществления настоящего изобретения вышеупомянутые и другие проблемы решаются посредством способа и считываемого компьютером носителя для навигации между вложениями в сообщения электронной почты. Различные варианты осуществления изобретения дают возможность пользователю быстро идентифицировать и выбирать вложение в сообщение электронной почты из любого количества вложений. Варианты осуществления изобретения также дают возможность пользователю быстро выполнять предварительный просмотр содержимого вложений электронной почты без смены контекстов приложения.
Согласно одному варианту осуществления изобретения предусмотрен способ навигации между вложениями в сообщения электронной почты. Согласно способу отображается список сообщений электронной почты, который включает в себя информацию заголовка, ассоциированную с каждым из сообщений. Например, список может включать в себя информацию заголовка, которая идентифицирует отправителя каждого сообщения электронной почты, тему для каждого сообщения электронной почты и время приема для каждого сообщения электронной почты. Также может отображаться другая информация. Когда выбирается одно из сообщений в списке, выполняется определение, имеет ли выбранное сообщение вложения. Если выбранное сообщение имеет вложения, идентификатор отображается рядом с информацией заголовка для каждого вложения. Идентификатор указывает, что вложение ассоциируется с выбранным сообщением и может предоставить другую информацию, такую как тип и размер вложения. Идентификаторы отображаются так, чтобы ясно указывать пользователю, что вложения ассоциируются с выбранным сообщением электронной почты.
Согласно другим вариантам осуществления изобретения может выбираться один из идентификаторов, соответствующих вложению. В ответ на такой выбор отменяется выбор выбранного сообщения электронной почты, и предварительный просмотр генерируется и отображается для вложения, соответствующего выбранному идентификатору. Если выбирается другой идентификатор, соответствующий другому вложению, предварительный просмотр тогда генерируется и отображается для этого вложения. Если выбираются другие сообщения электронной почты в списке, удаляются идентификаторы для первого выбранного сообщения электронной почты, и отображаются любые идентификаторы для вновь выбранного сообщения электронной почты.
Согласно другому варианту осуществления изобретения может приниматься выбор одного из сообщений электронной почты в списке. Запрос также может приниматься на открытие выбранного сообщения для просмотра. Это может происходить, например, при помощи двойного щелчка кнопкой мыши на сообщении электронной почты в списке. В ответ на такой запрос выбранное сообщение электронной почты открывается для просмотра, и отображается содержимое выбранного сообщения электронной почты. Пользовательский интерфейс также отображается для навигации между вложениями в отображаемое сообщение электронной почты. Пользовательский интерфейс включает в себя идентификатор для каждого вложения в выбранное сообщение и может отображаться рядом с отображением содержимого выбранного сообщения почты.
Согласно другим вариантам осуществления может приниматься выбор одного из идентификаторов в пользовательском интерфейсе для навигации между вложениями. В ответ на такой выбор генерируется предварительный просмотр для вложения, соответствующего выбранному идентификатору, и отображается предварительный просмотр. Предварительный просмотр может отображаться рядом с отображением содержимого выбранного сообщения почты. Таким образом пользователь легко может просматривать как содержимое выбранного сообщения электронной почты, так и предварительный просмотр выбранного вложения.
Изобретение может быть реализовано в виде компьютерного процесса, вычислительной системы или изделия, такого как продукт компьютерной программы или считываемые компьютером носители. Продуктом компьютерной программы могут быть носители данных компьютера, считываемые компьютерной системой и кодирующие компьютерную программу инструкций на исполнение компьютерного процесса. Продуктом компьютерной программы также может быть распространяемый сигнал на несущей частоте, считываемый вычислительной системой и кодирующий компьютерную программу инструкций на исполнение компьютерного процесса.
Эти и многочисленные другие отличительные признаки, а также преимущества, которые отличают настоящее изобретение, очевидны из чтения нижеследующего подробного описания и анализа связанных с ним чертежей.
Краткое описание нескольких видов чертежей
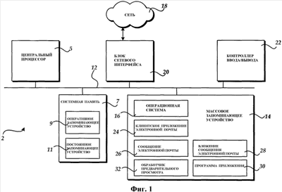
На фиг.1 представлена схема архитектуры компьютерной системы, иллюстрирующая компьютерную систему, используемую и предусматриваемую различными вариантами осуществления изобретения;
на фиг.2А-2С и 3 представлены графические изображения отображения экрана, иллюстрирующие несколько отображений экрана, предусматриваемые различными вариантами осуществления изобретения; и
на фиг.4-6 представлены блок-схемы последовательности операций, иллюстрирующие различные процессы, предусматриваемые несколькими вариантами осуществления изобретения.
Подробное описание изобретения
Обращаясь теперь к чертежам, на которых подобные позиции представляют подобные элементы, описываются различные аспекты настоящего изобретения. В частности, фиг.1 и соответствующее описание предназначены для того, чтобы предоставить краткое, общее описание подходящей вычислительной среды, в которой могут быть реализованы варианты осуществления изобретения. Хотя изобретение описывается в общем контексте программных модулей, которые исполняются вместе с программными модулями, которые выполняются в операционной системе на персональном компьютере, для специалиста в данной области техники понятно, что изобретение также может быть реализовано в комбинации с другими типами компьютерных систем и программных модулей.
В общих чертах, программные модули включают в себя подпрограммы, программы, компоненты, структуры данных и другие типы структур, которые выполняют конкретные задачи или реализуют конкретные абстрактные типы данных. Кроме того, для специалиста в данной области техники понятно, что изобретение может быть осуществлено на практике с другими конфигурациями компьютерной системы, включающими в себя карманные устройства, мультипроцессорные системы, микропроцессорную или программируемую бытовую электронику, миникомпьютеры, мэйнфреймы и т. п. Изобретение также может быть осуществлено на практике в распределенных вычислительных средах, где задачи выполняются удаленными устройствами обработки, которые связаны при помощи сети связи. В распределенной вычислительной среде программные модули могут располагаться как на локальных, так и на удаленных запоминающих устройствах.
Обращаясь теперь к фиг.1, описывается иллюстративная архитектура компьютера для компьютера 2, используемого в различных вариантах осуществления изобретения. Архитектура компьютера, показанная на фиг.1, иллюстрирует обычный настольный или портативный компьютер, включающий в себя центральный процессор 5 («ЦП»), системную память 7, включающую в себя оперативное запоминающее устройство («ОЗУ») 9 и постоянное запоминающее устройство («ПЗУ») 11, и системную шину 12, которая соединяет запоминающее устройство с ЦП 5. Базовая система ввода/вывода, содержащая базовые подпрограммы, которые способствуют переносу информации между элементами в компьютере, например, во время запуска, хранится в ПЗУ 11. Компьютер 2 дополнительно включает в себя массовое запоминающее устройство 14 для хранения операционной системы 16, программ приложений и других программных модулей, которые описываются более подробно ниже.
Массовое запоминающее устройство 14 подсоединено к ЦП 5 через контроллер массового запоминающего устройства (не показан), соединенный с шиной 12. Массовое запоминающее устройство 14 и связанные с ним считываемые компьютером носители обеспечивают энергонезависимое хранение для компьютера 2. Хотя описание считываемых компьютером носителей, содержащихся в нем, относится к массовому запоминающего устройству, такому как накопитель на жестких дисках или накопитель на компакт-дисках, для специалиста в данной области техники должно быть понятно, что считываемыми компьютером носителями могут быть любые доступные носители, к которым может обращаться компьютер 2.
В качестве примера и не ограничения считываемые компьютером носители могут содержать носители данных компьютера и среду передачи данных. Носители данных компьютера включают в себя энергозависимые и энергонезависимые, съемные и несъемные носители, реализованные по любому методу или технологии, для хранения информации, такой как считываемые компьютером инструкции, структуры данных, программные модули или другие данные. Носители данных компьютера включают в себя, но не ограничиваются ими, ОЗУ, ПЗУ, стираемое программируемое ПЗУ (СППЗУ), электрически стираемое программируемое ПЗУ (ЭСППЗУ), флэш-память или другую твердотельную технологию изготовления памяти, компакт-диск, цифровой многофункциональный диск (ЦМД) или другое оптическое запоминающее устройство, магнитные кассеты, магнитную ленту, накопители на магнитных дисках или другие магнитные запоминающие устройства, или любой другой носитель, который может использоваться для хранения требуемой информации и к которому может обращаться компьютер 2.
Согласно различным вариантам осуществления изобретения компьютер 2 может работать в сетевой среде, используя логические подключения к удаленным компьютерам по сети 18, такой как Интернет. Компьютер 2 может подключаться к сети 18 через блок 20 сетевого интерфейса, подсоединенный к шине 12. Необходимо понять, что блок 20 сетевого интерфейса также может использоваться для подключения к другим типам сетей и удаленных компьютерных систем. Компьютер 2 также может включать в себя контроллер 22 ввода/вывода для приема и обработки ввода от ряда других устройств, включая клавиатуру, мышь или электронный стилус (не показаны на фиг.1). Аналогично, контроллер 22 ввода/вывода может обеспечивать вывод на экран дисплея, принтер или устройство вывода другого типа.
Как вкратце упомянуто выше, ряд программных модулей и файлов с данными могут храниться в массовом запоминающем устройстве 14 и ОЗУ 9 компьютера 2, включая операционную систему 16, подходящую для управления работой сетевого персонального компьютера, такую как операционная система WINDOWS XP корпорации Microsoft Corporation, г. Редмонд, шт. Вашингтон. Массовое запоминающее устройство 14 и ОЗУ 9 также могут хранить один или несколько программных модулей. В частности, массовое запоминающее устройство 14 и ОЗУ 9 могут хранить клиентское приложение 24 электронной почты. Клиентское приложение 24 электронной почты служит для отправления и приема сообщений 26 электронной почты по сети 18. Отправляемые и принимаемые сообщения электронной почты также могут включать в себя вложения 28. Вложения могут содержать любой тип файла и обычно включают в себя фотоснимки, документы по обработке текста, сжатые файлы и другие типы файлов.
Как описано более подробно в данном описании, клиентское приложение 24 электронной почты служит для предоставления пользовательского интерфейса для навигации между вложениями сообщения электронной почты. Варианты осуществления изобретения также служат для отображения предварительного просмотра документа, вложенного в сообщение электронной почты, без необходимости переключения пользователя на другую программу приложения. Подробности, касающиеся пользовательского интерфейса и процесса генерирования интерфейса, представлены ниже в отношении фиг.2А-2С, 4 и 6. Клиентское приложение 24 электронной почты также служит для идентификации одного или нескольких действий, которые могут выполняться над документом, вложенным в сообщение электронной почты. Объекты пользовательского интерфейса для выполнения действий могут отображаться пользователю как часть пользовательского интерфейса предварительного просмотра.
Одно из действий, предусмотренных клиентским приложением 24 электронной почты, содержит действие для быстрого генерирования сообщения электронной почты в ответ на сообщение электронной почты, имеющее вложение. Ответное сообщение электронной почты включает в себя измененную версию исходного вложения. Чтобы обеспечить такую функциональную возможность, клиентское приложение 24 электронной почты может запускать программу 30 приложения, способную редактировать исходное вложение. Пользователю тогда может быть разрешено редактировать вложение и быстро передавать измененное вложение в качестве ответа на исходное сообщение электронной почты. Дополнительные подробности, касающиеся действия для ответа на сообщение электронной почты с измененным вложением, представлены ниже в отношении фиг.3 и 5.
Согласно вариантам осуществления изобретения клиентское приложение 24 электронной почты содержит программу приложения менеджера персональной информации OUTLOOK компании MICROSOFT CORPORATION. Необходимо понять, однако, что изобретение может использоваться с другими программами приложений, способными отправлять и принимать сообщения электронной почты, предлагаемыми другими производителями. Согласно вариантам осуществления изобретения приложение 30 содержит программу приложения по обработке текста, такую как программа приложения по обработке текста WORD компании MICROSOFT CORPORATION. Необходимо понять, однако, что другие типы программ приложений и другие программы приложений по обработке текста от других производителей могут использоваться для осуществления различных аспектов настоящего изобретения.
Чтобы генерировать предварительный просмотр вложения в сообщение электронной почты, клиентское приложение 24 электронной почты использует службы обработчика 32 предварительного просмотра. Обработчик 32 предварительного просмотра отвечает за локализацию и исполнение программы предварительного просмотра, выполненной с возможностью генерирования визуального предварительного просмотра для вложения. Программа предварительного просмотра визуализирует предварительный просмотр в окне, предусматриваемом клиентским приложением 24 электронной почты. Таким образом, кажется, что предварительный просмотр визуализировался программой 24 клиентского приложения электронной почты, даже если он визуализировался отдельной программой предварительного просмотра. Принцип действия иллюстративного обработчика предварительного просмотра описан в заявке на патент США 10/954 328 (дело поверенного 60001.416US01), поданной 30 сентября 2004 г. и озаглавленной «Method, System, and Apparatus for Providing A Document Preview» (Способ, система и устройство предоставления предварительного просмотра документа), которая специально включена в данное описание по ссылке.
Ссылаясь теперь на фиг.2А, описывается иллюстративный пользовательский интерфейс, предусматриваемый различными вариантами осуществления изобретения. В частности, на фиг.2А показано отображение 40 экрана, генерируемое клиентским приложением 24 электронной почты. Отображение 40 экрана содержит окно пользовательского интерфейса, имеющее подокно 42 списка, в котором идентифицируется одно или несколько сообщений 44А-44D электронной почты. Как показано на фиг.2, сообщения 44А-44D электронной почты идентифицируются посредством отображения части информации заголовка электронной почты, включающей в себя имя отправителя, тему сообщения и время, когда сообщение было отправлено. Необходимо понять, что может отображаться другая информация для идентификации сообщений 44А-44D электронной почты в подокне 42 списка.
Как показано на фиг.2А, сообщение 44D электронной почты включает в себя три вложенных документа 46А-46D. Вложения 46А-46С указаны как вложения в сообщение 44D электронной почты посредством линии, отходящей от сообщения 44D электронной почты к каждому вложению. Кроме того, вложения 46А-46С идентифицируются пиктограммой, соответствующей типу документа, названием каждого вложения и указанием размера каждого вложения. Указатели для вложений 46А-46С также смещены от указателя для сообщения 44D электронной почты для указания соотношения порожденного/порождающего элементов. Другие типы информации также могут отображаться для каждого вложения. Пиктограмма скрепки для бумаг также отображается вместе с сообщением 44D электронной почты для указания того, что присутствуют вложения, но может использоваться любой тип пиктограммы или визуального указателя.
Необходимо понять, что согласно одному варианту осуществления изобретения указатели для каждого вложения 46А-46С отображаются только в ответ на выбор сообщения 44D. Когда выбирается другое сообщение, указатели для вложений 46А-46С удаляются. Если вновь выбранное сообщение имеет вложения, тогда отображаются идентификаторы для этих вложений. Если вновь выбранное сообщение не имеет вложений, тогда не отображаются идентификаторы.
Согласно другим аспектам изобретения пользователь может выбрать одно из вложений 46А-46С, используя подходящее устройство ввода пользователя. Например, один щелчок кнопкой мыши может быть сделан на вложении 46А для выбора вложения. В ответ на такой выбор предварительный просмотр 50 вложения будет генерироваться и отображаться в подокне 48 воспроизведения. Подокно 48 воспроизведения отображается рядом с подокном 42 списка. Подокно 48 воспроизведения также может включать в себя другую информацию, касающуюся вложения 46А, такую как название вложения и размер вложения. Также может отображаться информация, конкретная для типа вложения, такая как количество пикселей во вложенном фотоснимке. Если пользователь выбирает другое из вложений 46А-46С, предварительный просмотр выбранного вложения генерируется и отображается в подокне 48 воспроизведения.
Согласно аспектам изобретения клиентское приложение 24 электронной почты также может служить для идентификации одного или нескольких действий, которые могут выполняться над вложением, и для отображения доступных действий вместе с предварительным просмотром 50. Например, как показано на фиг.2А, ряд действий 52А-52D были идентифицированы для вложения 46А. В частности, действие 52А предоставляет возможность сохранения вложения на массовом запоминающем устройстве 14, действие 52В вызывает генерирование и отображение слайдовой презентации для вложений 46А-46С, действие 52С вызывает печать предварительно просматриваемого вложения 46А, и действие 52D вызывает удаление вложения 52D.
Необходимо понять, что многие различные типы действий могут идентифицироваться для каждого типа файла. Например, может предоставляться действие слайдовой презентации для фотоснимков и документов презентации, могут предоставляться действия для принятия или отклонения вложенных запросов назначения встреч, вложенные файлы контактов могут добавляться к списку контактов в менеджере персональной информации, элементы управления проигрыванием могут отображаться для звуковых файлов, и действия могут предусматриваться для отображения вложенных факсимильных документов. Также могут отображаться другие действия, которые являются подходящими для всех типов файлов, такие как открытие, сохранение, удаление и печать. В одном варианте выполнения только действия, специфические для конкретного типа файла, отображаются рядом с предварительным просмотром 50. Другие действия, общие для всех типов файлов, могут отображаться на панели 54 инструментальных средств. Когда выбираются многочисленные вложения, показанные заголовок и предварительный просмотр могут быть для первого вложения. Только действия, которые доступны для всех выбранных вложений, отображаются вблизи предварительного просмотра 50.
Согласно другим аспектам изобретения пользователь может предоставить запрос на открытие одного из сообщений 44А-44D электронной почты для просмотра. Например, пользователь может использовать устройство ввода мыши для «двойного щелчка» на одном из сообщений 44А-44D. В ответ на такой запрос может отображаться отображение 70 экрана, такое как отображение, показанное на фиг.2В. Как показано на фиг.2В, отображение 70 экрана включает в себя область 72 тела, где отображается содержимое выбранного сообщения электронной почты. Отображение 70 экрана также включает в себя пользовательский интерфейс 75 для навигации между вложениями в выбранное сообщение электронной почты.
Пользовательский интерфейс 75 включает в себя идентификатор 76 для выбранного сообщения электронной почты и один или несколько идентификаторов 78А-78С для каждого вложения в выбранное сообщение электронной почты. В одном варианте осуществления идентификаторы 78А-78С включают в себя пиктограмму, которая идентифицирует тип вложения и название вложения. Также могут предусматриваться другие типы информации. Как показано на фиг.2В, идентификаторы 76 и 78А-78С отображаются так, чтобы ясно указывать, что вложения ассоциируются с выбранным сообщением электронной почты. В частности, отображается линия, чтобы указать иерархическую зависимость между выбранным сообщением и его вложениями. Могут быть предусмотрены другие типы пользовательских интерфейсов для иллюстрации этой зависимости для пользователя.
Согласно одному варианту осуществления изобретения указатели 76 и 78А-78С могут выбираться пользователем. Если выбирается указатель 76, содержимое сообщения электронной почты отображается в области 72 тела. Если выбирается один из указателей 78А-78С, предварительный просмотр генерируется для вложения, соответствующего выбранному указателю, и предварительный просмотр отображается в области 72 тела. Согласно другому варианту осуществления содержимое выбранного сообщения электронной почты может непрерывно отображаться, и предварительный просмотр выбранного вложения может одновременно отображаться в отдельных областях 74 предварительного просмотра. Таким образом, как тело выбранного сообщения электронной почты, так и предварительный просмотр выбранного вложения могут просматриваться одновременно.
Ссылаясь теперь на фиг.2С, описываются дополнительные аспекты различных вариантов осуществления изобретения. Как показано на фиг.2С, сообщения, идентифицированные в подокне 42 списка, могут отображаться в диалоговом просмотре. Диалоговый просмотр сортирует сообщения согласно их порядку отправки и приема, и каждое сообщение делается абзацем. В диалоговом просмотре указатели 46D и 46Е для вложений в конкретное сообщение 44Е электронной почты могут отображаться так, как описано выше. В частности, идентификаторы 46D и 46Е могут включать в себя пиктограмму, указывающую тип вложения и название вложения. Кроме того, иерархия между одним из сообщений 44Е в диалоговом просмотре и его вложениями может указываться посредством отображения линии между сообщением 44Е и идентификаторами 46D и 46Е без вмешательства в диалоговый просмотр.
Ссылаясь теперь на фиг.3, описывается другой иллюстративный пользовательский интерфейс, предусмотренный различными вариантами осуществления изобретения. В частности, на фиг.3 показано отображение 60 экрана, генерируемое приложением по обработке текста, используемым вместе с различными вариантами осуществления настоящего изобретения. Как описано выше, согласно вариантам осуществления изобретения действие может быть предусмотрено для определенных типов вложенных документов, которое дает возможность пользователю быстро отредактировать вложение и передать ответное сообщение электронной почты, которое включает в себя измененный документ в качестве вложения. В ответ на выбор такого действия запускается программа приложения по обработке текста для редактирования вложенного документа. Отображение 60 экрана, показанное на фиг.3, иллюстрирует отображение экрана, показываемое приложением по обработке текста, когда оно было запущено таким образом.
Как показано на фиг.3, программа приложения по обработке текста предусматривает обычные инструментальные средства для редактирования документа 28. Кнопка 62 «ответить с изменениями» также отображается вместе с пользовательским интерфейсом для редактирования документа 28. Выбор кнопки 62 вызывает генерирование ответного сообщения с заполненными полями сообщения электронной почты и вложенным документом 28. Пользователь тогда может редактировать содержимое ответного сообщения и послать сообщение. Посредством интеграции, таким способом клиентского приложения 24 электронной почты и приложения по обработке текста, пользователь освобождается от утомительного процесса редактирования документов, вложенных в сообщения электронной почты, требуемого предшествующими клиентскими приложениями электронной почты.
Необходимо понять, что, хотя вариант осуществления изобретения, описанный в данном описании, представлен в контексте программы приложения по обработке текста, также могут использоваться аналогичным образом другие типы программ приложений. Например, если сообщение электронной почты включает документ презентации в качестве вложения, может быть запущена презентационная программа в ответ на запрос на передачу ответного сообщения, включающего в себя модифицированное вложение. Любой другой тип документа может редактироваться и передаваться аналогичным образом.
Ссылаясь теперь на фиг.4, описывается иллюстративная подпрограмма 400, иллюстрирующая процесс, выполняемый клиентским приложением 24 электронной почты для предварительного просмотра и выполнения действий над вложениями в сообщения электронной почты. Необходимо понять, что, хотя варианты осуществления изобретения, описанные в данном описании, представлены в контексте программы 24 клиентского приложения электронной почты, изобретение может использоваться в других типах программ приложений.
При чтении описания подпрограмм, представленных в данном описании, необходимо понять, что логические операции различных вариантов осуществления настоящего изобретения реализуются (1) как последовательность реализуемых компьютером действий или программных модулей, выполняющихся в компьютерной системе, и/или (2) как соединенные между собой схемы или схемные модули машинной логики в вычислительной системе. Реализация представляет собой вопрос выбора в зависимости от требований к рабочим характеристикам вычислительной системы, реализующей изобретение. Следовательно, логические операции, изображенные на фиг.4-5 и составляющие варианты осуществления настоящего изобретения, описанные в данном описании, упоминаются по-разному как операции, конструктивные устройства, действия или модули. Для специалиста в данной области техники понятно, что эти операции, конструктивные устройства, действия и модули могут быть реализованы программным обеспечением, программно-аппаратными средствами, цифровыми логическими схемами специального назначения и любой их комбинацией без отступления от сущности и объема настоящего изобретения, приведенного в формуле изобретения, изложенной в данном описании.
Подпрограмма 400 начинается операцией 402, при которой клиентское приложение 24 электронной почты отображает сообщения электронной почты в подокне 42 списка. Подпрограмма 400 затем продолжается операцией 404, при которой также отображаются документы, вложенные в сообщения электронной почты, показанные в подокне списка. Вложения могут отображаться так, как описано выше в отношении фиг.2. После операции 404 подпрограмма 400 продолжается операцией 406.
При операции 406 клиентское приложение 24 электронной почты принимает выбор пользователя вложения в сообщение электронной почты. В ответ на выбор клиентское приложение 24 электронной почты инструктирует обработчик 32 предварительного просмотра на идентификацию программы предварительного просмотра для вложения и генерирование предварительного просмотра вложения. Сгенерированный предварительный просмотр затем отображается клиентским приложением 24 электронной почты в подокне 48 воспроизведения при операции 408. После операции 408 подпрограмма 400 продолжается операцией 410.
При операции 410 клиентское приложение 24 электронной почты идентифицирует действия, которые могут выполняться над вложением. Объекты пользовательского интерфейса, такие как кнопки, тогда отображаются для идентифицированных действий рядом с предварительным просмотром 50. Это происходит при операции 412. После операции 412 подпрограмма 400 продолжается операцией 414, при которой принимается запрос от пользователя на выполнение одного из отображаемых действий. Запрос может выполняться, например, посредством выбора одного из отображаемых объектов пользовательского интерфейса. Подпрограмма 400 затем продолжается операцией 416, при которой выполняется запрашиваемая операция. После операции 416 подпрограмма 400 продолжается операцией 418, при которой она завершается.
Обращаясь теперь к фиг.5, описывается иллюстративная подпрограмма 500 для выполнения действия для ответа на сообщение электронной почты с изменениями во вложенном документе. Подпрограмма 500 начинается операцией 502, при которой сообщение электронной почты, имеющее вложение, принимается клиентским приложением 24 электронной почты. После операции 502 подпрограмма 500 продолжается операцией 504, при которой запрос принимается для ответа на исходное сообщение электронной почты с изменениями во вложенном документе. Этот запрос может выполняться, например, посредством выбора пользователем одного из действий, ассоциированных с предварительным просмотром. После операции 504 подпрограмма 500 продолжается операцией 506.
При операции 506 клиентское приложение 24 электронной почты запускает программу приложения, ассоциированную с вложением. Например, если вложение содержит документ по обработке текста, клиентское приложение 24 электронной почты может запустить приложение по обработке текста для редактирования документа. Программа приложения также может запускаться в состоянии, специально предназначенном для рецензирования и изменения документов. Такое состояние обычно упоминается как режим «рецензии» и обеспечивает функциональную возможность для выполнения изменений в документе так, что эти изменения легко можно идентифицировать и прочитать другим пользователем.
Как кратко описано выше, программа приложения также может запускаться так, чтобы вызывать отображение кнопки 62 «ответа с изменениями» вместе с экраном редактирования. Это происходит при операции 506 и дает возможность пользователю легко и быстро передать измененный документ в качестве ответа на исходное сообщение электронной почты. После операции 508 подпрограмма 500 продолжается операцией 508, при которой изменения во вложенном документе принимаются от пользователя. Подпрограмма 500 затем продолжается операцией 510, при которой запрос принимается от пользователя на передачу ответного сообщения электронной почты, включающего в себя измененный документ, посредством выбора кнопки 62.
В ответ на прием запроса на передачу ответного сообщения электронной почты, включающего измененный документ, подпрограмма 500 продолжается операцией 512, при которой создается ответное сообщение с вложенным измененным документом. Пользователь тогда может добавить комментарии. Если пользователь указывает, что сообщение должно быть отправлено, подпрограмма продолжается операцией 516, при которой клиентское приложение электронной почты передает ответное сообщение электронной почты с вложенным измененным документом. Программа приложения закрывается, и пользователь возвращается к отображению, обеспечиваемому клиентским приложением 24 электронной почты. Пользователь тогда может предварительно просмотреть другие документы и взаимодействовать с клиентским приложением 24 электронной почты так, как описано в данном описании. После операции 514 подпрограмма 500 продолжается операцией 518, при которой она завершается.
Ссылаясь теперь на фиг.6, описывается иллюстративная подпрограмма 600 для навигации между вложениями в сообщение электронной почты в просмотре, который показывает содержимое сообщения электронной почты, таком как описанное выше в отношении фиг.2В. Подпрограмма 600 начинается операцией 602, при которой запрос принимается от пользователя на открытие содержимого сообщения электронной почты для просмотра. В частности, такой запрос может содержать двойной щелчок кнопкой мыши на сообщении электронной почты или эквивалентное нажатие клавиши. После операции 602 подпрограмма 600 продолжается операцией 604.
При операции 604 отображение экрана, аналогичное отображению, показанному на фиг.2В, может отображаться для выбранного сообщения. Как описано выше, отображение экрана включает в себя отображение содержимого выбранного сообщения электронной почты. После операции 604 подпрограмма 600 продолжается операцией 606, где отображается пользовательский интерфейс 75 для навигации по вложениям в открытое сообщение электронной почты. Если пользователь выбирает идентификатор для вложения в пользовательском интерфейсе 75 при операции 608, генерируется предварительный просмотр для соответствующего вложения. Предварительный просмотр затем отображается при операции 610. Необходимо понять, что таким образом может предварительно просматриваться любое вложение в сообщение электронной почты. Если пользователь закончил просмотр содержимого сообщения электронной почты и предварительных просмотров вложений, пользователь может закрыть отображение экрана для возврата к отображению экрана, показанному на фиг.2А. Следовательно, подпрограмма 600 завершается на операции 612.
Основываясь на вышеописанном, необходимо понять, что различные варианты осуществления изобретения включают в себя способ, систему, устройство и считываемый компьютером носитель для навигации и предварительного просмотра вложений в сообщения электронной почты. Вышеописанное описание изобретения, примеры и данные обеспечивают полное описание для производства и использования составных частей изобретения. Так как многие варианты осуществления изобретения могут быть выполнены без отступления от сущности и объема изобретения, изобретение определяется формулой изобретения, приложенной ниже к данному описанию.
Формула изобретения
1. Способ навигации между одним или несколькими вложениями в одно или несколько сообщений электронной почты, включающий в себя этапы, на которых: отображают список сообщений электронной почты в первом подокне, причем список содержит информацию заголовка, ассоциированную с одним или несколькими сообщениями электронной почты; принимают выбор одного из сообщений электронной почты в списке, причем выбранное сообщение электронной почты имеет одно или несколько вложений; отображают в первом подокне рядом с информацией заголовка для выбранного сообщения идентификатор для каждого из вложений, причем идентификатор для каждого из вложений является выбираемым, и идентификатор указывает, что вложения ассоциируются с выбранным сообщением; принимают выбор идентификатора, соответствующего вложению; и в ответ на прием выбора идентификатора отменяют выбор выбранного сообщения почты, выбирают соответствующее вложение и отображают предварительный просмотр соответствующего вложения, причем одно или несколько действий, способных выполняться над соответствующим вложением, идентифицируются вместе с предварительным просмотром.
2. Способ по п.1, дополнительно включающий в себя этапы, на которых: принимают выбор сообщения электронной почты в списке, имеющего одно или несколько вложений; и в ответ на выбор сообщения, не имеющего вложения, удаляют отображаемые идентификаторы для вложений в сообщение, имеющее одно или несколько вложений.
3. Способ по п.1, дополнительно включающий в себя этапы, на которых: принимают выбор другого из сообщений электронной почты в списке, причем выбранное сообщение электронной почты не имеет вложения; и в ответ на выбор сообщения, не имеющего вложения, удаляют отображаемые идентификаторы для вложений в сообщение, имеющее одно или несколько вложений.
4. Способ по п.1, дополнительно включающий в себя этапы, на которых: принимают выбор одного из сообщений электронной почты в списке, имеющего одно или несколько вложений, и запрос на открытие выбранного сообщения почты для просмотра; в ответ на запрос на открытие выбранного сообщения почты для просмотра, отображают содержимое выбранного сообщения почты, отображают пользовательский интерфейс для навигации между вложениями в выбранное сообщение почты, причем пользовательский интерфейс включает в себя идентификатор для каждого из вложений в выбранное сообщение.
5. Способ по п.4, в котором пользовательский интерфейс для навигации между вложениями в выбранное сообщение почты отображается рядом с отображением содержимого выбранного сообщения, и в котором способ дополнительно включает в себя этапы, на которых: принимают выбор идентификатора в пользовательском интерфейсе, соответствующего одному из вложений в выбранное сообщение; и в ответ на выбор идентификатора отображают предварительный просмотр для соответствующего вложения.
6. Способ по п.5, в котором пользовательский интерфейс для навигации между вложениями в выбранное сообщение почты отображается рядом с отображаемым содержимым выбранного сообщения почты.
7. Считываемый компьютером носитель, имеющий исполняемые компьютером инструкции, хранимые на нем, которые при исполнении компьютером вызывают выполнение компьютером следующих действий: отображение первого подокна, идентифицирующего одно или несколько сообщений электронной почты; прием выбора одного из сообщений электронной почты; определение, имеет ли выбранное сообщение электронной почты одно или несколько вложений; в ответ на определение, имеет ли выбранное сообщение электронной почты одно или несколько вложений, отображение в первом подокне выбранного идентификатора для каждого из вложений, указывающих, что вложения ассоциируются с выбранным сообщением; отображение второго подокна для воспроизведения сообщения электронной почты; прием выбора идентификатора для вложения; и в ответ на выбор идентификатора отмену выбора выбранного сообщения почты, выбор вложения и отображение предварительного просмотра вложения во втором подокне, причем одно или несколько действий, способных выполняться над соответствующим вложением, идентифицируются вместе с предварительным просмотром.
8. Считываемый компьютером носитель по п.7, в котором второе подокно отображается рядом с первым подокном.
9. Считываемый компьютером носитель по п.8, в котором идентификатор для вложения включает в себя пиктограмму, соответствующую типу вложения, название вложения и размер вложения.
10. Считываемый компьютером носитель по п.9, имеющий дополнительные исполняемые компьютером инструкции, хранимые на нем, которые при исполнении компьютером вызывают выполнение компьютером следующих действий: прием выбора сообщения электронной почты в списке, имеющего одно или несколько вложений; и в ответ на выбор сообщения, не имеющего вложения, удаление отображаемых идентификаторов для вложений в сообщение, имеющее одно или несколько вложений.
11. Считываемый компьютером носитель по п.9, имеющий дополнительные исполняемые компьютером инструкции, хранимые на нем, которые при исполнении компьютером вызывают выполнение компьютером следующих действий: прием выбора другого из сообщений электронной почты в списке, причем выбранное сообщение электронной почты не имеет вложения; и в ответ на выбор сообщения, не имеющего вложения, удаление отображаемых идентификаторов для вложений в сообщение, имеющее одно или несколько вложений.
12. Считываемый компьютером носитель по п.9, имеющий дополнительные исполняемые компьютером инструкции, хранимые на нем, которые при исполнении компьютером вызывают выполнение компьютером следующих действий: прием выбора одного из сообщений электронной почты в списке, имеющего одно или несколько вложений, и запроса на открытие выбранного сообщения почты для просмотра; в ответ на запрос на открытие выбранного сообщения почты для просмотра, отображение содержимого выбранного сообщения почты, и отображение пользовательского интерфейса для навигации между вложениями в выбранное сообщение почты, причем пользовательский интерфейс включает в себя идентификатор для каждого из вложений в выбранное сообщение.
13. Считываемый компьютером носитель по п.12, в котором пользовательский интерфейс для навигации между вложениями в выбранное сообщение почты отображается рядом с отображением содержимого выбранного сообщения, и в котором считываемый компьютером носитель имеет дополнительные исполняемые компьютером инструкции, хранимые на нем, которые при исполнении компьютером вызывают выполнение компьютером следующих действий: прием выбора идентификатора в пользовательском интерфейсе, соответствующего одному из вложений в выбранное сообщение; и в ответ на выбор идентификатора отображение предварительного просмотра для соответствующего вложения.
14. Считываемый компьютером носитель по п.13, в котором пользовательский интерфейс для навигации между вложениями в выбранное сообщение почты отображается рядом с отображаемым содержимым выбранного сообщения почты.
РИСУНКИ
|
|