|
|
(21), (22) Заявка: 2007146361/28, 13.12.2007
(24) Дата начала отсчета срока действия патента:
13.12.2007
(43) Дата публикации заявки: 20.06.2009
(46) Опубликовано: 10.06.2010
(56) Список документов, цитированных в отчете о поиске:
ЕР 0854407 А1, 22.07.1998. US 2007151606 А1, 05.07.2007. RU 2276804 C1, 20.05.2004. SU 1388839 А1, 23.04.1988.
Адрес для переписки:
410017, г.Саратов, ул. Шелковичная, 37/45, ООО фирма “Саратовгазприборавтоматика”
|
(72) Автор(ы):
Котов Юрий Иванович (RU), Пузиков Сергей Александрович (RU)
(73) Патентообладатель(и):
Общество с ограниченной ответственностью фирма “Саратовгазприборавтоматика” (RU)
|
(54) РЕГУЛЯТОР ДАВЛЕНИЯ ГАЗА
(57) Реферат:
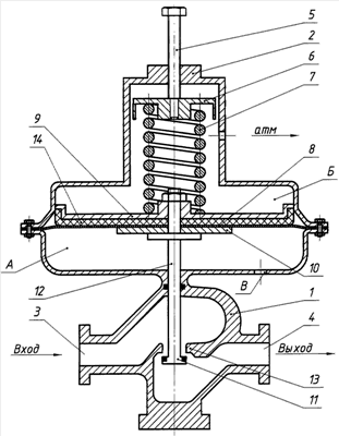
Изобретение относится к газовой промышленности и может быть использовано при транспортировке и потреблении природного газа. Регулятор давления газа состоит из корпуса 1 с крышкой 2, входной 3 и выходной 4 полостями. Также регулятор давления газа содержит настроечный механизм в виде винта 5, упоры 6 и пружины задания 7. Кроме того, регулятор давления газа содержит чувствительный орган, который содержит мембрану 8, зажатую между дисками 9 и 10 регулирующего устройства в виде клапана 11 со штоком 12 и седлом 13, расположенным на перемычке между входной 3 и выходной 4 полостями. Также со стороны низкого давления между мембраной 8 и опорным диском 9 установлена защитная втулка 14 с донышком из материала с низким коэффициентом трения, например, фторопласта. При этом опорный диск 9 со стороны низкого давления выполнен в виде поршня, причем наружные диаметры защитной втулки 14 с донышком и опорного диска 9 со стороны низкого давления выполнены с гарантированным зазором в отношении внутреннего диаметра крышки 2 корпуса 1. Кроме того, в устройстве различают подмембранную А и надмембранную Б полости, отверстие В для подачи давления обратной связи и отверстие-атмосфера. Техническим результатом изобретения является повышение надежности устройства, а также предотвращение взрывоопасной ситуации. 1 ил.
Изобретение относится к газовой промышленности и может быть использовано при транспортировке и потреблении природного газа.
Известен регулятор давления Aperflux 851 итальянской фирмы Pietro Fiorentini (каталог Deomber 2006), см. приложение 1.
Данный регулятор давления содержит корпус, входную и выходную полости и мембрану, выполняющую одновременно функции затвора и седла.
Эта конструкция не имеет подвижных посадочных поверхностей, которые склонны к заклиниванию при попадании механических частиц, отличается достаточной простотой, обеспечивает возможность замены мембраны без снятия регулятора.
К недостаткам конструкции можно отнести совмещение в одном органе-мембране двух функций: регулирующей и чувствительной и частый выход мембраны из строя, что снижает надежность устройства в целом.
Наиболее близким техническим решением является регулятор RMG 650 (см. РМГ – справочное пособие. RMG издание 2000, см. приложение 2).
Эта конструкция включает корпус, входную и выходную полости, регулирующий орган-клапан со штоком и седлом, размещенным между входной и выходной полостями, и мембрану, зажатую между опорными дисками.
Недостатком данной конструкции является снижение надежности устройства из-за разрыва мембраны, размещенной между опорными дисками при изменении величин давлений до и после мембраны.
Целью предлагаемого изобретения является увеличение надежности.
Указанная цель достигается тем, что в регуляторе давления газа, содержащем корпус с крышкой, входную и выходную полости, настроечный механизм в виде винта, упора и пружины задания, чувствительный орган, состоящий из мембраны, зажатый между опорными дисками и регулирующее устройство в виде клапана со штоком и седла, расположенного на перемычке между входной и выходной полостями, со стороны низкого давления между мембраной и опорным диском установлена защитная втулка с донышком из материала с низким коэффициентом трения, например, из фторопласта, а опорный диск со стороны низкого давления выполнен в виде поршня, причем наружные диаметры защитной втулки с донышком и опорного диска со стороны низкого давления выполнены с гарантированным зазором в отношении внутреннего диаметра крышки корпуса.
Анализ патентных, информационных и каталожных материалов по регуляторам давления газа по фондам областной, универсальной, научно-технической библиотеки г.Саратова позволяет сделать выводы, что предлагаемое изобретение не известно из уровня техники, т.е. оно является новым. Кроме того, предлагаемое устройство не следует явным образом из уровня техники, т.е. имеет изобретательский уровень.
Конструкция предлагаемого регулятора давления газа вызвана к жизни практикой эксплуатации.
В известных конструкциях регуляторов давления газа при уменьшении или увеличении расхода газа, мембрана перемещается вверх или вниз. Происходит трение мембраны об опорные диски и износ ее, особенно в районе торцов опорных дисков, что приводит к разрыву мембраны.
Это значительно снижает надежность конструкции.
Кроме того, при разрыве мембраны регулятор давления газа становится нормально открытым и большое по величие давление поступает со входа непосредственно потребителю, что может привести к взрывоопасной ситуации.
Размещение защитной втулки с донышком из материала с низким коэффициентом трения между мембраной и опорным диском со стороны низкого давления и выполнение опорного диска со стороны низкого давления в виде поршня, значительно уменьшает трение мембраны об опорные диски при изменении величин давления, что снижает риск частых разрывов мембраны вообще и особенно в переходных местах опорного диска от торцевой поверхности к цилиндрической.
Выполнение наружных диаметров защитной втулки и опорного диска со стороны низкого давления с гарантированным зазором способствует тому, что при разрыве мембраны значительно уменьшаются утечки газа из-под мембранной полости, клапан не открывается и таким образом в аварийном состоянии регулятор давления газа на какое-то время еще сохраняет работоспособность, позволяя принять меры к предотвращению взрывоопасной ситуации у потребителя.
Следовательно, предлагаемые конструктивные решения продляют срок службы мембраны, а также способствуют предотвращению подачи высокого входного давления потребителю при разрыве мембраны. Все это увеличивает надежность регулятора давления газа.
Таким образом, предлагаемый регулятор давления газа обладает промышленной полезностью.
Устройство представлено на чертеже.
Регулятор давления газа состоит из корпуса 1 с крышкой 2, входной 3 и выходной 4 полостями, настроечного механизма в виде винта 5, упора 6 и пружины задания 7, чувствительного органа, содержащего мембрану 8, зажатую между дисками 9 и 10 и регулирующего устройства в виде клапана 11 со штоком 12 и седлом 13, расположенного на перемычке между входной 3 и выходной 4 полостями. Кроме того, со стороны низкого давления между мембраной 8 и опорным диском 9 установлена защитная втулка 14 с донышком из материала с низким коэффициентом трения, например, фторопласта, а опорный диск 9 со стороны низкого давления выполнен в виде поршня, причем наружные диаметры защитной втулки 8 с донышком и опорного диска 9 со стороны низкого давления выполнены с гарантированным зазором в отношении внутреннего диаметра крышки 2 корпуса 1. Кроме того, в устройстве различают подмембранную А и надмембранную Б полости, отверстие В для подачи давления обратной связи и отверстие-атмосфера.
Регулятор давления газа работает следующим образом.
Во входную полость 3 регулятора давления газа подается газ и затем, после снижения давления на регулирующем устройстве: клапан 11, шток 12, седло 13, газ поступает в выходную полость 4 и далее к потребителю.
При увеличении расхода газа потребителем, давление в выходной полости 4 регулятора давления газа снижается и давление газа этой величины через трубку обратной связи (не показано) через отверстие В поступает в подмембранную полость А, воздействует на мембрану 8, перемещает шток 12 клапана 11 вниз, клапан 11 отходит от седла 13 и увеличивается расход, давление в выходной полости 4 увеличивается до величины, заданной настроечным механизмов. Соответственно происходит работа регулятора давления газа при уменьшении расхода газа в выходной полости 4.
Формула изобретения
Регулятор давления газа, содержащий корпус с крышкой, входную и выходную полости, настроечный механизм в виде винта, упора и пружины задания, чувствительный орган, состоящий из мембраны, зажатой между опорными дисками, и регулирующее устройство в виде клапана со штоком и седлом, расположенным на перемычке между входной и выходной полостями, отличающийся тем, что со стороны низкого давления между мембраной и опорным диском установлена защитная втулка с донышком из материала с низким коэффициентом трения, например, из фторопласта, а опорный диск со стороны низкого давления выполнен в виде поршня, причем наружные диаметры защитной втулки с донышком и опорного диска со стороны низкого давления выполнены с гарантированным зазором в отношении внутреннего диаметра крышки корпуса.
РИСУНКИ
|
|