|
|
(21), (22) Заявка: 2006146933/09, 03.06.2005
(24) Дата начала отсчета срока действия патента:
03.06.2005
(30) Конвенционный приоритет:
08.06.2004 US 10/863,610
(43) Дата публикации заявки: 20.07.2008
(46) Опубликовано: 10.06.2010
(56) Список документов, цитированных в отчете о поиске:
PEE SUAT HOON ЕТ AL: “Foundation fieldbus high speed ethernet (HSE) implementation” PROCEEDINGS OF THE 2002 IEEE INTERNATIONAL SYMPOSIUM ON INTELLIGENT CONTROL.(ISIC’02), VANCOUVER, CANADA, OCT. 27-30, 2002, IEEE INTERNATIONAL SYMPOSIUM ON INTELLIGENT CONTROL, NEW YORK, NY: IEEE, US, 27 October 2002 (2002-10-27), ХР0 10623079 ISBN:0-7803-7620-Х. WO 2004010645 A1, 29.01.2004. RU 25803 U1, 20.10.2002. RU 2197785 C1, 27.01.2003.
(85) Дата перевода заявки PCT на национальную фазу:
09.01.2007
(86) Заявка PCT:
US 2005/019742 20050603
(87) Публикация PCT:
WO 2005/124485 20051229
Адрес для переписки:
129090, Москва, ул. Б.Спасская, 25, стр.3, ООО “Юридическая фирма Городисский и Партнеры”, пат.пов. Ю.Д.Кузнецову, рег. 595
|
(72) Автор(ы):
ПЕЛУЗО Маркос А. В. (US), КАРШНИА Роберт Дж. (US)
(73) Патентообладатель(и):
РОУЗМАУНТ, ИНК. (US)
|
(54) ИНТЕРФЕЙСНЫЙ МОДУЛЬ ДИСТАНЦИОННОЙ ОБРАБОТКИ И ПРЕОБРАЗОВАНИЯ ПРОТОКОЛОВ
(57) Реферат:
Изобретение относится к системам управления технологическим процессом, в частности к интерфейсному модулю обработки данных. Технический результат заключается в расширении функциональных возможностей интерфейсного модуля. Он достигается тем, что интерфейсный модуль включает в себя порты для связи по сети при помощи первого протокола с множеством полевых устройств. Интерфейсный модуль имеет также порт для связи с контроллером технологического процесса через высокоскоростную сеть и протокол, такую как высокоскоростная сеть Ethernet (HSE). Интерфейсный модуль включает в себя контроллер для реализации множества функциональных модулей технологического процесса, причем каждый из этого множества функциональных модулей технологического процесса соответствует одному из множества полевых устройств. Поддерживаются дистанционная программируемость, передача сообщений электронной почты и подачи сигналов предупреждения. 3 н. и 36 з.п. ф-лы, 3 ил.
ОБЛАСТЬ ТЕХНИКИ, К КОТОРОЙ ОТНОСИТСЯ ИЗОБРЕТЕНИЕ
Настоящий патент относится к системам управления технологическим процессом, более конкретно к интерфейсному модулю обработки данных и преобразования протоколов.
ПРЕДШЕСТВУЮЩИЙ УРОВЕНЬ ТЕХНИКИ
Системы управления технологическим процессом типа тех, что используются в химических, нефтеперерабатывающих и других технологических процессах, как правило, включают в себя по меньшей мере один централизованный контроллер технологического процесса, соединенный с возможностью осуществления связи по меньшей мере с одной основной рабочей станцией (хостом) или рабочей станцией оператора и с одним или несколькими полевыми устройствами при помощи аналоговых и (или) цифровых шин и других линий и каналов связи. Полевые устройства, которыми могут быть, например, клапаны, клапанные позиционеры, переключатели, датчики (например, датчики температуры, давления и скорости потока) и т.д., выполняют в ходе технологического процесса такие функции, как открывание и закрывание клапанов и измерение параметров технологического процесса. Контроллер технологического процесса принимает сигналы, характеризующие результаты измерений параметров процесса, выполненных полевыми устройствами, и (или) другую информацию, относящуюся к полевым устройствам, через устройство ввода-вывода (I/O), использует эту информацию для выполнения программы управления и затем генерирует сигналы управления, которые направляются по шинам и другим каналам связи через устройство ввода-вывода к полевым устройствам для управления функционированием в технологическом процессе. Информация, поступающая от полевых устройств и контроллера, как правило, доступна одному или нескольким приложениям, исполняемым на рабочей станции оператора, что позволяет оператору реализовывать любую требуемую функцию в отношении технологического процесса, например функцию просмотра текущего состояния процесса, функцию изменения технологической операции, функцию конфигурирования технологического процесса, функцию документирования процесса и т.д.
За последние десять лет в сфере управления технологическими процессами стали преобладать интеллектуальные полевые устройства, включающие в себя микропроцессор и память. Помимо выполнения первичной функции в рамках технологического процесса интеллектуальные полевые устройства могут хранить данные, относящиеся к устройству, обмениваться данными с контроллером и (или) другими устройствами в цифровом или в комбинированном цифроаналоговом формате и выполнять вторичные задания, такие как самокалибровка, идентификация, диагностика и т.д.
В прошлом были разработаны стандартные протоколы обмена данными, чтобы дать возможность контроллерам и полевым устройствам различных производителей обмениваться данными с использованием стандартных форматов. Однако во многих случаях даже в пределах одного завода или одной установки видоизменения в протоколах связи делали их подходящими в определенных условиях, тогда как в других местах более подходящими были другие протоколы. Например, протокол 4-20 миллиампер (мА) имеет высокую устойчивость к шуму, но требует отдельного монтажа кабелей. Протокол высокоскоростной сети Ethernet (HSE) может обеспечивать высокую скорость, но часто требует дорогостоящего перемонтажа. Другие протоколы, типа локальной сети контроллеров (“CAN”), HART®, H1, Foundation® Fieldbus (“Fieldbus”), интерфейс исполнительного механизма-датчика (“AS-Interface” или “ASI”) и другие, имеют характерные особенности и недостатки, к числу которых относятся максимальная длина кабеля, многоточечность/одноточечность, искробезопасность (для взрывоопасных сред), шумовая устойчивость, обратная совместимость, дополнительное питание и т.д. Иногда эти характерные особенности часто требуют применения одного протокола и соответствующего ему монтажа кабелей, даже если он не подходит для завода или установки в целом. Для устранения недостатков необходимо прибегать к согласованиям. Например, для компенсации небольшой длины кабелей на заводах может применяться схема подключения, в которой единственный полевой модуль управления технологическим процессом соединен с единственным пультом управления при помощи одного протокола. Затем пульт управления обменивается данными с центральным контроллером посредством второго протокола, более пригодного для этого соединения. Например, супермодуль 3051S может быть соединен с функциональным пультом Fieldbus посредством сети CAN, а функциональный пульт Fieldbus обменивается данными с центральным контроллером или другим расположенным в восходящем направлении устройством управления данными при помощи протокола H1. Такая архитектура решает проблемы, связанные с несовместимостью монтажа и протоколов, но она требует относительно больших затрат, и ее может быть относительно трудно обслуживать.
ПЕРЕЧЕНЬ ЧЕРТЕЖЕЙ
Прилагаемые чертежи, в которых одинаковые номера позиций относятся к одинаковым или функционально схожим элементам на различных видах и которые вместе с приведенным ниже подробным изложением включены в настоящее описание и образуют его часть, служат для дальнейшей иллюстрации различных вариантов осуществления и для разъяснения различных принципов и преимуществ в полном соответствии с настоящим изобретением.
Фиг.1 – упрощенная и характерная блок-схема системы управления технологическим процессом, известная из уровня техники;
Фиг.2 – упрощенная и характерная блок-схема системы управления технологическим процессом с использованием улучшенного преобразования протокола;
Фиг.3 – упрощенная и характерная блок-схема интерфейсного модуля дистанционной обработки и преобразования протокола.
ПОДРОБНОЕ ОПИСАНИЕ
Хотя изобретение может быть осуществлено во многих различных формах, на чертежах приведены и будут подробно описаны предпочтительные варианты осуществления с учетом того, что настоящее раскрытие должно рассматриваться в качестве иллюстрации принципов изобретения и не должно ограничивать широкий аспект изобретения приведенными вариантами осуществления.
На Фиг.1 приведена блок-схема системы, известной из уровня техники. Первое полевое устройство 102a соединено с первой сетевой платой 104a посредством сети 106. Передача данных по сети 106 осуществляется при помощи первого протокола, например протокола CAN. Может иметься другое полевое устройство 102n, связанное с другой сетевой платой 104n посредством другой сети 112 и соответствующего протокола. Две сети 106, 112 могут использовать один и тот же протокол, но такие факторы, как расстояние или состояние окружающей среды, например электромагнитные помехи (“EMI”), могут потребовать, чтобы эти две сети 106, 112 различались по топологии и протоколу. Полевые устройства 102a-n могут быть любыми устройствами из широкого спектра исполнительных механизмов, например клапанами, позиционерами клапанов, переключателями, двигателями и т.д., или датчиками, предназначенными для контроля, например, температуры, давления, уровня жидкости, скорости потока и т.д.
Каждая из сетевых плат 104a-n Fieldbus запрограммирована отправлять данные соответствующему полевому устройству 102a-n и принимать данные от соответствующего полевого устройства 102a-n. Отправленные данные могут включать в себя команды для конфигурирования исполнительного механизма, запросы о текущем состоянии или запросы о статусе, например об исправности, полевого устройства. Данные, принятые от полевого устройства 102, могут включать в себя, например, подтверждения на запросы конфигурирования, ответы на другие запросы или предупреждения. В некоторых вариантах осуществления сетевая плата 104 Fieldbus может использовать для связи с контроллером 114 технологического процесса более высокоскоростную сеть 116, например сеть HSE.
В большинстве случаев между полевым устройством 102 и контроллером 114 технологического процесса нельзя использовать одну сеть и один протокол по причине скорости и гибкости, с одной стороны, и жесткости, доступности адресов и целостности данных, с другой. Сетевые платы 104a-n Fieldbus предоставляют локальные услуги по передаче команд и мониторингу, обеспечивают преобразование данных и протоколов между отдельными сетями передачи данных. Однако каждая сетевая плата требует затрат на электронную схему питания, преобразователи протоколов, память и процессор.
На Фиг.2 приведена упрощенная и характерная блок-схема системы управления технологическим процессом согласно настоящему изобретению. Интерфейсный модуль 200 соединен с множеством полевых устройств 102a-n. Как указывалось выше, множество полевых устройств 102a-n может включать в себя датчики и исполнительные механизмы. В обмене данными между интерфейсным модулем 200 и множеством полевых устройств 102a-c могут быть задействованы одна или несколько сетей 204a-n и их соответствующие протоколы. Например, первая сеть 204a, поддерживающая протокол типа CAN, может связывать некоторые полевые устройства 102a-b с интерфейсным модулем 200, а вторая сеть 204n, поддерживающая протокол типа ASI, используется для связи других полевых устройств, представленных устройством 102n, с интерфейсным модулем 200. Интерфейсный модуль 200 обменивается данными с контроллером 114 технологического процесса посредством третьей сети 210, например сети HSE. Интерфейсный модуль 200, выполненный с возможностью обмениваться данными с множеством полевых устройств 102a-n и по меньшей мере с одним контроллером 114 технологического процесса, позволяет совместно использовать обрабатывающую общую служебную информацию электронику, позволяет сократить количество сигнальных и питающих проводов и может снизить расходы на техническое обслуживание и модернизацию.
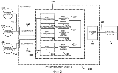
На Фиг.3 приведена упрощенная и характерная блок-схема интерфейсного модуля дистанционной обработки и преобразования протоколов, предназначенного для использования в системе управления технологическим процессом. Интерфейсный модуль 200 имеет по меньшей мере один порт 302a для обмена данными по меньшей мере с одним полевым устройством 102a. Порт 302a может обмениваться данными с дополнительным полевым устройством 102b, использующим сеть 308, общую для обоих полевых устройств, например сеть CAN. Дополнительные порты для полевых устройств, например порт 302b, могут использоваться для обмена данными с большим количеством полевых устройств, например с полевым устройством 102n, использующим другую сеть 314, например сеть ASI. Порт 316 соединяет интерфейсный модуль 200 с контроллером 114 технологического процесса или с Web-службой (не показана), использующей высокоскоростную или многоточечную сеть 318, например сеть HSE. Контроллер 320 соединяет порты 302a-b для полевых устройств с портом 316. Каждый из портов 302a-b, 316 может включать в себя определенные средства управления протоколами для реализации требований, предъявляемых к обмену данными, например, но не в ограничительном смысле, буферы данных, средства контроля и коррекции ошибок, средства пакетирования, средства сдвига уровня, кодеры и декодеры (“кодеки”).
Контроллер 320 содержит интерфейс 322 связи для соединения портов 302a-b полевых устройств с множеством блоков-преобразователей 324. Блоки-преобразователи 324 в свою очередь соединены с аналоговыми блоками 326. Вместе один из блоков-преобразователей 324 и соответствующий блок из аналоговых блоков 326 составляют один из множества функциональных модулей 328 технологического процесса.
Интерфейс 322 связи управляет маршрутизацией данных между портами 302a-b полевых устройств и соответствующим одним из блоков-преобразователей 324. Блоки-преобразователи 324 определены по стандарту HSE как выполняющие специализированные функции. Например, блоки-преобразователи 324 требуются для контрольно-измерительной аппаратуры, и они специально предназначены для проводимых измерений. Примером контрольно-измерительной аппаратуры является аппаратура для давления и температуры. В характерном варианте осуществления полевое устройство 102a может выдавать импульсно-кодовое показание, которое соответствует температуре, причем показание отформатировано для передачи по сети 308 с протоколом CAN. Порт 302a может принимать и обрабатывать сигнал CAN, причем интерфейсный модуль 322 выполнен с возможностью преобразования и маршрутизации этого сигнала к блоку-преобразователю 324, назначенному определенному полевому устройству 102a. Блок-преобразователь 324 преобразует данные в результат измерения способом, приспособленным для этого типа полевого устройства 102a. Результат измерения, теперь преобразованный в необработанное показание температуры, передается соответствующему аналоговому блоку 326. Этот аналоговый блок преобразует необработанное показание температуры в универсальный формат, определяемый действующим стандартом, применяемым при управлении технологическим процессом, например в градусы Цельсия. После полного завершения преобразования и обработки данные передаются на порт 316, где их передают через стек протоколов на контроллер 114 технологического процесса.
В общем случае полевое устройство 102a-n может служить источником необработанного цифрового сигнала, требующего преобразования в показание. Еще одна из многих возможных функций, выполняемых в блоках-преобразователях 324, заключается в изменении масштаба и форматировании показаний, не требующих преобразования данных. Аналоговые блоки 326 представляют собой стандартные модули и могут конфигурироваться как по входу, так и по выходу. Аналоговые блоки 326 берут любое измерение и преобразуют его в подходящий универсальный формат, предназначенный для использования в стратегии управления. Аналоговые блоки 326 могут также реализовывать стратегию управления или выполнять другие функции технологического процесса. Аналоговые блоки 326 соединены с портом 316, где выполняются функции преобразования протоколов, форматирования и стека связи нижнего уровня.
В процессе работы контроллер 320 запрограммирован принимать данные, переданные в первую сеть 308 каждым из множества полевых устройств 102a-b, через первый порт 302a. Контроллер 320 реализует множество блоков-преобразователей 324 и аналоговых блоков 326, которые в сочетании образуют функциональные модули 328 технологического процесса. Каждый из функциональных модулей 328 технологического процесса назначен одному из полевых устройств 102a-n и выполнен с возможностью реализации функции управления технологическим процессом, например преобразования данных, проверки границ, управления предупреждениями, подачи регламентных запросов о работоспособности и т.д. В одном варианте осуществления по меньшей мере один из множества функциональных модулей 328 технологического процесса, который представляет собой пару «блок-преобразователь – аналоговый блок», запрограммирован обрабатывать команды CAN, принятые на первый порт 302a. Функциональные модули 328 технологического процесса создают эти обработанные данные для использования во второй сети 318 и передают эти обработанные данные во вторую сеть 318 через второй сетевой порт 316 при помощи второго протокола, например протокола HSE.
Контроллер 320 может быть запрограммирован предоставлять диагностические данные, касающиеся не только множества полевых устройств 102a-n, но также сообщать диагностические данные, касающиеся непосредственно интерфейсного модуля 200. Эти диагностические сообщения могут быть направлены в находящийся в восходящем направлении контроллер 114 технологического процесса или в средство мониторинга технологического процесса (не показано). Кроме того, контроллер 320 может быть запрограммирован реализовывать услуги электронной почты. Контроллер 320 может отправлять эксплуатационные данные, включая сообщения-предупреждения, относящиеся либо к интерфейсному модулю 200, либо к одному из множества полевых модулей 102a-n, посредством сообщения электронной почты, отправленного через порт 316. Получателями такого сообщения электронной почты могут быть дежурный обслуживающий персонал, инженеры и другие руководящие работники завода, а также компьютеры и контроллеры (не показаны), выполненные с возможностью обработки уведомлений электронной почты.
Первая сеть 308, предназначенная для связи с полевыми устройствами 102a-n, может быть, в частности, сетью CAN, сетью HART, сетью MODbus, сетью 4-20 миллиампер, при этом соответствующий модуль из функциональных модулей 328 технологического процесса выполнен с возможностью декодирования этого протокола. Вторая сеть может быть сетью HSE или другой сетью, поддерживающей пакеты интернет-протокола (IP).
Интерфейсный модуль 200 может программироваться дистанционно посредством сообщения от контроллера 114 технологического процесса или от другого сетевого устройства. Такие программирующие сообщения могут быть получены посредством сообщения интернет-протокола или другого поддерживаемого протокола.
Компоненты, требуемые для создания интерфейсного модуля, известны и доступны. Интегральные схемы, поддерживающие основные протоколы, имеются у коммерческих поставщиков. Аналогично контроллер включает или может включать в себя один или несколько микропроцессоров от коммерческой компании, производящей полупроводниковое оборудование, и может быть запрограммирован на языке, пригодном для данного приложения. Например, приложения, осуществляющие управление, где большое значение имеет фактор времени, могут программироваться на ассемблере, тогда как менее важные приложения, осуществляющие управление, могут программироваться на C. Там, где требуется работа при большой мощности, могут применяться заказные или полузаказные интегральные схемы. Трансляция функций между программным обеспечением и логическими средствами известна специалистам в данной области техники.
Способность подключать множество полевых устройств к одному интерфейсному модулю 200 и реализация множества функциональных модулей 328 технологического процесса для каждого конкретного полевого устройства выводят распределенное управление технологическим процессом на новый уровень сложности. Усовершенствованная система передачи сообщений, возможность изменения назначения и дистанционная перепрограммируемость сочетаются в интерфейсном модуле, способном поддерживать множество полевых устройств и сетевых протоколов.
Были обсуждены и описаны различные варианты осуществления способов и устройств для управления полевыми устройствами при помощи интерфейсного модуля дистанционной обработки и преобразования протоколов. Предполагается, что эти варианты осуществления и другие варианты осуществления, соответствующие настоящему изобретению, найдут применение в различного рода ситуациях, относящихся к управлению технологическим процессом, когда эксплуатирующему пользователю может понадобиться управлять множеством полевых устройств при более низких затратах и более высокой эксплуатационной надежности. Использование принципов и идей, раскрытых в настоящем описании, позволяет усовершенствовать управление технологическим процессом, а также сделать более удобным программирование и подачу предупреждений.
Формула изобретения
1. Интерфейсный модуль для использования в системе управления технологическим процессом, включающей в себя первую сеть, поддерживающую первый протокол, причем первая сеть имеет множество полевых устройств, и вторую сеть, имеющую второй протокол, при этом интерфейсный модуль функционально соединяет первую сеть со второй сетью и интерфейсный модуль содержит первый порт для соединения с первой сетью; второй порт для соединения со второй сетью; и контроллер, функционально подключенный между первым и вторым портом, причем контроллер содержит процессор и память, функционально соединенную с процессором, при этом контроллер запрограммирован: принимать данные, переданные при помощи первого протокола от каждого из упомянутого множества полевых устройств, через первый порт; реализовывать множество функциональных модулей технологического процесса, выполненных с возможностью осуществления функций управления технологическим процессом, причем каждый из упомянутого множества функциональных модулей технологического процесса соответствует соответственно полевому устройству из упомянутого множества полевых устройств, при этом упомянутое множество функциональных модулей технологического процесса обрабатывают данные от своего соответствующего полевого устройства для формирования данных для использования во второй сети; и передавать обработанные данные во вторую сеть при помощи второго протокола через второй порт.
2. Интерфейсный модуль по п.1, в котором первая сеть является локальной сетью контроллеров (CAN).
3. Интерфейсный модуль по п.1, в котором первая сеть является сетью HART.
4. Интерфейсный модуль по п.1, в котором первая сеть является сетью MODbus.
5. Интерфейсный модуль по п.1, в котором вторая сеть является высокоскоростной сетью Ethernet.
6. Интерфейсный модуль по п.1, в котором вторая сеть является высокоскоростной сетью Ethernet FOUNDATION Fieldbus.
7. Интерфейсный модуль по п.1, в котором каждый из упомянутого множества функциональных модулей технологического процесса запрограммирован обрабатывать команды CAN, принятые на первый порт.
8. Интерфейсный модуль п.7, в котором первая сеть является сетью CAN, a вторая сеть является высокоскоростной сетью Ethernet.
9. Интерфейсный модуль по п.1, в котором контроллер запрограммирован реализовывать интерфейс связи для приема сообщения, закодированного согласно первому протоколу, от одного из упомянутого множества полевых устройств.
10. Интерфейсный модуль по п.9, который содержит третий порт, а контроллер запрограммирован реализовывать второй интерфейс связи для приема сообщения, закодированного согласно третьему протоколу, через третий порт.
11. Интерфейсный модуль по п.1, в котором контроллер запрограммирован поддерживать сообщения Интернет-протокола (IP), передаваемые через второй порт.
12. Интерфейсный модуль по п.1, в котором контроллер запрограммирован предоставлять диагностические данные, касающиеся интерфейсного модуля или одного из упомянутого множества полевых устройств.
13. Интерфейсный модуль по п.1, в котором контроллер запрограммирован отправлять сообщение электронной почты через второй порт.
14. Интерфейсный модуль по п.13, в котором сообщение электронной почты содержит сообщение-предупреждение, относящееся к состоянию интерфейсного контроллера или одного из упомянутого множества полевых устройств.
15. Система управления технологическим процессом, содержащая первую сеть, имеющую множество полевых устройств, причем первая сеть поддерживает первый протокол; вторую сеть, поддерживающую второй протокол; и интерфейсный модуль, соединяющий первую сеть со второй сетью, причем интерфейсный модуль выполнен с возможностью: принимать сообщение данных, переданное при помощи первого протокола от каждого из упомянутого множества полевых устройств; выполнять функцию управления технологическим процессом в отношении сообщения данных для формирования преобразованного сообщения; выполнять конвертацию протоколов в отношении преобразованного сообщения и отправлять преобразованное сообщение через вторую сеть.
16. Система управления технологическим процессом по п.15, в которой первая сеть является локальной сетью контроллеров (CAN).
17. Система управления технологическим процессом по п.15, в которой первая сеть является сетью HART.
18. Система управления технологическим процессом по п.15, в которой первая сеть является сетью MODbus.
19. Система управления технологическим процессом по п.15, в которой вторая сеть является высокоскоростной сетью Ethernet.
20. Система управления технологическим процессом по п.15, в которой вторая сеть является высокоскоростной сетью Ethernet FOUNDATION Fieldbus.
21. Система управления технологическим процессом по п.15, в которой один из упомянутого множества функциональных модулей технологического процесса запрограммирован обрабатывать команды CAN, принятые на первый порт.
22. Система управления технологическим процессом по п.15, в которой первая сеть является сетью CAN, а вторая сеть является высокоскоростной сетью Ethernet.
23. Система управления технологическим процессом по п.15, в которой контроллер запрограммирован реализовывать интерфейс связи для приема сообщения, закодированного согласно первому протоколу, от одного из упомянутого множества полевых устройств.
24. Система управления технологическим процессом по п.15, в которой контроллер запрограммирован поддерживать сообщения Интернет-протокола (IP), передаваемые через второй порт.
25. Система управления технологическим процессом по п.15, в которой контроллер запрограммирован предоставлять диагностические данные, касающиеся интерфейсного модуля или одного из упомянутого множества полевых устройств.
26. Система управления технологическим процессом по п.15, в которой контроллер запрограммирован отправлять сообщение электронной почты через второй порт.
27. Система управления технологическим процессом по п.26, в которой сообщение электронной почты содержит сообщение-предупреждение, относящееся к состоянию интерфейсного контроллера или одного из упомянутого множества полевых устройств.
28. Способ применения интерфейсного модуля для управления данными от множества полевых устройств при обмене данными между двумя сетями управления технологическим процессом, имеющими различные протоколы связи, содержащий этапы, на которых назначают функциональный модуль технологического процесса каждому из упомянутого множества полевых устройств; принимают данные от каждого из упомянутого множества полевых устройств; декодируют данные при помощи сетевого протокола, соответствующего этому каждому из упомянутого множества полевых устройств; обрабатывают данные посредством функционального модуля технологического процесса, соответствующего этому каждому из упомянутого множества полевых устройств, для получения результата обработки данных; преобразуют результат обработки данных к другому сетевому протоколу; отправляют результат обработки данных при помощи этого другого сетевого протокола.
29. Способ по п.28, в котором декодирование согласно первому сетевому протоколу является декодированием согласно протоколу сети CAN.
30. Способ по п.28, в котором декодирование согласно первому сетевому протоколу является декодированием согласно протоколу сети HART.
31. Способ по п.28, в котором декодирование согласно сетевому протоколу содержит декодирование согласно протоколу сети 4-20 мА.
32. Способ п.28, в котором упомянутый другой сетевой протокол является протоколом высокоскоростной сети Ethernet.
33. Способ по п.28, в которой упомянутый другой сетевой протокол является протоколом высокоскоростной сети Ethernet FOUNDATION Fieldbus.
34. Способ по п.28, в котором при преобразовании результата обработки данных к другому сетевому протоколу выполняют преобразование результата обработки данных к протоколу высокоскоростной сети Ethernet.
35. Способ по п.28, в котором при обработке данных функциональным модулем технологического процесса применяют к данным алгоритм, специфический для конкретного полевого устройства, для получения результата обработки данных.
36. Способ по п.28, дополнительно содержащий этап, на котором принимают сообщения Интернет-протокола для конфигурирования интерфейсного модуля.
37. Способ по п.28, дополнительно содержащий этап, на котором отправляют сообщение Интернет-протокола, относящееся к состоянию интерфейсного модуля.
38. Способ по п.28, дополнительно содержащий этап, на котором отправляют сообщение электронной почты, относящееся к состоянию интерфейсного модуля.
39. Способ по п.28, дополнительно содержащий этап, на котором отправляют сообщение электронной почты, относящееся к состоянию каждого из упомянутого множества полевых устройств.
РИСУНКИ
|
|