|
|
(21), (22) Заявка: 2008108816/28, 24.11.2005
(24) Дата начала отсчета срока действия патента:
24.11.2005
(30) Конвенционный приоритет:
09.08.2005 CN 200510036399.X
(43) Дата публикации заявки: 20.09.2009
(46) Опубликовано: 10.06.2010
(56) Список документов, цитированных в отчете о поиске:
CN 1556439 А, 22.12.2004. US 5419520 А, 30.05.1995. US 5785286 А, 28.07.1998. DE 9016714 U1, 28.02.1991. SU 565275 А, 15.07.1977. US 6550726 В1, 22.04.2003.
(85) Дата перевода заявки PCT на национальную фазу:
11.03.2008
(86) Заявка PCT:
CN 2005/001990 20051124
(87) Публикация PCT:
WO 2007/016826 20070215
Адрес для переписки:
103735, Москва, ул. Ильинка, 5/2, ООО “Союзпатент”, пат.пов. Ю.В.Пинчуку
|
(72) Автор(ы):
ЙАНГ Йонгцзиан (CN)
(73) Патентообладатель(и):
ЙАНГ Йонгцзиан (CN)
|
(54) ПАНОРАМНАЯ ШТАТИВНАЯ ГОЛОВКА ДЛЯ КАМЕРЫ С ДВУХКЛЕММНЫМ ФИКСИРУЮЩИМ СОЕДИНИТЕЛЕМ
(57) Реферат:
Заявленное изобретение относится к панорамным штативным головкам для фотокамер с зажимным механизмом. Заявленная панорамная головка для камеры с двухклеммным фиксирующим соединителем содержит сферу, снабженную держателем сферы, корпус панорамной головки, установленный на сфере, и рукоятку. Также панорамная головка содержит быстросъемный соединитель, при этом в верхней части быстросъемного соединителя расположено крепежное средство для закрепления камеры в панорамной головке. Быстросъемный соединитель содержит функциональные элементы, которые содержат левую клемму (18), правую клемму (17), маятниковый рычаг (16), серьгу (15), пружину кручения (19), пружину сжатия (08) и подбрасывающий рычаг (07). Расположенный в нижней части держателя сферы поворотный механизм связан в нижней части со штативом посредством гайки. Технический результат – создание панорамной головки для фотокамеры, которая легка в управлении, компактна, легко вращается, легко настраивается на разные углы съемки, имеет хорошее усилие зажима, малый объем и высокую надежность. 5 з.п. ф-лы, 5 ил.
Область техники, к которой относится изобретение
Настоящее изобретение относится к панорамным штативным головкам для камер с фиксирующим механизмом, в частности к головкам, имеющим фиксирующий механизм с двумя клеммами, квадратный ориентирующий соединитель и поворотный стол. Изобретение относится к фотографическому оборудованию.
Уровень техники
Между камерой и штативом необходимо иметь соединительное средство, поворотный стол и поворотную платформу. Эти типы устройств обычно имеют большие размеры, малоподвижны после соединения их с фотокамерой и неудобны при переноске. Кроме того, отсутствует фиксация ориентации, камера легко разбалтывается и не закреплена. Основу шаровой головки фотокамеры составляет 3D опора и противоположная ей головка со сферической поверхностью. Такая головка нуждается в регулировке по трем разным направлениям, что замедляет процесс и неудобно при съемке быстро исчезающих объектов. При этом сферическая поверхность шаровой головки обращена вниз, панорамная головка фиксируется на опоре фотокамеры, а сама фотокамера фиксируется уже на этой сфере. Конструкция такого рода имеет такие недостатки, как сложность ее установки, недостаточное фиксирующее усилие и низкая устойчивость. При больших углах регулировки головок такого типа необходима регулировка по двум направлениям, что неудобно для пользователя. Когда фотокамера устанавливается на штативе, весьма сложно проводить съемку под разными углами. Необходимо часто менять положение рукоятки для достижения цели. Заявитель Янг Йонгчжан изобрел головку для фотокамеры, снабженную быстросъемным соединителем (см. патентный документ CN 2004100150039). Эта панорамная головка для фотокамеры с быстросъемным соединителем имеет компактную конструкцию, обладающую высокой надежностью, и обеспечивает возможность вести непрерывную фотосъемку под разными углами. Однако этот узел панорамной головки имеет такие недостатки, как низкое фиксирующее усилие, большой объем и малый ход рукоятки. Ее надежность и устойчивость нуждаются в дальнейшем улучшении.
Цель изобретения
Целью настоящего изобретения является создание панорамной головки для камеры, которая содержит фиксирующий механизм с двумя клеммами. Эта панорамная головка содержит две фиксирующие клеммы, квадратное соединительное средство и поворотный стол. Эта панорамная головка является быстросъемной, легка в управлении, компактна, легко вращается, легко настраивается на разные углы съемки, имеет хорошее усилие зажима, малый объем и высокую надежность.
Краткое изложение существа изобретения
Цель настоящего изобретения достигается следующим путем.
Предлагаемая панорамная головка содержит соединитель с двумя фиксирующими клеммами, квадратное соединительное средство и поворотный стол, при этом панорамная головка содержит сферу с держателем сферы и рукоятку, при этом корпус панорамной головки установлен на этой сфере. Панорамная головка вместе с рукояткой своим корпусом устанавливается на сферу. Кроме этого предусмотрено резьбовое соединение, связывающее головку со штативом, и соединитель в верхней части головки, где установлены функциональные элементы, предназначенные для фиксации крепежного средства в головке, содержащие фиксирующий механизм с двумя клеммами, состоящий из левой и правой клемм, маятникового рычага, защелки и пружины кручения; с одной стороны панорамная головка снабжена удлиняемой телескопической рукояткой, а под корпусом панорамной головки расположен поворотный стол; в соединитель устанавливается крепежное средство для соединения камеры с головкой.
Упомянутые функциональные элементы соединителя включают:
левую и правую клеммы, маятниковый рычаг, серьгу, пружину кручения, пружину сжатия и подбрасывающий рычаг. Отверстие, выполненное посредине левой и правой клеммы, фиксирует их относительно корпуса панорамной головки посредством оси, благодаря чему они могут поворачиваться. Своими передними концами указанные клеммы поджимаются посредством пружины кручения, а к заднему концу этих клемм соответствующее усилие может быть приложено пользователем вручную. Верх правой клеммы шарнирно соединен осью с серьгой. Отверстие, выполненное посредине маятникового рычага, обеспечивает крепление его к корпусу панорамной головки на оси, что позволяет ему поворачиваться. Отверстие, выполненное на переднем конце маятникового рычага, обеспечивает его шарнирное соединение с серьгой. В нижней части маятникового рычага напротив клеммы имеется углубление. При осуществлении фиксации происходит зацепление этого углубления за выступающую часть левой клеммы, благодаря чему обеспечивается соединение, препятствующее их разъединению. Это углубление и выступающая часть при их разъединении отходят друг от друга. На одном из концов подбрасывающего рычага имеется отверстие для соединения посредством оси с крышкой. Пружина сжатия установлена в углублении, имеющемся посредине подбрасывающего рычага, тогда как своей верхней поверхностью этот рычаг касается нажимного штифта. Когда левая и правая клеммы раскрыты, подбрасывающий рычаг поворачивается вверх под воздействием пружины сжатия и упирается в левую клемму. Правая клемма будет при этом оставаться в раскрытом положении, тогда как нажимной штифт будет находиться в крайнем верхнем своем положении и упираться в подбрасывающий рычаг.
Упомянутый поворотный стол снабжен фиксирующимся механизмом, который может быстро блокировать или же освобождать поворотный стол посредством стопора.
Крепежное средство посредством резьбового соединения и клейкой пластины, приклеиваемой к квадратной пластине, является средством, осуществляющим подсоединение к фотокамере. Резьбовое соединение проходит в отверстие в квадратной пластине. Когда фотокамера зафиксирована на панорамной головке, коническая поверхность крепежного средства прижмется к коническим поверхностям левой и правой клемм.
Изобретение обладает следующими достоинствами:
Данное изобретение имеет компактную конструкцию, большое фиксирующее усилие, свободно поворачивается, позволяет проводить фотосъемку под разными углами, имеет небольшой объем, легко в обращении, имеет многоцелевое назначение и быстро крепится к различным разновидностям камер и штативов. Большое фиксирующее усилие, создаваемое двумя клеммами, обеспечивает камере с длинным объективом возможность установки ее под углом в 45°. Рукоятка представляет собой удлиняемую телескопическую рукоятку, реализующую большой крутящий момент.
Краткое описание чертежей:
фиг.1 – боковой вид в сечении устройства в соответствии с настоящим изобретением;
фиг.2 – общий вид двухклеммного зажимного соединителя;
фиг.3 – вид, иллюстрирующий конструктивное выполнение рукоятки;
фиг.4 – поперечное сечение по линии А-А на фиг.3;
фиг.5 – деталировка двухклеммного зажимного соединителя.
Осуществление изобретения
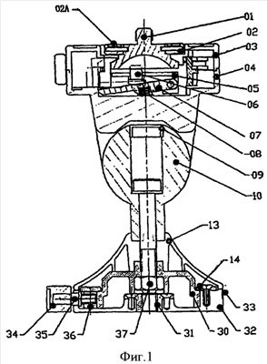
Как показано на фиг.1-5, изобретение представляет собой панорамную головку для камеры, имеющую фиксирующее приспособление с двумя клеммами, квадратный соединительный узел, поворотный стол и выдвижную телескопическую рукоятку, при этом панорамная головка содержит три основные части: соединитель, панорамную головку и поворотный узел, расположенный под панорамной головкой. На днище поворотного стола предусмотрено наличие соединительной гайки, закрепляющей его на штативе. В верхней части соединителя имеется квадратная пластина 02 и крепежное средство 01, соединяемое с камерой при ее использовании. Связь крепежного средства с камерой осуществляется посредством резьбы, благодаря чему, а также за счет наличия впадины на поверхности квадратной пластины 02 обеспечивается надежная фиксация камеры, панорамной головки и штатива.
Панорамная головка содержит сферу 10, корпус 04 панорамной головки и рукоятку 26. Фиксирующий соединитель состоит из деталей, расположенных между коробчатым кожухом 03 и корпусом 04 панорамной головки. Детали упомянутого соединителя панорамной головки представлены на фиг.2. Отверстия, выполненные посредине левой клеммы 18 и правой клеммы 17, обеспечивают подвижное соединение их посредством оси, неподвижно закрепленной на корпусе 04 панорамной головки. Отверстия на обоих концах серьги 15 подвижно связаны с правой 18 и левой 17 клеммами. Углубление в нижней части маятникового рычага 16 контактирует с верхом левой клеммы. Возвратные пружины кручения 19 постоянно поджимают левую и правую клеммы. Как показано на фиг.3, подбрасывающий рычаг 07 соединен с крышкой 05 при помощи оси, при этом его верх контактирует с нажимным штифтом 06, серединой своей нижней части рычаг 07 сжимает пружину 08 сжатия, а своим концом контактирует с клеммой 18. Когда камера нажимает на рабочую поверхность панорамной головки, крепежное средство, соединенное с камерой, нажимает на нажимной штифт 06, который в свою очередь перемещает вниз подбрасывающий рычаг 07. Верхний конец подбрасывающего рычага 07 отойдет от левой клеммы 18. Под действием усилия пружин кручения 19 левая и правая клеммы переместятся и будут прижаты к конической поверхности крепежного средства, так что углубление маятникового рычага будет связано с левой клеммой 18 соединением типа «зуб-впадина», обеспечивая блокировку маятникового рычага и серьги 15 и фиксацию соединителя.
Как показано на фиг.3, удлиняемая телескопическая рукоятка состоит из рукоятки 26, перемещаемой рукоятки 28 и клеящегося покрытия 29 для рукоятки. Перемещаемая рукоятка 28 смонтирована на рукоятке 26 и закрывается клеящимся покрытием 29. Рукоятка 26 снабжена шпонкой, а выдвижная рукоятка снабжена пазом. Шпонка на рукоятке 26 и паз в выдвижной рукоятке 27 связаны шпонкой 27, обеспечивающей передачу вращательного движения. За счет перемещения винта 25, микрорегулировочной гайки 24, гайки 23, пружины 22 и износостойкого блока 21, усилие от рукоятки 26 и перемещаемой рукоятки 28 передается на левый позиционирующий блок 20. Рукоятка 26 перемещает винт 25, нажимая стальной шарик на его конце, и далее нажимает левый позиционирующий блок 20 так, что сфера 10 плотно зажимается в корпусе 04 панорамной головки. С правой стороны от сферы 10 расположен правый позиционирующий блок и позиционирующая гайка, противоположно аналогичным левым элементам. С помощью микрорегулировочной гайки 24, установленной в рукоятке 26, можно регулировать амортизацию при вращении на сфере 10. Когда необходимо увеличить поворот рукоятки, перемещаемая рукоятка 28 может быть смещена относительно рукоятки 26 по направляющей шпонке 27. Таким образом, габаритная длина рукоятки увеличивается, что позволяет также увеличить длину дуги при повороте. И тогда пользователю легче повернуть рукоятку за счет большего плеча приложения силы.
Под сферой панорамной головки расположен ориентируемый стол 30. Поворотный стол (13) закреплен между указанным держателем сферы и ориентируемым столом (30) болтом и гайкой, ориентируемым стол (30) расположен во внутренней полости корпуса (32) посредством ориентирующего кольца (14), а шкала (33) приклеена в пазу корпуса (32).
Ориентируемый стол 30 располагается внутри корпуса 32 поворотного стола посредством ориентирующего кольца 14. Ориентирующий штифт 34 установлен с одной стороны основания 32 при помощи винта 35 и фиксирующей пластины 36. Ослаблением и подтягиванием штифта 34 можно изменять угол поворота ориентируемого стола 30. На верху сквозного круглого отверстия в сфере 10 установлен колпачок 09 для защиты от пыли.
Изобретение работает, как указывается ниже:
1. Плотное прилегание крепежного средства к днищу фотокамеры обеспечивается с помощью квадратной пластины 02 и клейкой пластины 02А. Пластина 02 выполняется квадратной или многогранной. Клейкая пластина обеспечивает защиту дна камеры и увеличивает трение. Когда крепежное средство нажимает на нажимной штифт 06 в направлении вниз, квадратная пластина располагается в коробчатом кожухе 03. Нажимной штифт 06 нажимает на подбрасывающий рычаг 07, который затем перемещается и отделяется от левой клеммы 18. Левая 18 и правая 17 клеммы перемещаются и прижимаются к конической поверхности под воздействием пружин кручения 19, в результате чего камера будет плотно зафиксирована на панорамной головке.
2. Перемещаемая рукоятка 28 имеет паз, в который входит шпонка. Посредством направляющей шпонки 27 поворот рукоятки 28 переместит винт 25 вперед. Стальной шарик (std 7) нажмет на износостойкий блок 21 и сфера 10 будет плотно сжата нажимным блоком 20.
3. Микрорегулировочная гайка 24 прижимается к гайке 23, и при этом гайка 23 плотно прижимается к пластинчатой пружине 22. Сняв части 26, 27, 28 и 29 рукоятки и соответственно поворачивая микрорегулировочную гайку 24, можно предварительно установить усилие в зависимости от веса камеры. Когда микрорегулировочную гайку проворачивают в противоположном направлении, винт (std 4) контактирует со штифтом (std 3) и микрорегулировочная гайка останавливается, исключая самопроизвольное ослабление.
4. С целью увеличения блокировочного усилия можно увеличить длину рукоятки, вытягивая части 26, 27, 28 и 29 рукоятки. Этот механизм является быстродействующим и весьма легок в обращении.
5. Для быстрой установки ориентируемого стола 30 в нужном положении, нужно нажать на ориентирующий штифт 34, и тогда винт переместиться, нажимая при этом на фиксирующую пластину 36, которая также начнет двигаться, поворачивая ориентирующее кольцо 14. Когда требуется осуществить панорамирование в пределах 360°, необходимо лишь отжать штифт 34.
Формула изобретения
1. Панорамная головка для камеры с двухклеммным фиксирующим соединителем, содержащая сферу, снабженную держателем сферы, корпус панорамной головки, установленный на сфере и рукоятку, отличающаяся тем, что содержит быстросъемный соединитель, функциональные элементы которого расположены между коробчатым кожухом (03) и корпусом (04) панорамной головки, при этом в верхней части быстросъемного соединителя расположено крепежное средство для закрепления камеры в панорамной головке, а упомянутые функциональные элементы быстросъемного соединителя содержат левую клемму (18), правую клемму (17), маятниковый рычаг (16), серьгу (15), пружину кручения (19), пружину сжатия (08) и подбрасывающий рычаг (07); левая клемма (18) и правая клемма (17) в своих центральных частях шарнирно соединены посредством штифта, закрепленного в корпусе панорамной головки (04); один конец левой клеммы (18) и правой клеммы (17) подпружинен пружиной кручения (19); другой конец левой клеммы (18) и правой клеммы (17) расположены с возможностью ручного приложения усилия со стороны пользователя; левая клемма (18) и правая клемма (17) шарнирно связаны посредством серьги (15), в свою очередь шарнирно связанной с маятниковым рычагом (16), в котором выполнено углубление, расположенное напротив выступа, выполненного в левой клемме (18), что обеспечивает их относительную фиксацию типа «зуб-впадина»; один конец подбрасывающего рычага (07) шарнирно связан с крышкой (05); пружина сжатия (08) расположена в углублении в центральной части подбрасывающего рычага (07), а его верхняя поверхность контактирует с нажимным штифтом (06), при этом, когда камера установлена на крепежное средство последнее нажимает на нажимной штифт (06), который в свою очередь нажимает вниз на подбрасывающий рычаг (07), обеспечивая прекращение контакта верхнего конца подбрасывающего рычага (07), с левой клеммой (18), которая под действием пружины кручения (19) поворачивается и прижимается к конической поверхности крепежного средства, фиксируя камеру на панорамной головке, расположенный в нижней части держателя сферы поворотный механизм, связанный в нижней части со штативом посредством гайки.
2. Панорамная головка для камеры по п.1, в которой рукоятка (26) выполнена телескопической и содержит перемещаемую рукоятку (28) с приклеенным покрытием (29), расположенную поверх рукоятки (26), при этом рукоятка (26) и перемещаемая рукоятка (28) образуют шпоночное соединение с направляющей шпонкой (27), с возможностью передачи вращения.
3. Панорамная головка для камеры по п.1, в которой поворотный механизм содержит поворотный стол (13), корпус (32), шкалу (33) и ориентируемый стол (30), при этом поворотный стол (13) закреплен между указанным держателем сферы и ориентируемым столом (30) болтом и гайкой, ориентируемый стол (30) расположен во внутренней полости корпуса (32) посредством ориентирующего кольца (14), а шкала (33) приклеена в пазу корпуса (32).
4. Панорамная головка для камеры по п.3, в которой с одной стороны корпуса (32) расположен ориентирующий штифт (34) с винтом (35) и фиксирующей пластиной (36), посредством которых упомянутый ориентируемый стол (30) фиксируется или расфиксируется ориентирующим штифтом (34).
5. Панорамная головка для камеры по п.1, в которой крепежное средство связано с многогранной пластиной (02) и в нижней лицевой части снабжено пазом для вкручивания крепежного средства с нижней стороны камеры, а многогранная пластина (02) снабжена клейкой пластиной (02).
6. Панорамная головка для камеры по п.1, в которой многогранная пластина (02) выполнена квадратной.
РИСУНКИ
|
|