|
|
(21), (22) Заявка: 2007115881/28, 26.08.2005
(24) Дата начала отсчета срока действия патента:
26.08.2005
(30) Конвенционный приоритет:
27.09.2004 US 60/613,264 22.07.2005 US 11/187,784
(43) Дата публикации заявки: 10.11.2008
(46) Опубликовано: 10.06.2010
(56) Список документов, цитированных в отчете о поиске:
US 2003160919 A1, 28.08.2003. EP 1389775 A, 18.02.2004. JP 2003188959 A, 04.07.2003. US 6055090 A, 25.04.2000.
(85) Дата перевода заявки PCT на национальную фазу:
27.04.2007
(86) Заявка PCT:
US 2005/030441 20050826
(87) Публикация PCT:
WO 2006/036415 20060406
Адрес для переписки:
129090, Москва, ул.Б.Спасская, 25, стр.3, ООО “Юридическая фирма Городисский и Партнеры”, А.В.Мицу
|
(72) Автор(ы):
СЕМПСЕЛЛ Джеффри Б. (US)
(73) Патентообладатель(и):
АйДиСи, ЭлЭлСи (US)
|
(54) СДВОЕННЫЙ ДИСПЛЕЙ С ОСВЕТИТЕЛЬНОЙ СБОРКОЙ ДЛЯ ЗАДНЕЙ ПОДСВЕТКИ ОДНОЙ ПАНЕЛИ И ДЛЯ ПЕРЕДНЕЙ ПОДСВЕТКИ ДРУГОЙ ПАНЕЛИ
(57) Реферат:
Изобретение относится к микроэлектромеханическим системам (MEMS). Техническим результатом изобретения является изменение оптической интерференции падающего на интерферометрический модулятор света и упрощение конструкции устройства отображения. Раскрыты различные устройства и способы подсветки дисплея. В одном из вариантов осуществления устройство отображения включает в себя дисплей, работающий на пропускание, сконфигурированный, чтобы подсвечиваться через заднюю поверхность; отражательный дисплей, сконфигурированный, чтобы подсвечиваться через переднюю поверхность; источник света, расположенный относительно задней стороны дисплея, работающего на пропускание; световод, расположенный относительно источника света таким образом, чтобы принимать свет из источника света, и сконфигурирован для распространения упомянутого света из условия, чтобы этот свет обеспечивал переднюю подсветку отражательного дисплея. 10 н. и 62 з.п. ф-лы, 24 ил.
Уровень Техники
Область техники, к которой относится изобретение
Область техники изобретения относится к микроэлектромеханическим системам (MEMS).
Описание предшествующей технологии
Микроэлектромеханические системы (MEMS) включают в себя микромеханические элементы, приводы и электронные схемы. Микромеханические элементы могут создаваться с использованием напыления, травления и/или других процессов микрообработки, которые вытравливают части подложек и/или осажденных слоев материала, или которые добавляют слои, для формирования электрических и электромеханических устройств. Один из типов MEMS-устройств назван интерферометрическим модулятором. В качестве используемого в материалах настоящей заявки термин интерферометрический модулятор или интерферометрический модулятор света относится к устройству, которое избирательно поглощает и/или отражает свет, используя принципы оптической интерференции. В некоторых вариантах осуществления, интерферометрический модулятор может содержать пару проводящих пластин, одна или обе из которых могут быть прозрачными и/или отражающими полностью или частично и выполненными с возможностью относительного перемещения при приложении соответствующего электрического сигнала. В конкретном варианте осуществления одна пластина может содержать неподвижный слой, нанесенный на подложку, а другая пластина может содержать металлическую мембрану, отделенную от неподвижного слоя воздушным зазором. Как более подробно описано в материалах настоящей заявки, расположение одной пластины относительно другой может изменять оптическую интерференцию света, падающего на интерферометрический модулятор. Такие устройства имеют широкий диапазон применений и были бы полезными в данной области техники для использования и/или модифицирования характеристики этих типов устройств, для того чтобы их признаки могли применяться при улучшении существующих изделий и создании новых изделий, которые еще не были разработаны.
Сущность некоторых вариантов осуществления
Каждые система, способ и устройства согласно изобретению содержат некоторые аспекты, ни один из которых, взятый в отдельности, не отвечает только за свои желательные свойства. Без ограничения объема этого изобретения, далее будут кратко обсуждены его наиболее существенные признаки. После рассмотрения этого описания, а более точно после прочтения раздела, озаглавленного «Подробное описание некоторых вариантов осуществления», будет понятно, каким образом признаки этого изобретения обеспечивают преимущества над другими устройствами отображения.
Изобретение включает в себя системы отображения и способы подсветки дисплея. Один из вариантов осуществления включает в себя устройство отображения, которое включает в себя пропускной дисплей, т.е. работающий на пропускании света, содержащий переднюю поверхность и заднюю поверхность, пропускной дисплей сконфигурирован, чтобы подсвечиваться через заднюю поверхность, отражательный дисплей, содержащий переднюю поверхность и заднюю поверхность, упомянутый отражательный дисплей сконфигурирован, чтобы подсвечиваться через переднюю поверхность, источник света, расположенный относительно задней стороны пропускного дисплея, для подсветки пропускного дисплея через заднюю поверхность, и световод, расположенный относительно источника света, для приема от него света, световод сконфигурирован для распространения света из условия, чтобы свет обеспечивал переднюю подсветку отражательного дисплея.
Еще один вариант осуществления включает в себя способ изготовления устройства отображения, содержащего отражательный дисплей, пропускной дисплей и источник света, отражательный и пропускной дисплеи являются расположенными во встречно-параллельной конфигурации, способ содержит расположение источника света относительно задней части пропускного дисплея для подсветки пропускного дисплея через заднюю сторону, расположение световода относительно источника света для приема света от него, и расположение отражательного дисплея относительно световода, из условия, чтобы свет, выходящий из световода, обеспечивал переднюю подсветку для отражательного дисплея. Еще один другой вариант осуществления включает в себя устройство отображения, изготовленное таким способом.
Еще один вариант осуществления включает в себя устройство отображения, которое включает в себя первый отражательный дисплей, включающий в себя поверхность обзора и заднюю поверхность, второй отражательный дисплей, включающий в себя поверхность обзора и заднюю поверхность, задняя поверхность первого дисплея расположена по существу противостоящей задней поверхности второго дисплея и размещена рядом с задней поверхностью второго дисплея, источник света и световод, присоединенный к источнику света и присоединенный к кромке или поверхности обоих, первого и второго, дисплеев, чтобы передавать свет, излучаемый из источника света, на участок поверхности обзора обоих, первого и второго, дисплеев, подсвечивая первый и второй дисплей. Еще один вариант осуществления включает в себя устройство отображения, содержащее первое средство для отображения изображения, первое средство отображения содержит переднюю поверхность и заднюю поверхность, первое средство отображения сконфигурировано, чтобы подсвечиваться через заднюю поверхность, средство для подсветки первого средства отображения через заднюю поверхность, второе средство для отображения изображения, содержащее переднюю поверхность и заднюю поверхность, второе средство отображения сконфигурировано, чтобы подсвечиваться через переднюю поверхность, и средство для подсветки второго средства отображения через переднюю поверхность второго средства отображения, при этом средство подсветки для второго средства отображения использует свет из средства подсветки для первого средства отображения.
Еще один вариант осуществления включает в себя способ формирования изображений. В этом способе изображение отображается на пропускном дисплее, содержащем переднюю поверхность и заднюю поверхность. Пропускной дисплей подсвечивается через заднюю поверхность с использованием источника света. Изображение также отображается на отражательном дисплее, содержащем переднюю поверхность и заднюю поверхность. Отражательный дисплей подсвечивается через переднюю поверхность с использованием источника света.
Еще один вариант осуществления устройства отображения содержит первый и второй отражательные дисплеи, источник света и световод. Первый отражательный дисплей содержит поверхность обзора и заднюю поверхность. Второй отражательный дисплей также содержит поверхность обзора и заднюю поверхность. Задняя поверхность первого дисплея расположена по существу противостоящей задней поверхности второго дисплея и размещена у задней поверхности второго дисплея. Световод оптически присоединен к источнику света, а также оптически присоединен к кромке или поверхности обоих, первого и второго, дисплеев для передачи света, излучаемого из источника света, на участок поверхности обзора обоих, первого и второго, дисплеев, подсвечивая первый и второй дисплеи.
Еще один вариант осуществления содержит способ изготовления устройства отображения. В этом способе предусмотрен первый отражательный дисплей, содержащий поверхность обзора и заднюю поверхность. Также предусмотрен второй отражательный дисплей, содержащий поверхность обзора и заднюю поверхность. Задняя поверхность первого дисплея расположена по существу противостоящей задней поверхности второго дисплея и размещена у задней поверхности второго дисплея. Дополнительно предусмотрены источник света и световод. Световод оптически присоединен к источнику света, а также оптически присоединен к торцу или поверхности обоих, первого и второго, дисплеев для передачи света, излучаемого из источника света, на участок поверхности обзора обоих, первого и второго, дисплеев, подсвечивая первый и второй дисплеи.
Еще один вариант осуществления включает в себя способ подсветки устройства, содержащего первый отражательный дисплей, имеющий поверхность обзора и заднюю поверхность, и второй отражательный дисплей, имеющий поверхность обзора и заднюю поверхность. Задняя поверхность первого дисплея расположена по существу противостоящей задней поверхности второго дисплея и размещена у задней поверхности второго дисплея. Способ содержит излучение света из источника света, собирание излучаемого света из источника света и подачу собранного света на участок поверхности обзора первого и второго дисплеев для подсветки дисплеев.
Еще один вариант осуществления включает в себя устройство отображения, включающее в себя первое средство для отображения, содержащее поверхность обзора и заднюю поверхность, второе средство для отображения, содержащее поверхность обзора и заднюю поверхность, задняя поверхность первого средства отображения расположена по существу противостоящей и размещенной у задней поверхности второго средства отображения, средство для предоставления света и средство для распространения света из средства предоставления света на первое средство отображения и второе средство отображения для подсветки первого средства отображения и второго средства отображения.
КРАТКОЕ ОПИСАНИЕ ЧЕРТЕЖЕЙ
Фиг.1 – вид в изометрии, изображающий участок одного из вариантов осуществления дисплея с интерферометрическими модуляторами, в котором подвижный отражающий слой первого интерферометрического модулятора находится в отпущенном положении, а подвижный отражающий слой второго модулятора находится в сработанном положении.
Фиг.2 – структурная схема системы, иллюстрирующая один из вариантов осуществления электронного устройства, включающего в себя дисплей 3×3 с интерферометрическим модулятором.
Фиг.3 – диаграмма положения подвижного зеркала в зависимости от приложенного электрического напряжения для одного из примерных вариантов осуществления интерферометрического модулятора по фиг.1.
Фиг.4 – иллюстрация набора напряжений строк и столбцов, которые могут использоваться для управления дисплеем с интерферометрическими модуляторами.
Фиг.5А иллюстрирует один примерный кадр данных отображения на дисплее 3×3 с интерферометрическим модулятором по фиг.2.
Фиг.5В иллюстрирует одну примерную временную диаграмму для строчных и столбцовых сигналов, которые могут использоваться для записи кадра по фиг.5А.
Фиг.6A и 6B – структурные схемы системы, иллюстрирующие вариант осуществления устройства визуального отображения, содержащего множество интерферометрических модуляторов.
Фиг.7A – поперечное сечение устройства по фиг.1.
Фиг.7B – поперечное сечение альтернативного варианта осуществления интерферометрического модулятора.
Фиг.7С – поперечное сечение другого альтернативного варианта осуществления интерферометрического модулятора.
Фиг.7D – поперечное сечение еще одного другого альтернативного варианта осуществления интерферометрического модулятора.
Фиг.7E – поперечное сечение дополнительного альтернативного варианта осуществления интерферометрического модулятора.
Фиг.8 – вид, схематично иллюстрирующий мобильный телефон со створчатой конструкцией, который включает в себя вспомогательный дисплей, расположенный на внешней поверхности створки.
Фиг.9 – вид, схематично иллюстрирующий мобильный телефон со створчатой конструкцией, который включает в себя основной дисплей, расположенный на внутренней поверхности створки.
Фиг.10 – вид, схематично иллюстрирующий поперечное сечение источника задней подсветки, расположенного между основным дисплеем и вспомогательным дисплеем.
Фиг.11 – вид, схематично иллюстрирующий области выхода света на поверхности источника задней подсветки.
Фиг.12 – поперечное сечение, схематично иллюстрирующее устройство отображения, которое включает в себя источник подсветки, сконфигурированный для подсветки отражательного вспомогательного дисплея и основного дисплея, который является пропускающим.
Фиг.13A схематично изображает вид спереди варианта осуществления устройства отображения, которое включает в себя вспомогательный дисплей, подсвечиваемый источником подсветки через кольцеобразный световод, который подает свет на все стороны вспомогательного дисплея.
Фиг.13B схематично изображает вид в перспективе кольцеобразного световода, источника подсветки и вспомогательного дисплея по фиг.13A.
Фиг.13C схематично изображает вид в перспективе кольцеобразного световода по фиг.13A.
Фиг.14 – вид в поперечном сечении, схематично иллюстрирующий вариант осуществления устройства отображения, содержащего источник подсветки, который подсвечивает отражательный дисплей с использованием световода.
Фиг.15 – вид в поперечном сечении, схематично иллюстрирующий вариант осуществления устройства отображения, которое включает в себя источник подсветки, который обеспечивает подсветку вспомогательного дисплея через заднюю пластину, сконфигурированную в качестве световода.
Фиг.16 – вид в поперечном сечении, схематично иллюстрирующий вариант осуществления устройства отображения, которое включает в себя источник подсветки, который обеспечивает подсветку вспомогательного дисплея через заднюю пластину, сконфигурированную в качестве световода и материала оптического соединения.
Фиг.17 – вид в поперечном сечении, схематично иллюстрирующий вариант осуществления устройства отображения, которое включает в себя по существу оптически пропускной компонент, расположенный перед отражательным дисплеем.
Фиг.18 – вид в поперечном сечении, схематично иллюстрирующий вариант осуществления устройства отображения, подсвечиваемого светом, падающим на переднюю поверхность дисплея.
Фиг.19 – вид в поперечном сечении, схематично иллюстрирующий вариант осуществления устройства отображения, подсвечиваемого светом, распространяемым регулируемым образом на переднюю поверхность дисплея.
Фиг.20 – вид в поперечном сечении, схематично иллюстрирующий вариант осуществления устройства отображения, содержащего первую и вторую задние пластины, которые передают свет на первый и второй отражательные дисплеи, соответственно.
Фиг.21 схематично изображает пример пространственного модулятора света, обладающего элементами рассеяния или точками подсветки.
Фиг.22 схематично изображает вариант осуществления конфигураций точек подсветки, используемой с источником задней подсветки.
Фиг.23 схематично изображает варианты осуществления возможных положений массива точек подсветки.
Фиг.24 – блок-схема последовательности операций способа, показывающая разные способы для изготовления пространственного модулятора света с точками подсветки.
Подробное описание некоторых вариантов осуществления
Последующее подробное описание направлено на некоторые отдельные варианты осуществления изобретения. Однако изобретение может быть воплощено множеством различных способов. В этом описании делается ссылка на чертежи, на всем протяжении которых одинаковые части обозначены идентичными позициями. Как будет очевидно из последующего описания, изобретение может быть реализовано в любом устройстве, которое сконфигурировано для отображения изображения как в движении (например, видео), так и неподвижного (например, статического изображения), и как текстового, так и графического. Более точно, предполагается, что варианты осуществления могут быть реализованы в или ассоциативно связаны с многообразием электронных устройств, таких как, но не в качестве ограничения, мобильные телефоны, беспроводные устройства, персональные цифровые секретари (PDA), карманные или портативные компьютеры, GPS-приемники/навигаторы (глобальной системы определения местоположения), камеры, MP3-проигрыватели, записывающие видеокамеры, игровые консоли, наручные часы, настенные часы, калькуляторы, телевизионные мониторы, дисплеи с плоским экраном, компьютерные мониторы, автомобильные дисплеи (например, дисплей одометра и т.п.), кабинные средства управления и/или дисплеи, дисплей видоискателей камер (например, дисплей камеры заднего вида на транспортном средстве), электронные фотографии, электронные стенды и знаки, проекторы, архитектурные сооружения, конструктивное оформление и эстетические конструкции (например, дисплеи изображений образцов ювелирных изделий). MEMS-устройства в конструкции, подобной описанным в материалах настоящей заявки, также могут использоваться в не связанных с отображением применениях, таких как устройства электронной коммутации.
Различные варианты осуществления, описанные в материалах настоящей заявки, включают в себя устройства и способы подсветки дисплея с использованием источника света и световодов. В одном из вариантов осуществления устройство отображения, например, включает в себя передающий дисплей, сконфигурированный, чтобы подсвечиваться через заднюю поверхность, и отражательный дисплей, сконфигурированный, чтобы подсвечиваться через переднюю поверхность. Устройство отображения включает в себя одиночный источник света, расположенный между пропускным дисплеем и отражательным дисплеем. Источник света подсвечивает пропускной дисплей через заднюю поверхность. Световод принимает свет из источника света и распространяет свет так, что он подсвечивает отражательный дисплей через переднюю поверхность или кромку дисплея. Различные варианты осуществления световода и источника света возможны в зависимости от применения устройства отображения.
Сотовый телефон является примером изделия, в котором MEMS-устройство может использоваться в дисплее. Сотовые телефоны, обладающие признаком «створчатой» конструкции, типично закрыты, когда не в употреблении, а затем открываются для приема телефонного вызова. Такие сотовые телефоны не дают возможности просмотра основного дисплея, расположенного на внутренней поверхности створки, когда телефон закрыт. Поэтому второй, меньший, менее изощренный дисплей, который в материалах настоящей заявки иногда указывается как «вспомогательный дисплей», может быть включен во внешнюю поверхность створки, которая видима, когда телефон закрыт, чтобы предоставлять информацию «оперативного просмотра», не вынуждающую пользователя открывать телефон. Основной дисплей и вспомогательный дисплей могут быть пропускными или отражательными LCD, которые используют заднюю подсветку. Для снижения стоимости и сложности сотового телефона, и для сохранения створки настолько тонкой, насколько возможно, одиночный источник подсветки, размещенный в промежутке между основным дисплеем и вспомогательным дисплеем, может использоваться для подсветки обоих дисплеев. В одном из вариантов осуществления источник подсветки подсвечивает основной дисплей через заднюю поверхность основного дисплея. Источник подсветки сконфигурирован с одним или более областями рассеяния света по его задней поверхности, которые соответствуют площади вспомогательного дисплея. Конфигурации управления освещением, например шаблоны на пленках, прикрепленных к источнику подсветки, или шаблоны, расположенные непосредственно на самом источнике подсветки, могут использоваться так, что равномерность света, излучаемого с передней поверхности источника подсветки, не нарушается ослаблением света, который просачивается на заднюю поверхность у вспомогательного дисплея.
Когда пропускной или отражательный вспомогательный дисплей заменены отражательным дисплеем, например интерферометрическим модулятором (MEMS-устройством), который использует подсветку с передней стороны, труднее совместно использовать источник подсветки, так как свет, выходящий с задней поверхности источника подсветки, будет попадать на непрозрачную заднюю сторону отражательного дисплея и не давать никакой полезной подсветки. Одно из решений состоит в том, чтобы оборудовать отражательный дисплей передним осветителем. Это решение работает, но обладает некоторыми нежелательными последствиями. Во-первых, дополнительный осветитель добавляет изделию стоимость и сложность. Во-вторых, передний осветитель увеличивает толщину устройства отображения и сотового телефона, включающего в себя устройство отображения, а следовательно, снижает рыночную привлекательность изделия.
Способы и системы описаны в материалах настоящей заявки, включающие в себя подсветку отражательных дисплеев с использованием одиночного источника подсветки для уменьшения размера и стоимости, ассоциативно связанных с добавлением дополнительного переднего осветителя. Свет от источника подсветки может передаваться световодом на участок отражательного дисплея, такой как кромка дисплея или передняя сторона дисплея. Например, в двухдисплейном створчатом сотовом телефоне источник подсветки обеспечивает заднюю подсветку пропускного дисплея, расположенного на одной стороне створки или ее части, и одновременно обеспечивает переднюю подсветку отражательного дисплея, такого как дисплей с интерферометрическими модуляторами, расположенного на противоположной поверхности створки, через конструкции световода. Световоды могут, по меньшей мере частично, включаться в заднюю пластину отражательного дисплея в некоторых вариантах осуществления. В некоторых вариантах осуществления, одиночный источник света с одним или более световодами может использоваться для подсветки отражательных дисплеев на обеих поверхностях устройства.
Один из вариантов осуществления дисплея с интерферометрическими модуляторами, содержащий интерферометрический MEMS-элемент отображения, проиллюстрирован на фиг.1. В этих устройствах пиксели находятся в ярком или темном состоянии. В ярком («включенном» или «разомкнутом») состоянии элемент отображения отражает большую часть падающего видимого света в сторону пользователя. Когда в темном («выключенном» или «замкнутом») состоянии элемент отображения отражает незначительное количество падающего видимого света в сторону пользователя. В зависимости от варианта осуществления, свойства светоотражающей способности «включенного» и «выключенного» состояний могут изменяться на противоположные. MEMS-пиксели могут быть сконфигурированы для отражения преимущественно при выбранных цветах, предусматривая цветное отображение в дополнение к черно-белому.
Фиг.1 – вид в изометрии, изображающий два соседних пикселя в ряду пикселей видеодисплея, на котором каждый пиксель содержит интерферометрический MEMS-модулятор. В некоторых вариантах осуществления, дисплей с интерферометрическими модуляторами содержит матрицу строк/столбцов этих интерферометрических модуляторов. Каждый интерферометрический модулятор включает в себя пару отражающих слоев, расположенных на изменяемом и управляемом расстоянии друг от друга, для формирования резонансной оптической полости с, по меньшей мере, одним изменяемым размером. В одном из вариантов осуществления, один из отражающих слоев может перемещаться между двумя положениями. В первом положении, в материалах настоящей заявки указываемом ссылкой как отпущенное положение покоя, подвижный отражающий слой расположен на относительно большом расстоянии от неподвижного частично отражающего слоя. Во втором положении, в материалах настоящей заявки указываемом ссылкой как активированное положение, подвижный отражающий слой расположен более плотно прилегающим к частично отражающему слою. Падающий свет, который отражается от двух слоев, интерферирует конструктивно или деструктивно в зависимости от положения подвижного отражающего слоя, вызывая либо полностью отражающее, либо неотражающее состояние для каждого пикселя.
Изображенный участок матрицы пикселей на фиг.1 включает в себя два соседних интерферометрических модулятора 12a и 12b. В интерферометрическом модуляторе 12a слева подвижный отражающий слой 14а проиллюстрирован в отпущенном положении покоя на предварительно определенном расстоянии от оптического стэка 16a, который включает в себя частично отражающий слой. В интерферометрическом модуляторе 12b справа, подвижный отражающий слой 14b проиллюстрирован во включенном положении, прилегающем к оптическому стэку 16b.
Оптические стэки 16a и 16b (вместе указываемые ссылкой как оптический стэк 16), в качестве указываемых ссылкой в материалах настоящей заявки, типично содержат несколько сплавленных слоев, которые могут включать в себя электродный слой, такой как из оксида индия и олова (ITO), частично отражающий слой, такой как из хрома, и прозрачный диэлектрик. Оптический стэк 16, таким образом, является электропроводным, частично прозрачным и частично отражающим и может быть создан, например, посредством нанесения одного или более вышеприведенных слоев на прозрачную подложку 20. В некоторых вариантах осуществления, слои сформированы по шаблону в параллельные полоски и могут образовывать строчные электроды в устройстве отображения, как дополнительно описано ниже. Подвижные отражающие слои 14a, 14b могут быть сформированы в виде последовательностей параллельных полосок осажденного металлического слоя или слоев (перпендикулярных строчным электродам 16a, 16b), нанесенных поверх стоек 18, и расходуемого растворимого материала, нанесенного между стойками 18. Когда расходуемый материал вытравливается, подвижные отражающие слои 14a, 14b отделяются от оптических стэков 16a, 16b определенным воздушным зазором 19. Высокопроводящий и отражающий материал, такой как алюминий, может использоваться для отражающих слоев 14, и эти полоски могут формировать столбцовые электроды в устройстве отображения.
Без приложенного напряжения, полость 19 остается между подвижным отражающим слоем 14a и оптическим стэком 16a, с подвижным отражающим слоем в механически ненапряженном состоянии, как проиллюстрировано пикселем 12а на фиг.1. Однако, когда разность потенциалов прикладывается к выбранным строке и столбцу, конденсатор, образованный на пересечении строчного и столбцового электродов в соответствующем пикселе, становится заряженным, и электростатические силы притягивают электроды друг к другу. Если электрическое напряжение достаточно высоко, подвижный отражающий слой 14 деформируется и притягивается к оптическому стэку 16. Диэлектрический слой (не проиллюстрирован на этой фигуре) в пределах оптического стэка 16 может предотвращать закорачивание и выдерживает зазор между слоями 14 и 16, как проиллюстрировано пикселем 12b, справа по фиг.1. Поведение является одинаковым независимо от полярности приложенной разности потенциалов. Таким образом, срабатывание строки/столбца, которое может управлять сменой отражательных на неотражательные состояния пикселей, во многих отношениях, является аналогичным используемому в традиционном LCD (жидкокристаллическом дисплее) и других технологиях отображения.
Фиг.2-5B иллюстрируют одну из примерных последовательностей операций и систему для использования матрицы интерферометрических модуляторов в дисплейном применении.
Фиг.2 – структурная схема системы, иллюстрирующая один из вариантов осуществления электронного устройства, которое может заключать в себе аспекты изобретения. В примерном варианте осуществления, электронное устройство включает в себя процессор 21, который может быть любым одно- или многокристальным микропроцессором общего применения, таким как ARM (микропроцессор с системой команд RISC), Pentium®, Pentium II®, Pentium III®, Pentium IV®, Pentium® Pro, 8051 (семейства однокристальных микроконтроллеров), MIPS®, Power PC®, ALPHA®, или любым микропроцессором специального назначения, таким как цифровой сигнальный процессор, микроконтроллер или программируемая вентильная матрица. Как является традиционным в данной области техники, процессор 21 может быть сконфигурирован для исполнения одного или более модулей программного обеспечения. В дополнение к исполнению операционной системы, процессор может быть сконфигурирован для исполнения одного или более приложений программного обеспечения, в том числе веб-браузера, телефонного приложения, программы электронной почты или любого другого приложения программного обеспечения.
В одном из вариантов осуществления, процессор 21 также сконфигурирован для поддержания связи с формирователем 22 матрицы. В одном из вариантов осуществления, формирователь 22 матрицы включает в себя схему 24 строчного формирователя и схему 26 столбцового формирователя, которые выдают сигналы на панель или матрицу 30 отображения (дисплей). Поперечное сечение матрицы, проиллюстрированное на фиг.1, показано линиями 1-1 на фиг.2. Для интерферометрических MEMS-модуляторов протокол возбуждения строки/столбца может использовать в своих интересах свойство гистерезиса этих устройств, проиллюстрированное на фиг.3. Оно может требовать, например, разности потенциалов 10 В для побуждения подвижного слоя деформироваться из отпущенного состояния в сработанное состояние. Однако, когда электрическое напряжение снижается от такого значения, подвижный слой поддерживает свое состояние, в то время как электрическое напряжение падает ниже 10 вольт. В примерном варианте осуществления по фиг.3, подвижный слой не отпускается окончательно до тех пор, пока электрическое напряжение не падает ниже 2 вольт. Таким образом, в примере, проиллюстрированном на фиг.3, есть диапазон электрического напряжения приблизительно от 3 до 7 вольт, где существует интервал приложенного напряжения, в пределах которого устройство стабильно находится либо в отпущенном, либо в сработанном состоянии. Это указывается ссылкой в материалах настоящей заявки как «зона гистерезиса» или «зона стабильности». Для матрицы отображения, имеющей гистерезисные характеристики по фиг.3, протокол возбуждения строки/столбца может быть спроектирован из условия, чтобы во время стробирования строки пиксели в стробируемой строке, которые должны быть сработаны, подвергаются разности потенциалов приблизительно в 10 вольт, а пиксели, которые должны быть отпущены, подвергаются разности потенциалов, близкой к нулю вольт. После строба, пиксели подвергаются разности потенциалов устойчивого состояния около 5 вольт из условия, чтобы они оставались в каком бы то ни было состоянии, в которое их установил строчный строб. После записи каждый пиксель придерживается разности потенциалов в пределах «зоны стабильности», 3-7 вольт в этом примере. Этот признак делает конструкцию пикселя, проиллюстрированную на фиг.1, стабильной при одних и тех же условиях приложенного электрического напряжения в сработанном или отпущенном предварительно существующем состоянии. Поскольку каждый пиксель интерферометрического модулятора как в сработанном, так и в отпущенном состоянии, по существу является конденсатором, сформированным неподвижным и подвижным отражающими слоями, это стабильное состояние может удерживаться при электрическом напряжении в пределах зоны гистерезиса почти без потери мощности. По существу, никакой ток не втекает в пиксель, если прикладываемый потенциал зафиксирован.
В типичных применениях, кадр отображения может создаваться установлением набора столбцовых электродов в соответствии с требуемым набором сработанных пикселей в первой строке. Строчный импульс затем прикладывается к электроду строки 1, осуществляя срабатывание пикселей, соответствующих установленным столбцовым линиям. Установленный набор столбцовых электродов затем изменяется, чтобы соответствовать требуемому множеству сработанных пикселей во второй строке. Импульс затем прикладывается к электроду строки 2, осуществляя срабатывание надлежащих пикселей в строке 2 в соответствии с установленными столбцовыми электродами. Пиксели строки 1 не затрагиваются импульсом строки 2 и остаются в состоянии, в которое они устанавливались во время импульса строки 1. Это может повторяться для всей серии строк последовательным образом, чтобы создать кадр. Обычно кадры восстанавливаются и/или обновляются новыми данными отображения посредством непрерывного повторения этой последовательности операций при некотором требуемом количестве кадров в секунду. Широкое многообразие протоколов для управления строчными и столбцовыми электродами матриц пикселей, чтобы создавать кадры отображения, также хорошо известны и могут использоваться в соединении с настоящим изобретением.
Фиг.4, 5А и 5В иллюстрируют один из возможных протоколов срабатывания для создания кадра отображения на матрице 3×3 согласно фиг.2. Фиг.4 иллюстрирует возможный набор уровней столбцовых и строчных напряжений, которые могут использоваться для пикселей, демонстрирующих кривые гистерезиса по фиг.3. В варианте осуществления фиг.4, срабатывание пикселя включает в себя установку соответствующего столбца в -Vbias и соответствующей строки – в + V, которые могут соответствовать -5 вольтам и +5 вольтам, соответственно. Отпускание пикселя выполняется установкой соответствующего столбца в +Vbias и соответствующей строки в такое же + V, создающей разность потенциалов в нуль вольт на пикселе. В тех строках, где строчное электрическое напряжение удерживается при нуле вольт, пиксели стабильны в каком бы то ни было состоянии, в котором они были изначально, невзирая на то, при +Vbias столбец или -Vbias. Как также проиллюстрировано на фиг.4, будет принято во внимание, что могут использоваться электрические напряжения противоположной полярности, нежели описанные выше, например, срабатывание пикселя может включать в себя установление соответствующего столбца в +Vbias и соответствующей строки в – V. В этом варианте осуществления, отпускание пикселя выполняется установкой соответствующего столбца в -Vbias и соответствующей строки в такое же – V, создающей на пикселе разность потенциалов в нуль вольт.
Фиг.5B – временная диаграмма, показывающая последовательности строчных и столбцовых сигналов, прикладываемых к матрице 3×3 согласно фиг.2, которые в результате будут приводить к компоновке отображения, проиллюстрированной на фиг.5A, где сработанные пиксели являются неотражающими. Перед записью кадра, проиллюстрированного на фиг.5A, пиксели могут быть в любом состоянии, и в этом примере все строки – при 0 вольт, а все столбцы – при +5 вольтах. При этих приложенных электрических напряжениях все пиксели стабильны в их существующем сработанном или отпущенном состояниях.
В кадре фиг.5A пиксели (1,1), (1,2), (2,2), (3,2) и (3,3) сработаны. Чтобы достичь этого, во время «такта линии» для строки 1, столбцы 1 и 2 устанавливаются в -5 вольт, а столбец 3 устанавливается в +5 вольт. Это не изменяет состояния каких-либо пикселей, так как все пиксели остаются в 3-7-вольтной зоне стабильности. Строка 1 затем стробируется импульсом, который выходит из 0, поднимается до 5 вольт и возвращается к нулю. Это осуществляет срабатывание пикселей (1,1) и (1,2) и отпускание пикселя (1,3). Никакие другие пиксели в матрице не подвергаются воздействию. Чтобы установить строку 2 как требуется, столбец 2 устанавливается в -5 вольт, а столбцы 1 и 3 устанавливаются в +5 вольт. Такой же строб, приложенный к строке 2, затем будет осуществлять срабатывание пикселя (2,2) и отпускание пикселей (2,1) и (2,3). Вновь никакие другие пиксели матрицы не подвергаются воздействию. Строка 3 подобным образом устанавливается посредством установки столбцов 2 и 3 в -5 вольт, а столбца 1 – в +5 вольт. Строб строки 3 устанавливает пиксели строки 3, как показано на фиг.5A. После записи кадра строчные потенциалы являются нулевыми, а столбцовые потенциалы могут оставаться либо при +5, либо при -5 вольтах, и дисплей в таком случае стабилен при компоновке по фиг.5A. Будет принято во внимание, что такая же процедура может применяться для матриц из десятков и сотен строк и столбцов. Также будет принято во внимание, что временные характеристики, последовательность и уровни электрических напряжений, используемые для выполнения строчного и столбцового возбуждения, могут широко изменяться в пределах общих принципов, очерченных выше, а вышеприведенный пример является только иллюстративным, и любой способ электрического напряжения срабатывания может использоваться с системами и способами, описанными в материалах настоящей заявки.
Фиг.6A и 6B – структурные схемы системы, иллюстрирующие вариант осуществления устройства 40 отображения. Устройство 40 отображения может быть, например, сотовым или мобильным телефоном. Однако такие же компоненты устройства 40 отображения или незначительные их вариации также являются иллюстративными для различных типов устройств отображения, таких как телевизоры и портативные устройства воспроизведения мультимедийных данных.
Устройство 40 отображения включает в себя корпус 41, дисплей 30, антенну 43, динамик 45, устройство 48 ввода и микрофон 46. Корпус 41, как правило, сформирован по любой из многообразия последовательностей операций изготовления, которые хорошо известны специалистам в данной области техники, включая литье под давлением и вакуумное формование. В дополнение, корпус 41 может быть выполнен из любого из многообразия материалов, в том числе, но не в качестве ограничения, пластмассы, металла, стекла, резины и керамики или их комбинации. В одном из вариантов осуществления, корпус 41 включает в себя съемные части (не показаны), которые могут быть взаимно заменяемыми с другими съемными частями другого цвета или содержащими разные логотипы, изображения или символы.
Дисплей 30 примерного устройства 40 отображения может быть любым из многообразия дисплеев, в том числе бистабильным дисплеем, который описан в материалах настоящей заявки. В других вариантах осуществления, дисплей 30 включает в себя плоскопанельный дисплей, такой как плазменный, EL (электронно-люминесцентный), OLED, STN LCD (цветной ЖК-дисплей с матрицей пассивных скрученных нематических элементов) или TFT LCD (ЖК-дисплей тонкопленочной технологии), которые описаны выше, не плоскопанельный дисплей, такой как CRT (ЭЛТ, с электронно-лучевой трубкой) или другое ламповое устройство, которые хорошо известны специалистам в данной области техники. Однако, в целях описания настоящего варианта осуществления, дисплей 30 включает в себя дисплей с интерферометрическими модуляторами, который описан в материалах настоящей заявки.
Компоненты одного из вариантов осуществления примерного устройства 40 отображения схематично проиллюстрированы на фиг.6B. Проиллюстрированное примерное устройство 40 отображения включает в себя корпус 41 и может включать в себя дополнительные компоненты, по меньшей мере частично охватываемые в материалах настоящей заявки. Например, в одном из вариантов осуществления, примерное устройство 40 отображения включает в себя сетевой интерфейс 27, который включает в себя антенну 43, которая присоединена к приемопередатчику 47. Приемопередатчик 47 присоединен к процессору 21, который присоединен к согласующим аппаратным средствам 52. Согласующие аппаратные средства 52 могут быть сконфигурированы для приведения сигнала в нужное состояние (например, фильтрации сигнала). Согласующие аппаратные средства 52 присоединены к динамику 45 и микрофону 46. Процессор 21 также присоединен к устройству 48 ввода и контроллеру 29 формирователя. Контроллер 29 формирователя присоединен к буферу 28 кадра и к формирователю 22 матрицы, который, в свою очередь, присоединен к матрице 30 отображения. Источник 50 питания выдает питание на все компоненты, как требуется конкретной конструкцией примерного устройства 40 отображения.
Сетевой интерфейс 27 включает в себя антенну 43 и приемопередатчик 47, таким образом, чтобы примерное устройство 40 отображения могло поддерживать связь с одним или более устройствами по сети. В одном из вариантов осуществления, сетевой интерфейс 27 также может обладать некоторыми возможностями обработки, чтобы облегчить требования к процессору 21. Антенной 43 является любая антенна, известная специалистам в данной области техники, для передачи и приема сигналов. В одном из вариантов осуществления, антенна передает и принимает (RF, радиочастотные) РЧ-сигналы согласно стандарту IEEE 802.11, включая IEEE 802.11 (a), (b) или (g). В еще одном варианте осуществления, антенна передает и принимает РЧ-сигналы согласно стандарту BLUETOOTH (универсальной технологии беспроводной связи). В случае сотового телефона, антенна предназначена для приема CDMA (множественного доступа с кодовым разделением каналов), GSM (глобальной системы мобильной связи), AMPS (мобильной телефонной сети) или других известных сигналов, которые используются для поддержания связи в пределах беспроводной сотовой телефонной сети. Приемопередатчик 47 предварительно обрабатывает сигналы, принятые с антенны 43, с тем, чтобы они могли приниматься и дополнительно обрабатываться процессором 21. Приемопередатчик 47 также обрабатывает сигналы, принятые из процессора 21, с тем, чтобы они могли передаваться из примерного устройства 40 отображения через антенну 43.
В альтернативном варианте осуществления, приемопередатчик 47 может быть заменен приемником. В еще одном другом альтернативном варианте осуществления, сетевой интерфейс 27 может быть заменен источником изображения, который может хранить или формировать данные изображения, которые должны быть отправлены процессору 21. Например, источник изображения может быть цифровым видеодиском (DVD) или накопителем на жестком диске, который содержит в себе данные изображения, или модулем программного обеспечения, который формирует данные изображения.
Процессор 21 обычно управляет всей работой примерного устройства 40 отображения. Процессор 21 принимает данные, такие как сжатые данные изображения, из сетевого интерфейса 27 или источника изображения и перерабатывает данные в исходные данные изображения или в формат, который легко перерабатывается в исходные данные изображения. Процессор 21 затем отправляет обработанные данные в контроллер 29 формирователя или в буфер 28 кадра для сохранения. Исходные данные типично относятся к информации, которая идентифицирует характеристики изображения в каждом местоположении в пределах изображения. Например, такие характеристики изображения могут включать в себя цвет, насыщенность и уровень серого.
В одном из вариантов осуществления, процессор 21 включает в себя микроконтроллер, ЦПУ (CPU, центральное процессорное устройство) или логический узел для управления работой примерного устройства 40 отображения. Согласующие аппаратные средства 52 обычно включают в себя усилители и фильтры для передачи сигналов на динамики 45 и для приема сигналов с микрофона 46. Согласующие аппаратные средства 52 могут быть дискретными компонентами в пределах примерного устройства 40 отображения или могут быть включены в процессор 21 или другие компоненты.
Контроллер 29 формирователя принимает исходные данные изображения, сформированные процессором 21, либо непосредственно от процессора 21, либо из буфера 28 кадра и переформатирует исходные данные изображения надлежащим образом для высокоскоростной передачи на формирователь 22 матрицы. Более точно, контроллер 29 формирователя переформатирует исходные данные изображения в поток данных, имеющий формат, подобный растровому, из условия, чтобы он имел временную очередность, подходящую для сканирования по матрице 30 отображения. Затем контроллер 29 формирователя отправляет отформатированную информацию на формирователь 22 матрицы. Хотя контроллер 29 формирователя, такой как контроллер LCD, часто ассоциируется с системным процессором 21 как автономная интегральная схема (ИС, IC), такие контроллеры могут быть реализованы многими способами. Они могут быть встроены в процессор 21 в виде аппаратных средств, встроены в процессор 21 в виде программного обеспечения или полностью объединены в аппаратных средствах с формирователем 22 матрицы.
Типично, формирователь 22 матрицы принимает отформатированную информацию из контроллера 29 формирователя и переформатирует видеоданные в параллельный набор сигналов, которые подаются много раз за секунду на сотни, а иногда тысячи выводов, выходящих из двухкоординатной (x-y) матрицы пикселей дисплея.
В одном из вариантов осуществления, контроллер 29 формирователя, формирователь 22 матрицы и матрица 30 отображения являются подходящими для любого из типов дисплеев, описанных в материалах настоящей заявки. Например, в одном из вариантов осуществления, контроллером 29 формирователя является традиционный контроллер дисплея или контроллер бистабильного дисплея (например, контроллер интерферометрических модуляторов). В другом варианте осуществления, формирователь 22 матрицы является традиционным формирователем или формирователем бистабильного дисплея (например, дисплея с интерферометрическими модуляторами). В одном из вариантов осуществления, контроллер 29 формирователя объединен с формирователем 22 матрицы. Такой вариант осуществления является общеизвестным в высокоинтегрированных системах, таких как сотовые телефоны, наручные часы и другие устройства отображения небольшой площади. В еще одном другом варианте осуществления, матрицей 30 отображения является матрица типичного дисплея или матрица бистабильного дисплея (например, дисплея, включающего в себя матрицу интерферометрических модуляторов).
Устройство 48 ввода предоставляет пользователю возможность управлять работой примерного устройства 40 отображения. В одном из вариантов осуществления, устройство 48 ввода включает в себя клавишную панель, такую как клавиатура со стандартным расположением клавиш (QWERTY) или кнопочный номеронабиратель телефона, кнопку, переключатель, сенсорный экран, чувствительную к нажатию или теплу мембрану. В одном из вариантов осуществления, микрофоном 46 является устройство ввода для примерного устройства 40 отображения. Когда микрофон 46 используется для ввода данных в устройство, голосовые команды могут подаваться пользователем для управления операциями примерного устройства 40 отображения.
Источник 50 питания может включать в себя многообразие устройств накопления энергии, таких как хорошо известные в данной области техники. Например, в одном из вариантов осуществления, источником 50 питания является перезаряжаемый аккумулятор, такой как никель-кадмиевый аккумулятор или литий-ионный аккумулятор. В другом варианте осуществления, источником 50 питания является возобновляемый источник энергии, конденсатор или солнечный элемент, в том числе пластиковый солнечный элемент и пигмент солнечного элемента. В другом варианте осуществления, источник 50 питания сконфигурирован, чтобы принимать энергию из сетевой розетки.
В некоторых реализациях, возможность программирования управления находится, как описано выше, в контроллере формирователя, который может быть расположен в нескольких местах в системе электронного дисплея. В некоторых случаях, возможность программирования управления находится в формирователе 22 матрицы. Специалисты в данной области техники будут осознавать, что вышеописанная оптимизация может быть реализована в любом количестве компонентов аппаратных средств и/или программного обеспечения и в различных конфигурациях.
Детали конструкции интерферометрических модуляторов, которые работают в соответствии с принципами, изложенными выше, могут изменяться в широких пределах. Например, фиг.7A-7E иллюстрируют пять разных вариантов осуществления подвижного отражающего слоя 14 его опорных конструкций. Фиг.7А – поперечное сечение варианта осуществления по фиг.1, где полоска металлического материала 14 нанесена на перпендикулярно проходящие опоры 18. На фиг.7В подвижный отражающий слой 14 прикреплен к опорам только по углам на привязях 32. На фиг.7С подвижный отражающий слой 14 свешивается с деформируемого слоя 34, который может содержать гибкий металл. Деформируемый слой 34 присоединяется, непосредственно или опосредованно, к подложке 20 по периметру деформируемого слоя 34. Эти соединения в материалах настоящей заявки указываются ссылкой как опорные стойки. Вариант осуществления, проиллюстрированный на фиг.7D, содержит штифты 42 опорных стоек, на которые опирается деформируемый слой 34. Подвижный отражающий слой 14 остается подвешенным над полостью, как на фиг.7A-7C, но деформируемый слой 34 не формирует опорные стойки посредством заполнения отверстий между деформируемым слоем 34 и оптическим стэком 16. Вернее, опорные стойки сформированы из выравнивающего материала, который используется для формирования штифтов 42 опорных стоек. Вариант осуществления, проиллюстрированный на фиг.7E, основан на варианте осуществления, показанном на фиг.7D, но также может быть приспособлен для работы с любыми вариантами осуществления, проиллюстрированными на фиг.7A-7C, а также не показанными дополнительными вариантами осуществления. В варианте осуществления, показанном на фиг.7E, добавочный слой металла или другого проводящего материала был использован для формирования шинной структуры 44. Это предоставляет возможность разводки сигналов по обратной стороне интерферометрических модуляторов, устраняющую некоторое количество электродов, которые, в ином случае, должны были быть сформированы на подложке 20.
В вариантах осуществления, таких как показанные на фиг.7А-7Е, интерферометрические модуляторы действуют в качестве устройств прямого наблюдения, в которых изображения наблюдаются с передней стороны прозрачной подложки 20, стороны, противоположной той, на которой скомпонован модулятор. В этих вариантах осуществления, отражающий слой 14 оптически экранирует некоторые участки интерферометрического модулятора по стороне отражающего слоя, противоположной подложке 20, в том числе деформируемый слой 34 и шинную структуру 44. Это предоставляет заслоненным участкам возможность конфигурироваться и функционировать без отрицательного влияния на качество изображения. Эта разделяемая архитектура модулятора предоставляет конструкциям и материалам, используемым для электромеханических аспектов и оптических аспектов модулятора, выбираться и действовать независимо друг от друга. Более того, варианты осуществления, показанные на фиг.7C-7E, обладают дополнительными преимуществами, получающимися из развязывания оптических свойств отражающего слоя 14 от его механических свойств, которые осуществляются деформируемым слоем 34. Это предоставляет структурному проектированию и материалам, используемым для отражательного слоя 14, возможность оптимизироваться по оптическим свойствам, а структурному проектированию и материалам, используемым для деформируемого слоя 34, возможность оптимизироваться по требуемым механическим свойствам.
Со ссылкой на фиг.8 и 9, есть много мобильных устройств, например «створчатый» мобильный телефон 82, который включает в себя основной дисплей 84, расположенный на внутренней поверхности одной половины двухстворчатого устройства, и вспомогательный дисплей 80, расположенный на внешней поверхности той же половины двухстворчатого устройства, что и основной дисплей 84. Примеры отражательных устройств, которые могут использоваться в качестве основного дисплея 84 и вспомогательного дисплея 80, включают в себя LCD и интерферометрические модуляторы. В вариантах осуществления, описанных в материалах настоящей заявки, основной дисплей 84 и/или вспомогательный дисплей 80 могут содержать интерферометрические модуляторы. Если основной дисплей 84 и вспомогательный дисплей 80 – оба являются отражательными устройствами, они могут извлекать пользу из приема дополнительной подсветки, когда рассеянного света недостаточно для просмотра отображаемой информации. Примеры устройств для обеспечения дополнительной подсветки включают в себя светоизлучающие диоды (СИД, LED), лампы накаливания и люминесцентные лампы. Подходы, которые описаны в материалах настоящей заявки для подачи света на основной дисплей 84, также могут использоваться для подачи света на вспомогательный дисплей 80, и наоборот.
Фиг.10 показывает один из вариантов осуществления сдвоенного дисплея 100, где источник 90 подсветки используется для подачи света на основной дисплей и вспомогательный дисплей 80. В этом варианте осуществления, оба, основной дисплей 84 и вспомогательный дисплей 80, могут быть, например, LCD-устройствами, которые предоставляют свету от источника 90 подсветки возможность проникать в основной дисплей 84 и вспомогательный дисплей 80 через заднюю сторону дисплеев посредством использования сконфигурированных элементов рассеяния света для LCD-устройств. Подача подсветки от общего источника 90 подсветки на оба дисплея эффективна, когда дисплеи являются конфигурируемыми для предоставления свету возможности проникать в устройство сзади, например, через участок задней панели устройства отображения. Дисплеи 84 и 80 также могут быть отражательными дисплеями. В таких вариантах осуществления, источник 90 подсветки может включать в себя области рассеяния света или каналы, сконструированные специально, чтобы предоставлять свету возможность распространяться от источника 90 подсветки на переднюю поверхность дисплеев 80, 84, тем самым осуществляя переднюю подсветку дисплеев 84, 80. Другие варианты осуществления могут включать в себя более чем один источник света для подсветки дисплеев 84, 80.
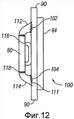
Фиг.11 и 12 иллюстрируют вариант осуществления сдвоенного дисплея 100, который включает в себя источник 90 подсветки, который подает свет на основной дисплей 84 и отражательный вспомогательный дисплей 80 через первый и второй световоды 112, 114. Отверстие для областей 102, 104 рассеяния света в источнике подсветки может изменяться по размеру и форме. В некоторых вариантах осуществления, область рассеяния света по существу может соответствовать размеру площади вспомогательного дисплея 80 или по существу соответствовать форме вспомогательного дисплея 80, или быть большей, чем размер периметра вспомогательного дисплея 80, как описано при ссылке на фиг.13. В дополнение, количество отверстий или областей 102, 104 рассеяния света, расположенных на источнике 90 подсветки, может изменяться. Рассеяние света может создаваться, например, посредством удаления участков отражательной накладки источника подсветки для создания отверстия. В некоторых вариантах осуществления, оптически пропускной материал может быть размещен в отверстии области 102, 104 рассеяния света. Области 102, 104 рассеяния света не ограничены расположением на задней стороне источника подсветки, они могут располагаться в любой области источника подсветки, которая не мешает освещению или просмотру основного дисплея 84. Например, в некоторых вариантах осуществления, области 102, 104 расположены на источнике 90 подсветки в области позади вспомогательного дисплея. В других вариантах осуществления, области рассеяния света могут быть размещены на источнике подсветки непосредственно позади вспомогательного дисплея и/или в области над, под, либо с боку или боков зоны, непосредственно позади вспомогательного дисплея (смотрите, например, фиг.11). В некоторых вариантах осуществления, свет может выходить из источника подсветки через боковую поверхность источника 90 подсветки (не показана) или через участок поверхности источника 90 подсветки, но не закрытый основным дисплеем 84.
Как показано на фиг.12, свет из областей 102, 104 рассеяния света может подаваться на вспомогательный дисплей 80 через оптическую среду, такую как первый и второй световоды 112, 114. Сдвоенное устройство 100 отображения, показанное на фиг.12, содержит источник 90 подсветки, подсвечивающий основной дисплей 84, который расположен по одной стороне источника 90 подсветки, и вспомогательный дисплей 80, расположенный по противоположной стороне источника 90 подсветки. Вспомогательный дисплей 80, показанный на фиг.12, включает в себя заднюю пластину 116, оптически присоединенную к световодам 112, 114. Области 102, 104 рассеяния света (фиг.11), расположенные на стороне источника 90 подсветки, противостоящей вспомогательному дисплею 80, и в зоне источника подсветки, не закрытой вспомогательным дисплеем 80, могут быть накрыты световодами 112, 114 (фиг.12), так что свет распространяется из источника 90 подсветки в световоды 112, 114. Световоды 112, 114 также присоединены к кромке передней поверхности вспомогательного дисплея 80. В некоторых вариантах осуществления, световоды 112, 114 содержат материал, который по существу оптически прозрачен, такой как, например, поликарбонатный или полиакрилатный материалы. Световоды 112, 114 могут включать в себя, например, сплошной световод, который проводит свет посредством полного внутреннего отражения (TIR). В некоторых вариантах осуществления, световоды 112, 114 включают в себя оптоволокно, такое как оптоволоконный жгут. В некоторых вариантах осуществления, световоды 112, 114 также могут быть полыми и иметь отражающие (например, металлизированные) поверхности для распространения света через полую область в них. Другие конструкции световодов также возможны.
Свет из источника 90 подсветки может непосредственно присоединяться к световоду 112, 114. Излучающая поверхность источника 90 подсветки может быть расположена вплотную к или, возможно, в соприкосновении с входной поверхностью 111 световода 112, 114 для увеличения коэффициента передачи оптической мощности. В показанном варианте осуществления, входная поверхность 111 лежит в плоскости источника 90 подсветки, соответствующей области 104 рассеяния света источника 90 подсветки. В других вариантах осуществления, свет из источника 90 подсветки может присоединяться к световоду 112, 114 через промежуточный компонент или материал.
Этот оптически прозрачный световод 112, 114 сконфигурирован для распространения света из источника 90 подсветки на вспомогательный дисплей 80, например, на боковую сторону или участок боковой стороны вспомогательного дисплея 80, либо на поверхность или участок поверхности вспомогательного дисплея 80. Световод также содержит выходную зону 118, где выводится свет, связанный и передаваемый из световода 114 на вспомогательный дисплей 80.
Вспомогательный дисплей 80 может включать в себя оптически пропускающую подложку (например, проиллюстрированную в качестве подложки 20 на фиг.1). Как более полно обсуждено ниже при ссылке на фиг.17, в некоторых вариантах осуществления, вспомогательный дисплей 80 может содержать переднюю пластину (например, оптическую пластину 152 на фиг.17), расположенную перед подложкой. В различных вариантах осуществления, световод оптически связан с подложкой и/или передней пластиной.
В варианте осуществления, показанном на фиг.12, выходная поверхность или отверстие 18 ориентированы в целом перпендикулярно входной поверхности или отверстию 111. Эта выходная поверхность 118 может быть расположена вплотную к кромке передней пластины и/или подложки вспомогательного дисплея 80. Таким образом, свет, который выходит из источника 90 подсветки, выводится оптически соединенным с кромкой передней пластины и/или подложки, любая или обе из которых могут оптически проводить свет в них.
В некоторых вариантах осуществления, одиночный световод 112 подает свет на вспомогательный дисплей 80. В других вариантах осуществления, два или более световодов 112, 114 подают свет на вспомогательный дисплей 80. В некоторых вариантах осуществления, свет может проникать во вспомогательный дисплей 80 в конкретных точках. Свет может распространяться по дисплею 80 с использованием различных технологий распространения или распределения, как более полно обсуждено ниже. Свет может подаваться на вспомогательный дисплей 80 по одной или более кромкам вспомогательного дисплея 80 посредством конфигурирования одного или более световодов 112, 114 для соприкосновения со вспомогательным дисплеем 80 по участку или всей кромке вспомогательного дисплея 80.
Как описано выше, световод может быть сконфигурирован для соединения света из источника 90 подсветки к подложке или передней пластине, расположенной спереди подложки. В некоторых вариантах осуществления, подложка или передняя пластина может включать в себя оптические элементы, которые помогают перенаправлять свет на элемент модуляции света вспомогательного дисплея 80. Например, оптические элементы на поверхности подложки или передней пластины, либо в подложке или передней пластине, могут перенаправлять свет, подводимый через подложку или переднюю пластину. В других вариантах осуществления, где свет попадает на поверхность подложки или передней пластины, оптические элементы на поверхности либо в подложке или передней пластине могут перенаправлять свет, падающий на подложку или переднюю пластину, при скользящем падении, который, в ином случае, мог бы не передаваться через переднюю пластину или подложку на элемент модуляции света дисплея. Эти оптические элементы могут содержать, например, элементы рассеяния, которые рассеивают свет, или микрооптические элементы, в том числе, но не в качестве ограничения, миниатюрные призмы и микролинзы, которые перенаправляют свет. Оптические элементы могут содержать формирующую оптику. Соответственно, оптические элементы могут действовать на свет детерминированным или недетерминированным образом. Эти оптические элементы могут содержать одну или более поверхностей, которые отражают или преломляют свет (например, подобно таковым в линзе Френеля или пленке поворота фазы), чтобы перенаправлять свет по направлению к элементам модуляции света. Оптические элементы могут быть симметричными или асимметричными и могут быть периодическими и/или непериодическими. Вместе оптические элементы могут формировать, например, голограмму или дифракционный оптический элемент, или рассеиватель. Эти оптические элементы не имеют необходимости ограничиваться признаками поверхностей и могут включать в себя объемные признаки, такие как объемный рассеиватель или голограмма. Соответственно, свет может перенаправляться с использованием технологий отражения, рефракции, дифракции, случайного или псевдослучайного рассеяния, или любого их сочетания. Другие конфигурации и подходы также возможны.
В вариантах осуществления, где световоды 112, 114 присоединяют свет к подложке, оптические соединения могут обеспечивать согласование показателей преломления, чтобы уменьшать отражение на поверхности раздела между световодом и подложкой. В некоторых предпочтительных вариантах осуществления, выходной порт световодов 112, 114 имеет числовую апертуру или проницаемость, которые по существу соответствуют числовой апертуре или проницаемости подложки. В некоторых вариантах осуществления, оптическое соединение обеспечивает числовую апертуру или проницаемость, которые соответствуют таковым у подложки. Это оптическое соединение может, например, изменять числовую апертуру или проницаемость световода 112, 114, по существу, для приведения в соответствие таковым у подложки. Формирующий или не формирующий изображение оптический компонент может использоваться, например, для достижения этого преобразования числовой апертуры или проницаемости. В некоторых вариантах осуществления, торец световода 112, 114 профилируется и конфигурируется, чтобы обеспечивать это преобразование.
Подобным образом, как описано ниже, в вариантах осуществления, где световоды 112, 114 присоединяют свет к оптической пластине, листу, слою или тонкой пленке, оптические соединения могут обеспечивать согласование показателей преломления, чтобы уменьшать отражение. Подобным образом, проницаемость может по существу согласоваться для повышения пропускной способности. В некоторых вариантах осуществления, где световоды 112, 114 связаны с обоими, подложкой и одной или более оптическими пластинами, листами, слоями или пленками на ней, проницаемость может по существу согласовываться так хорошо, чтобы повышать пропускную способность.
Фиг.13А-С иллюстрируют еще один вариант осуществления устройства 120 отображения, где кольцеобразный световод 122 обеспечивает свет от источника 90 подсветки на кромки вспомогательного дисплея 80. Фиг.13А схематично изображает вид спереди варианта осуществления кольцеобразного световода 112, установленного на источнике 90 подсветки с вспомогательным дисплеем 80, вставленным в центре кольцеобразного световода 122. В этой конфигурации, свет подается источником 90 подсветки ко всем сторонам вспомогательного дисплея через кольцеобразный световод 122. Фиг.13В схематично изображает вид в перспективе кольцеобразного световода и источника подсветки по фиг.13А, где вспомогательный дисплей 80 показан вставленным в кольцеобразный световод 122. Фиг.13С схематично изображает кольцеобразный световод по фиг.13А без вспомогательного дисплея 80 и иллюстрирует выходные порты 118 кольцеобразного световода.
Кольцеобразный световод 122 содержит световой вход (не показан), который может отличаться по размеру или местоположению. В некоторых вариантах осуществления, вход световода 122 имеет внутренние размеры, которые являются приблизительно такими, а именно форма и размеры, либо слегка большими или меньшими, как у контура вспомогательного дисплея 80. Дополнительно, зона входа в кольцеобразный световод 122 может совпадать с формой и размером области рассеяния света на источнике 90 подсветки. В варианте осуществления, показанном на фиг.13А и 13В, кольцеобразный световод 122 профилирован, чтобы согласовывать и подавать свет к четырем кромкам вспомогательного дисплея 80. Световод 122 сконфигурирован из условия, чтобы выходной участок 118 кольцеобразного световода мог распространять свет на участки кромок вспомогательного дисплея 80. Размер входа световода может изменяться и может иметь площадь поперечного сечения, которая является такой же, большей или меньшей, чем площадь поперечного сечения выхода световода. Предпочтительно вход и выход световода сконфигурированы так, что свет эффективно входит в световод 122, распространяется через и покидает световод с пониженной или минимальной потерей света. Однако всему свету, который испускается из источника 90 подсветки, не требуется выходить из световода 122 на выходном участке 118. Например, некоторое количество света, который изначально не покинул световод через выход световода, может рециркулироваться обратно через световод в источник 90 подсветки. Этот рециркулированный свет может проходить через источник 90 подсветки, чтобы подсвечивать основной дисплей, или повторно проникать в световод 122, с тем чтобы, в конечном счете, подсвечивать вспомогательный дисплей 80. Как описано выше, световод 122 может содержать сплошной или полый оптический волновод или волокно или жгут оптического волокна, и другие варианты также возможны. Световод может содержать полимерный материал, который может быть отформован, например, литьевым формованием. В некоторых вариантах осуществления могут использоваться другие способы изготовления кольцеобразного световода 122. В некоторых вариантах осуществления, кольцеобразный световод 122 может быть сконфигурирован, чтобы быть устройством крепления, которое фиксирует вспомогательный дисплей 80 к устройству 120 отображения, и оптически соединяет с вспомогательным дисплеем 80.
Есть многочисленные альтернативные реализации для подсветки сдвоенного дисплея одиночным источником подсветки. Например, фиг.14 иллюстрирует подсветку сдвоенного устройства отображения с задней стороной основного дисплея 84, противостоящей задней стороне вспомогательного дисплея 80, при этом основной дисплей 84 подсвечивается от источника 191 света по кромке основного дисплея 84. Вспомогательный дисплей 80 подсвечивается по кромке дисплея от того же самого источника 191 света через световод 193. Световод 193 оптически присоединен 154 к кромке вспомогательного дисплея 80 для рассеивания света равномерно по всему вспомогательному дисплею 80. В этом варианте осуществления, оптическое соединение 154 присоединяет световод 193 к вспомогательному дисплею 80. Основной дисплей 84 может быть любым типом дисплея, который сконфигурирован, чтобы подсвечиваться по кромке дисплея. В некоторых вариантах осуществления, вспомогательный дисплей 80 и/или основной дисплей 84 обладают элементами рассеяния или другими оптическими структурами, расположенными на или спереди дисплея, например, на поверхности между наблюдателем и отражательным участком модуляции света вспомогательного дисплея 80 или основного дисплея 84.
Дополнительно, задняя пластина вспомогательного дисплея может использоваться в качестве части или всего световода. В некоторых вариантах осуществления, рассеяние света от источника подсветки может содержать, например, зону, определенную участком вспомогательного дисплея, например, по существу квадратную или прямоугольную. Два примера показаны на фиг.15 и 16, где участки переноса света показаны зигзагообразной штриховкой на световом входе 132. Со ссылкой на фиг.15, задняя пластина 134 вспомогательного дисплея 80 может быть модифицирована, чтобы действовать в качестве световода. В некоторых вариантах осуществления, где задние пластины 134 служат в качестве световода, задняя пластина может содержать элементы, подобные световодам 112, 114 и кольцеобразному световоду 122, описанному выше. Например, задняя пластина 134 может содержать оптически пропускающий материал, через который может распространяться свет. Задняя пластина 134 может содержать, например, полимерный материал, который отформован или сформирован в подходящий профиль, например, чтобы окружать и удерживать вспомогательный дисплей 80, и чтобы оптически присоединяться к области 132 рассеяния света. В некоторых вариантах осуществления, задняя пластина может включать в себя полую область, через которую может распространяться свет. Дополнительно, задняя пластина может быть оптически присоединена к вспомогательному дисплею 80 или присоединена к листу, пластине или пленке, ближайшим к дисплею, например, через оптический клей.
Задняя пластина 134 может быть расположена вокруг дисплея 80, чтобы образовывать объемный резонатор между дисплеем и задней пластиной. Задняя пластина 134 вспомогательного дисплея 80 сконфигурирована в качестве световода, который принимает свет через световой вход 132, и распространяет свет до передней кромки вспомогательного дисплея 80, где свет выходит из задней пластины/световода 134 через световые выходы 136, 138 и проникает во вспомогательный дисплей 80. Подобно световодам 114 на фиг.12 и 13, задняя пластина 134 может конфигурироваться различным образом, чтобы подавать свет на участок кромки или целую кромку вспомогательного дисплея 80.
Далее, со ссылкой на фиг.16, задняя пластина 134 может проходить за пределами кромок вспомогательного дисплея 80 и располагаться из условия, чтобы область выхода света задней пластины 134 была около кромки вспомогательного дисплея 80. В некоторых вариантах осуществления, оптические соединения 142, 144 могут использоваться, чтобы оптически шунтировать любой зазор, который существует между областью выхода света задней пластины 134 и вспомогательным дисплеем 80. Оптическое соединение 142, 144 может быть, например, небольшим световодом или клеем оптического соединения. Оптические соединения 142, 144 могут включать в них отражающие поверхности, чтобы направлять свет с задней пластины 134 на дисплей. Таким образом, сочетание задней пластины 134 и оптических соединений 142, 144 служит в качестве световода, который подает свет от источника 90 подсветки на вспомогательный дисплей 80.
Фиг.17 показывает по существу оптически пропускной компонент 152, расположенный спереди вспомогательного дисплея 80. В некоторых вариантах осуществления, по существу оптически пропускной компонент является оптической пластиной, а в обсуждении варианта осуществления, приведенном ниже, по существу оптически пропускной компонент будет обозначаться как оптическая пластина 152. В других вариантах осуществления, по существу оптически пропускной компонент является оптическим листом, пленкой или слоем. В некоторых вариантах осуществления, по существу оптически пропускной компонент содержит световод. Соответственно, обсуждение, предоставленное в материалах настоящей заявки касательно оптической пластины 152, к тому же, также может применяться к оптическим листам, пленкам и слоям.
Световод 112, 114 может быть сконфигурирован, чтобы соединять свет от источника 90 подсветки к оптической пластине 152, расположенной спереди вспомогательного дисплея 80 (например, между вспомогательным дисплеем 80 и наблюдателем вспомогательного дисплея 80). В некоторых вариантах осуществления, оптическая пластина 152 может включать в себя оптические элементы, которые помогают перенаправлять свет на элемент модуляции света вспомогательного дисплея 80. Например, оптические элементы на поверхности оптической пластины 152 или в оптической пластине 152 могут перенаправлять свет, направляемый через оптическую пластину 152, например, посредством полного внутреннего отражения. В других вариантах осуществления, где свет падает на поверхность оптической пластины 152, оптические элементы на поверхности или в оптической пластине 152 могут перенаправлять свет, падающий на оптическую пластину 152 при или почти скользящем падении. Этот перенаправленный свет, который, в ином случае, не передавался бы через оптическую пластину 152, вынужден наталкиваться на и подсвечивать элементы модуляции света дисплея. Эти оптические элементы могут содержать, например, элементы рассеяния, которые рассеивают свет, или микрооптические элементы, в том числе, но не в качестве ограничения, миниатюрные призмы и микролинзы, которые перенаправляют свет. Оптические элементы могут содержать формирующую оптику. Соответственно, оптические элементы могут действовать на свет детерминированным или недетерминированным образом. Эти оптические признаки могут содержать одну или более поверхностей, которые отражают или преломляют свет (например, подобно таковым в линзе Френеля или пленке поворота фазы, например четвертьволновая фазовая пленка от корпорации 3M), чтобы перенаправлять свет по направлению к элементам модуляции света. Оптические элементы могут быть симметричными или асимметричными и могут быть периодическими и/или непериодическими. Вместе оптические элементы могут формировать, например, голограмму или дифракционный оптический элемент, или рассеиватель. Эти оптические элементы не имеют необходимости ограничиваться признаками поверхностей и могут включать в себя объемные признаки, такие как объемный рассеиватель или голограмма. Соответственно, свет может перенаправляться с использованием технологий отражения, рефракции, дифракции, случайного или псевдослучайного рассеяния, или любого их сочетания. Другие конфигурации и подходы также возможны.
Оптическая пластина 152 может содержать, например, стекло или пластмассу, или любой по существу оптически пропускающий (или светопроницаемый) материал. В некоторых вариантах осуществления, оптическая пластина 152 содержит оптический лист, пленку или слой. Такие оптические лист, пленка или слой также могут содержать, например, стекло, полимер или другой по существу оптически прозрачный материал. В некоторых вариантах осуществления, оптическая пленка 152 наслоена на подложку, на которой элементы пространственного модулятора света сформированы на одном или более слоев на нем. В других вариантах осуществления, оптическая пленка 152 может выращиваться или может формироваться другими способами, например, оптические структуры могут быть отформованы непосредственно на вспомогательном дисплее в виде постоянной или съемной оптической пленки.
Оптическая пластина 152 может быть оптически присоединена к световодам 112, 114 посредством многообразия технологий. Например, оптический клей или другой соединительный материал могут использоваться в качестве оптического соединения 154, 156 или световода 112, 114, которые могут быть близлежащими или прикасающимися к оптической пластине 152. Оптическое соединение 154, 156 может обеспечивать согласование показателей преломления для уменьшения отражения на поверхности раздела между световодами 112, 114 и оптической пластиной 152. В некоторых предпочтительных вариантах осуществления, выходной порт световодов 112, 114 имеет числовую апертуру или проницаемость, которые по существу соответствуют числовой апертуре или проницаемости оптической пластины 152. В некоторых вариантах осуществления, оптическое соединение 114, 156 обеспечивает числовую апертуру или проницаемость, которые соответствуют таковым у оптической пластины 152. Это оптическое соединение может, например, изменять числовую апертуру или проницаемость световода, по существу, чтобы приводить в соответствие таковым у оптической пластины 152. Формирующий или не формирующий изображение оптический компонент может использоваться, например, для достижения этого преобразования числовой апертуры или проницаемости. В некоторых вариантах осуществления, торцы световодов 112, 114 профилируются и конфигурируются, чтобы обеспечивать это преобразование.
Оптическая пластина 152 может быть сконфигурирована, чтобы рассеивать свет из световодов 112, 114 равномерно по всей поверхности вспомогательного дисплея. В некоторых вариантах осуществления, задняя пластина 116 содержит световод, который присоединяет свет к оптической пластине 152.
Фиг.18 иллюстрирует вариант осуществления, где световоды 112, 114 подают свет 162 на вспомогательный дисплей 80 или на оптическую пластину (лист, пленку или слой, и т.п.), такую как оптическая пластина 152, показанная на фиг.17. Форма световода и форма выходных областей могут быть приспособлены для распространения света регулируемым образом. В некоторых вариантах осуществления, вспомогательный дисплей 80 или оптическая пластина 152 могут быть сконфигурированы, чтобы рассеивать свет по всему дисплею. Оптические элементы могут использоваться для перенаправления света на элементы модуляции света, как описано выше. Например, смотрите описание фиг.17 и связанное обсуждение.
Фиг.19 иллюстрирует вариант осуществления, где световоды 112, 114 дополнительно содержат периферические участки 164, 166, сконфигурированные для управления распространением света, например распространения света 168 на вспомогательный дисплей 80 по предварительно определенному шаблону. В некоторых вариантах осуществления, периферические участки 164, 166 оптических волноводов 112, 114 могут структурироваться для искусственной подсветки по краям с помощью LED. Знание шаблона структурированного рассеяния света предоставляет вспомогательному дисплею 80 возможность конфигурироваться так, чтобы осуществлять рассеивание равномерно по всему дисплею, например, с помощью оптических элементов в дисплее, одной или более оптических пластин 152 (либо листов, пленок или слоев), как описано со ссылкой на фиг.17. Периферическим участком 164, 166 оптических световодов 112, 114 могут быть отдельные компоненты, оптически присоединенные к световодам 112, 114, либо периферические участки 164, 166 могут интегрироваться в качестве части световодов 112, 114.
Варианты осуществления, описанные в материалах настоящей заявки, относятся не только к подаче света на вспомогательный дисплей посредством источника света сдвоенного дисплея, но также к подаче света на основной дисплей. Например, если основной дисплей является отражательным дисплеем, который не принимает свет через заднюю поверхность, которая обращена к источнику подсветки, вышеописанные световоды и конфигурации задней пластины для вспомогательного дисплея могут использоваться для подсветки основного дисплея. Например, фиг.20 иллюстрирует сдвоенный дисплей, оснащенный первым и вторым источниками 192, 194 света, расположенными между вспомогательным дисплеем 80 и основным дисплеем 182. Световоды 181, 183, 185, 187 оптически присоединяют источники 192, 194 света к задним пластинам 116, 117, которые также являются световодами. Свет дополнительно проводится дополнительными оптическими волноводами 186, 188, 196, 198 к дисплеям 80, 84. На фиг.20 дополнительные оптические волноводы 186, 188, 196, 198 оптически присоединены к оптической пленке или пластине 174, 184, расположенным спереди дисплеев 80, 84. Оптические пленки или пластины 174, 178 могут содержать оптические элементы для перенаправления света на элементы модуляции света, как описано выше. К тому же, как описано выше, световоды 186, 188, 196, 198 и оптическая пластина 152, 184 могут быть оптически связаны некоторым образом, который повышает передачу света. Однако, в некоторых вариантах осуществления, дополнительные оптические волноводы 181, 183, 185, 187, 186, 188, 196, 198 и/или оптические пластины или пленки 174, 184 не используются, а задние пластины 116, 117 сконфигурированы для распространения света от источников 192, 194 света либо по всем дисплеям 80, 182, либо на кромки дисплеев, которые могут содержать элементы рассеивания. Подобным образом, свет может присоединяться световодами к подложке в дополнение, либо вместо оптических пленок или пластин 174, 184. Может задействоваться широкая область изменений в конфигурации и конструкциях, таких как описанные выше, и в других местах в материалах настоящей заявки. Например, устройство отображения по пункту 30 формулы изобретения, в котором световод содержит одиночную заднюю пластину, которая подает свет на оба, первый и второй, дисплеи. Тем не менее другие варианты также возможны.
Как описано выше, сдвоенное устройство отображения может включать в себя признаки, которые перенаправляют (например, рассеивают) свет на отражательный дисплей. Такие признаки могут содержать, например, точки подсветки, описанные в находящейся в патентной заявке, озаглавленной «Integrated Modulator Illumination» («Интегрированная подсветка модулятора»), заявка 10/794825 на выдачу патента США.
Вариант осуществления исключительно отражательного дисплея, содержащего пространственный модулятор света, содержащий точки подсветки, показан на фиг.21. Пространственный модулятор света в этом примере содержит интерферометрический модулятор, такой как описанный выше, используемый в качестве части сдвоенного устройства отображения. Рассеиватель 206 расположен спереди пространственного модулятора света. Интерферометрический модулятор, показанный на фиг.21, сформирован на оптически пропускающей подложке 200. Каждый элемент матрицы 204 пространственных модуляторов света может активироваться по отдельности, чтобы модулировать свет, который проходит через рассеиватель 206 и через подложку 200, для достижения элемента 204. Каждый элемент модулятора, когда активирован, может использоваться для направления модулированного или немодулированного света в сторону наблюдателя 214 по противоположной стороне подложки 200. Этот вариант осуществления включает в себя заднюю пластину 202 для модулятора, которая может быть непрозрачной, делающей этот тип модулятора трудным для использования с задней подсветкой. Сами элементы 204 являются непрозрачными, что делает заднюю подсветку даже еще более затруднительной.
При применении кромочной схемы подсветки, которая описана в материалах настоящей заявки для применения сдвоенного дисплея, точки 208 подсветки, сформированные на поверхности раздела между рассеивателем 206 и подложкой 200, могут обеспечивать подсветку для дисплея. Каждая точка 208 является состоящей из первого слоя 210, который является отражающим, расположенного по направлению к матрице модуляторов, и второго слоя 212, который является поглощающим, расположенного по направлению к наблюдателю 214. Точки подсветки могут формироваться на поверхности оптически пропускающей подложки 200 или на рассеивателе 206 (либо на одном или более слоях, сформированных или связанных по ним, например, оптической пластины 152) посредством различных типов технологий трафаретной печати или осаждения тонкопленочных покрытий. Другие способы формирования оптических элементов также могут использоваться.
Точки подсветки вместе с источником света, ассоциативно связанным с дисплеем, могут дополнять рассеянный свет, повышая яркость дисплея. В полной темноте, точки подсветки и ассоциативно связанный источник света могут обеспечивать всю необходимую подсветку для дисплея. Фиг.21 показывает источник 216 света, такой как люминесцентная лампа с холодным катодом или светоизлучающий диод (СИД), находящийся на одной кромке оптически пропускающей подложки 200. Некоторые варианты осуществления, световод засветки по краям, подсвечиваемый, например, посредством СИД, может применяться взамен, в качестве источника 216 света. Свет, излучаемый источником 216 света и надлежащим образом вводимый в подложку 200, распространяется через подложку направляемым в ней посредством эффекта полного внутреннего отражения. Как проиллюстрировано, свет, инициирующий точку подсветки, отражается в нескольких разных направлениях; например, смотрите точки 220 и 222. Как описано выше, в некоторых вариантах осуществления, источник 216 света на фиг.21 может быть световодом, который подсвечивает кромку дисплея или который подсвечивает оптическую пластину, лист, пленку или слой спереди дисплея.
Точки могут конфигурироваться и компоноваться, например, в зависимости от типа и распределения подсветки и среды, в которой может использоваться модулятор, а также конструкции пространственного модулятора света. Фиг.22 показывает пример точечного шаблона, который не является равномерным. В различных вариантах осуществления, точечная компоновка может изменяться по многим аспектам и, например, может быть нерегулярной. Степень регулярности компоновки точек может находиться в диапазоне от полностью случайной до частично случайной, и от частично регулярной до равномерной и периодической. Компоновка может выбираться, чтобы уменьшать муар, который является следствием периодичности элементов модуляции света в матрице модуляторов, или для уменьшения шума постоянного шаблона. К тому же, как описано выше, точки могут компоноваться для распространения света определенным образом, например равномерно по всему дисплею для заданной конфигурации подсветки. Точки в точечном шаблоне, такие как точка 302, преломляют свет рассеяния, который впоследствии инициирует элемент модулятора, такой как элементы 304а и 304b. Свет, преломленный или рассеянный с точки 302, может быть несколько раз отражен внутри в пределах подложки 200 перед инициированием точки 302 и до его преломления и рассеивания.
Как описано выше, свет, введенный в оптически прозрачную подложку 200, преломляется внутри, в подложке 200. Без точек или некоторой другой возмущающей структуры этот свет может продолжать проходить подложку 200. Точки разбивают и возмущают распространение света в пределах подложки 200, рассеивающей свет на элементы 304 пространственного модулятора света. Точки могут быть скомпонованы по шаблону, чтобы предусматривать заданное распространение света по матрице пространственного модулятора света. В некоторых вариантах осуществления точечный шаблон, например, может создавать равномерную подсветку на матрице элементов пространственного модулятора света.
В различных вариантах осуществления, точки будут иметь размер, слишком малый, чтобы различаться глазом наблюдателя, просматривающего дисплей при нормальном расстоянии просмотра. Нежелательные артефакты по-прежнему иногда могут создаваться матрицами с признаками, которые неразличимы по отдельности. Шаблон может быть таким, что эти нежелательные артефакты смягчаются или устраняются. Как описано выше, шаблон также может регулировать распространение света на пространственные модуляторы света.
В дополнение к изменению в формировании по шаблону точек, поверхность, по которой размещены точки, также может быть различной. На фиг.23 точки показаны на поверхности раздела между рассеивателем 502 и оптически пропускающей подложкой 500. Рассеиватель 502 сопрягается с оптически пропускающей подложкой 500 в некоторых вариантах осуществления. Для назначений по фиг.23 рассеиватель был приподнят от подложки 500. Точки, такие как точка 504, могли бы формироваться по шаблону на поверхности подложки 500. Точка 504 содержит отражающий участок 508 по направлению к матрице модуляторов, не показанной, и поглощающий участок 506 по направлению к наблюдателю 214.
В альтернативном варианте осуществления, точки, такие как точка 510, могут размещаться на поверхности рассеивателя 502. Точки также могут формироваться по одному или более слоям на рассеивателе 502 или подложке 500, либо могут формироваться где-либо в другом месте (например, на оптической пластине, расположенной между отражательным дисплеем и наблюдателем дисплея). Изменение положения точек может модифицировать последовательность обработки точек. Точка на поверхности подложки, такая как 504, может содержать первый отражающий материал 508, нанесенный, а затем покрытый «покрытием» 506 поглощающего материала. Если точки находятся на поверхности рассеивателя 502, такие как 510, поглощающий материал 512 может быть положен первым, сопровождаемым отражающим материалом 514. Этот подход поддерживает надлежащую ориентацию слоев относительно модулятора и наблюдателя 214.
Оптические элементы могут располагаться иным образом. Например, оптические элементы могут располагаться на поверхности оптической пластины (листа, пленки или слоя). Оптические элементы также могут располагаться на подложке или оптической пластине (листе, пленке или слое). По-прежнему, возможны другие варианты.
Хотя точки, обладающие заданным профилем и конфигурацией, показаны на фиг.21-23, другие типы элементов (признаков) могут использоваться на подложке вспомогательного дисплея или оптической пластине, листе или пленке спереди вспомогательного дисплея. Эти элементы могут содержать, например, микроструктуры или матрицы микроструктур, содержащие, например, выпуклости, точки или углубления. Элементы могут содержать вогнутые и выпуклые поверхности (например, которые формируют линзы или мини-линзы). В некоторых вариантах осуществления, элементы являются удлиненными и содержат, например, ребра, гребни или канавки, которые могут быть или могут не быть прямыми. Наклонные и изогнутые поверхности также могут использоваться. Возможен широкий диапазон других форм, геометрий и конфигураций. В некоторых вариантах осуществления, геометрии могут детерминированно перенаправлять свет на дисплей. Как описано выше, например, может использоваться микрооптика, такая как микролинзы, призмы, пленки поворота фазы. Элементы, например, могут перенаправлять свет, отбрасываемый при любом угле на поверхность дисплея, чтобы разворачивать на дисплей для надлежащей подсветки. Могут применяться недетерминированные подходы. Оптические элементы могут содержать признаки, которые формируют рассеиватель, преломляющий оптический элемент или голограмму.
Эти признаки могут иметь правильную или неправильную форму и могут иметь разные размеры. Элементы могут содержать непрозрачный или по существу оптически прозрачный материал. Элементы могут быть частично или полностью отражательными, прозрачными и/или поглощающими. Элементы могут содержать металл в некоторых вариантах осуществления или могут содержать диэлектрик. Элементы могут содержать диэлектрик, обладающий показателем преломления, который является таким же или иным, чем поверхность (например, подложка, рассеиватель, оптическая пластина, другие слои и так далее), на которой сформированы элементы. Некоторые матрицы микроструктур могут иметь размеры порядка микрон.
Элементы также могут изготавливаться другими способами. Элементы могут наноситься, например, посредством трафаретной печати или литографическим способом, литьевым формованием или лазерным гравированием. Элементы могут наноситься на поверхность в виде пленки. В альтернативном варианте осуществления, микроструктуры рассеяния и/или направления света могут изготавливаться и присоединяться к поверхности дисплея, оптической пленки или пластины с использованием полимера, который формуется и полимеризуется, чтобы сформировать требуемую микроструктуру, например, с использованием отверждаемого ультрафиолетовым излучением полимера. Другие способы изготовления рассеивающих признаков также возможны.
В дополнение к гибкости в формировании оптических элементов на множестве поверхностей дисплея и гибкости в отношении того, какой шаблон и плотность оптических признаков сформированы, также есть заслуживающая внимание гибкость в отношении момента в последовательности операций изготовления, в который создается оптический элемент. Некоторые примерные варианты осуществления для изготовления матриц пространственных модуляторов света с точками подсветки показаны на фиг.24.
В одном из вариантов осуществления, последовательность операций начинается с подготовки по существу оптически пропускающей подложки на этапе 600. Точки подсветки наносятся на оптически пропускающую подложку или любую оптическую пластину, лист или пленку 152 дисплея на этапе 602. Пространственный модулятор света изготавливается на этапе 604. Модулятор подвергается конечной обработке на этапе 606, который может включать в себя такие задачи, как прикрепление задней пластины. Рассеиватель накладывается на подложку или любую оптическую пластину 152, спереди дисплея, поверх точек подсветки, на этапе 608. Другие компоненты также могут быть включены в состав.
В альтернативном варианте осуществления, пространственный модулятор света изготавливается на «оборотной стороне» (дальше от наблюдателя) по существу оптически пропускающей подложки на этапе 610. Пространственный модулятор света подвергается заключительной обработке на этапе 612. В одном из вариантов осуществления, точки подсветки наносятся на переднюю сторону подложки на этапе 614, а рассеиватель накладывается на этапе 616.
В другом альтернативном варианте, рассеиватель добавляется на этапе 618, после того как модулятор подвергнут заключительной обработке на этапе 612, или в параллель с последовательностью операций изготовления и заключительной обработки модулятора. Точки подсветки наносятся на рассеиватель на этапе 620, и рассеиватель накладывается на подложку на этапе 622.
Другие способы также могут использоваться. Никакая очередность не подразумевается перечислением последовательностей операций, так как очередность может изменяться в зависимости от варианта осуществления. Дополнительно, этапы обработки могут быть добавлены или удалены.
Как описано выше, оптические элементы могут формироваться при одной из многих процедур печати, в том числе, например, литографической печати, струйной печати, трафаретной печати или любого другого типа технологии печати. Непечатные способы также могут использоваться. Оптические элементы (признаки), например, могут формироваться тиснением на поверхности или отливаться. Оптические признаки могут формироваться на поверхности, которая ламинирована или приклеена к подложке или оптической пластине, или другому слою. Тем не менее могут применяться другие технологии, включающие в себя эти обе, широко известные в данной области техники, а также те, которые еще только должны быть разработаны. Форма и конфигурации оптических признаков могут регулироваться для повышения или оптимизации эффективности. Как упомянуто выше, оптические признаки могут изготавливаться при разрешении ниже разрешения человеческого глаза, чтобы избежать влияния на качество изображения, которое воспринимается наблюдателем.
Несмотря на то, что вышеприведенное подробное описание показало, описало и обратило внимание на новейшие признаки изобретения в качестве примененных к различным вариантам осуществления, будет понятно, что различные исключения, замещения и изменения по форме и содержанию проиллюстрированных устройства или последовательности операций могут быть сделаны специалистами в данной области техники, не выходя за рамки сущности изобретения. Как будет понятно, настоящее изобретение может быть воплощено в форме, которая не предусматривает все из признаков и преимуществ, изложенных в материалах настоящей заявки, так как некоторые признаки могут использоваться или осуществляться на практике отдельно от других.
Формула изобретения
1. Устройство отображения, содержащее: пропускной дисплей, содержащий переднюю поверхность и заднюю поверхность, пропускной дисплей сконфигурирован, чтобы подсвечиваться через заднюю поверхность; отражательный дисплей, содержащий переднюю поверхность и заднюю поверхность, упомянутый отражательный дисплей сконфигурирован, чтобы подсвечиваться через переднюю поверхность, при этом задняя поверхность отражательного дисплея расположена по направлению к задней поверхности пропускного дисплея; источник света, расположенный относительно задней стороны пропускного дисплея, чтобы подсвечивать пропускной дисплей через заднюю поверхность; и световод, расположенный относительно источника света, чтобы принимать свет из него, упомянутый световод сконфигурирован для распространения упомянутого света из условия, чтобы упомянутый свет обеспечивал переднюю подсветку упомянутого отражательного дисплея.
2. Устройство по п.1, в котором упомянутый пропускной дисплей содержит дисплей, работающий на пропускание и отражение.
3. Устройство по п.2, в котором дисплей, работающий на пропускание и отражение, содержит жидкокристаллический дисплей.
4. Устройство по п.1, в котором упомянутый отражательный дисплей содержит интерферометрический дисплей.
5. Устройство по п.1, в котором источник света расположен между задней стороной пропускного дисплея и задней стороной отражательного дисплея.
6. Устройство по п.1, в котором световод содержит по существу сформированный в виде кольца выходной порт.
7. Устройство по п.1, в котором световод содержит выходной порт, размещенный для передачи света на участок передней кромки отражательного дисплея.
8. Устройство по п.7, в котором выходной порт световода сконфигурирован из условия, чтобы проницаемость по существу сохранялась между выходным портом и участком передней кромки отражательного дисплея.
9. Устройство по п.7, в котором упомянутый отражательный дисплей содержит подложку, а упомянутый выходной порт световода сконфигурирован для передачи света в упомянутую подложку.
10. Устройство по п.9, в котором выходной порт оптически присоединен к подложке через воздух.
11. Устройство по п.9, в котором выходной порт оптически присоединен к подложке через согласующий показатели преломления материал.
12. Устройство по п.11, в котором согласующий показатели преломления материал содержит согласующий показатели преломления клей.
13. Устройство по п.9, в котором выходной порт световода сконфигурирован из условия, чтобы проницаемость по существу сохранялась между выходным портом и подложкой.
14. Устройство по п.1, в котором световод является полым.
15. Устройство по п.1, дополнительно содержащее по существу оптически пропускной компонент, расположенный спереди отражательного дисплея и оптически присоединенный к выходному порту световода.
16. Устройство по п.15, в котором упомянутый по существу оптически пропускной компонент содержит пластину, лист, пленку или слой.
17. Устройство по п.16, в котором упомянутая пластина, лист, пленка или слой наслоены на переднюю поверхность отражательного дисплея.
18. Устройство по п.15, в котором упомянутый по существу оптически пропускной компонент содержит одну или более оптических структур, которые направляют по меньшей мере часть света, входящего в по существу оптически пропускной компонент, на отражательный дисплей.
19. Устройство по п.18, в котором одна или более оптических структур сконфигурированы, чтобы по существу равномерно рассеивать свет, передаваемый из световода, по отражательному дисплею.
20. Устройство по п.15, в котором выходной порт оптически присоединен к по существу оптически пропускному компоненту через воздух.
21. Устройство по п.15, в котором выходной порт оптически присоединен к по существу оптически пропускному компоненту через согласующий показатели преломления материал.
22. Устройство по п.21, в котором согласующий показатели преломления материал содержит согласующий показатели преломления клей.
23. Устройство по п.15, в котором выходной порт световода сконфигурирован из условия, чтобы проницаемость по существу сохранялась между выходным портом и по существу оптически пропускным компонентом.
24. Устройство по п.15, в котором по существу оптически пропускной компонент содержит световод.
25. Устройство по п.15, в котором по существу оптически пропускной компонент содержит оптическую пластину.
26. Устройство по п.1, в котором световод содержит материал с относительно высоким показателем преломления для распространения света посредством полного внутреннего отражения.
27. Устройство по п.26, в котором материал с оносительно высоким показателем преломления содержит пластик или стекло.
28. Устройство по п.1, в котором световод покрыт отражающим материалом, чтобы по существу ограничивать свет в нем во время распространения через него.
29. Устройство по п.1, в котором световод содержит заднюю пластину для упомянутого отражательного дисплея.
30. Устройство по п.1, дополнительно содержащее: процессор, который находится в электрической связи с по меньшей мере одним из упомянутого пропускного дисплея и упомянутого отражательного дисплея, упомянутый процессор является сконфигурированным для обработки данных изображения; и устройство памяти, находящееся в электрической связи с упомянутым процессором.
31. Устройство по п.30, дополнительно содержащее схему формирователя, сконфигурированную для направления по меньшей мере одного сигнала в по меньшей мере один из упомянутого пропускного дисплея и упомянутого отражательного дисплея.
32. Устройство по п.31, дополнительно содержащее контроллер, сконфигурированный для направления по меньшей мере части упомянутых данных изображения в упомянутую схему формирователя.
33. Устройство по п.30, дополнительно содержащее модуль источника изображения, сконфигурированный для направления упомянутых данных изображения в упомянутый процессор.
34. Устройство по п.33, в котором упомянутый модуль источника изображения содержит по меньшей мере один из приемника, приемопередатчика и передатчика.
35. Устройство по п.30, дополнительно содержащее устройство ввода, сконфигурированное для приема входных данных и для передачи упомянутых входных данных в упомянутый процессор.
36. Способ изготовления устройства отображения, содержащего отражательный дисплей, пропускной дисплей и источник света, отражательный и пропускной дисплеи располагаются в конфигурации один за другим, способ состоит в том, что: размещают источник света относительно задней части пропускного дисплея для подсветки пропускного дисплея через заднюю часть; размещают световод относительно источника света, чтобы принимать свет из него; и размещают отражательный дисплей относительно световода из условия, чтобы свет, выходящий из световода, обеспечивал переднюю подсветку для отражательного дисплея.
37. Способ по п.36, в котором упомянутый пропускной дисплей содержит дисплей, работающий на пропускание и отражение.
38. Способ по п.37, в котором упомянутый дисплей, работающий на пропускание и отражение, содержит жидкокристаллический дисплей.
39. Способ по п.36, в котором упомянутый отражательный дисплей содержит интерферометрический дисплей.
40. Устройство отображения, изготовленное посредством способа по любому из пп.36-39.
41. Устройство отображения, содержащее: первое средство для отображения изображения, упомянутое первое средство отображения содержит переднюю поверхность и заднюю поверхность, упомянутое первое средство отображения сконфигурировано, чтобы подсвечиваться через заднюю поверхность; средство для подсветки упомянутого первого средства отображения через заднюю поверхность; второе средство для отображения изображения, содержащее переднюю поверхность и заднюю поверхность, упомянутое второе средство отображения сконфигурировано, чтобы подсвечиваться через переднюю поверхность; и при этом задняя поверхность первого средства отображения расположена по направлению к задней поверхности второго средства отображения; и средство для подсветки упомянутого второго средства отображения через переднюю поверхность упомянутого второго средства отображения, при этом упомянутое средство для подсветки для упомянутого второго средства отображения использует свет из упомянутого средства подсветки для упомянутого первого средства отображения.
42. Устройство по п.41, в котором упомянутое первое средство отображения содержит пропускной дисплей.
43. Устройство по п.41, в котором упомянутое второе средство отображения содержит интерферометрический дисплей.
44. Устройство по п.41, в котором упомянутое средство подсветки для упомянутого первого средства отображения содержит источник света, расположенный относительно задней стороны упомянутого первого средства отображения так, чтобы подсвечивать упомянутое первое средство отображения через заднюю поверхность.
45. Устройство по п.41, в котором средство подсветки для упомянутого второго средства отображения содержит световод, расположенный относительно упомянутого средства подсветки для упомянутого первого средства отображения так, чтобы принимать свет из него, упомянутый световод сконфигурирован для предоставления света для передней подсветки упомянутого второго средства отображения.
46. Способ формирования изображений, содержащий следующие этапы: отображают изображение на пропускном дисплее, упомянутый пропускной дисплей содержит переднюю поверхность и заднюю поверхность; подсвечивают упомянутый пропускной дисплей через заднюю поверхность с использованием источника света; отображают изображение на отражательном дисплее, содержащем переднюю поверхность и заднюю поверхность, задняя поверхность отражательного дисплея является расположенной по направлению к задней поверхности пропускного дисплея; и подсвечивают упомянутый отражательный дисплей через переднюю поверхность с использованием источника света.
47. Способ по п.46, в котором отображение изображения с упомянутого отражательного дисплея состоит в том, что модулируют свет с использованием множества интерферометрических модуляторов.
48. Способ по п.46, дополнительно состоящий в том, что распространяют свет из источника света через световод на упомянутый отражательный дисплей.
49. Способ по п.46, в котором отображение изображений на пропуском дисплее и отражательном дисплее состоит в том, что отображают текст.
50. Устройство отображения, содержащее: первый отражательный дисплей, содержащий поверхность обзора и заднюю поверхность; второй отражательный дисплей, содержащий поверхность обзора и заднюю поверхность, задняя поверхность первого дисплея расположена по существу противостоящей задней поверхности второго дисплея и расположена у задней поверхности второго дисплея; источник света; и световод, оптически присоединенный к источнику света и оптически присоединенный к кромке или поверхности обоих, первого и второго, дисплеев для передачи света, излучаемого из источника света, на участок поверхности обзора обоих, первого и второго, дисплеев, подсвечивающий первый и второй дисплеи.
51. Устройство отображения по п.50, в котором световод содержит заднюю пластину для одного из дисплеев.
52. Устройство отображения по п.50, в котором световод содержит заднюю пластину для каждого из первого и второго дисплеев.
53. Устройство отображения по п.50, в котором световод содержит одиночную заднюю пластину, которая подает свет на оба, первый и второй, дисплеи.
54. Устройство отображения по п.50, дополнительно содержащее: процессор, который находится в электрической связи с по меньшей мере одним из упомянутого первого дисплея и упомянутого второго дисплея, упомянутый процессор является сконфигурированным для обработки данных изображения; и устройство памяти, находящееся в электрической связи с упомянутым процессором.
55. Устройство отображения по п.54, дополнительно содержащее схему формирователя, сконфигурированную для направления по меньшей мере одного сигнала в по меньшей мере один из упомянутого первого дисплея и упомянутого второго дисплея.
56. Устройство отображения по п.55, дополнительно содержащее контроллер, сконфигурированный для направления по меньшей мере части упомянутых данных изображения в упомянутую схему формирователя.
57. Устройство отображения по п.54, дополнительно содержащее модуль источника изображения, сконфигурированный для отправки упомянутых данных изображения в упомянутый процессор.
58. Устройство отображения по п.57, в котором упомянутый модуль источника изображения содержит по меньшей мере один из приемника, приемопередатчика и передатчика.
59. Устройство отображения по п.54, дополнительно содержащее устройство ввода, сконфигурированное для приема входных данных и передачи упомянутых входных данных в упомянутый процессор.
60. Способ изготовления устройства отображения, способ содержит следующие этапы: обеспечивают первый отражательный дисплей, содержащий поверхность обзора и заднюю поверхность; обеспечивают второй отражательный дисплей, содержащий поверхность обзора и заднюю поверхность, задняя поверхность первого дисплея расположена по существу противолежащей задней поверхности второго дисплея и расположена у задней поверхности второго дисплея; обеспечивают источник света; и обеспечивают световод, оптически присоединенный к источнику света и оптически присоединенный к кромке или поверхности обоих, первого и второго, дисплеев для передачи света, излучаемого из источника света, на участок поверхности обзора обоих, первого и второго, дисплеев, подсвечивающий первый и второй дисплеи.
61. Способ по п.60, в котором световод содержит заднюю пластину для одного из дисплеев.
62. Способ по п.60, в котором световод содержит заднюю пластину для каждого из первого и второго дисплеев.
63. Способ по п.60, в котором световод содержит одиночную заднюю пластину, которая подает свет на оба, первый и второй, дисплеи.
64. Устройство отображения, изготовленное посредством способа по любому из пп.60-63.
65. Способ подсветки устройства, содержащего первый отражательный дисплей, содержащий поверхность обзора и заднюю поверхность, и второй отражательный дисплей, содержащий поверхность обзора и заднюю поверхность, задняя поверхность первого дисплея расположена по существу напротив задней поверхности второго дисплея и размещена у задней поверхности второго дисплея, способ содержит следующие этапы: излучают свет из источника света; собирают излучаемый свет из источника света; и подают собранный свет на участок поверхности обзора первого и второго дисплеев для подсветки дисплеев.
66. Способ по п.65, дополнительно состоящий в том, что отображают изображения на первом и втором дисплеях.
67. Способ по п.66, в котором отображение изображений на упомянутых отражательных дисплеях состоит в том, что модулируют свет с использованием множества интерферометрических модуляторов.
68. Способ по п.66, в котором упомянутое отображение изображений состоит в том, что отображают текст.
69. Устройство отображения, содержащее: первое средство для отображения, содержащее поверхность обзора и заднюю поверхность, упомянутое первое средство отображения является отражательным; второе средство для отображения, содержащее поверхность обзора и заднюю поверхность, задняя поверхность упомянутого первого средства отображения расположена по существу противостоящей и размещена у задней поверхности упомянутого второго средства отображения, упомянутое второе средство отображения является отражательным; средство для предоставления света; и средство для распространения света от упомянутого средства предоставления света на упомянутое первое средство отображения и упомянутое второе средство отображения, чтобы подсвечивать упомянутое первое средство отображения и упомянутое второе средство отображения.
70. Устройство по п.69, в котором упомянутое средство предоставления света содержит источник света.
71. Устройство отображения по п.69, в котором упомянутое средство распространения света содержит световод, оптически присоединенный к средству предоставления света и оптически присоединенный к кромке или поверхности обоих, первого и второго, средств отображения для передачи света, излучаемого из средства предоставления света, на участок поверхности обзора обоих, первого и второго, средств отображения, подсвечивающий первое и второе средства отображения.
72. Устройство отображения по п.69, в котором одно или оба из упомянутых первого средства отображения и второго средства отображения, каждое, содержат множество интерферометрических модуляторов.
РИСУНКИ
|
|