|
(21), (22) Заявка: 2007136965/28, 09.03.2006
(24) Дата начала отсчета срока действия патента:
09.03.2006
(30) Конвенционный приоритет:
09.03.2005 ZA 2005/01992
(43) Дата публикации заявки: 20.04.2009
(46) Опубликовано: 10.06.2010
(56) Список документов, цитированных в отчете о поиске:
SU 1730603 A1, 30.04.1992. SU 623170 A, 05.09.1972. SU 1698867 A1, 15.12.1978. RU 2213982 C1, 10.10.2003. US 2003/0025503 A1, 06.02.2003. US 4349781 A, 14.09.1982.
(85) Дата перевода заявки PCT на национальную фазу:
09.10.2007
(86) Заявка PCT:
IB 2006/000509 20060309
(87) Публикация PCT:
WO 2006/095251 20060914
Адрес для переписки:
101000, Москва, М.Златоустинский пер., 10, кв.15, “ЕВРОМАРКПАТ”, пат.пов. И.А.Веселицкой, рег. 11
|
(72) Автор(ы):
ХВАЛА Андреас (DE), МАКНЕ Джеймс (AU), ШТОЛЬЦ Ронни (DE)
(73) Патентообладатель(и):
АНГЛО ОПЕРЕЙШНС ЛИМИТЕД (ZA)
|
(54) ПРИЕМНАЯ СИСТЕМА НА ОСНОВЕ НИЗКОТЕМПЕРАТУРНЫХ СВЕРХПРОВОДЯЩИХ МАГНИТОМЕТРОВ ДЛЯ ЭЛЕКТРОРАЗВЕДКИ МЕТОДОМ ПЕРЕХОДНЫХ ПРОЦЕССОВ
(57) Реферат:
Изобретение относится к электроразведке методом переходных процессов. Сущность: электроразведочная станция включает передатчик для передачи первичного электромагнитного поля и генерации на разведываемой местности вторичного электромагнитного поля с переходным, затухающим во временной области профилем. Приемная система (18) включает первый и второй датчики (20, 22) для обнаружения вторичного электромагнитного поля. Второй датчик (22) имеет меньшую чувствительность (примерно в 10 раз), чем первый датчик (20), и служит для обнаружения вторичного электромагнитного поля в течение первого периода времени. Первый датчик (20) используют для обнаружения вторичного электромагнитного поля по истечении первого периода времени. Каждый датчик (20, 22) включает три ортогональных магнитометра. Технический результат: повышение глубины обнаружения проводящих рудных скоплений. 3 н. и 12 з.п. ф-лы, 2 ил.
Предпосылки создания изобретения
Настоящее изобретение относится к системе приема электромагнитного поля с использованием метода переходных процессов и способу сбора данных на электроразведочной станции.
Типичные разведочные станции включают передатчик для передачи первичного электромагнитного поля в толщу пород. Для приема и регистрации вторичного электромагнитного поля, создаваемого токами Фуко, которые возникают в результате взаимодействия между подземными рудными скоплениями и первичным электромагнитным полем, служит приемник, включающий однокомпонентную или трехкомпонентную приемную катушку и соответствующие электронные схемы. Обычно в зонах со средней и низкой удельной электропроводностью земли регистрируют незначительные индуцированные токами Фуко вторичные электромагнитные поля, а в зонах с более высокой удельной электропроводностью генерируются более сильные токи Фуко, в результате чего возникает более значительное вторичное электромагнитное поле.
Вторичное электромагнитное поле является переходным полем, которое имеет затухающий профиль 10, такой как показан на фиг.1, где по оси у логарифмической шкалы отложена амплитуда вторичного поля, а по оси x логарифмической шкалы отложено время. Обычно приемная катушка приемника включает три ортогональных датчика для обнаружения вторичного поля в диапазоне, указанном стрелкой 12. Как показано стрелкой 12, верхний предел обнаружения приемника установлен непосредственно над максимальным значением профиля 10, а нижним пределом приемника является порог 14, заданный физическими ограничениями приемника. Таким образом, из фиг.1 следует, что по истечении времени t1 вторичное поле, составляющая 16 характеристики которого обозначена пунктирной линией, не будет обнаружено.
Вместе с тем, было бы желательно и полезно, помимо обнаружения характеристики поля до истечения времени t1, обнаруживать вторичное электромагнитное поле по истечении времени t1. Это могло бы указывать на присутствие проводящих рудных скоплений, расположенных на относительно большей глубине под землей. В основу настоящего изобретения положена задача устранения этого недостатка существующих электроразведочных станций и способов электроразведки.
Краткое изложение сущности изобретения
Согласно первой особенности изобретения предложена электроразведочная станция, включающая:
передатчик для передачи первичного электромагнитного поля, приводящего к генерации на разведываемой местности вторичного электромагнитного поля с переходным, затухающим во временной области профилем, и
приемную систему, включающую первый и второй датчики для обнаружения вторичного электромагнитного поля, при этом второй датчик имеет меньшую чувствительность, чем первый датчик, и служит для обнаружения вторичного электромагнитного поля в течение первого периода времени, а первый датчик используется для обнаружения вторичного электромагнитного поля по истечении первого периода времени.
В предпочтительном варианте электроразведочная станция дополнительно включает средство сбора данных, соединенное с первым и вторым датчиками и служащее для сбора и регистрации полевых данных на протяжении всей кривой затухания вторичного электромагнитного поля.
Предпочтительно средство сбора данных осуществляет сбор и регистрацию полевых данных на протяжении всей кривой затухания вторичного электромагнитного поля до достижения нижнего предела чувствительности в 5 фТ/ Гц для их последующей обработки.
В типичном варианте осуществления второй датчик имеет примерно в 10 раз меньшую чувствительность, чем первый датчик.
Обычно каждый датчик включает три ортогональных магнитометра.
Предпочтительно магнитометры первого и второго датчиков представляют собой низкотемпературные сверхпроводящие квантовые интерференционные датчики (СКВИД-магнитометры).
Согласно второй особенности изобретения предложена приемная система электроразведочной станции, включающей передатчик для передачи первичного электромагнитного поля с генерацией на разведываемой местности вторичного электромагнитного поля с переходным, затухающим во временной области профилем, при этом приемная система включает первый и второй датчики для обнаружения вторичного электромагнитного поля, второй датчик имеет меньшую чувствительность, чем первый датчик, и служит для обнаружения вторичного электромагнитного поля в течение первого периода времени, а первый датчик используют для обнаружения вторичного электромагнитного поля по истечении первого периода времени.
Предпочтительно приемная система дополнительно включает средство сбора данных, соединенное с первым и вторым датчиками и служащее для сбора и регистрации полевых данных на протяжении всей кривой затухания вторичного электромагнитного поля.
Предпочтительно средство сбора данных осуществляет сбор и регистрацию полевых данных на протяжении всей кривой затухания вторичного электромагнитного поля до достижения нижнего предела чувствительности в 5 фТ/ Гц для их последующей обработки.
В типичном варианте осуществления второй датчик имеет примерно в 10 раз меньшую чувствительность, чем первый датчик.
Обычно каждый датчик включает три ортогональных магнитометра.
Предпочтительно магнитометры первого и второго датчиков представляют собой низкотемпературные сверхпроводящие квантовые интерференционные датчики (СКВИД-магнитометры).
Согласно третьей особенности изобретения предложен способ сбора данных на электроразведочной станции, включающей передатчик для передачи первичного электромагнитного поля и генерации на разведываемой местности вторичного электромагнитного поля с переходным, затухающим во временной области профилем, включающий стадии, на которых:
подготавливают приемную систему, включающую первый и второй датчики для обнаружения вторичного электромагнитного поля, в которой второй датчик имеет меньшую чувствительность, чем первый датчик,
используют второй датчик для обнаружения вторичного электромагнитного поля в течение первого периода времени и
используют первый датчик для обнаружения вторичного электромагнитного поля по истечении первого периода времени.
Обычно способ дополнительно включает сбор и регистрацию полевых данных, обнаруженных первым и вторым датчиками на протяжении всей кривой затухания вторичного электромагнитного поля.
Предпочтительно способ включает сбор и регистрацию полевых данных на протяжении всей кривой затухания вторичного электромагнитного поля до достижения нижнего предела чувствительности в 5 фТ/ Гц для их последующей обработки.
Краткое описание чертежей
Ниже изобретение более подробно рассмотрено со ссылкой на прилагаемые чертежи, на которых:
на фиг.1 показан типичный характер становления вторичного электромагнитного поля в залегающих на большой глубине рудных скоплениях, которое возбуждено путем передачи первичного электромагнитного поля в толщу пород, и
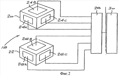
на фиг.2 – схема предложенной в настоящем изобретении электроразведочной станции, позволяющей регистрировать вторичное электромагнитное поле как до истечения времени t1, показанного на фиг.1, так и по истечении времени t1.
Описание предпочтительного варианта осуществления
Как показано на чертежах, приемная система 18, применимая в предложенной в настоящем изобретении электромагнитной станции, включает первый, относительно чувствительный датчик 20 и второй датчик 22, имеющий меньшую чувствительность, чем первый датчик 20. Обычно второй датчик 22 в 10 раз менее чувствителен, чем первый датчик 20, за счет чего он имеет более высокую динамическую скорость и скорость поворота, чем первый датчик. Таким образом, первый датчик 20 используют для обнаружения вторичного электромагнитного поля по истечении времени t1, второй датчик 22 используют для обнаружения поля до истечения времени t1.
Каждый датчик 20, 22 включает три ортогональных магнитометра 24А, 24В и 24С и 26А, 26В и 26С соответственно.
Предпочтительно чувствительность второго датчика составляет около 50 фТ/ /Гц, а чувствительность первого датчика составляет около 5 фТ/ Гц, за счет чего скорость поворота второго датчика в 10 раз выше. Так образом, первый датчик 20 рассчитан на измерение с высокой точностью поздних стадий затухания электромагнитного поля во временной области, показанного на фиг.1, а второй датчик рассчитан на измерение ранних стадий затухания. За счет этого станция способна точно измерять кривую затухания на протяжении всего временного интервала сигнала.
Первый и второй датчики 20, 22 представляют собой низкотемпературные сверхпроводящие квантовые интерференционные датчики (СКВИД-магнитометры). Обычно эти датчики помещены в заполненный жидким гелием криостат, хотя в целях обеспечения ясности описания изобретения это и не показано на схемах. Важно, что криостат сконструирован таким образом, чтобы иметь минимальное число металлических частей, способных помешать измерениям методом переходных процессов, но обладающих эффективной способностью поддерживать температурный режим, позволяющий осуществлять смену гелия с интервалом в 24 часа.
Первый и второй датчики 20, 22 посредством электронной схемы 28 управления, самонастройки и усиления соединены со средством 30 сбора данных, осуществляющим сбор и регистрацию полевых данных на протяжения всей кривой затухания вторичного электромагнитного поля. Средство 30 сбора данных имеет шесть входов, образующих шестиканальную систему СКВИД-магнитометров, характеристики которой позволяют осуществлять высокочувствительные измерения методом переходных процессов.
Низко- и высокочувствительные датчики могут быть включены по отдельности, а также одновременно при помощи переключателей на электронной схеме 28 управления. Предпочтительно электронная схема 28 управления включает схему определения скорости поворота магнитного поля на основании данных, регистрируемых вторым датчиком 22, и управляет режимом работы первого датчика 20. За счет этого первый датчик 20 приводят в действие только при достаточно малой скорости поворота, обеспечивающей устойчивый режим его работы.
Таким образом, как показано на фиг.1, предложенный в настоящем изобретении приемник не только способен улавливать вторичное поле в диапазоне, указанном стрелкой 12, но также в диапазоне, указанном стрелкой 32.
Формула изобретения
1. Электроразведочная станция, содержащая передатчик для передачи первичного электромагнитного поля с генерацией вторичного электромагнитного поля от разведываемой местности, имеющего переходной, затухающий во временной области профиль, и приемную систему, включающую в себя первый и второй датчики для обнаружения вторичного электромагнитного поля, при этом второй датчик имеет меньшую чувствительность, чем первый датчик и служит для обнаружения вторичного электромагнитного поля в течение первого периода времени, а первый датчик используется для обнаружения вторичного электромагнитного поля по истечении первого периода времени.
2. Электроразведочная станция по п.1, дополнительно включающая средство сбора данных, соединенное с первым и вторым датчиками и служащее для сбора и регистрации полевых данных на протяжении всей кривой затухания вторичного электромагнитного поля.
3. Электроразведочная станция по п.2, в которой средство сбора данных осуществляет сбор и регистрацию полевых данных на протяжении всей кривой затухания вторичного электромагнитного поля до достижения нижнего предела чувствительности в 5 фТ/ Гц для их последующей обработки.
4. Электроразведочная станция по п.1, в которой второй датчик имеет примерно в 10 раз меньшую чувствительность, чем первый датчик.
5. Электроразведочная станция по любому из предшествующих пунктов, в которой каждый датчик включает три ортогональных магнитометра.
6. Электроразведочная станция по п.5, в которой магнитометры первого и второго датчиков представляют собой низкотемпературные сверхпроводящие квантовые интерференционные датчики (СКВИД-магнитометры).
7. Приемная система электроразведочной станции, включающей передатчик для передачи первичного электромагнитного поля с генерацией вторичного электромагнитного поля от разведываемой местности, имеющего переходной, затухающий во временной области профиль, при этом приемная система включает первый и второй датчики для обнаружения вторичного электромагнитного поля, причем второй датчик имеет меньшую чувствительность, чем первый датчик и служит для обнаружения вторичного электромагнитного поля в течение первого периода времени, а первый датчик используется для обнаружения вторичного электромагнитного поля по истечении первого периода времени.
8. Приемная система по п.7, дополнительно включающая средство сбора данных, соединенное с первым и вторым датчиками и служащее для сбора и регистрации полевых данных на протяжении всей кривой затухания вторичного электромагнитного поля.
9. Приемная система по п.8, в которой средство сбора данных осуществляет сбор и регистрацию полевых данных на протяжении всей кривой затухания вторичного электромагнитного поля до достижения нижнего предела чувствительности в 5 фТ/ Гц для их последующей обработки.
10. Приемная система по п.7, в которой второй датчик имеет примерно в 10 раз меньшую чувствительность, чем первый датчик.
11. Приемная система по любому из пп.7-10, в которой каждый датчик включает три ортогональных магнитометра.
12. Приемная система по п.11, в которой магнитометры первого и второго датчиков представляют собой низкотемпературные сверхпроводящие квантовые интерференционные датчики (СКВИД-магнитометры).
13. Способ сбора данных на электроразведочной станции, включающей передатчик для передачи первичного электромагнитного поля с генерацией вторичного электромагнитного поля от разведываемой местности, имеющего переходной, затухающий во временной области профиль, при осуществлении которого выполняют следующие шаги: подключают приемную систему, включающую первый и второй датчики для обнаружения вторичного электромагнитного поля, в которой второй датчик имеет меньшую чувствительность, чем первый датчик, используют второй датчик для обнаружения вторичного электромагнитного поле в течение первого периода времени и используют первый датчик для обнаружения вторичного электромагнитного поля по истечении первого периода времени.
14. Способ по п.13, в котором осуществляют сбор и регистрацию полевых данных, обнаруженных первым и вторым датчиками на протяжении всей кривой затухания вторичного электромагнитного поля.
15. Способ по п.14, в котором осуществляют сбор и регистрацию полевых данных на протяжении всей кривой затухания вторичного электромагнитного поля до достижения нижнего предела чувствительности в 5 фТ/ Гц для их последующей обработки.
РИСУНКИ
|