|
|
(21), (22) Заявка: 2008147561/09, 02.12.2008
(24) Дата начала отсчета срока действия патента:
02.12.2008
(46) Опубликовано: 10.06.2010
(56) Список документов, цитированных в отчете о поиске:
ВАСИЛЬЕВ К.К. Цифровое обнаружение некогерентных импульсных сигналов при изменяющейся мощности помехи. Известия ВУЗов СССР. – Радиоэлектроника, 1978, 7. RU 2039365 C1, 09.07.1995. RU 2293347 C2, 10.02.2007. RU 2270461 C2, 20.02.2006. US 2002173933 A1, 21.11.2002. EP 1862817 A1, 05.12.2007. WO 02086535 A1, 31.10.2002.
Адрес для переписки:
630099, г.Новосибирск-99, ул. Горького, 78, ОАО “НИИИП”
|
(72) Автор(ы):
Лозовский Игорь Филиппович (RU)
(73) Патентообладатель(и):
ОТКРЫТОЕ АКЦИОНЕРНОЕ ОБЩЕСТВО “НАУЧНО-ИССЛЕДОВАТЕЛЬСКИЙ ИНСТИТУТ ИЗМЕРИТЕЛЬНЫХ ПРИБОРОВ” (ОАО “НИИИП”) (RU)
|
(54) СПОСОБ ОБНАРУЖЕНИЯ НЕКОГЕРЕНТНОЙ ПАЧКИ СИГНАЛОВ С ПОСТОЯННЫМ УРОВНЕМ ЛОЖНЫХ ТРЕВОГ
(57) Реферат:
Изобретение относится к радиолокации и может быть использовано для обнаружения некогерентной пачки сигналов на фоне помех. Достигаемый технический результат изобретения – снижение уровня ложных тревог. Для достижения указанного технического результата в способе обнаружения некогерентной пачки сигналов с постоянным уровнем ложных тревог, в котором в каждом из N периодов повторения некогерентной пачки выполняют следующее: формируют окно из Nw элементов дальности, расположенных симметрично относительно проверяемого k-го элемента дальности, где оценивают мощность помех в проверяемом элементе дальности по среднему значению в окне из Nw элементов дальности квадратов огибающей помехи нормируют квадрат огибающей в проверяемом элементе дальности к оценке мощности помех ; после этого усредняют результаты нормирования в N периодах повторения некогерентной пачки, затем принимают решение об обнаружении некогерентной пачки сигналов в проверяемом элементе дальности в случае превышения усредненным результатом нормирования порогового уровня С, выполняют следующее: из результатов нормирования zk,n в N периодах повторения некогерентной пачки образуют упорядоченную выборку , элементы данной выборки с рангом r от N-Ns+1 до N, где Nss, проверяя тем самым выполнение условия для r = N, N-N2+1, при выполнении данного условия принимают решение об обнаружении в i-м периоде повторения некогерентной пачки несинхронного с периодом повторения сигнала, где номер периода i находится из выражения из усредняемых результатов нормирования исключают связанный с наличием указанного несинхронного с периодом повторения сигнала результат нормирования zk,i, подсчитывают число раз m, где 0 ms, когда упомянутое условие было выполнено, пороговый уровень С изменяют в зависимости от числа m так, чтобы обеспечить заданное значение вероятности ложных тревог. 2 ил. ,>
Изобретение относится к радиолокации и может быть использовано для обнаружения некогерентной пачки сигналов на фоне помех. В частности, для обнаружения некогерентной пачки сигналов при воздействии помех, мощность которых изменяется от периода к периоду повторения импульсов некогерентной пачки и несинхронных с периодом повторения сигналов (НС), длительность которых сравнима с длительностью сигналов, отраженных от цели в каждом из периодов пачки.
Известен способ обнаружения некогерентной пачки сигналов с постоянным уровнем ложных тревог (Кузьмин С.З. Основы теории цифровой обработки радиолокационной информации. – М.: Сов. радио, 1974). Суть этого способа состоит в сравнении амплитуд сигналов, принятых в каждом периоде пачки, с порогом и накоплении бинарных сигналов превышения порогового уровня. В этом способе принимается решение о том, что сигналы в проверяемом элементе дальности отражены от цели, если число превышений порогового уровня в N периодах повторения импульсов некогерентной пачки было не меньше, чем цифровой порог К. При этом обеспечивается низкий уровень ложных тревог при воздействии НС, длительность которых сравнима с длительностью сигналов, отраженных от цели в каждом из периодов пачки, если их число за пачку меньше, чем К.
Основной недостаток этого способа заключается в существенных потерях обнаружения некогерентной пачки сигналов цели по сравнению со способами обнаружения некогерентной пачки сигналов, в которых накапливаются амплитуды принятых в периодах пачки сигналов.
Наиболее близким техническим решением является способ обнаружения некогерентной пачки сигналов с постоянным уровнем ложных тревог, известный из (Васильев К.К. Цифровое обнаружение некогерентных импульсных сигналов при изменяющейся мощности помехи. Изв. ВУЗов СССР. Радиоэлектроника, 7, 1978 г.). В данном способе в окне из Nw элементов дальности, расположенных симметрично относительно проверяемого на наличие сигналов цели k-го элемента дальности, в каждом из n=1, , N периодов пачки оценивают мощность помех в проверяемом элементе дальности по среднему значению квадратов огибающей помехи: , нормируют квадрат огибающей в проверяемом элементе к указанным оценкам мощности помех , усредняют результаты нормирования за N импульсов пачки, принимают решение о том, что сигналы в проверяемом элементе дальности отражены от цели при превышении средним значением нормированных сигналов порогового уровня С:

В прототипе обеспечиваются низкие потери обнаружения сигналов цели в условиях стационарных помех и помех, мощность которых изменяется от периода к периоду повторения импульсов пачки, например, несинхронных с периодом повторения импульсов пачки шумовых импульсных помех, длительность которых превышает размеры окна по дальности.
Недостаток наиболее близкого известного способа состоит в том, что при воздействии НС, длительность которых сравнима с длительностью сигналов, отраженных от цели в каждом из периодов пачки, существенно возрастает уровень ложных тревог.
Техническим результатом (решаемой задачей) изобретения является устранение названного недостатка, а именно снижение уровня ложных тревог при воздействии НС, длительность которых сравнима с длительностью сигналов, отраженных от цели в каждом из периодов пачки.
Технический результат (решаемая задача) в предлагаемом способе достигается тем, что в известном способе обнаружения некогерентной пачки сигналов с постоянным уровнем ложных тревог, в котором в каждом из N периодов повторения некогерентной пачки выполняют следующее: формируют окно из Nw элементов дальности, расположенных симметрично относительно проверяемого k-го элемента дальности, где , оценивают мощность помех в проверяемом элементе дальности по среднему значению в окне из Nw элементов дальности квадратов огибающей помехи , нормируют квадрат огибающей в проверяемом элементе дальности к оценке мощности помех ; после этого усредняют результаты нормирования в N периодах повторения некогерентной пачки, затем принимают решение об обнаружении некогерентной пачки сигналов в проверяемом элементе дальности в случае превышения усредненным результатом нормирования порогового уровня С, согласно изобретению из результатов нормирования zk,n в N периодах повторения некогерентной пачки образуют упорядоченную выборку , элементы данной выборки с рангом r от N-Ns+1 до N, где NSs, проверяя тем самым выполнение условия,>

для r=N, N-N2+1,
при выполнении данного условия принимают решение об обнаружении в i-м периоде повторения некогерентной пачки НС, где номер периода i находится из выражения , из усредняемых исключают связанный с наличием указанного НС результат нормирования zk,i, подсчитывают число раз m, где 0 m Ns, когда упомянутое условие было выполнено, пороговый уровень С изменяют в зависимости от числа m так, чтобы обеспечить заданное значение вероятности ложных тревог.
Новыми существенными признаками предлагаемого способа являются следующие:
– образование упорядоченной выборки из результатов нормирования zk,n в N периодах повторения некогерентной пачки;
– проверка условия (2), заключающегося в сравнении с элементом упорядоченной выборки с рангом N-Ns взвешенных с постоянным коэффициентом d элементов данной выборки с рангом r от N-Ns+1 до N, где Ns
– при выполнении данного условия принятие решения об обнаружении в i-м периоде повторения некогерентной пачки НС, где номер периода i находится из выражения , исключение из усредняемых результата нормирования zk,i, связанного с наличием указанного НС;
– подсчет числа раз m, где 0 m Ns, когда условие (2) было выполнено;
– учет зависимости порогового уровня С от числа m так, чтобы обеспечить заданное значение вероятности ложных тревог.
Применение всех новых признаков совместно с признаками прототипа позволит получить снижение уровня ложных тревог при воздействии НС, длительность которых в каждом из периодов пачки сравнима с длительностью сигналов, отраженных от цели.
Изобретение поясняется чертежами:
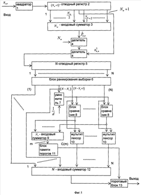
– Фиг.1 – структурная схема устройства, реализующего предлагаемый способ обнаружения некогерентной пачки сигналов.
– Фиг.2 – характеристики обнаружения некогерентной пачки при воздействии НС в прототипе и предлагаемом способе.
Техническая реализация предлагаемого способа обнаружения некогерентной пачки сигналов с постоянным уровнем ложных тревог возможна на основе устройства, показанного на Фиг.1. Устройство содержит квадратор 1, вход которого является входом устройства, (Nw+1) – отводный регистр 2, Nw – входовый сумматор 3, два делителя 4, N – отводный регистр 5, блок ранжирования выборки 6, умножитель 7, Ns блоков сравнения 8, Ns – входовый сумматор 9, Ns мультиплексоров 10, блок памяти порогов 11, N – входовый сумматор 12, пороговый блок 13.
Устройство работает следующим образом. На квадратор 1 поступают отсчеты огибающей xi,n с выхода приемного устройства РЛС. С выхода квадратора 1 отсчеты поступают на (Nw+1) – отводный регистр 2, с центрального отвода которого в каждом из периодов пачки снимаются и подаются на первый вход второго делителя 4 отсчеты в проверяемом элементе дальности. Отсчеты с отводов регистра 2 подаются на Nw – входовый сумматор 3 и далее на первый делитель 4, в результате чего определяются и подаются на второй вход второго делителя 4 оценки мощности помех в каждом периоде повторения импульсов. Квадраты огибающей принятых сигналов нормируются к оценкам мощности помех во втором делителе 4 и записываются в N – отводный регистр 5, N выходов которого соединены с соответствующими входами блока ранжирования выборки 6. С выходов блока 6 отсчеты снимаются в порядке возрастания, так что первому выходу соответствует минимальный отсчет , а выходу N – максимальный отсчет Отсчеты , , с выходов 1, ,N-Ns блока 6 без изменений подаются на N-входовый сумматор 13, так как в них не могут содержаться отсчеты НС. Отсчеты с выходов N-Ns+1, ,N блока ранжирования выборки 6 подвергаются дополнительной обработке, которая заключается в их сравнении в блоках сравнения 8 с умноженным на коэффициент в блоке умножения 7 сигналом c выхода N-Ns блока ранжирования выборки 6. На выходах блоков сравнения 8 в случае непревышения сигналов с выхода блока ранжирования выборки 6 над сигналом с выхода блока умножения 7 появляются единичные сигналы, которые, поступая на управляющие входы мультиплексоров 10, разрешают прохождение сигналов с выходов блока ранжирования выборки 6 на входы N-входового сумматора 12. При наличии в выборке отсчетов НС большой амплитуды прохождение сигналов с выходов блока ранжирования выборки 6 на входы N-входового сумматора 12 запрещается, данные сигналы исключаются из дальнейшей обработки. Сумма нормированных сигналов, прошедших обработку, с выхода блока N-входового сумматора 12 подается на первый вход порогового блока 13, выход которого является выходом устройства. На второй вход порогового блока 13 с выхода блока памяти порогов 11 подается величина порога обнаружения, которая соответствует числу сигналов N-m, которые остались в обработке. Величина N-m определяется суммированием в блоке Ns-входового сумматора 9 одноразрядных сигналов с выходов блоков сравнения 8 и подается на вход блока памяти порогов 11.
Расчеты характеристик предлагаемого способа обнаружения некогерентной пачки сигналов проводились методом статистического моделирования в среде программы MatLab v.7. Параметры были следующими: число импульсов в пачке N=4, число НС Ns=1, весовой множитель d=-8 дБ, номинальное значение вероятности ложных тревог Pf=10-6, размер окна по дальности Nw=32.
Зависимости вероятности обнаружения некогерентной пачки сигналов от мощности НС для прототипа и предлагаемого способа обнаружения показаны на Фиг.2. Обозначено: р – прототип, i – изобретение. Если для прототипа НС обнаруживается практически так же, как обычная некогерентная пачка сигналов от цели, вероятность обнаружения НС стремится к 1 при увеличении его мощности S, то в предлагаемом способе обнаружения некогерентной пачки сигналов уровень ложных тревог в значительной степени снижается Pf 0.017.
Таким образом, использование предлагаемого изобретения позволит решить поставленную задачу с получением технического результата, который заключается в снижении уровня ложных тревог при воздействии НС, длительность которых сравнима с длительностью сигналов, отраженных от цели в каждом из периодов пачки.
Формула изобретения
Способ обнаружения некогерентной пачки сигналов с постоянным уровнем ложных тревог, в котором в каждом из N периодов повторения некогерентной пачки выполняют следующее: формируют окно из Nw элементов дальности, расположенных симметрично относительно проверяемого k-го элемента дальности, где , оценивают мощность помех в проверяемом элементе дальности по среднему значению в окне из Nw элементов дальности квадратов огибающей помехи , нормируют квадрат огибающей в проверяемом элементе дальности к оценке мощности помех ; после этого усредняют результаты нормирования в N периодах повторения некогерентной пачки, затем принимают решение об обнаружении некогерентной пачки сигналов в проверяемом элементе дальности в случае превышения усредненным результатом нормирования порогового уровня С, отличающийся тем, что из результатов нормирования zk,n в N периодах повторения некогерентной пачки образуют упорядоченную выборку , элементы данной выборки с рангом г от N-Ns+1 до N, где Nss, проверяя тем самым выполнение условия для r = N, N-Ns+1, при выполнении данного условия принимают решение об обнаружении в i-м периоде повторения некогерентной пачки несинхронного с периодом повторения сигнала, где номер периода i находится из выражения , из усредняемых результатов нормирования исключают связанный с наличием указанного несинхронного с периодом повторения сигнала результат нормирования zk,i, подсчитывают число раз m, где 0 m Ns, когда упомянутое условие было выполнено, пороговый уровень С изменяют в зависимости от числа m так, чтобы обеспечить заданное значение вероятности ложных тревог.,>
РИСУНКИ
;
|
|