|
(21), (22) Заявка: 2009115297/28, 21.04.2009
(24) Дата начала отсчета срока действия патента:
21.04.2009
(46) Опубликовано: 10.06.2010
(56) Список документов, цитированных в отчете о поиске:
RU 2189032 C2, 10.09.2002. RU 2105293 C1, 20.02.1998. SU 306427 A1, 01.01.1971. JP 4309852 A, 02.11.1992.
Адрес для переписки:
656038, Алтайский край, г.Барнаул, пр. Ленина, 46, АлтГТУ, ОИПС
|
(72) Автор(ы):
Коротких Владимир Михайлович (RU)
(73) Патентообладатель(и):
Государственное образовательное учреждение высшего профессионального образования “Алтайский государственный технический университет им. И.И. Ползунова” (АлтГТУ) (RU)
|
(54) СПОСОБ ОПРЕДЕЛЕНИЯ ЭНЕРГИИ АКТИВАЦИИ ВЗАИМОДЕЙСТВИЯ КОМПОНЕНТОВ КОНДЕНСИРОВАННОЙ ЭЛЕКТРОПРОВОДНОЙ СРЕДЫ В ВОЛНЕ ГОРЕНИЯ ФРОНТАЛЬНОГО САМОРАСПРОСТРАНЯЮЩЕГОСЯ ВЫСОКОТЕМПЕРАТУРНОГО СИНТЕЗА ИЛИ САМОРАСПРОСТРАНЯЮЩЕГОСЯ ВЫСОКОТЕМПЕРАТУРНОГО СИНТЕЗА В РЕЖИМЕ ТЕПЛОВОГО ВЗРЫВА
(57) Реферат:
Изобретение относится к измерительной технике. В способе предварительно создают положительную напряженность электрического поля относительно взаимодействующих компонентов конденсированной электропроводной среды, размещенных в вакууме, при саморазогреве которых происходит появление, а при увеличении температуры соответственно увеличение тока термоэлектронной эмиссии. В качестве энергетического параметра взаимодействующих компонентов конденсированной электропроводной среды используют величину тока термоэлектронной эмиссии, в качестве температуры начала взаимодействия компонентов конденсированной электропроводной среды используют температуру в волне горения фронтального самораспространяющегося высокотемпературного синтеза (СВС) или СВС в режиме теплового взрыва. Технический результат – снижение трудоемкости и повышение точности определения энергии активации. 2 ил.
Изобретение относится к теплофизическим измерениям и может быть использовано в исследованиях кинетики горения самораспространяющегося высокотемпературного синтеза (СВС).
Известен способ определения энергии активации взаимодействия компонентов конденсированной электропроводной среды, реагирующих в режиме теплового взрыва СВС, при наличии дополнительного нехимического источника тепловыделения в самой конденсированной электропроводной среде, заключающийся в том, что предварительно через взаимодействующие компоненты конденсированной электропроводной среды пропускают электрический ток, предназначенный для нагрева этой среды до воспламенения, затем устанавливают зависимость между характерной температурой, при которой мощность тепловыделения за счет химической реакции сравняется с мощностью дополнительного источника тепловыделения, и строят график зависимости в следующих координатах:
ln W-1/T*.
При этом зависимость между характерной температурой и мощностью дополнительного источника тепловыделения определяют следующим образом.
1. Если начальная температура смеси компонентов конденсированной электропроводной среды постоянна, и фиксируют только значения мощности дополнительного источника тепловыделения и периодов индукции, то есть времени, в течение которого скорость реакции достигнет своего максимума, то характерную температуру находят из следующей формулы:

где ti – период индукции;
с – теплоемкость смеси компонентов конденсированной электропроводной среды;
р – плотность смеси компонентов конденсированной электропроводной среды;
T* – характерная температура смеси компонентов конденсированной электропроводной среды, при которой мощность тепловыделения за счет химической реакции сравняется с мощностью дополнительного источника тепловыделения;
Т0 – начальная температура смеси компонентов конденсированной электропроводной среды;
W – мощность дополнительного источника тепловыделения.
2. Если начальную температуру смеси компонентов конденсированной электропроводной среды измеряют при постоянной мощности дополнительного источника тепловыделения, то характерную температуру находят также по формуле (1).
Об энергии активации взаимодействия компонентов конденсированной электропроводной среды в режиме теплового взрыва СВС судят по наклону касательной в заданной точке построенного графика (Улыбин В.Б. Тепловой взрыв при наличии дополнительного (нехимического) источника тепла. / В.Б.Улыбин, О.А.Кочетов, В.В.Шипилов, А.С.Штейнберг. – Горение и взрыв – М.: Наука, 1977. – С.269-272).
Однако использование описанного способа не позволяет определить энергию активации взаимодействия компонентов конденсированной электропроводной среды в волне горения фронтального СВС.
Наиболее близким к предлагаемому изобретению по технической сущности и достигаемому результату (прототипом) является способ определения энергии активации взаимодействия компонентов конденсированной электропроводной среды в волне горения фронтального СВС, заключающийся в том, что инициируют реакцию фронтального СВС в точке образца, в конденсированной электропроводной среде распространяется волна горения, и через взаимодействующие компоненты конденсированной электропроводной среды одновременно с началом распространения волны горения или при распространении волны горения через образец смеси компонентов конденсированной электропроводной среды пропускают электрический ток при соответствии общего удельного сопротивления конденсированной электропроводной среды следующему условию:
mаx> среды> min>> К
где mах – общее удельное максимальное сопротивление конденсированной электропроводной среды, ограниченное максимальным напряжением источника питания;
среды – общее удельное сопротивление конденсированной электропроводной среды;
min – общее удельное минимальное сопротивление конденсированной электропроводной среды;
К – удельное сопротивление компонента конденсированной электропроводной среды, имеющего максимальное удельное сопротивление.
При этом образец изготавливают путем прессования смеси компонентов конденсированной электропроводной среды под давлением, соответствующим заданным пределам изменения общего удельного сопротивления конденсированной электропроводной среды, состоящего из сопротивлений контактов частиц компонентов этой среды, согласно вышеприведенному условию. Общее удельное максимальное сопротивление конденсированной электропроводной среды ограничено максимальным напряжением источника питания, а общее удельное минимальное сопротивление конденсированной электропроводной среды должно более чем в 10 раз превышать удельное сопротивление компонента конденсированной электропроводной среды, имеющего максимальное удельное сопротивление. Вследствие пропускания электрического тока осуществляется равномерное тепловыделение в местах контактов частиц компонентов конденсированной электропроводной среды и ее разогрев. Количество выделенной теплоты в местах контактов указанных частиц соответствует закону Джоуля-Ленца:

где U – падение напряжения на образце;
I – ток через образец;
t – время прохождения тока через образец.
Таким образом, пропускание электрического тока через образец позволяет увеличить начальную температуру конденсированной электропроводной среды и, следовательно, повысить скорость распространения волны горения и максимальную температуру в волне горения фронтального СВС. Устанавливают зависимость между энергетическим параметром взаимодействующих компонентов конденсированной электропроводной среды, в качестве которого используют скорость распространения волны горения фронтального СВС, и температурой начала взаимодействия этих компонентов, в качестве которой используют максимальную температуру в волне горения фронтального СВС, путем регистрации телевизионной измерительной системой непрерывного изменения вышеуказанных скорости и температуры. Далее строят график зависимости в координатах
ln(U/T)-1/T,
где U – скорость распространения волны горения фронтального СВС;
Т – максимальная температура в волне горения фронтального СВС. Об энергии активации взаимодействия компонентов конденсированной электропроводной среды в волне горения фронтального СВС судят по наклону касательной в заданной точке построенного графика, используя формулу:

где Е – энергия активации взаимодействия компонентов конденсированной электропроводной среды в волне горения фронтального СВС;
R – универсальная газовая постоянная;
U – скорость распространения волны горения фронтального СВС;
Т – максимальная температура в волне горения фронтального СВС (патент RU 2189032, МПК 7 G01N 25/00).
Основными недостатками способа определения энергии активации взаимодействия компонентов конденсированной электропроводной среды в волне горения фронтального СВС являются невозможность определения энергии активации в режиме теплового взрыва, повышенная трудоемкость и низкая точность из-за необходимости предварительного изготовления образца путем прессования компонентов исходной смеси под давлением, соответствующим заданным пределам изменения общего удельного сопротивления конденсированной электропроводной среды, при условии ограничения общего удельного максимального сопротивления конденсированной электропроводной среды максимальным напряжением источника питания, и превышения общего удельного минимального сопротивления конденсированной электропроводной среды более чем в 10 раз удельного сопротивления компонента конденсированной электропроводной среды, имеющего максимальное удельное сопротивление.
Задачей изобретения является снижение трудоемкости и повышение точности определения энергии активации взаимодействия компонентов конденсированной электропроводной среды в волне горения фронтального СВС или СВС в режиме теплового взрыва из однократного исследования.
Поставленная задача достигается тем, что в способе определения энергии активации взаимодействия компонентов конденсированной электропроводной среды в волне горения фронтального СВС или СВС в режиме теплового взрыва путем установления зависимости между энергетическим параметром взаимодействующих компонентов конденсированной электропроводной среды и температурой начала взаимодействия этих компонентов и построения графика в соответствии с установленной зависимостью, при этом об энергии активации судят по наклону полученной прямой, согласно изобретению предварительно создают положительную напряженность электрического поля относительно взаимодействующих компонентов конденсированной электропроводной среды, размещенных в вакууме, при саморазогреве которых происходит появление, а при увеличении температуры соответственно увеличение тока термоэлектронной эмиссии, в качестве энергетического параметра взаимодействующих компонентов конденсированной электропроводной среды используют величину тока термоэлектронной эмиссии, в качестве температуры начала взаимодействия компонентов конденсированной электропроводной среды используют температуру в волне горения фронтального СВС или СВС в режиме теплового взрыва, график в соответствии с установленной зависимостью строят в координатах
ln(j/T2)-1/T,
где j – величина тока термоэлектронной эмиссии;
Т – температура в волне горения фронтального СВС или СВС в режиме теплового взрыва. Эта зависимость линейна:

где А – постоянная;
k – постоянная Больцмана;
T – абсолютная температура катода в момент начала химического взаимодействия;
W – энергия выхода электронов из металла, равная энергии активации в момент начала взаимодействия компонентов конденсированной электропроводной среды СВС; а об энергии активации судят по тангенсу угла наклона полученной прямой, который равен W/k.
Снижение трудоемкости и повышение точности определения энергии активации взаимодействия компонентов конденсированной электропроводной среды в волне горения фронтального СВС или СВС в режиме теплового взрыва обусловлены непрерывностью измерения тока эмиссии взаимодействующих компонентов конденсированной электропроводной среды и температуры в волне горения фронтального СВС или СВС в режиме теплового взрыва из однократного исследования при отсутствии необходимости в предварительном изготовлении образца путем прессования компонентов исходной смеси под заранее заданным давлением.
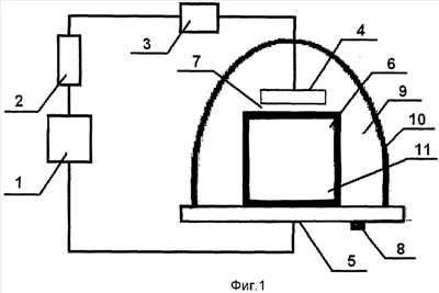
Предлагаемый способ поясняется чертежами, где на фиг.1 изображена схема устройства для определения энергии активации взаимодействия компонентов конденсированной электропроводной среды в волне горения фронтального СВС или СВС в режиме теплового взрыва, реализующего этот способ; на фиг.2 – график зависимости величины тока j термоэлектронной эмиссии в волне горения фронтального СВС или СВС в режиме теплового взрыва от температуры Т для среды никель-алюминий с использованием координат ln(j/T2)-1/T.
Устройство для определения энергии активации взаимодействия компонентов конденсированной электропроводной среды в волне горения фронтального СВС или СВС в режиме теплового взрыва содержит источник 1 питания, токоограничивающий резистор 2, измеритель 3 эмиссионного тока, положительный электрод – анод 4, отрицательный электрод – катод 5, на котором размещен образец 6, являющийся смесью компонентов конденсированной электропроводной среды, с зазором 7 между анодом 4 и образцом 6, штуцер 8 для создания вакуума 9. Реакция СВС инициируется под стеклянным колпаком 10 в вакууме 9, а именно в точке 11 образца 6.
Устройство для определения энергии активации взаимодействия компонентов конденсированной электропроводной среды в волне горения фронтального СВС или СВС в режиме теплового взрыва работает следующим образом.
В вакууме 9, в точке 11 образца 6, являющегося исходной смесью компонентов конденсированной электропроводной среды, инициируется реакция фронтального СВС или реакция СВС в режиме теплового взрыва. С источника 1 питания, относительно катода 5 и образца 6 на анод 4 через токоограничивающий резистор 2 и измеритель 3 эмиссионного тока подается положительное напряжение, создающее напряженность электрического поля в зазоре 7. Ток термоэлектронной эмиссии непрерывно регистрируется в электрической цепи измерителем 3.
Способ определения энергии активации взаимодействия компонентов конденсированной электропроводной среды в волне горения фронтального СВС или СВС в режиме теплового взрыва осуществляется следующим образом.
Сначала размещают исходную смесь компонентов конденсированной электропроводной среды на катоде 5 и закрывают стеклянным колпаком 10. Через штуцер 8 создают под колпаком 10 вакуум 9. Затем в точке 11 образца 6 инициируют реакцию СВС (см. фиг.1), что приводит к росту температуры образца 6, создают положительную напряженность электрического поля относительно взаимодействующих компонентов конденсированной электропроводной среды, размещенных в вакууме 9 под стеклянным колпаком 10, то есть относительно образца 6, при саморазогреве которого происходит появление, а при увеличении температуры соответственно увеличение тока термоэлектронной эмиссии в зазоре 7, который непрерывно регистрируют измерителем 3. Таким образом, в зазоре 7 сначала происходит появление тока термоэлектронной эмиссии, затем резкое его увеличение в момент начала реакции, когда энергия выхода электронов равна энергии активации.
Устанавливают зависимость между энергетическим параметром взаимодействующих компонентов конденсированной электропроводной среды, в качестве которого используют величину тока термоэлектронной эмиссии, и температурой начала взаимодействия компонентов конденсированной электропроводной среды, в качестве которой используют температуру в волне горения фронтального СВС или СВС в режиме теплового взрыва, путем непрерывной регистрации величины тока эмиссии взаимодействующих компонентов конденсированной электропроводной среды измерителем тока 3 и непрерывного измерения температуры.
Далее строят график этой зависимости в координатах:
ln(j/T2)-1/Т,
где j – величина тока термоэлектронной эмиссии;
Т – температура в волне горения фронтального СВС или СВС в режиме теплового взрыва.
По тангенсу угла наклона полученной прямой судят об энергии активации взаимодействия компонентов конденсированной электропроводной среды в волне горения фронтального СВС или СВС в режиме теплового взрыва из однократного исследования (см. фиг.2) и используя формулу (4).
Так, из графика зависимости величины тока j термоэлектронной эмиссии в волне горения фронтального СВС или СВС в режиме теплового взрыва от температуры Т для среды никель-алюминий (см. фиг.2) и формулы (4), определяют, что энергия активации взаимодействия компонентов конденсированной электропроводной среды, соответствующая прямой 1, составляет 76 кДж/моль, и соответствующая прямой 2-140 кДж/моль.
Использование предлагаемого способа позволяет с высокой точностью и незначительными затратами труда определить энергию активации взаимодействия компонентов конденсированной электропроводной среды как в волне горения фронтального СВС, так и СВС в режиме теплового взрыва из однократного исследования.
Формула изобретения
Способ определения энергии активации взаимодействия компонентов конденсированной электропроводной среды в волне горения фронтального самораспространяющегося высокотемпературного синтеза или самораспространяющегося высокотемпературного синтеза в режиме теплового взрыва путем установления зависимости между энергетическим параметром взаимодействующих компонентов конденсированной электропроводной среды и температурой начала взаимодействия этих компонентов и построения графика в соответствии с установленной зависимостью, при этом об энергии активации судят по наклону полученной прямой, отличающийся тем, что предварительно создают положительную напряженность электрического поля относительно взаимодействующих компонентов конденсированной электропроводной среды, размещенных в вакууме, при саморазогреве которых происходит появление, а при увеличении температуры, соответственно, увеличение тока термоэлектронной эмиссии, в качестве энергетического параметра взаимодействующих компонентов конденсированной электропроводной среды используют величину тока термоэлектронной эмиссии, в качестве температуры начала взаимодействия компонентов конденсированной электропроводной среды используют температуру в волне горения фронтального самораспространяющегося высокотемпературного синтеза или самораспространяющегося высокотемпературного синтеза в режиме теплового взрыва, график в соответствии с установленной зависимостью строят в координатах ln(j/Т2)-1/Т, где j – величина тока термоэлектронной эмиссии; T – температура в волне горения фронтального самораспространяющегося высокотемпературного синтеза или самораспространяющегося высокотемпературного синтеза в режиме теплового взрыва, а об энергии активации судят по тангенсу угла наклона полученной прямой.
РИСУНКИ
|