|
|
(21), (22) Заявка: 2009107614/28, 03.03.2009
(24) Дата начала отсчета срока действия патента:
03.03.2009
(46) Опубликовано: 10.06.2010
(56) Список документов, цитированных в отчете о поиске:
US 4652757 А 24.03.1987. US 4352016 А 28.09.1982. JP 62044652 А 26.02.1986. US 2001054693 A1 27.12.2001.
Адрес для переписки:
194021, Санкт-Петербург, ул. Политехническая, 26, ФТИ им. А.Ф. Иоффе, патентно-лицензионная служба, В.И. Белову
|
(72) Автор(ы):
Андреев Вячеслав Михайлович (RU), Румянцев Валерий Дмитриевич (RU), Ащеулов Юрий Владимирович (RU), Малевский Дмитрий Андреевич (RU)
(73) Патентообладатель(и):
Министерство промышленности и торговли Российской Федерации (RU)
|
(54) УСТАНОВКА ДЛЯ ТЕСТИРОВАНИЯ ЧИПОВ КАСКАДНЫХ ФОТОПРЕОБРАЗОВАТЕЛЕЙ НА ОСНОВЕ СОЕДИНЕНИЙ Al-Ga-In-As-P
(57) Реферат:
Изобретение относится к измерительной технике и предназначено для бесконтактного неразрушающего контроля качества чипов полупроводниковых фотопреобразователей, в частности солнечных элементов. Установка для тестирования чипов каскадных фотопреобразователей на основе соединений Al-Ga-In-As-Р включает лазер (1) с длиной волны излучения 0,40-0,55 мкм, модулятор (2) излучения, линзу (3), платформу (6) для размещения матрицы (5) тестируемых чипов (4), объектив (7), оптические фильтры (8, 9), пропускающие в диапазоне 0,6-0,8 мкм, светонепроницаемый круглый экран (10) и фотоприемник (11), фоточувствительный к излучению с длинами волн более 0,6 мкм, установленные на одной оптической оси. Экран (10) установлен перед фотоприемником (11) и закрывает его центральную часть от попадания фотолюминесцентного излучения из облучаемого участка чипа в фотоприемник, подключенный через узкополосный усилитель (12) к контроллеру (13) с блоком памяти (14). В качестве упомянутого лазера использован лазер с длиной волны излучения 0,53 мкм, выполненный из алюмоиттриевого граната, легированного неодимом, включающий устройство удвоения частоты. Также установка снабжена двумя шаговыми двигателями, подключенными к контроллеру, для возвратно-поступательного перемещения основания в двух взаимно перпендикулярных направлениях. Технический результат заключается в разработке установки, которая бы позволила упростить процесс тестирования и сократить время, затрачиваемое на проверку отдельных чипов. 2 з.п. ф-лы, 1 ил.
Изобретение относится к измерительной технике и предназначено для бесконтактного неразрушающего контроля качества чипов полупроводниковых фотопреобразователей (ФП), в частности солнечных элементов (СЭ). Наиболее перспективным представляется использование предлагаемого устройства при разбраковке большого массива отдельных ячеек СЭ, расположенных на общей подложке.
Известно устройство для тестирования ФП (см. патент US 4301409, МПК G01R 31/26, опубл. 17.11.1981). Устройство включает осветитель, состоящий из гелий-неонового лазера и оптической системы, фокусирующей лазерный пучок в точку на поверхность ФП, оптической системы сканирования этого узкого пучка по всей поверхности чипа, механической контактной системы для съема электрического сигнала с ФП, усилителя электрических сигналов, работающего на частоте оптического модулятора излучения лазера и, наконец, телевизионного монитора, развертка которого синхронизована с системой сканирования лазерного луча таким образом, чтобы каждой точке на поверхности ФП соответствовала определенная точка монитора.
Недостатком известного устройства является, во-первых, применение прецизионной оптической системы сканирования поверхности чипа ФП, и, во-вторых, контактная механическая система съема информации, что все вместе требует большего времени для тестирования массива ФП.
Известно устройство для определения дефектов ФП (см. патент US 5367174, МПК G01N 21/88, опубл. 22.11.1994) путем визуализации картины поверхности чипа на ПЗС матрицу видеокамеры. Поверхность чипа освещают двумя источниками света: осветитель с галогеновой лампой и осветитель с лампой и двумя сменяемыми оптическими фильтрами – зеленым и красным. Угол освещения второго источника может меняться в широких пределах. Позиционирование чипов осуществляют при помощи компьютерных подвижек. Подбирают спектральный диапазон и угол падения монохроматического освещения таким образом, чтобы добиться наилучшей видимости дефектов поверхности ФП на экране монитора.
Известное устройство малопроизводительно, так как требуется значительное время на предварительную подготовку к условиям наилучшей видимости картинки дефектов.
Известно устройство для тестирования полупроводниковых чипов (см. патент US 6420705, МПК G01N 21/88, опубл. 16.07.2002). Устройство включает в себя источник инфракрасного (ИК) излучения, выполненный в виде кольца и ИК камеру, расположенную по оси этого кольца на стороне, противоположной тестируемому чипу. Перед ИК-камерой находятся объектив, фокусирующий поверхность чипа на входное окно камеры и ИК-фильтр, блокирующий излучение 2 мкм и ниже. С помощью механической системы тестируемый чип может отодвигаться или приближаться к камере, при этом объектив последней все время подстраивается на поверхность ФП. Перемещение чипа изменяет угол падения ИК-излучения на тестируемую поверхность и позволяет настроиться на максимальный контраст картины дефектов.
Недостатком известного устройства является наличие специально разработанного кольцевого источника ИК-излучения, который освещает поверхность чипа только под одним углом, что не позволяет наблюдать все дефекты без перемещения ФП. Таким образом, известное устройство требует индивидуальной настройки угла падения, освещающего излучения для каждого тестируемого чипа. В результате общее время диагностики всех чипов, размещенных на общем основании, оказывается неприемлемо большим.
Известно устройство тестирования полупроводниковых чипов (см. патент US 6847443, МПК G01N 21/88, опубл. 25 11 2005), которое состоит из осветителя с лампой, оптического фильтра, пропускающего три узких участка видимого спектра (красный, зеленый, синий), оптического волокна, коллиматора, создающего параллельный пучок света, полупрозрачного зеркала, глухого зеркала и линзы, проектирующей поверхность чипа на матрицу ПЗС камеры.
Недостатком устройства является сложная оптико-механическая конструкция, требующая периодической тонкой юстировки, и необходимость последовательного перебора различных вариантов освещения тестируемой поверхности, что влечет за собой значительное время определения дефектов отдельного чипа и соответственно малую производительность для большого массива чипов ФП.
Известна установка для тестирования полупроводниковых чипов ФП (см. заявка US 2005/0252545, МПК Н011 31/00, опубл. 17.11.2005), состоящее из контейнера, содержащего отдельные чипы ФП, раскладчика, который захватывает отдельный чип и помещает его на специальную линейку, содержащую припой, первой камеры с высокоинтенсивной лампой для расплавления припоя, второй камеры с импульсной ксеноновой лампой и измерительной аппаратурой, третьей камеры с источником тока для прямого нагрева тестируемого чипа и инфракрасным приемником, и компьютера, который записывает и сравнивает с эталонной всю получаемую информацию.
Недостатком известной установки является большое время, затрачиваемое на подготовку чипов для тестирования, так как, во-первых, необходимо предварительно разрезать всю пластину с чипами ФП на отдельные элементы и, во-вторых, наклеить и термически закрепить линейку с чипами. Кроме того, к недостаткам известного устройства следует отнести наличие механических контактов, необходимых для снятия вольт-амперной характеристики (ВАХ) чипа ФП и его нагрева от источника тока.
Известна установка “SAMCELL” для тестирования фотовольтаических ячеек, используемое при производстве модулей из СЭ (см. V.Diaz, E.Rodriguez, A.Cordero, M.Moreno, ISOFOTON S.A. HCPV Business Unit Severo Ochoa 50, РТА Campanillas Malaga 29590 SPAIN, Sorting of III-V concentrator solar cells as an efficient tool for CPV modules manufacturing). Установка состоит из излучателя на импульсной газоразрядной лампе, имитирующей солнечный спектр AM1, 5D, оптического концентратора от 500 до 1200 солнц, универсального пневматического держателя, позволяющего фиксировать чипы различных размеров, механической контактной системы для присоединения выбранного чипа к соответствующей аппаратуре, двухкоординатного столика с контроллером, графопостроителя и центрального процессора. Известное устройство позволяет проводить измерения и строить графики таких параметров ФП как: ВАХ чипа, фактор заполнения ВАХ, ток короткого замыкания, напряжение холостого хода, напряжение в точке максимальной мощности и ток в точке максимальной мощности. В результате всех измерений строится цветная карта поверхности всей пластины с массивом чипов, на которой каждому цвету сопоставлено качество отдельной ячейки. Это возможно, благодаря предварительной настройке всей установки по образцовой ячейки СЭ, откалиброванной в специальной лаборатории. Сообщается о производительности устройства до 4000 чипов в час.
Недостаток известной установки заключается в том, что измерения производятся контактным способом с помощью прецизионных механических контактов, которые подвержены износу.
Известна установка для тестирования чипов СЭ (Manuel The, Johannes Giesecke, Martin Kasemann, Wilhelm Warta, Spatially resolved characterization of silicon as-cut wafers with photoluminescence imaging, 23rd European Photovoltaic Solar Energy Conference and Exhibition, Valencia, Spain, 2008), состоящее из лазерного диода с длиной волны 790 нм, держателя образцов, глухого зеркала, которое может быть установлено вместо образца в держатель, ПЗС камеры, с возможностью фокусировки на поверхность чипа ФП и оптического фильтра, который установлен перед ПЗС камерой и блокирует излучение с длиной волны лазерного диода.
Недостатком известной установки является визуальный способ контроля, что сопряжено с большими временами при разбраковке массивов ФП.
Наиболее близким к заявляемому техническому решению по совокупности существенных признаков является установка для тестирования чипов каскадных фотопреобразователей на основе Al-Ga-In-As-P, в которой производится измерение электролюминесцентного (ЭЛ) спектра образца (Thomas Kirchartz, Anke Helbig, Martin Hermle, Uwe Rau и Andreas W.Bett 23rd Europian Photovoltaic Solar Energy Conference and Exhibition, 1-5 September, 2008, Valencia, Spain). Установка состоит из источника постоянного тока, с пределом регулировки 0,1-150 мА, модулятора излучения спектра ЭЛ образца ФП, монохроматора на диапазон 600-1800 нм, германиевого приемника излучения, электронного селективного усилителя, синхронизованного с частотой модуляции спектра ЭЛ, и измерителя электрического сигнала. Работа установки основана на использовании известной теоремы электрооптической взаимности, которая описывает связь эффективности преобразования полупроводниковыми фотопреобразователями световой энергии в электрическую. Измерив спектр ЭЛ образца ФП, можно рассчитать вольт-амперную характеристику чипа ФП и соответственно судить о качестве этого чипа. В качестве примера в устройстве был использован трехкаскадный чип GaInP/GaInAs/Ge размером 1,8×1,8 мм. Через тестируемый образец пропускают ток и с помощью монохроматора и Ge приемника регистрируют возникающий спектр электролюминесценции в диапазоне 700-1800 нм. Далее вычисляют квантовые эффективности каждого из p-n переходов ФП и строят ВАХ кривую тестируемого чипа. Поскольку вольт-амперная характеристика бездефектного образца известна заранее, то, сравнив эти две кривые, можно судить о качестве исследуемого чипа.
Недостатком установки-прототипа является, во-первых, наличие контактной системы для возбуждения спектра ЭЛ исследуемого образца ФП, что, при стандартных размерах чипов порядка 2×2 мм2, требует использования прецизионных механических контактов и, во-вторых, большая длительность процедуры регистрации спектра ЭЛ отдельного образца, что не приемлемо для большого массива чипов.
Задачей заявляемого изобретения является разработка такой бесконтактной установки для тестирования чипов каскадных ФП на основе соединений Al-Ga-In-As-P, которая бы позволила упростить процесс тестирования и сократить время, затрачиваемое на проверку отдельных чипов, что позволит существенно снизить время построения “карты” качества всего массива фотопреобразователей.
Поставленная задача решается тем, что установка для тестирования чипов каскадных фотопреобразователей на основе соединений Al-Ga-In-As-P включает лазер с длиной волны излучения 0,40-0,55 мкм, линзу, фокусирующую излучение лазера на платформу для размещения матрицы тестируемых чипов, установленную на основании с возможностью его вращения вокруг вертикальной оси и горизонтального возвратно-поступательного перемещения в двух взаимно перпендикулярных направлениях, объектив, первый оптический фильтр и второй оптический фильтр, пропускающие излучение с длиной волны в диапазоне 0,6-0,8 мкм, светонепроницаемый круглый экран и фотоприемник, фоточувствительный к излучению с длинами волн более 0,6 мкм. Все элементы установки установлены на одной оптической оси. Экран установлен перед фотоприемником и закрывает его центральную часть от попадания фотолюминесцентного излучения из облучаемого участка чипа в фотоприемник, подключенный через узкополосный усилитель к контроллеру с блоком памяти.
В качестве лазера может быть использован лазер с длиной волны излучения 0,53 мкм, выполненный из алюмоиттриевого граната, легированного неодимом, включающий устройство удвоения частоты.
Установка может быть снабжена двумя шаговыми двигателями, подключенными к контроллеру, для возвратно-поступательного перемещения основания в двух взаимно перпендикулярных направлениях.
В основе заявляемой установки заложена модифицированная ЭЛ методика, которая устанавливает связь между распределением интенсивности спектра электролюминесценции по поверхности образца ФП и наличием внутренних и поверхностных дефектов таких структур (Андреев В.М., Грилихес В.А., Румянцев В.Д. Фотоэлектрическое преобразование концентрированного солнечного излучения. Л., Наука, 1989, 310 с.). В заявляемой установке тестирование отдельного чипа осуществляется следующим образом: одновременно с оптическим возбуждением небольшого участка поверхности чипа каскадного ФП производится бесконтактное измерение интегральной интенсивности спектра электролюминесценции со всей поверхности чипа и сравнение этой величины с величиной интенсивности электролюминесценции, полученной заранее при тестировании эталонного чипа и записанной в блоке памяти.
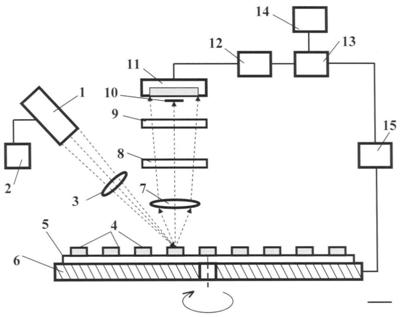
Заявляемая установка поясняется чертежом.
Установка для тестирования чипов каскадных фотопреобразователей на основе соединений Al-Ga-In-As-P включает лазер 1 с длиной волны излучения 0,40-0,55 мкм, снабженный электронным модулятором 2 излучения, линзу 3, фокусирующую излучение лазера 1 на поверхность матрицы чипов 4 каскадных фотопреобразователей, размещаемых на общем полимерном основании 5. Основание 5 устанавливается на платформу 6 при помощи двух фиксаторов типа ласточкин хвост, расположенных под прямым углом друг к другу и третьей прижимной планки, тоже с ласточкиным хвостом (не показаны). Такое крепление обеспечивает быстроту и точность позиционирования при смене полимерного основания 5 с матрицей чипов 4. Платформа 6 имеет возможность вращения вокруг вертикальной оси и горизонтального возвратно-поступательного перемещения в двух взаимно перпендикулярных направлениях. Устройство также содержит широкоапертурный объектив 7, первый оптический фильтр 8, пропускающий излучение с длиной волны более 0,6 мкм, второй оптический фильтр 9, не пропускающий излучение более 0,8 мкм, светонепроницаемый круглый экран 10, фотоприемник 11, чувствительный к излучению с длинами волн более 0,6 мкм, например кремниевый, подключенный к узкополосному, синхронизованному с модулятором 2, усилителю 12, который соединен с контроллером 13, например микроконтроллером, снабженным блоком 14 памяти. Поступательное перемещение в двух взаимно перпендикулярных направлениях основания 6 может быть осуществлено с помощью двух шаговых двигателей 15, управляемых контроллером 12. Светонепроницаемый круглый экран 10 перекрывает центральную часть фотоприемника 11.
Излучение твердотельного лазера 1, например, на неодиме, с диодной накачкой и удвоением частоты (длина волны 532 нм) модулируется электронным модулятором 2 и с помощью линзы 3 фокусируется на центральную область чипа 4 в пятно размером примерно 100 мкм. Такое сечение возбуждающего пучка света выбрано из расчета того, чтобы уверенно засвечивать поверхность чипа не занятой контактной системой (ширина токосъемных контактов порядка 6-10 мкм), что необходимо при автоматическом позиционировании всех чипов 4. Длина волны возбуждающего света (400-550 нм) выбрана таким образом, чтобы она приходилась на область собственного поглощения полупроводника чипа 4. Для чипов 4 каскадных фотопреобразователей на основе соединений Al-Ga-In-As-P это зеленая область спектра. Мощность излучения обычно выбирают небольшой (порядка 50 мВт) из соображений исключения любых изменений в спектре ЭЛВ освещенной области чипа 4 диаметром 100 мкм за счет фотовозбуждения возникают носители заряда, часть из которых рекомбинирует с излучением фотонов в длинноволновой области спектра (красной) – т.е. возникает фотолюминесценция, а другая часть носителей, генерированных фотонами, за счет диффузии и по контактной системе чипа 4 перемещаются в неосвещенную область чипа 4, где они рекомбинируют с генерацией спектра ЭЛ в красной области спектра. Таким образом, центральная область чипа 4 засвечивается зеленым светом лазера 1 и светится красным (спектр ФЛ), а остальная область чипа 4 светится красным светом (спектр ЭЛ), причем интенсивность этого ЭЛ свечения зависит от количества как поверхностных, так и внутренних дефектов чипа 4. Объектив 7, первый и второй оптические фильтры 8, 9, экран 10 и фотоприемник 11 установлены на одной оптической оси. Широкоапертурный объектив 7 рассчитан и установлен таким образом, чтобы перенести изображение поверхности чипа 4 1,7×1,7 мм2 на всю светочувствительную поверхность фотоприемника 11, диаметром 17 мм, то есть с увеличением примерно 10 крат. Размер экрана 10 (примерно 1,5 мм) подобран таким образом, чтобы с небольшим запасом перекрывать изображение пятна засветки от лазера 1 на поверхности чипа 4. Таким образом, экран 10 блокирует попадание ФЛ излучения, возникающего в облучаемом участке чипа 4 на поверхность фотоприемника 11. В результате фотоприемник 11 фиксирует только ЭЛ излучение чипа 4. Первый оптический фильтр 8 пропускает на фотоприемник 11 только красную часть спектра (0,6 мкм и более), отрезая ее зеленую часть (рассеянное и переотраженное падающее излучение лазера). Оптический фильтр 9 блокирует любое ИК-излучение (0,8 мкм и более), которое может попасть на фотоприемник 11 (рассеянное ФЛ излучение от полимерного основания 5 от пыли, грязи на поверхности чипа 4). Электрический сигнал с фотоприемника 11, пропорциональный интенсивности свечения ЭЛ, усиливается узкополосным усилителем 12 на частоте модуляции излучения лазера 1. Усиленный электрический сигнал поступает на микроконтроллер 13 с блоком памяти 14, где он запоминается и сравнивается с предварительно записанным в блоке памяти 14 калибровочным сигналом от эталонного чипа. Матрица чипов 4 СЭ, расположенных на общей полимерной платформе 5, неподвижно крепится к основанию 6 при помощи двух фиксаторов типа ласточкин хвост, расположенных под прямым углом друг к другу и третьей прижимной планки, тоже с ласточкиным хвостом. Такой способ крепления обеспечивает быстроту и точность позиционирования всех линеек с чипами 4 СЭ относительно платформы 6. Платформа 6 с помощью двух шаговых двигателей 15 имеет возможность перемещаться в двух взаимно перпендикулярных направлениях с точностью 0,01 мм. Поскольку лазер 1 закреплен неподвижно на том же основании, что и оптическая схема фотоприемника 11, то при любом перемещении основания 6 по команде контроллера 13 мы всегда имеем одно и то же геометрическое положение поверхности чипа 4 по отношению к возбуждающему излучению лазера 1. Таким образом, достигается возможность автоматического проведения измерений качества отдельных чипов 4 СЭ и последующее построение и запоминание “карты качества” всей матрицы чипов 4 СЭ, расположенных на полимерной платформе 5. Основание 6 имеет угловую подвижку вокруг центральной оси, с помощью которой осуществляют первоначальную юстировку матрицы чипов 4 СЭ таким образом, чтобы линейка проверяемых чипов 4 при перемещении вдоль строк-линеек оставалась строго параллельной пучку лазера 1.
Пример. Была проведена разбраковка массива чипов ФП на полимерной матрице диаметром 125 мм американской фирмы Spectrolab. Отдельный чип представляет собой трехкаскадный ФП на основе GaInP2/GaAs/Ge размером 1,7×1,7 мм2. Все чипы наклеены на полимерную пленку в виде сплошного массива из строк и колонок на расстоянии 0,5 мм друг от друга. Всего массив содержит порядка 1500 чипов. Это полимерная пленка с чипами натянута на стальное кольцо внутренним диаметром 160 мм. Это кольцо с помощью ласточкина зажима помещалось на поворотную платформу заявляемой установки и поворотом платформы вокруг оси вращения устанавливалась параллельность строки чипов и сфокусированного пучка лазера при продольном сканировании платформы относительно лазера. После этого в автоматическом режиме проводилось тестирование всех 1500 элементов массива ФП на наличие дефектов отдельных экземпляров. Полное время составления карты “качества” такого массива заняло около 4,5 минут.
Формула изобретения
1. Установка для тестирования чипов каскадных фотопреобразователей на основе соединений Al-Ga-In-As-P, включающая лазер с длиной волны излучения 0,40-0,55 мкм, линзу, фокусирующую излучение лазера на платформу для размещения матрицы тестируемых чипов, установленную на основании с возможностью его вращения вокруг вертикальной оси и горизонтального возвратно-поступательного перемещения в двух взаимно перпендикулярных направлениях, объектив, первый оптический фильтр и второй оптический фильтр, пропускающие излучение с длиной волны в диапазоне 0,6-0,8 мкм, светонепроницаемый круглый экран и фотоприемник, фоточувствительный к излучению с длинами волн более 0,6 мкм, установленные на одной оптической оси, при этом экран установлен перед фотоприемником и закрывает его центральную часть от попадания фотолюминесцентного излучения из облучаемого участка чипа в фотоприемник, подключенный через узкополосный усилитель к контроллеру с блоком памяти.
2. Установка по п.1, отличающаяся тем, что в качестве упомянутого лазера использован лазер с длиной волны излучения 0,53 мкм, выполненный из алюмоиттриевого граната, легированного неодимом, включающий устройство удвоения частоты.
3. Установка по п.1, отличающаяся тем, что она снабжена двумя шаговыми двигателями, подключенными к контроллеру, для возвратно-поступательного перемещения основания в двух взаимно перпендикулярных направлениях.
РИСУНКИ
|
|