|
|
(21), (22) Заявка: 2009104027/28, 09.02.2009
(24) Дата начала отсчета срока действия патента:
09.02.2009
(46) Опубликовано: 10.06.2010
(56) Список документов, цитированных в отчете о поиске:
SU 1118870 A1, 15.10.1984. RU 2248538 C2, 20.03.2005. SU 154916 A1, 05.07.1963. RU 2007807 C1, 15.02.1994. RU 2102817 C1, 21.01.1998. RU 2177189 C2, 20.12.2001.
Адрес для переписки:
123100, Москва, Шмитовский пр., 2, стр.2, Агентство “Ермакова, Столярова и партнеры”
|
(72) Автор(ы):
Федорова Галина Владимировна (RU), Черных Сергей Петрович (RU), Шмелёв Александр Иванович (RU), Черных Сергей Сергеевич (RU)
(73) Патентообладатель(и):
Черных Сергей Петрович (RU)
|
(54) УСТРОЙСТВО ДЛЯ ИЗМЕРЕНИЯ ТЕМПЕРАТУРЫ
(57) Реферат:
Изобретение относится к функциональным приборам для измерения температур. Устройство содержит керамический корпус, в углублении которого расположены головки металлических выводов, соединенных с кристаллом полупроводникового алмаза. Соединение выполнено методом «флип-чип» монтажа с применением Аu-содержащего припоя. Упомянутое углубление заполнено герметиком. Технический результат – повышение точности измерений и расширение диапазона измеряемых температур. 4 з.п. ф-лы, 2 табл., 2 ил.
Изобретение относится к функциональным приборам для измерения температур.
В настоящее время полупроводниковые приборы измерения температур на основе АIIIВ и других соединений охватывают довольно узкий диапазон температур, разрешенных их для устойчивой работы, ограничиваемый температурами от -60°С до +120°С, что объясняется, с одной стороны, физикой работы p-n-перехода, с другой – отсутствием специальных корпусов, работающих в более широком диапазоне температур.
Полупроводниковые приборы на основе натуральных и искусственных алмазов способны расширить температурный диапазон работы подобных приборов до уровня от – 196°С до +700°С. Однако при разработке корпусов таких приборов необходимо учитывать электрофизические, механические и тепловые свойства материалов, входящих в состав корпуса, которые могут существенно изменяться в широком диапазоне температур.
Широко известно применение специального охладителя для защиты корпусов приборов измерения температуры от воздействия высокотемпературных рабочих сред, а также для снижения их температурной погрешности. Охладитель устанавливают перед прибором, что позволяет снизить температуру измеряемой среды до уровня, приемлемого для большинства приборов. С той же целью охладитель может быть смонтирован между разделителем сред и измерительным прибором. Принцип действия охладителя основан на конвективном теплоотводе с его оребренной поверхности, поэтому при вводе в эксплуатацию охладитель не требует подвода охлаждающей жидкости, обдува воздухом или каких-либо других специальных мероприятий.
В качестве наиболее близкого аналога предлагаемого устройства может быть предложен термометр сопротивления, предназначенный главным образом для измерения температуры поверхности твердых тел, в том числе токопроводящих, содержащий чувствительный элемент из монокристалла полупроводникового алмаза, закрепленный в кожухе, заполненном теплоизолирующим материалом, и снабженного электрическими контактами с выводами, причем одна из вершин монокристалла алмаза выступает за пределы кожуха.
Задачей, поставленной при создании заявленного устройства, явилась необходимость обеспечения точности измерений температур в диапазоне от -196°С до +500°С, при этом технический результат, достигаемый созданием устройства, состоит в возможности расширения диапазона измеряемых температур, повышении ресурса устройства при работах в означенных диапазонах измеряемых температур и одновременном повышении точности измерений.
Для достижения поставленного результата предлагается в известном устройстве для измерения температур, содержащем кристалл полупроводникового алмаза, соединенный с головками выводов, расположенными в углублении керамического корпуса, заполненного герметиком, кристалл алмаза соединить с головками выводов методом «флип-чип» монтажа с применением припоя на основе Аu, а в качестве герметика использовать термостойкое покрытие на основе органосиликатных композиций и анаэробных герметиков.
Предпочтительные, но не обязательные варианты исполнения устройства предполагают покрытие поверхности кристалла алмаза диэлектриком либо, в местах соединения с головками выводов, сплавом AuSn или AuSr, использование в качестве припоя сплава AuSn, или AuSr, или AuAgSn, заполнение углубления керамического корпуса герметиком из условия не покрытия последним поверхности кристалла алмаза, не контактирующей с головками контактов.
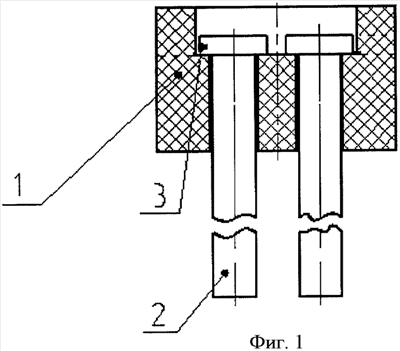
Заявленное устройство иллюстрируется фиг.1, отображающей конструкцию его корпуса с выводами, а также фиг.2, отображающей конструкцию и топологию контактов функционального элемента (кристалла полупроводникового алмаза) в соответствии с одним из вариантов воплощения заявленной конструкции.
В общем виде заявленное устройство состоит из цилиндрического керамического корпуса 1 с углублением для размещения функционального элемента в виде кристалла полупроводникового алмаза, выполняющего, по существу, функцию высокотемпературного сопротивления, и отверстий, служащих для пропуска металлических выводов 2, расширенные головки 3 которых размещены в упомянутом углублении. В процессе соединения функционального элемента 4 с головками контактов последние предварительно покрывают слоем NiB, a непосредственно процесс соединения головок с кристаллом ведут пайкой на основе технологии «флип-чип» («перевернутого») монтажа. Сущность такого процесса подробно раскрыта в литературе, не является предметом настоящего изобретения и в данной заявке не рассматривается. В общем виде, применительно к заявленному устройству такой монтаж включает посадку кристалла алмаза на головки и последующее спекание в специальной оснастке с использованием припоя на основе Au. Соотношение компонентов в припое позволяет получать температуру жидкой фазы в пределах от 280°С до 900°С, а в качестве припоя могут быть использованы сплав Au-Sn с содержанием Au в пределах 88÷98%, сплав Au-Sr с содержанием Au в пределах 20% ат или сплав Au-Ag-Sn с содержанием Au в пределах 55÷68%. На места контакта функционального элемента с головками выводов могут быть нанесены контакты из сплава группы AuSn или AuSr при соотношении золота и второго компонента для концентрации Sr в жидкой фазе от 40,0 и 85,0% (ат), а для концентрации Sn – от 2,0 до 10,0% (ат).
Для расширения функциональных возможностей устройства в части расширения диапазона измеряемых температур (до 1000°С) поверхность кристалла алмаза может дополнительно покрываться диэлектрической композицией ряда SiO2, Si3N4 или Аl2О3. Место соединения кристалла и головок заполняют термостойким герметиком на основе органосиликатных композиций и анаэробных герметиков типа DD6799, Bau Master или жаростойким герметиком Fire Sealant. Свободная поверхность кристалла алмаза служит для непосредственного контакта с поверхностью объекта, температуру которого измеряют.
Физические основы функционирования заявленного устройства основаны на следующем.
Для определения температуры в местах спая «элемент – вывод» обозначим:
i, Вт/мК – коэффициент теплопроводности i-того слоя,
li, мкм – толщина i -того слоя,
Si, мкм2 – площадь i – слоя,
тогда 
Расчет показал, что температура в местах спая отличается от измеряемой температуры не более чем на 0,1%. Под действием температуры линейные размеры и форма кристалла алмаза и корпуса меняются в зависимости от величины действующей температуры и ТКР материалов.
Основными видами деформации являются линейное растяжение-сжатие и простой сдвиг. Для изотропных тел упругие свойства определяются двумя постоянными: модулем Юнга Е и модулем сдвига G. Основным законом упругой деформации является линейная зависимость между силой F и вызываемой ей деформацией L. Для малых L при одностороннем растяжении деформация описывается законом Гука

где L0 и S1 – первоначальная длина и площадь сечения образца;
f1 – напряжение растяжения.
Эти зависимости непосредственно применимы, например, к изотропным кристаллам алмаза. В таблице 1 приведены некоторые коэффициенты для расчета деформаций в кристаллах алмаза.
| Таблица 1 |
| Материал |
Тип кристалл. решетки |
Модуль упругости, 105 кг/см2 |
Предел прочности, 103 кг/см2 |
Коэффициент Пуассона |
| Графит |
Гекс. |
56 |
0,6 |
0,25 |
| Алмаз |
Алм. |
92 |
0,5 |
0,25 |
При измерении высоких температур возникают напряжения в поверхностном слое, а затем происходит сравнительно медленное охлаждение этого слоя. При этом в образце создаются механические напряжения. Поверхностные слои испытывают растягивающие напряжения, величину которых можно оценить из соображений, что V – это изменение объема при охлаждении:

где – коэффициент объемного расширения.
Опуская промежуточные выкладки, запишем окончательное выражение для объемного напряжения растяжения

В таблице 2 представлены значения напряжений при охлаждении слоев алмаза.
| Таблица 2 |
| Материал |
Коэффициент объемного расширения, *10-6 |
Температура плавления, Tпл0С |
Относительное сжатие, 0 |
Напряжение растяжения, х103кг/см2 |
Предел прочности, х103кг/см2 |
| Алмаз |
10,97 |
3700 (850) |
0,22 |
50 |
0,5 |
Очевидно, что деформация, вызванная охлаждением, в десятки раз превышает предельно допустимые, которые может выдержать материал, однако слой на границе алмаз – припой сбрасывает избыточное напряжение. И хотя первоначально, пока температура достаточно близка к точке плавления сплавов и материал обладает заметной пластичностью, этот процесс еще может идти за счет пластической деформации, остается еще значительная часть деформации, которую приходится сбрасывать уже при температурах, исключающих пластическое течение материала. В алмазе основным способом сброса напряжений может оказаться быстрое образование микротрещин, поскольку характер распределения напряжений стимулирует развитие трещин с его поверхности. Однако спад температуры в приповерхностной области происходит достаточно медленно (геометрический фактор конструкции), и образование трещин практический должно отсутствовать. Керамический материал имеет почти нулевой коэффициент термального расширения от комнатной температуры до 800°С, высокую тугоплавкость и высокое сопротивление к термическому удару, что делает возможным его применение при высоких температурах. Таким образом, сочетание керамического корпуса с металлическими выводами, покрытыми специальными сплавами и применение специальных припоев позволит существенно расширить диапазон измеряемых температур.
Формула изобретения
1. Устройство для измерения температур, содержащее функциональный элемент в виде кристалла полупроводникового алмаза, соединенного с головками выводов, расположенными в углублении керамического корпуса, заполненном герметиком, отличающееся тем, что функциональный элемент соединен с головками выводов методом «флип-чип» монтажа с применением Аu содержащего припоя, а в качестве герметика использовано термостойкое покрытие на основе органосиликатных композиций и анаэробных герметиков.
2. Устройство по п.1, отличающееся тем, что поверхность функционального элемента покрыта диэлектриком.
3. Устройство по п.1, отличающееся тем, что на поверхности функционального элемента, в местах контакта с головками выводов, выполнены контакты из сплава AuSn или AuSr.
4. Устройство по п.1, отличающееся тем, что в качестве припоя использован сплав из группы AuSn, AuSr, AuAgSn.
5. Устройство по любому из пп.1-4, отличающееся тем, что углубление керамического корпуса заполнено герметиком из условия не покрытия последним поверхности функционального элемента, не контактирующей с головками выводов.
РИСУНКИ
|
|