|
|
(21), (22) Заявка: 2007123218/28, 12.12.2005
(24) Дата начала отсчета срока действия патента:
12.12.2005
(30) Конвенционный приоритет:
21.12.2004 FR 0413634
(43) Дата публикации заявки: 27.12.2008
(46) Опубликовано: 10.06.2010
(56) Список документов, цитированных в отчете о поиске:
US 5420419 A, 30.05.1995. US 6690583 B1, 10.02.2004. US 5763885 A, 09.06.1998. JP 05 256693 A, 05.10.1993. RU 2231759 C1, 27.06.2004.
(85) Дата перевода заявки PCT на национальную фазу:
20.06.2007
(86) Заявка PCT:
FR 2005/051073 20051212
(87) Публикация PCT:
WO 2006/067344 20060629
Адрес для переписки:
129090, Москва, ул.Б.Спасская, 25, стр.3, ООО “Юридическая фирма Городисский и Партнеры”, Ю.Д.Кузнецову
|
(72) Автор(ы):
ТИНН Себастьен (FR)
(73) Патентообладатель(и):
ЮЛИС (FR)
|
(54) КОМПОНЕНТ ДЛЯ ОБНАРУЖЕНИЯ, В ЧАСТНОСТИ, ИНФРАКРАСНОГО ЭЛЕКТРОМАГНИТНОГО ИЗЛУЧЕНИЯ
(57) Реферат:
Изобретение относится к устройствам обнаружения электромагнитного, в частности, инфракрасного излучения. Сущность изобретения: компонент для обнаружения инфракрасного электромагнитного излучения содержит:
– корпус, ограничивающий камеру (5), находящуюся под воздействием вакуума или пониженного давления, причем одна из поверхностей упомянутого корпуса включает в себя окно (4), которое прозрачно для обнаруживаемого излучения, при этом упомянутая камера содержит, по меньшей мере, один детектор (6), который используется для обнаружения излучения и располагается внутри упомянутой камеры у прозрачного окна, средство для выкачивания остаточных газов или газопоглотитель для поддержания вакуума или пониженного давления в камере (5) на приемлемом уровне, устройство термостабилизации для гарантии регулирования параметров температуры детектора/детекторов, которое состоит из нагревательного резистивного элемента (18), встроенного в массу основания корпуса – в подложку (1), на которой установлен детектор/детекторы, связанный/связанные со схемой (7) сопряжения. Изобретение позволяет сократить затраты на изготовление устройства с температурным регулированием. 8 з.п. ф-лы, 5 ил.
Изобретение относится к компоненту для обнаружения электромагнитного излучения, в частности инфракрасного излучения.
Более конкретно, такой компонент предназначен для установки в качестве оптического компонента для формирования изображений, например, в аппарате для съемки в инфракрасных лучах, работающем при окружающей температуре, чтобы создать то, что в данной области техники называют «электрической сетчаткой для создания изображений в инфракрасных лучах».
При создании изображений в инфракрасных лучах может понадобиться размещение реального детектора внутри камеры, в которой имеется более или менее глубокий вакуум, чтобы обеспечить правильную работу используемого детектора (используемых детекторов) и чтобы получить максимальную чувствительность к изменениям в температуре наблюдаемых сцен.
Для того чтобы такой детектор мог работать удовлетворительно, зачастую требуется давление менее 10-2 миллибар. Поэтому детекторы заключают в герметичную оболочку, внутри которой создан требуемый вакуум или требуемая атмосфера низкого давления.
Следовательно, когда используют биометрический детектор, как часто и бывает в области создания изображений в инфракрасных лучах при окружающей температуре, требуется также стабилизировать температуру упомянутого детектора (упомянутых детекторов), чтобы получить лучшую рабочую характеристику, а также требуемую чувствительность, выражаемую параметрами точности применительно к температуре наблюдаемых сцен.
Такая стабилизация температуры обычно достигается за счет использования термоэлектрического модуля, например термоэлектрического модуля типа Пельтье, связанного с пропорционально-интегрально-дифференциальным регулятором (ПИД-регулятором), а также датчика инфракрасного излучения, который расположен близко к детектору или внутри детектора, подлежащего стабилизации, а значит, расположен внутри оболочки, ограниченной вышеупомянутым корпусом.
Герметичный кожух болометрического детектора в соответствии с известным уровнем техники описывается ниже в связи с фиг.1, которая представляет собой схематическое изображение.
В сущности, он содержит подложку (1), выполненную из керамического материала или металла или даже комбинации материалов обоих этих типов. В этом случае подложка (1) представляет собой основание кожуха. Он имеет боковые стороны (2) и герметично укупорен посредством крышки (3), находящейся на его верхней поверхности. Крышка (3) имеет окно (4), которое прозрачно для обнаруживаемого излучения, в этом случае – инфракрасного, и прозрачно, например, для излучения, имеющего длины волн 8-12 мкм или в диапазоне 3-5 мкм, причем эти значения являются длинами волн обычного диапазона обнаружения.
Таким образом, ограничивается камера или оболочка (5), внутри которой поддерживается вакуум или низкое давление, как правило, давление менее 10-2 миллибар. Элементы, которые образуют эту камеру (5), герметизированы до такой степени, что скорость утечки в гелии составляет менее 10-12 мбар·(1/с).
Внутри этой камеры на подложке (1) имеется реальный детектор, в частности один или более болометрических детекторов, расположенных под окном (4). Этот болометр связан или эти болометры (6) связаны со схемой (7) сопряжения, причем эта сборка или микросхема связана с термоэлектрическим модулем (8), прикрепленным к подложке (1), например, посредством пайки или приклеивания эпоксидным клеем. Как уже говорилось, этот модуль предназначен для гарантии регулирования температуры микросхемы, в частности, для того, чтобы она «работала» как эталонное значение по отношению к переменной, анализируемой детектором (6), и чтобы на этой основе гарантировать некоторую степень воспроизводимости осуществляемых измерений.
Эта сборка (6, 7) микроболометров и схемы сопряжения также электрически соединена с внешней средой посредством проводного соединения (9), связанного со стандартным входным/выходным выводом (10), который проходит сквозь упомянутую подложку (1) и подключен к электронным блокам устройства, в котором упомянутая сборка установлена, например съемочной камеры, посредством операционной схемы (11) межсоединений.
Тепло, вырабатываемое термоэлектрическим модулем (8), рассеивается посредством радиатора (12), размещенного у нижней поверхности подложки (1) и расположенного, по существу, вертикально под упомянутым модулем.
Для поддержания вакуума внутри камеры (5) внутри этой камеры установлено средство, выполненное с возможностью поглощения и, вообще говоря, перекачивания молекул газа во время эксплуатации предлагаемого модуля для обнаружения, причем это средство называется «газопоглотителем».
Этот газопоглотитель (13) соединен с входным выводом (14) электропитания, который проходит сквозь подложку (1), причем упомянутый входной вывод также соединен со схемой (11) межсоединений.
Чтобы достичь эффективности, оптимальной с точки зрения терморегулирования, термоэлектрический модуль по традиции размещен внутри корпуса, где поддерживается вакуум или низкое давление.
Между тем, рассмотрена и возможность размещения этого модуля снаружи корпуса, что упрощает изготовление корпуса и получение вакуума внутри него, но за это приходится расплачиваться, во-первых, эффективностью терморегулирования в болометрическом детекторе, а во-вторых, энергопотреблением упомянутого термоэлектрического модуля (см., например, документ US-A-5914488, где описан эквивалентный принцип использования нагревательного модуля вместо термоэлектрического модуля).
Недостатком наличия термоэлектрического модуля и, вообще говоря, устройства термостабилизации внутри камеры (5), ограниченной корпусом, по существу, заключается в том, что это усложняет корпус.
Фактически, прежде всего, необходимо увеличить высоту корпуса, в типичном случае на 1,5-4,5 мм, а значит и габариты такого устройства.
Во-вторых, температуры сборки и дегазации должны быть ограничены максимальными температурами, которые может выдержать устройство термостабилизации.
С другой стороны, в случае конфигурации, при которой устройство стабилизации или устройство терморегулирования находится снаружи корпуса, энергопотребление упомянутого устройства оказывается избыточным, а габариты всей системы, состоящей из корпуса и устройства термостабилизации, становятся больше. Это также усложняет процесс сборки корпуса на печатной плате (способ соединения с печатной платой, передачу информации о температуре и т.д.).
В дополнение к вышеизложенному и независимо от того, где расположено устройство температурного регулирования, следует отметить, что выполнение его как единого целого с корпусом оказывается дорогостоящим, в частности, из-за затрат на изготовление реального устройства регулирования, а также из-за затрат, обуславливаемых монтажом этого устройства в корпусе, и затрат, связанных с конкретными особенностями компоновки корпуса, позволяющими разместить в нем такое устройство регулирования.
Задача настоящего изобретения, по существу, заключается в том, чтобы преодолеть эти различные недостатки. Поэтому целью является встраивание устройства регулирования температуры, а более конкретно нагревательного устройства, в массу одной из сторон герметичного корпуса, в частности в основание упомянутого корпуса. Чтобы достичь этой цели, изобретение предусматривает предпочтительное применение технологии совместно обожженной керамики для получения сторон корпуса.
В соответствии с изобретением компонент для обнаружения электромагнитного излучения, в частности инфракрасного излучения, содержит:
– корпус, ограничивающий камеру, находящуюся под воздействием вакуума или пониженного давления, причем одна из поверхностей упомянутого корпуса включает в себя окно, которое прозрачно для обнаруживаемого излучения, и содержит, по меньшей мере, один детектор, который используется для обнаружения излучения, о котором идет речь, и располагается внутри упомянутой камеры, по существу, у прозрачного окна,
– средство для выкачивания остаточных газов или газопоглотитель для поддержания вакуума или пониженного давления в камере на приемлемом уровне,
– устройство термостабилизации для гарантии регулирования параметров температуры детектора (детекторов).
В соответствии с изобретением устройство термостабилизации состоит из нагревательного резистивного элемента, который встроен в массу одной из сторон, ограничивающих корпус, в частности в его основание.
Сторона, в этом случае – основание, выполнена из совместно обожженной керамики и содержит, по меньшей мере, два последовательных керамических слоя, прикрепленных друг к другу посредством обжига:
– верхний слой, к которому прикреплен детектор (прикреплены детекторы) посредством пайки или приклеивания эпоксидным клеем,
– нижний слой, который включает в себя находящееся на его поверхности, контактирующей с верхним слоем, упомянутое электрическое резистивное устройство, полученное методом трафаретной печати, причем этот нижний слой прикреплен к верхнему слою посредством обжига.
Таким образом, только один резистивный элемент встроен как устройство стабилизации температуры в массу стороны, а более конкретно в основание герметичного кожуха компонента для обнаружения в соответствии с изобретением. Этот резистивный элемент контролируется пропорционально-интегрально-дифференциальным регулятором (ПИД-регулятором) снаружи корпуса. Чтобы достичь этого, он электрически соединен с одним или более электрических выходных выводов корпуса таким же образом, как любая другая токопроводящая дорожка предложенного компонента. Соединение корпуса с печатной платой, также называемое схемой (11) межсоединений, используется для гарантии связи ПИД-регулятора с резистивным элементом.
Этот нагревательный резистивный элемент может иметь различные структуры, в частности прямолинейную, витую, спиральную и т.д., целью которых является получение температуры, как можно более равномерной на детекторе, температура которого подлежит регулированию или стабилизации.
В соответствии с другим аспектом изобретения устройство для увеличения термосопротивления между вышеупомянутым встроенным нагревательным устройством и внешней средой также встроено в массу стороны, в частности в основание корпуса.
Чтобы достичь этого, основание, выполненное так, как описано ранее, связано с третьим, нижним слоем, снабженным некоторым количеством полостей любой формы, заполненных воздухом и открывающихся во внешнее пространство, тем самым минимизируя поверхностный контакт между корпусом и печатной схемой (11) межсоединений.
В еще одном варианте осуществления изобретения в основании корпуса ограничена вторая полость для гарантии термоизоляции, причем эта вторая полость сообщается с верхней полостью, которая вмещает, в частности, сборку, состоящую из детектора (детекторов) и его (их) схемы (схем) (6, 7) сопряжения, через сквозные отверстия, выполненные в слоях совместно обожженной керамики, которые содержат резистивный элемент устройства термостабилизации.
Способ, которым можно воплотить изобретение, и вытекающие из него преимущества станут яснее по прочтении нижеследующего описания, приводимого просто в качестве примера со ссылками на прилагаемые чертежи.
Как сказано ранее, на фиг.1 представлено схематическое сечение устройства в соответствии с известным уровнем техники.
На фиг.2 представлено схематическое сечение компонента для обнаружения в первом варианте его осуществления в соответствии с изобретением.
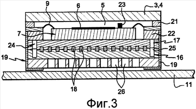
На фиг.3 представлено схематическое сечение компонента для обнаружения во втором варианте его осуществления в соответствии с изобретением.
На фиг.4 представлено схематическое сечение компонента для обнаружения во втором варианте его осуществления в соответствии с изобретением, а на фиг.5 представлен вид сверху после удаления окна, прозрачного для обнаруживаемого излучения.
Элементы, которые являются общими для чертежа, иллюстрирующего известный уровень техники, и чертежей, иллюстрирующих изобретение, обозначены в нижеследующем описании одинаковыми позициями.
Компонент для обнаружения в соответствии с настоящим изобретением содержит, как и в случае известного уровня техники, корпус, который герметизирован с тем, чтобы, по меньшей мере, ограничить утечку величиной, приближающейся к 10-12 мбар·(1/с) в гелии.
Этот корпус содержит подложку (1), выполненную из совместно обожженной керамики, подробнее описываемую ниже, на которой установлен посредством пайки или приклеивания эпоксидным клеем один или более микроболометров (6), связанных со схемой (7) сопряжения. Сама схема (7) сопряжения преимущественно оснащена термодатчиком (23), назначение которого состоит в непрерывном терморегулировании микросхемы, состоящей из сборки (6, 7), известным образом.
Верхняя поверхность этого корпуса закрыта крышкой (3), которая имеет окно (4), прозрачное для обнаруживаемого излучения, в этом случае прозрачное для инфракрасного излучения.
В соответствии с другим фундаментальным аспектом изобретения в массу подложки (1) встроен нагревательный резистивный элемент, который принадлежит устройству термостабилизации, находится в полости, ограниченной внутри корпуса, и участвует в терморегулировании болометрического детектора (болометрических детекторов) (6).
В описываемом примере подложка (1) является трехслойной подложкой. Промежуточный слой (16), выполненный из керамики, имеет на своей верхней поверхности, т.е. на своей поверхности, обращенной к микросхеме (6, 7), нагревательный резистивный элемент (18).
Чтобы электрически изолировать этот резистивный элемент от упомянутой микросхемы (6, 7), поверх промежуточного слоя (16) располагают верхний слой (17), тоже выполненный из керамики.
Сборка (16, 17, 18) предназначена для гарантии равномерного нагревания микросхемы (6, 7) за счет теплового действия тока с целью сохранения – в пространстве и во времени – температуры микрокристалла, на несколько градусов превышающей температуру окружающей среды.
Как говорилось ранее, нагревательный резистивный элемент (18) нанесен методом трафаретной печати проводников в форме печатной краски на листах необработанной керамики. Перед совместным обжигом, а значит, и спеканием эти керамические листы, как известно, находятся в нетвердом состоянии и поэтому являются мягкими или гибкими, а в технологии, о которой идет речь, называются «сырыми».
Таким образом, несколько керамических листов с разными структурами проводников и соединительными токопроводящими дорожками можно расположить один поверх другого, получая желаемый профиль нагревательного резистивного элемента, а значит, и гарантируя, что нагревание вышерасположенной микросхемы будет настолько равномерным, насколько это возможно.
Электрическая связь между токопроводящими дорожками на двух разных уровнях гарантируется межслойными отверстиями (не показаны).
Сразу же после сборки, выравнивания и сжатия сырых керамических листов, на которых осуществлена трафаретная печать, с помощью оснастки, известной специалистам в данной области техники, эти листы обжигают при высокой температуре и под давлением, чтобы соединить их друг с другом. Полученная таким образом сборка является жесткой, так что ее можно впоследствии разрезать на отдельные модули, которые образуют два слоя (16, 17), например, подложки (1). Эта сборка (16, 17) связана с одним или двумя керамическими слоями (15), чтобы изолировать нагревательный резистивный элемент (18) от печатной схемы (11) межсоединений.
Кроме того, реальная полость (5) ограничена путем добавления периферийных керамических слоев (21, 22) на подложке (1) во время изготовления упомянутой подложки. Таким образом, все керамические слои (15, 16, 17, 21, 22) собирают друг с другом и обжигают одновременно.
Существуют два основных типа технологии обжига такой керамики:
– так называемая технология низкотемпературной совместно обожженной керамики (НСОК (LTCC)), в соответствии с которой обжиг происходит при температуре около 800°С, а электрические проводники получают с помощью печатных красок на основе серебра;
– так называемая технология высокотемпературной совместно обожженной керамики (ВСОК (LHCC)), в соответствии с которой температура обжига составляет порядка 1500°С, а электрические проводники получают с помощью печатных красок на основе тугоплавких металлов типа вольфрама.
В варианте осуществления, описываемом в связи с фиг.2, используется, в частности, технология ВСОК. Фактически, внутренние электрические проводники типа вольфрамовых являются, как известно, имеющими большее сопротивление, чем проводники на основе серебра, и это облегчает использование токопроводящих дорожек в качестве сопротивлений для осуществления требуемого для микросхемы нагревания, обусловленного тепловым действием тока.
Кроме того, технология ВСОК дает возможность работать с подложкой из материала типа оксида алюминия, имеющей среднюю удельную теплопроводность 15-20 Вт/м/К, или даже с подложкой из материала типа AlN (нитрида алюминия), обеспечивающей еще большую удельную тепловодность (180 Вт/м/К), тем самым способствуя рассеянию тепла около микросхемы.
На фиг.2 изображено сечение. Специалист может увидеть нагревательный резистивный элемент (18), который можно считать последовательностью витков или спиралей, при этом следует напомнить читателю, что имеющаяся в виду задача состоит в том, чтобы гарантировать рассеяние тепла, как можно более равномерное на уровне микросхемы, температурное регулирование которой надлежит осуществить.
Использование трафаретной печати обеспечивает очень большую степень свободы в контексте формы или конструкции резистивного элемента.
Как правило, целью является достижение рассеяния на уровне от 10 мВт до 5 Вт.
В преимущественном варианте и для того, чтобы снизить потери тепла, а значит, и энергопотребление устройством, в изобретении предлагается уменьшение площади теплопроводящей или контактной поверхности между подложкой (1), выполненной так, как сказано ранее, и печатной схемой (11) межсоединений. Это приводит к варианту осуществления изобретения, который описывается ниже со ссылками на фиг.3.
К двум совместно обожженным керамическим слоям (16, 17), упомянутым ранее, добавился слой (15), выполненный из того же материала, центральная зона которого имеет полости (26) любого профиля, в частности параллелепипедные, цилиндрические, и т.д., которые связаны с одной и той же внешней средой. Это ограничивает площади контакта между подложкой и схемой (11) межсоединений, а значит, и потери тепла из-за собственной теплопроводности материала, из которого сделана упомянутая подложка.
Полости (26) выполнены таким образом, что позволяют избежать любого риска отвода тепла с верхних слоев (16) и (17) подложки, например, за счет выдерживания соотношения, по меньшей мере, четыре к одному для размеров полостей и размеров столбиков, которые ограничивают упомянутые полости. Например, выбирают полости шириной 2 мм и шагом промежутка, составляющим 2,5 мм. Вследствие этого периферийные края слоя (15) не имеют таких полостей, чтобы обеспечить, в частности, размещение электрических контактов (19) около боковых стенок, причем эти контакты переносят электрические сигналы между микросхемой (6, 7) или нагревательным резистивным элементом (18) и печатной схемой (11) межсоединений.
Верхние слои (16) и (17) могут также иметь полости (24, 25), чтобы ограничить потери за счет проводимости на уровне боковых поверхностей керамики, которая образует подложку.
Можно также предусмотреть еще один вариант осуществления изобретения, который описывается ниже со ссылками на фиг.4 и 5 и тоже имеет целью ограничение потерь тепла.
В этом варианте осуществления сборка (16, 17, 18) остается такой же, как та, которая описана в связи с фиг.2. В данном случае верхняя полость (5) тоже ограничена в верхней части корпуса, причем в упомянутой полости находится, в частности, микросхема (6, 7), а сама полость, напомним читателю, находится в условиях вакуума, приближающегося к 10-12 миллибар.
Соответственно, вторая, так называемая «нижняя» или «термоизоляционная», полость (27) ограничена за счет использования двух дополнительных уровней керамических слоев (28, 29), причем упомянутая полость закрыта, как правило, посредством пайки на уровне нижнего основания корпуса металлической пластиной (30). Последняя выполнена с возможностью размещения в ней газопоглотителя (31), полученного методом осаждения из паровой фазы (ОиПФ (PVD)) или установленного отдельно с помощью припаивания его к металлической пластине (30) либо с помощью любых других средств.
Верхняя полость (5) и нижняя полость (27) сообщаются друг с другом посредством отверстий (32), выполненных в сборке (16, 17). За счет их наличия давление вакуума в каждой из этих двух полостей всегда одно и то же.
Слои (16, 17) механически непрерывны с остальной частью корпуса благодаря, по меньшей мере, одному элементу и, например, благодаря четырем консолям или ответвлениям (33), которые, во-первых, механически поддерживают микросхему (6, 7) над нижней термоизоляционной полостью (27), а во-вторых, дают возможным направить электрический контакт нагревательного резистивного элемента (18) к соответствующим выходным выводам корпуса посредством электрического проводника, нанесенного методом трафаретной печати одновременно с упомянутым резистивным элементом (18). Например, эти четыре консоли или ответвления (33) расположены, по существу, в четырех углах слоев (16, 17).
Отверстия (32) дают возможность увеличить термоизоляцию в плоскости микросхемы (6, 7), тем самым снижая потери тепла, возникающие при наличии проводимости через ответвления (33).
Следовательно, вакуумная полость (27) обеспечивает термоизоляцию между нагревательным резистивным элементом (18) и основанием корпуса, которое состоит главным образом из нижнего керамического слоя (28), который сам находится в непосредственном контакте с окружающей средой.
Эта термоизоляция в сочетании с термоизоляцией, присущей отверстиям (32), дает возможность значительно снизить энергопотребление нагревательного резистивного элемента благодаря сниженным потерям тепла.
Кроме того, этот вариант осуществления гарантирует некоторую степень тепловой однородности внутри корпуса, делая последний заметно менее чувствительным к изменениям в условиях окружающей среды и к конфигурации, в которой происходит сборка корпуса на печатной плате, например, съемочной камеры.
Настоящее изобретение обладает некоторым рядом преимуществ, главные из которых описываются ниже.
Во-первых, что касается габаритов, то если основание герметичного кожуха состоит, по меньшей мере, из двух керамических слоев, как часто и бывает, то внесение структуры, полученной методом трафаретной печати, не оказывает влияние на габариты упомянутого кожуха.
Это делает герметичное устройство имеющим исключительно малые габариты, потому что камера упомянутого корпуса становится меньше на толщину термоэлектрического модуля. С другой стороны, становится необходимым повышение уровня керамики в подложке, причем последняя имеет типичную толщину 0,2-0,5 мм, которая все же остается малой по сравнению с предыдущими технологиями, которые обуславливают необходимость толщины, большей на 1,5-4,5 мм.
Дополнительные затраты, которые приходится нести, ограничиваются затратами на дополнительную керамику на уровне подложки в случае трафаретной печати. Это минимальные затраты по сравнению с затратами на внешнее терморегулирующее устройство, устанавливаемое на основание корпуса, как того требует известный уровень техники.
Кроме того, высокая температура, применяемая для проведения стадии обжига, не является ограничивающим фактором в контексте температур сборки или дегазации в отличие от ситуации с устройствами, в которых применяется терморегулирующее устройство типа Пельтье.
В заключение отметим, что резистивная структура или резистивный нагревательный элемент непосредственно соединена или соединен с выходными выводами корпуса во время изготовления изделия и поэтому специальная стадия для соединения регулирующего устройства с корпусом не требуется.
Формула изобретения
1. Компонент для обнаружения инфракрасного электромагнитного излучения, содержащий корпус, ограничивающий камеру (5), находящуюся под воздействием вакуума или пониженного давления, причем одна из поверхностей упомянутого корпуса включает в себя окно (4), которое прозрачно для обнаруживаемого излучения, при этом упомянутая камера содержит, по меньшей мере, один детектор (6), который используется для обнаружения излучения, о котором идет речь, и располагается внутри упомянутой камеры у прозрачного окна, средство (13) для выкачивания остаточных газов или газопоглотитель для поддержания вакуума или пониженного давления в камере (5) на приемлемом уровне, устройство термостабилизации для гарантии регулирования параметров температуры детектора/детекторов, отличающийся тем, что устройство термостабилизации состоит из нагревательного резистивного элемента (18), который встроен в массу основания корпуса – в подложку (1), на которой установлен детектор/детекторы, связанный/связанные со схемой (7) сопряжения, при этом подложка (1) выполнена из керамики и содержит, по меньшей мере, два слоя, прикрепленные друг к другу посредством обжига: верхний слой (17), к которому прикреплен детектор/детекторы (6), нижний слой (15, 16), который включает в себя находящийся на его поверхности, контактирующей с верхним слоем (17), нагревательный резистивный элемент (18), полученный методом трафаретной печати, причем упомянутый нижний слой (16) прикреплен к верхнему слою (17) посредством обжига.
2. Компонент для обнаружения инфракрасного электромагнитного излучения по п.1, отличающийся тем, что нагревательный резистивный элемент (18) устройства термостабилизации контролируется регулятором снаружи корпуса, в частности пропорционально-интегрально-дифференциальным регулятором (ПИД-регулятором).
3. Компонент для обнаружения инфракрасного электромагнитного излучения по п.1, отличающийся тем, что нагревательный резистивный элемент (18) устройства термостабилизации имеет структуры различных типов, таких как прямолинейную, витую, спиральную, и т.д., чтобы гарантировать получение температуры, как можно более равномерной на уровне детектора/детекторов (6).
4. Компонент для обнаружения инфракрасного электромагнитного излучения по п.1, отличающийся тем, что содержит также схему (11) межсоединений или считывания, предназначенную для считывания сигналов из детектора, при этом в массу подложки (1) также встроено средство для увеличения термосопротивления между нагревательным резистивным элементом (18) устройства термостабилизации и схемой (11) межсоединений или считывания.
5. Компонент для обнаружения инфракрасного электромагнитного излучения по п.4, отличающийся тем, что средство для увеличения термосопротивления состоит из полостей (26), имеющих любой профиль и выполненных в нижнем слое (15) подложки (1), предназначенных для уменьшения площади контактной поверхности между подложкой и схемой (11) межсоединений или считывания.
6. Компонент для обнаружения инфракрасного электромагнитного излучения по п.4, отличающийся тем, что средство для увеличения термосопротивления состоит из второй термоизоляционной полости (27), выполненной в основании корпуса и сообщающейся с верхней полостью, которая вмещает сборку, состоящую из детектора/детекторов (6) и его схемы/схем (7) сопряжения, через отверстия (32), выполненные в слоях (16, 17), которые включают в себя нагревательный резистивный элемент (18) устройства термостабилизации, выполненный с ними за одно целое.
7. Компонент для обнаружения инфракрасного электромагнитного излучения по п.6, отличающийся тем, что термоизоляционная полость (27) ограничена совместно обожженными керамическими слоями (28, 29), причем упомянутая полость (27) закрыта на уровне своего основания металлической пластиной (30), выполненной с возможностью заключения в ней газопоглотителя.
8. Компонент для обнаружения инфракрасного электромагнитного излучения по любому из п.6 или 7, отличающийся тем, что слои (16, 17), в которых заключен нагревательный резистивный элемент (18) устройства термостабилизации, непрерывны с остальной частью корпуса благодаря, по меньшей мере, одному элементу (33), предназначенному, во-первых, для создания механической опоры детектора/детекторов (6) и схемы (7) сопряжения над термоизоляционной полостью (27), а во-вторых, для обеспечения возможности направления электрического контакта нагревательного резистивного элемента (18) к соответствующим выходным выводам корпуса посредством электрического проводника, нанесенного методом трафаретной печати одновременно с резистивным элементом (18).
9. Компонент для обнаружения инфракрасного электромагнитного излучения по п.6, отличающийся тем, что включает в себя элемент, обеспечивающий непрерывность слоев (16, 17) с остальной частью корпуса, состоящий из четырех элементов (33) – консолей или ответвлений, расположенных в четырех углах слоев (16, 17).
РИСУНКИ
|
|