|
|
(21), (22) Заявка: 2007146693/28, 04.05.2006
(24) Дата начала отсчета срока действия патента:
04.05.2006
(30) Конвенционный приоритет:
16.05.2005 DE 102005023215.9
(43) Дата публикации заявки: 27.06.2009
(46) Опубликовано: 10.06.2010
(56) Список документов, цитированных в отчете о поиске:
US 6776052 B2, 17.08.2004. US 5594180 А, 14.01.1997. US 6301973 В1, 16.10.2001. RU 2182696 C2, 20.05.2002.
(85) Дата перевода заявки PCT на национальную фазу:
17.12.2007
(86) Заявка PCT:
EP 2006/062071 20060504
(87) Публикация PCT:
WO 2006/122880 20061123
Адрес для переписки:
103735, Москва, ул.Ильинка, 5/2, ООО “Союзпатент”, пат.пов. С.В.Истомину
|
(72) Автор(ы):
ЭКЕРТ Герхард (DE)
(73) Патентообладатель(и):
ЭНДРЕСС+ХАУЗЕР ФЛОУТЕК АГ (CH)
|
(54) ВСТРОЕННЫЙ ИЗМЕРИТЕЛЬНЫЙ ПРИБОР С ИЗМЕРИТЕЛЬНЫМ ДАТЧИКОМ ВИБРАЦИОННОГО ТИПА
(57) Реферат:
Изобретение предназначено для измерения параметров (массового расхода, плотности) протекающих в трубопроводе токсичных и/или взрывоопасных сред под высоким давлением. Измерительный датчик вибрационного типа (10) имеет, по меньшей мере, одну сообщающуюся с трубопроводом, вибрирующую в процессе работы измерительную трубу, возбуждающее устройство (60) для создания и поддержания механических колебаний измерительной трубы, сенсорное устройство (70), по меньшей мере, с одним расположенным на измерительной трубе сенсором для создания измерительного сигнала. Электроника (20) измерительного прибора контролирует статическое давление внутри корпуса (6, 7) измерительного датчика и/или герметичность, по меньшей мере, одной измерительной трубы на основании определенного в процессе работы внутри электроники (20) рабочего параметра: тока возбуждения или изменения тока возбуждения во времени; измеренной плотности или уменьшения во времени измеренной плотности, частоты колебаний измерительной трубы или изменения во времени этой колебательной частоты. Изобретение обеспечивает предотвращение внезапного разрыва встроенного измерительного прибора благодаря заблаговременному распознаванию отказа измерительной трубы. 2 н. и 22 з.п. ф-лы, 8 ил.
Изобретение относится к встроенному измерительному прибору для измерения протекающей в трубопроводе, в частности, газообразной и/или жидкой среды.
В технике измерения процессов и автоматизированной технике для измерения физических параметров, таких, к примеру, как весовой расход, плотность и/или вязкость протекающей в трубопроводе среды, часто используются такие встроенные измерительные приборы, которые посредством измерительного датчика вибрационного типа, через который протекает среда, и присоединенной к нему измерительной и рабочей схемы вызывают в среде силы реакции, такие, к примеру, как соответствующие весовому расходу кориолисовы силы, соответствующие плотности среды силы инерции и/или соответствующие вязкости среды силы трения и т.д., и на основе их вырабатывают измерительный сигнал, выражающий собой соответствующий весовой расход, соответствующую вязкость и/или соответствующую плотность среды.
Такого типа измерительные датчики, выполненные, в частности, как кориолисовы датчики весового расхода или кориолисовы приемники весового расхода/плотности, подробно и детально описаны, к примеру, в WO-A 04/099735, в WO-A 04/038341, WO-A 03/076879, в WO-A 03/027616, в WO-A 03/021202, в WO-A 01/33174, в WO-A 00/57141, в WO-A 98/07 009, в US-B 6880410, US-B 6851323, в US-B 6807866, в US-B 6711958, в US-B 6666098, в US-B 6308580, в US-A 6092429, в US-A 5796011, в US-A 6006609, в US-A 5602345, в US-A 5301557, в US-A 4876898, в US-A 4793191, в ЕР-А 553939, в ЕР-А 1001254, в ЕР-А 1248084, в ЕР-А 1448956 или в ЕР-А 1421349. Для проведения, по меньшей мере, время от времени, протекающей среды измерительные датчики содержат в себе, соответственно, по меньшей мере, одну трубу датчика, соответственно удерживаемую с возможностью колебания на преимущественно более толстостенном, в частности, имеющем форму трубы и/или балкообразном несущем цилиндре или в несущей раме. Сверх того, вышеупомянутые измерительные датчики имеют механически соединенную с первой трубой датчика, по меньшей мере, посредством двух, в частности, однако, четырех соединительных элементов – называемых также узловыми пластинами или соединителями – также, по меньшей мере, время от времени вибрирующую вторую трубу датчика, причем, по меньшей мере, первая труба датчика выполнена как служащая для проведения предназначенной для измерения среды, сообщающаяся с трубопроводом, первая измерительная труба. Для создания вышеуказанных сил реакции обе трубы датчика, приводимые в действие посредством преимущественно электродинамического возбуждающего устройства, в процессе работы принуждаются к вибрации, причем обе трубы датчика, по меньшей мере, время от времени осуществляют изгибающие колебания вокруг, в основном, параллельной продольной оси измерительного датчика воображаемой оси колебаний. Для регистрации вибраций трубы датчика, в частности, со стороны впуска и со стороны выпуска и для выработки, по меньшей мере, одного выражающего собой эти вибрации колебательного измерительного сигнала такие измерительные датчики имеют далее сенсорное устройство, реагирующее, соответственно, на движения и, тем самым, также на механические колебания трубы датчика.
В процессе работы описанная ранее, образованная посредством, по меньшей мере, одной, выполненной как измерительная труба трубы датчика, посредством, по меньшей мере, проводимой в ней в данный момент времени среды, а также, по меньшей мере, частично, посредством возбуждающего и сенсорного устройств внутренняя колебательная система измерительного датчика посредством электромеханического возбуждающего устройства, по меньшей мере, время от времени, в полезном колебательном режиме стимулируется к механическим колебаниям, по меньшей мере, на преобладающей полезной колебательной частоте. Эти колебания в так называемом полезном колебательном режиме сформированы, чаще всего, в частности, при использовании измерительного датчика как кориолисового измерителя весового расхода и/или плотности, по меньшей мере, частично как латеральные колебания. В качестве полезной колебательной частоты при этом обычно выбирается естественная резонансная частота внутренней колебательной системы в данный момент времени, которая снова зависит как от размера, формы и материала трубы датчика, так и от плотности среды в данный момент времени; при известных условиях на полезную колебательную частоту может в значительной степени оказывать воздействие также и вязкость среды в данный момент времени. Вследствие колеблющейся плотности измеряемой среды и/или вследствие предпринятой в процессе работы смены среды полезная колебательная частота в процессе работы измерительного преобразователя, естественно, является переменной, по меньшей мере, внутри калиброванного и, тем самым, заданного диапазона полезной частоты, который имеет заданную нижнюю и заданную верхнюю предельные частоты.
Образованная совместно, по меньшей мере, одной трубой датчика, а также возбуждающим и сенсорным устройствами внутренняя колебательная система измерительного датчика далее обычно объединена имеющим в качестве неотъемлемого конструктивного элемента несущую раму или несущий цилиндр корпусом датчика, причем последний через конец со стороны впуска и конец со стороны выпуска механически соединен с трубопроводом. Соответственно подходящие для измерительного датчика вибрационного типа корпуса датчика описаны, к примеру, в WO-A 03/076879, в WO-A 03/021202, в WO-A 01/65213, в WO-A 00/57141, в US-B 6776052, в US-B 6711958, в US-А 6044715, в US-A 5301557 или в ЕР-А 1001254. В частности, у измерительных датчиков с изогнутыми трубами датчика корпус датчика имеет соединенную с несущей рамой, в частности сваренную с ней, крышку корпуса, которая окружает, по меньшей мере, частично трубы датчика.
Корпус датчика служит, наряду с опорой, по меньшей мере, для одной измерительной трубы, в частности, и для того, чтобы защищать эту трубу, возбуждающее и сенсорное устройства, а также другие расположенные внутри конструктивные элементы от внешних воздействий окружающей среды, таких как пыль или водяные брызги. Соответствующая крышка корпуса для измерительного датчика вибрационного типа для объединения, по меньшей мере, одного вибрирующего в процессе работы измерительного датчика трубного сегмента проводящей среду измерительной трубы описана, к примеру, в WO-A 03/021202, в WO-A 03/021203, в WO-A 00/57141, в US-A 5301557, в ЕР-А 1001254.
Со стороны пользователя к таким корпусам для измерительных датчиков зачастую выставляется требование, чтобы они в случае не герметичной или поврежденной измерительной трубы преимущественно четко выдерживали тогда, без образования трещин, имеющее показатели выше внешнего давления статическое внутреннее давление, по меньшей мере, в течение заданного промежутка времени, сравнить для этого также WO-A 00/57141, US-A 6044715, US-A 5301557 или ЕР-А 1001254. По меньшей мере, для использования токсичных или легко воспламеняющихся текучих сред корпус измерительного датчика, в случае необходимости, должен быть в состоянии отвечать требованиям, поставленным перед защитным резервуаром. Связанная с этим проблема состоит в том, что, в частности, при использовании находящихся под высоким статическим давлением, свыше 100 бар, сред, после того как измерительная труба потеряла герметичность и, тем самым, корпус измерительного датчика, при известных условиях, оказался под действием повышенного внутреннего давления, да притом с выдержкой во времени, в результате губительным образом и неожиданно может произойти разрыв корпуса измерительного датчика и/или соответственно закрепленного на корпусе измерительного датчика корпуса электроники для измерительного прибора. Этот случай может также иметь место в особенности тогда, когда проводящий среду трубопровод нагружен не предусмотренно высокими давлениями и/или серией ударных давлений с не предусмотренной частотностью и/или частотой импульсов. Сверх того, в силу ошибок при использовании материала и/или усталости материала, после длительной эксплуатации, так же и при указанных в спецификации значениях давления вполне могут произойти отказы измерительной трубы и корпуса измерительного датчика.
С другой стороны, часто воспрещается, особенно для сред, опасных для окружающей среды, к примеру, высокотоксичных и/или взрывоопасных материалов, использование соответствующих безопасных выпусков, таких, к примеру, как предохранительные мембраны и/или предохранительные клапана, для снижения возможных избыточных давлений в измерительном преобразователе, так как заражение окружающей среды рабочей средой должно быть, по меньшей мере, надежно предотвращено.
Исходя из этого задача изобретения состоит поэтому в том, чтобы усовершенствовать встроенный измерительный прибор описанного типа таким образом, чтобы отказ измерительной трубы мог быть распознан как можно более заблаговременно и, таким образом, могли быть предотвращены внезапные разрывы встроенного измерительного прибора, в частности корпуса измерительного датчика и/или закрепленного на нем корпуса электроники.
Для решения задачи изобретение относится к встроенному измерительному прибору для измерения протекающей в трубопроводе, в частности, газообразной и/или жидкой среды, который (встроенный измерительный прибор) содержит в себе измерительный датчик вибрационного типа, а также электрически соединенную с измерительным датчиком электронику измерительного прибора. Измерительный датчик имеет, по меньшей мере, одну сообщающуюся с трубопроводом, вибрирующую в процессе работы измерительную трубу, оказывающее воздействие, по меньшей мере, на одну измерительную трубу электромеханическое, в частности электродинамическое, возбуждающее устройство для создания и поддержания механических колебаний измерительной трубы, сенсорное устройство для создания, по меньшей мере, одного выражающего собой колебания измерительной трубы колебательного измерительного сигнала, по меньшей мере, с одним расположенным на измерительной трубе или вблизи нее колебательным сенсором, а также объединяющий, по меньшей мере, одну измерительную трубу вместе с возбуждающим и сенсорным устройствами корпус измерительного датчика. Сверх того, электроника измерительного прибора контролирует статическое внутреннее давление внутри корпуса измерительного датчика и/или герметичность, по меньшей мере, одной измерительной трубы.
Далее изобретение относится к способу для контроля встроенного измерительного прибора для измерения протекающей в трубопроводе, в частности, газообразной и/или жидкой среды, который (встроенный измерительный прибор) содержит в себе электронику измерительного прибора, а также электрически соединенный с ней измерительный преобразователь вибрационного типа, который имеет, по меньшей мере, одну сообщающуюся с трубопроводом и вибрирующую в процессе работы измерительную трубу, оказывающее воздействие, по меньшей мере, на одну измерительную трубу электромеханическое, в частности электродинамическое, возбуждающее устройство для создания и поддержания механических колебаний, по меньшей мере, одной измерительной трубы, сенсорное устройство для создания, по меньшей мере, одного выражающего собой колебания измерительной трубы колебательного измерительного сигнала, по меньшей мере, с одним расположенным на измерительной трубе или вблизи нее колебательным сенсором, а также объединяющий, по меньшей мере, одну измерительную трубу вместе с возбуждающим и сенсорным устройствами корпус измерительного датчика, и этот способ включает в себя следующие этапы:
– инициирование протекания предназначенной для измерения среды, по меньшей мере, через одну измерительную трубу измерительного датчика,
– инициирование прохождения поданного от электроники измерительного прибора тока возбуждения через возбуждающее устройство и инициирование вибрации, по меньшей мере, одной измерительной трубы для создания соответствующих, по меньшей мере, одному полученному от среды показателю сил реакции в среде,
– регистрацию вибраций, по меньшей мере, одной измерительной трубы посредством сенсорного устройства и выработку, по меньшей мере, одного выражающего собой механические колебания измерительной трубы колебательного измерительного сигнала, а также
– определение статического внутреннего давления внутри корпуса измерительного датчика и/или герметичности, по меньшей мере, одной измерительной трубы при помощи электроники измерительного прибора.
В соответствии с первым вариантом осуществления встроенного измерительного прибора электроника измерительного прибора при использовании, по меньшей мере, одного внутренне определенного в процессе работы и/или внутренне измеренного рабочего параметра генерирует повторно, по меньшей мере, одно контрольное значение, которое по своей величине зависит от статического внутреннего давления в данный момент времени внутри корпуса измерительного датчика и/или от среды, окружающей в данный момент времени, по меньшей мере, одну измерительную трубу.
В соответствии со вторым вариантом осуществления встроенного измерительного прибора электроника измерительного прибора генерирует контрольное значение посредством использования, по меньшей мере, одного колебательного измерительного сигнала.
В соответствии с третьим вариантом осуществления встроенного измерительного прибора электроника измерительного прибора вырабатывает, по меньшей мере, один запускающий сигнал для возбуждающего устройства, и электроника измерительного прибора генерирует контрольное значение посредством использования, по меньшей мере, одного запускающего сигнала, в частности, на основании протекающего в возбуждающем устройстве тока возбуждения.
В соответствии с четвертым вариантом осуществления встроенного измерительного прибора через возбуждающее устройство, по меньшей мере, время от времени протекает приводимый в движение от электроники измерительного прибора ток возбуждения, и электроника измерительного прибора генерирует контрольное значение на основании тока возбуждения и/или на основании изменения тока возбуждения во времени. В соответствии с вариантом дальнейшего усовершенствования данного варианта осуществления изобретения электроника измерительного прибора определяет, в частности, в цифровом выражении значение тока возбуждения, которое выражает собой силу тока возбуждения в данный момент времени, и электроника измерительного прибора генерирует контрольное значение посредством использования, по меньшей мере, одного внутренне определенного значения тока возбуждения, в частности, на основании ряда значений тока возбуждения. В соответствии с вариантом дальнейшего усовершенствования данного варианта осуществления изобретения электроника измерительного прибора генерирует контрольное значение на основании ряда записанных в память, в частности в цифровом формате, значений тока возбуждения. Далее предусмотрено, что электроника измерительного прибора генерирует контрольное значение на основании уменьшения во времени силы тока возбуждения и/или другого показателя, характеризующего изменения во времени силы тока возбуждения.
В соответствии с пятым вариантом осуществления изобретения встроенного измерительного прибора встроенный измерительный прибор предусмотрен далее и в состоянии измерять плотность среды. В соответствии с вариантом дальнейшего усовершенствования данного варианта осуществления изобретения электроника измерительного прибора посредством использования, по меньшей мере, одного колебательного измерительного сигнала повторно определяет, в частности, в цифровом формате измеренное значение плотности, которое выражает собой плотность среды в данный момент времени, и электроника измерительного прибора генерирует контрольное значение посредством использования, по меньшей мере, одного внутренне определенного измеренного значения плотности, в частности, на основании ряда измеренных значений плотности. В соответствии с вариантом дальнейшего усовершенствования данного варианта осуществления изобретения электроника измерительного прибора генерирует контрольное значение на основании ряда, в частности, записанных в память в цифровом формате измеренных значений плотности. В соответствии с вариантом дальнейшего усовершенствования данного варианта осуществления изобретения электроника измерительного прибора генерирует контрольное значение на основании уменьшения во времени измеренной плотности и/или другого показателя, характеризующего изменения во времени измеренной плотности. Далее предусмотрено, что электроника измерительного прибора определяет измеренное значение плотности на основании, по меньшей мере, одной служащей для контроля колебательной частоты.
В соответствии с шестым вариантом осуществления встроенного измерительного прибора через возбуждающее устройство, по меньшей мере, время от времени протекает приводимый в движение от электроники измерительного прибора ток возбуждения, электроника измерительного прибора посредством использования, по меньшей мере, одного колебательного измерительного сигнала определяет повторно, в частности в цифровом выражении, измеренное значение плотности, которое выражает собой плотность среды в данный момент времени, и электроника измерительного прибора генерирует контрольное значение на основании коэффициента, образованного посредством внутренне определенного, выражающего собой ток возбуждения в данный момент времени, значения тока возбуждения и внутренне определенного измеренного значения плотности.
В соответствии с седьмым вариантом осуществления встроенного измерительного прибора электроника измерительного прибора генерирует контрольное значение на основании служащей для контроля колебательной частоты, с которой колеблется, по меньшей мере, одна измерительная труба, по меньшей мере, время от времени, и/или на основании изменения во времени этой, по меньшей мере, одной колебательной частоты. В соответствии с вариантом дальнейшего усовершенствования данного варианта осуществления изобретения электроника измерительного прибора генерирует контрольное значение на основании уменьшения во времени и/или другого, характеризующего изменения во времени, по меньшей мере, одной служащей для контроля колебательной частоты показателя.
В соответствии с восьмым вариантом осуществления встроенного измерительного прибора электроника измерительного прибора сравнивает контрольное значение с заданным и/или задаваемым в процессе работы предельным значением, которое выражает собой максимально допустимую для измерительной трубы в процессе работы величину контрольного значения, и электроника измерительного прибора при обнаруженном достижении и/или превышении предельного значения запускает сигнал тревоги.
В соответствии с девятым вариантом осуществления встроенного измерительного прибора электроника измерительного прибора сравнивает изменение во времени контрольного значения с заданным и/или задаваемым в процессе работы предельным значением изменения, которое выражает собой определенную в процессе работы, в частности, через заданный интервал времени максимально допустимую скорость изменения контрольного значения, и электроника измерительного прибора при обнаруженном достижении и/или превышении предельного значения изменения запускает сигнал тревоги.
В соответствии с десятым вариантом осуществления встроенного измерительного прибора электроника измерительного прибора посредством контрольного значения генерирует внутри, по меньшей мере, один сигнал тревоги, который сигнализирует о превышенном статическом внутреннем давлении внутри корпуса измерительного датчика и/или о наличии течи, по меньшей мере, в одной измерительной трубе.
В соответствии с одиннадцатым вариантом осуществления встроенного измерительного прибора электроника измерительного прибора посредством системы передачи данных сообщается, в частности, соединенной посредством проводов системы полевой шины с вышестоящим, обрабатывающим измеренные значения устройством управления, и электроника измерительного прибора посылает сигнал тревоги на устройство управления.
В соответствии с первым вариантом осуществления способа он включает в себя далее этап генерирования посредством электроники измерительного прибора, по меньшей мере, одного контрольного значения, которое по своей величине зависит от статического внутреннего давления в данный момент времени внутри корпуса измерительного датчика и/или от окружающей, по меньшей мере, одну измерительную трубу в данный момент времени среды.
В соответствии со вторым вариантом осуществления способа он включает в себя далее этап сравнения, по меньшей мере, одного контрольного значения с предельным значением, которое выражает собой максимально допустимую для измерительной трубы в процессе работы величину контрольного значения, и/или с предельным значением изменения, которое выражает собой определенную в процессе работы, в частности, через заданный интервал времени максимально допустимую скорость изменения контрольного значения.
В соответствии с третьим вариантом осуществления способа он включает в себя далее этапы определения достижения и/или превышения предельного значения, и/или предельного значения изменения, а также запуск сигнала тревоги.
В соответствии с четвертым вариантом осуществления способа электроника измерительного прибора определяет, по меньшей мере, одно контрольное значение на основании, по меньшей мере, одного в процессе работы внутренне определенного и/или внутренне измеренного рабочего параметра, в частности значения тока возбуждения, которое выражает собой силу тока возбуждения в данный момент времени, на основании служащей для контроля колебательной частоты или выведенного из нее рабочего параметра.
Основная идея изобретения состоит в том, чтобы распознавать возможные течи в измерительной трубе и сопутствующую этому потенциальную угрозу окружающей среде посредством того, что обусловленные повышенным статическим внутренним давлением в корпусе измерительного датчика изменения в колебательном поведении, по меньшей мере, одной измерительной трубы непосредственно распознаются на основании инициирующего колебания запускающего сигнала и/или на основании выражающего собой колебания измерительной трубы колебательного измерительного сигнала. Преимущество изобретения состоит в том, что, таким образом, для контроля внутреннего давления корпуса измерительного датчика настоятельно не требуются дополнительные сенсоры давления измерительной трубы.
Изобретение разъясняется более подробно на основании фигур чертежа, на которых представлен предпочтительный пример осуществления изобретения. Одинаково функционирующие детали на отдельных чертежах снабжены одними и теми же обозначениями и повторяются, однако, на последующих чертежах лишь тогда, когда это кажется целесообразным.
Фиг.1а, b представляют служащий, к примеру, в качестве кориолисова измерителя весового расхода/плотности и/или вязкости встроенный измерительный прибор с измерительным датчиком вибрационного типа, на различных видах сбоку,
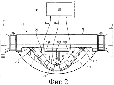
Фиг.2-5 представляют в деталях предназначенный для встроенного измерительного прибора, в соответствии с Фиг.1а, b, измерительный датчик вибрационного типа, на различных, частично в разрезе, видах сбоку,
Фиг.6 демонстрирует характеристики для отклонений приводящих в действие измерительный преобразователь вибрационного типа токов возбуждения прежде соответственно определенного для соответствующего измерительного датчика номинального тока возбуждения, которые были экспериментально определены для встроенного измерительного прибора, в соответствии с Фиг.1а, b, при различных номинальных внутренних диаметрах и различных внутренних давлениях в корпусе измерительного датчика,
Фиг.7 демонстрирует характеристики для отклонений измеренных посредством встроенного измерительного прибора, в соответствии с Фиг.1а, b, плотностей заданной базовой плотности, которые находятся в зависимости от измеренного внутри корпуса измерительного датчика внутреннего давления, которые были экспериментально определены для встроенного измерительного прибора, в соответствии с Фиг.1а, b, при различных номинальных внутренних диаметрах и различных внутренних давлениях в корпусе измерительного датчика,
Фиг.8 демонстрирует характеристики для нормированных, относящихся к измеренным значениям плотности, в соответствии с Фиг.7, токам возбуждения, в соответствии с Фиг.6.
На Фиг.1а, b представлен выполненный, в частности, как кориолисов прибор измерения весового расхода и/или кориолисов прибор измерения плотности встроенный измерительный прибор 1, который, к примеру, служит для того, чтобы регистрировать весовой расход m протекающей в – не представленном здесь по причинам наглядности – трубопроводе среды и отображать в выражающем собой этот весовой расход в данный момент времени измеренном значении Хm весового расхода. Средой при этом может являться практически любой текучий материал, в частности жидкость, газ, пар или нечто подобное. В качестве альтернативы или в дополнение встроенный измерительный прибор 1 может, при известных условиях, использоваться также и для измерения плотности и/или вязкости среды.
Для измерения среды встроенный измерительный прибор 1 содержит в себе измерительный датчик 10 вибрационного типа, через который в процессе работы, соответственно, протекает среда, а также электрически соединенную с измерительным датчиком 10 – не представленную здесь детально, а лишь только схематично в виде блока управления – электронику 20 измерительного прибора. В предпочтительном варианте электроника 20 измерительного прибора рассчитана таким образом, что она в процессе работы встроенного измерительного прибора 1 может обмениваться данными измерений и/или другими рабочими параметрами с вышестоящим по отношению к ней устройством обработки результатов измерений, к примеру, с программируемым управлением от запоминающего устройства (SPS), с персональным компьютером и/или с рабочей станцией через систему передачи данных, к примеру, последовательную полевую шину. Далее, электроника измерительного прибора рассчитана таким образом, что она может получать питание от внешнего источника энергообеспечения, к примеру, также через вышеуказанную систему полевой шины. Для случая, когда встроенный измерительный прибор предусмотрен для подсоединения к системе полевой шины или к другой коммуникационной системе, он имеет, в частности, программируемую электронику 20 измерительного прибора, к тому же соответствующий коммуникационный интерфейс для передачи данных, к примеру, для отправки данных измерений и рабочих параметров на ранее упомянутое программируемое управление от запоминающего устройства или на вышестоящую систему управления процессом.
На Фиг.2-5 в различных изображениях представлен пример осуществления изобретения для измерительного датчика 10 вибрационного типа, служащего, в частности, в качестве кориолисового датчика измерения весового расхода, в качестве датчика измерения плотности и/или в качестве датчика измерения вязкости. Как уже упоминалось, измерительный датчик 10 служит для того, чтобы в протекающей через него среде создавать такие механические силы реакции, в частности, зависящие от весового расхода кориолисовы силы, зависящие от плотности среды силы инерции и/или зависящие от вязкости среды силы трения, которые реагируют на измерительный датчик с возможностью поддаваться сенсорному учету и, таким образом, измерению. На основании этих описывающих среду сил реакции посредством, соответственно, реализованных в электронике измерительного прибора способов оценки, известным специалисту способом могут быть измерены, к примеру, весовой расход, плотность и/или вязкость среды. Измерительный датчик 10 в процессе работы должен быть помещен посредством фланцев 2, 3 в границы – не представленного, однако, по причинам наглядности – трубопровода, через который протекает измеряемая, в частности, жидкая, газообразная или парообразная среда. Вместо фланцев измерительный датчик 10 может быть присоединен к упомянутому трубопроводу также посредством других известных соединительных средств, таких, к примеру, как соединений тройным зажимом или резьбовых соединений.
Для проведения измеряемой среды измерительный датчик содержит в себе, по меньшей мере, одну удерживаемую в корпусе датчика с возможностью колебаний, служащую в качестве измерительной трубы первую трубу 4 датчика, которая в процессе эксплуатации сообщается с трубопроводом и будучи приведенной в действие от электромеханического возбуждающего устройства 60, по меньшей мере, время от времени вынуждается к вибрациям, по меньшей мере, в одном подходящем для определения физических параметров колебательном режиме. В качестве материалов для трубы датчика особенно подходит сталь, в частности инструментальная сталь, титан, цирконий или тантал. Сверх того, в качестве материала для трубы датчика может служить также практически любой другой, используемый обычно для этого, материал или, по меньшей мере, подходящий материал.
Наряду с корпусом 10 датчика и удерживаемой в нем, по меньшей мере, одной трубой 4 датчика измерительный датчик 1 содержит в себе далее воздействующее, по меньшей мере, на одну трубу 4 датчика электромеханическое, в частности электродинамическое, возбуждающее устройство 60 для создания и/или поддержания механических колебаний, в особенности и тогда, когда через трубу 4 датчика протекает измеряемая среда. Далее в измерительном датчике предусмотрено реагирующее на механические колебания, к примеру, изгибающие колебания, трубы 4 датчика сенсорное устройство 70 для выработки, по меньшей мере, одного выражающего собой колебания трубы 4 датчика колебательного измерительного сигнала Svb. По меньшей мере, одна труба 4, 5 датчика, а также дополнительно закрепленные на ней компоненты, такие, к примеру, как часть возбуждающего устройства 60 и сенсорного устройства 70 образуют, таким образом, внутреннюю колебательную систему измерительного датчика.
В процессе работы измерительного датчика 1 общая внутренняя колебательная система измерительного датчика 1, которая образована посредством, по меньшей мере, одной, служащей в качестве измерительной трубы трубы 4 датчика, посредством проводимой по ней в данный момент времени среды, а также, по меньшей мере, частично, посредством возбуждающего устройства 60 и сенсорного устройства 70, по меньшей мере, время от времени практически осуществляет механические колебания, по меньшей мере, с одной полезной колебательной частотой Fn, причем механические колебания, по меньшей мере, время от времени и/или, по меньшей мере, частично сформированы как латеральные колебания, в частности как изгибающие колебания. Полезная колебательная частота Fn внутренней колебательной системы в данный момент времени при этом предпочтительно отрегулирована и настроена таким образом, что она, в основном, соответствует естественной собственной частоте внутренней колебательной системы в данный момент времени. Вследствие этого, полезная колебательная частота Fn, известным специалисту образом, зависит как от размера, формы и материала, по меньшей мере, одной трубы датчика, так и, в особенности, от плотности среды в данный момент времени. При колеблющейся плотности, к примеру, ввиду изменяющихся свойств среды или ввиду смены среды в системе трубопровода полезная колебательная частота Fn в процессе работы измерительного датчика, таким образом, изменяема внутри заданного, имеющего нижнее и верхнее предельные значения частоты диапазона Fn полезных частот, причем нижнее предельное значение частоты соответствует максимально ожидаемой плотности среды, в то время как верхнее предельное значение частоты возникает, к примеру, при вакуумированной измерительной трубе.
Наряду с выполненной, в частности, цельной трубой 4 датчика, в представленном здесь примере осуществления изобретения в измерительном датчике предусмотрена далее, в основном, идентичная первой трубе 4 датчика, в частности, также сообщающаяся с трубопроводом и служащая, таким образом, в качестве второй измерительной трубы измерительного датчика вторая измерительная труба 5 датчика, которая в процессе работы также осуществляет механические колебания. Обе, в частности, по меньшей мере, частично, пролегающие параллельно друг другу трубы 4, 5 датчика могут быть, как обозначено на Фиг.5 и 6 и, к примеру, показано также в US-B 6711958, в US-А 5796011, в US-A 5301557, посредством соответствующих распределителей 11, 12, соответственно, со стороны впуска и со стороны выпуска, вместе подсоединены к параллельно протекающим в процессе работы токовым дорожкам; они могут быть, однако, так же, как, к примеру, показано в US-A 6044715, посредством образования расположенных друг за другом токовых дорожек, соединены друг с другом последовательно. Однако возможно также, как, к примеру, предложено в US-B 6666098 или в US-A 5549009, использовать лишь только одну из обеих труб датчика в качестве служащей для проведения среды измерительной трубы, а другую, через которую не протекает измеряемая среда, использовать как служащую для снижения внутреннего дисбаланса в измерительном датчике глухую трубу.
Для точной настройки образованной посредством обеих труб 4, 5 датчика внутренней колебательной системы на подходящие механические собственные частоты, а также для минимизации вызываемых посредством вибрирующих труб датчика со стороны впуска или со стороны выпуска в корпусе датчика механических напряжений и/или вибраций обе трубы 4, 5 датчика могут быть механически соединены друг с другом далее со стороны впуска посредством, по меньшей мере, одного первого соединительного элемента 217а, 217b, 217с, а также со стороны выпуска посредством, по меньшей мере, второго соединительного элемента 218а, 218b, 218с.
В представленном здесь примере осуществления изобретения каждая из обеих труб 4, 5 датчика имеет, по меньшей мере, один, по меньшей мере, в одной плоскости, по меньшей мере, частично изогнутый центральный средний трубный сегмент 41, 51. Трубы 4, 5 датчика могут иметь при этом, к примеру, как показано также в US-B 6776052, ярко выраженную U-образную форму или же, как предложено также в US-B 6802224 или в US-B 6711958, в основном, быть выполненными V-образно или же в форме трапеции. Далее трубы датчика могут быть так же, как, к примеру, описано в US-A 5796011, выгнуты лишь очень незначительно или, как, к примеру, показано в WO-A 01/65213, в US-B 6308580, в US-A 6092429, в US-A 6044715, более прямоугольно или трапецеидально. В качестве альтернативы для служащей в качестве измерительной трубы изогнутой трубы датчика может служить далее, как, к примеру, описано в US-A 4793191, в US-A 5602345, в US-A 6006609, в US-B 6880410, в US-B 6851323 или в US-B 6840109, также и прямая труба.
У представленного на Фиг.2 и 3 измерительного датчика каждый из обоих центральных средних трубных сегментов, соответственно, в основном, изогнут V-образно. При этом каждая из обеих труб 4, 5 датчика далее содержит в себе, соответственно, со стороны впуска прямой, расположенный, в основном, параллельно воображаемой оси колебаний впускной трубный сегмент, который, соответственно, через дугообразный промежуточный трубный сегмент со стороны впуска переходит в соответствующий средний трубный сегмент. Сверх того, каждая из обеих труб 4, 5 датчика имеет, соответственно, со стороны выпуска прямой, расположенный, в основном, параллельно воображаемой оси колебаний выпускной трубный сегмент, который, соответственно, через дугообразный промежуточный трубный сегмент со стороны выпуска переходит в соответствующий средний трубный сегмент. Далее, каждый из средних трубных сегментов имеет вершинную дугу с раскрытым углом менее 150°, в частности менее 120°. По меньшей мере, средние трубные сегменты 41, 51 обеих труб 4, 5 в процессе работы от закрепленного на них, по меньшей мере, частично, электромеханического возбуждающего устройства 60 побуждаются к консолеобразным вибрациям, при которых они латерально отклоняются из вышеописанной плоскости и принуждаются, в основном, к противофазному колебанию относительно друг друга. При этом первая труба датчика и вторая труба датчика в процессе работы осуществляют, по меньшей мере, время от времени изгибающие колебания вокруг, в основном, параллельной продольной оси L измерительного датчика воображаемой оси колебаний. Другими словами, по меньшей мере, средние трубные сегменты 41, 51 принуждаются к колебаниям в режиме изгибающих колебаний по типу односторонне закрепленной консоли или зубцов камертона. Возбуждающее устройство 60 в представленном примере осуществления изобретения имеет, по меньшей мере, один расположенный, соответственно, в зоне вершинных дуг, в частности, соответственно, примерно посередине, на обеих трубах 4, 5 датчика возбудитель колебаний. Под возбудителем колебаний может пониматься, к примеру, возбудитель колебаний электродинамического типа, т.е. реализованный посредством закрепленной на трубе 5 датчика катушки 62 электромагнита и погружаемого в нее, закрепленного, соответственно, на другой трубе 4 датчика сердечника 61.
Для регистрации вибраций, по меньшей мере, одной трубы 4 датчика и для выработки, по меньшей мере, одного, выражающего собой колебания трубы 4 датчика, колебательного измерительного сигнала Svb, как уже упоминалось, предусмотрено сенсорное устройство, посредством которого, обычным для такого рода измерительного датчика образом, в частности, со стороны впуска и со стороны выпуска могут подаваться сигналы о вибрации трубного сегмента 41 и передаваться на дальнейшую электронную обработку. В представленном примере осуществления изобретения сенсорное устройство имеет для этого расположенный со стороны впуска на трубах 4, 5 датчика первый колебательный сенсор, а также расположенный со стороны выпуска на трубах 4, 5 датчика, в частности, в основном, идентичный или конструктивно подобный первому колебательному сенсору второй колебательный сенсор. Под колебательными сенсорами могут также пониматься колебательные сенсоры электродинамического типа, т.е., соответственно, реализованные посредством закрепленной на трубе 5 датчика катушки 72, 82 электромагнита и погружаемого в нее, соответственно, закрепленного на другой трубе 4 датчика сердечника 71, 81. Сверх того, в качестве колебательных сенсоров могут использоваться и другие известные специалисту, к примеру, оптоэлектронные колебательные сенсоры.
Для определения, по меньшей мере, одного физического показателя на основании, по меньшей мере, одного колебательного измерительного сигнала Svb возбуждающее устройство 60 и сенсорное устройство 70, как обычно у такого рода измерительных датчиков, подходящим образом электрически связаны далее с, соответственно, предусмотренной в электронике 20 измерительного прибора измерительной и эксплуатационной схемой, к примеру, соединены гальванически и/или индуктивно и/или оптоэлектронным способом. Измерительная и эксплуатационная схема снова вырабатывает, с одной стороны, соответственно приводящий в движение возбуждающее устройство 60, к примеру, регулируемый в отношении тока возбуждения и/или напряжения возбуждения запускающий сигнал Sxc. Вследствие этого, соответственно подающийся от электроники 20 измерительного прибора ток возбуждения принуждается к протеканию через возбуждающее устройство, и этот ток посредством, по меньшей мере, одного возбудителя колебаний преобразуется в возбуждающие силы, принуждающие к вибрации, по меньшей мере, одну измерительную трубу. С другой стороны, измерительная и эксплуатационная схема воспринимает, по меньшей мере, один колебательный измерительный сигнал Svb сенсорного устройства 70 и генерирует из него желаемые данные измерений, которые могут, к примеру, выражать собой весовой расход, плотность и/или вязкость измеряемой среды и которые, при известных условиях, могут указываться по месту или же, при известных обстоятельствах, могут передаваться для дальнейшей обработки на вышестоящие инстанции. Электроника 20 измерительного прибора, включая измерительную и эксплуатационную схемы, может быть помещена, к примеру, в отдельном корпусе 9 электроники, который расположен на удалении от измерительного датчика или посредством образования одного единственного компактного встроенного измерительного прибора закреплен непосредственно на измерительном датчике 1, к примеру, извне на корпусе 10 измерительного датчика. В представленном здесь примере осуществления изобретения для этого на корпусе датчика помещен далее служащий для опоры корпуса 9 электроники горловинообразный переходник 8. На Фиг.1-4 переходник 8 и корпус 9 электроники, правда, опущены; лишь на Фиг.4 можно увидеть утопленную в стену корпуса 10 датчика консольную поверхность 63 для переходника 8. В консольной поверхности 63 расположен электрический ввод 64, посредством которого могут быть осуществлены электрические подсоединения к возбуждающему устройству 60 и к сенсорному устройству 70, а также, при необходимости, к другим электрическим компонентам, таким, к примеру, как предусмотренные, при необходимости, в измерительном датчике 1 сенсоры давления и/или температурные сенсоры.
Трубы 4, 5 измерительного датчика, так же, как и, соответственно, помещенные на них возбуждающее устройство и сенсорное устройство, как очевидно далее из совместного обзора Фиг.1а, b и 3, практически полностью окружены ранее упомянутым корпусом 10 датчика. Корпус 10 датчика служит, таким образом, не только как опора, по меньшей мере, для одной трубы 4 датчика, но и, сверх того, для защиты расположенных внутри конструктивных элементов измерительного датчика 1, таких, к примеру, как возбуждающее устройство и сенсорное устройство, и, возможно, сверх того, помещенных внутри корпуса датчика компонентов измерительного датчика, от внешних воздействий окружающей среды, таких, к примеру, как пыль или водяные брызги. Сверх того, корпус 10 датчика далее может быть выполнен и соизмерен также и таким образом, что при возможных повреждениях на трубе 4 датчика, к примеру, посредством образования трещин или разрыва, вытекающая среда до требуемого максимального избыточного давления, по возможности полностью, может удерживаться во внутреннем пространстве корпуса датчика. В качестве материала для корпуса датчика, в частности также для крышки 7 корпуса, могут использоваться, к примеру, такие стали, как конструкционная сталь или нержавеющая сталь, или же другие подходящие высокопрочные материалы. Согласно следующему варианту осуществления измерительного датчика, в частности, по меньшей мере, частично изогнутая труба 4 датчика и корпус датчика состоят, соответственно, из одинакового материала, в частности, из стали или высококачественной стали или, по меньшей мере, из аналогичных друг другу материалов, в частности различных марок стали. Далее предусмотрено, как представлено также на Фиг.3а, b, и как обычно имеет место у такого рода измерительных датчиков, формировать фланцы как единый элемент корпуса датчика, чтобы, таким образом, достичь максимально короткой установочной длины при максимально высокой стабильности измерительного датчика; таким же образом могут быть интегрированы непосредственно в корпус датчика также и предусмотренные, в случае необходимости, распределители 11, 12.
В представленном здесь примере осуществления изобретения корпус 10 датчика содержит в себе – представленный здесь, по меньшей мере, как частично открытый сбоку несущий цилиндр – несущий элемент 6, который, как изображено на Фиг.1-4, по меньшей мере, с одной трубой датчика со стороны впуска и со стороны выпуска механически соединен таким образом, что, по меньшей мере, один изогнутый трубный сегмент 41 выступает сбоку. Корпус датчика имеет далее расположенную на расстоянии от изогнутого среднего трубного сегмента трубы 4, 5 датчика и закрепленную на несущем элементе 6, в частности прочно и/или средне плотно, крышку 7 корпуса. В представленном здесь примере осуществления изобретения, по меньшей мере, труба 4 датчика удерживается в имеющем форму трубы несущем элементе 6 со стороны впуска и со стороны выпуска таким образом, что колеблющийся средний трубный сегмент 41, проходя через два углубления 61, 62 несущего элемента 6, сбоку выступает из него и, тем самым, вдается в закрепленную также на несущем элементе 6 крышку 7 корпуса. При этом следует еще упомянуть, что вместо ранее представленного здесь несущего элемента 6 в форме трубы, при необходимости, может использоваться также массивный несущий цилиндр с другим подходящим поперечным сечением, к примеру, также более имеющий форму балки несущий элемент.
Служащая для расположения трубного сегмента 41 крышка 7 корпуса содержит в себе, как схематично изображено на Фиг.3а, b, желобчатый сегмент 10с крышки, а также, в основном, плоский первый боковой сегмент 10а корпуса и, в основном, зеркально симметричный ему второй боковой сегмент 10b корпуса. Форма сегмента 10с крышки, как очевидно далее из совместного обзора Фиг.3а и 3b, в основном, соответствует тороидальной чаше. Соответственно этому, сегмент 10с крышки имеет, в основном, поперечное сечение формы дуги окружности, предпочтительно полукруглое поперечное сечение с задаваемым радиусом r и, по меньшей мере, предположительно, в основном, имеющий форму дуги окружности первый край 10с’ сегмента со значительно большим, по сравнении с радиусом r, радиусом R, а также второй край 10с сегмента, в основном, сформированный идентично первому краю сегмента. В случае необходимости, как поперечное сечение, так и край сегмента могут быть сформированы не идеально круглыми, а слегка эллиптическими. Как очевидно далее из совместного обзора Фиг.3а, b и 4, боковые сегменты 10а, 10b корпуса соединены, соответственно, через имеющий форму дуги окружности первый край 10а’ или 10b’ сегмента с первым или вторым краем 10с’, 10с” сегмента 10с крышки и именно таким образом, что боковые сегменты 10а, 10b корпуса, соответственно, ориентированы в тангенциальной плоскости сегмента 10с крышки и, таким образом, в основном, соосно прилагаемой к соответствующему краю 10са или 10сb сегмента касательной. Другими словами, между сегментом крышки и корпуса 10с, 10а или сегментом крышки и корпуса 10с, 10b, соответственно, создан непрерывный, т.е. максимально гладкий переход, в котором при допустимом внутреннем избыточном давлении по возможности не создаются или создаются очень незначительные изгибающие напряжения. Кроме того, крышка 7 корпуса через третий край 10c+ сегмента и четвертый край 10с# сегмента 10с крышки, а также, соответственно, через второй край 10а , 10b первого и второго боковых сегментов 10а или 10b корпуса закреплена на несущем элементе 6 и именно таким образом, что сегмент крышки или сегменты 10с, 10а, 10b корпуса в процессе работы остаются на расстоянии, по меньшей мере, от одного вибрирующего трубного сегмента 41. Для изготовления крышки 7 корпуса сегменты 10с, 10а, 10b могут быть, к примеру, соответственно, изготовлены заранее по отдельности и впоследствии соединены, в частности сварены друг с другом. В предпочтительным варианте при изготовлении крышки 7 корпуса может использоваться также, к примеру, описанный в уже упомянутом документе WO-A 03/021202 способ для изготовления применяемой в качестве крышки 7 корпуса металлической крышки, при котором она образуется посредством сварки двух, в основном, идентично сформированных, в частности, вырезанных из дискообразных полуфабрикатов половинок крышки, в частности, с имеющим форму четверти тора краевым валиком. Далее крышка 7 корпуса может быть изготовлена, к примеру, также из металлического листа соответствующей толщины способом глубокой прокатки.
Как уже упоминалось, электроника 20 измерительного прибора создает в процессе работы, с одной стороны, питающий возбуждающее устройство запускающий сигнал, а с другой стороны, электроника измерительного прибора принимает колебательные сигналы сенсорного устройства и генерирует из них желаемые данные измерений, выражающие собой весовой расход, плотность, вязкость или температуру протекающей среды. В соответствии с изобретением далее предусмотрено, что электроника измерительного прибора в процессе работы контролирует статическое внутреннее давление внутри корпуса измерительного датчика и/или герметичность, по меньшей мере, одной измерительной трубы. Для этого электроника измерительного прибора определяет, в соответствии с предпочтительным вариантом осуществления изобретения, на основании, по меньшей мере, одного установленного внутри электроники измерительного прибора или обновленного рабочего параметра повторно, по меньшей мере, одно контрольное значение, которое в своей величине зависит от статического внутреннего давления в данный момент времени внутри корпуса измерительного датчика и/или, по меньшей мере, от окружающей в данный момент времени, по меньшей мере, одну измерительную трубу среды. Для вышеописанного случая, когда электроника измерительного прибора посредством системы передачи данных сообщается с вышестоящим, обрабатывающим данные измерений устройством управления, электроника измерительного прибора может посылать, к примеру, сигнал тревоги через систему передачи данных также на устройство управления.
В соответствии со следующим вариантом осуществления изобретения далее предусмотрено, что электроника измерительного прибора сравнивает контрольное значение с предельным значением, которое выражает собой максимально допустимую для измерительной трубы в процессе работы величину контрольного значения, и/или, что электроника измерительного прибора сравнивает контрольное значение с предельным значением изменения, которое представляет собой усредненную в процессе работы, в частности в течение заданного временного интервала, максимально допустимую скорость изменения контрольного значения. В случае, когда электроника измерительного прибора обнаруживает достижение и/или превышение предельного значения или измененного предельного значения, электроника измерительного прибора запускает соответствующий сигнал тревоги. Под предельным значением или измененным предельным значением может пониматься как установленное сначала, к примеру, при калибровке и/или при вводе в эксплуатацию встроенного измерительного прибора значение; в случае необходимости предельное значение или измененное предельное значение может быть, однако, изменено также в процессе работы встроенного измерительного прибора, со стороны пользователя, к примеру, также через систему передачи данных и, таким образом, актуально согласовано с фактическими условиями, к примеру, с типом или свойствами измеряемой в данный момент времени среды.
Проводимые далее исследования показали, что при этом как запускающий сигнал для возбуждающего устройства, так и, по меньшей мере, один колебательный измерительный сигнал может подавать информацию о проконтролированном статическом внутреннем давлении внутри корпуса измерительного датчика, а также о проконтролированной герметичности, по меньшей мере, одной измерительной трубы. Соответственно этому, под внутренне определенным в процессе работы и/или внутренне измеренным рабочим параметром может пониматься, к примеру, ток возбуждения, возбужденная в данный момент времени полезная колебательная частота, демпфирование колеблющейся измерительной трубы в данный момент времени и/или выведенный из этого параметр, такой, к примеру, как измеренная посредством электроники измерительного прибора в данный момент времени плотность , и/или измеренная посредством электроники измерительного прибора вязкость среды. Так, к примеру, могло быть установлено, что измеряемое далее в процессе работы отклонение тока возбуждения от номинально ожидаемого в процессе нормальной работы тока возбуждения имеет очень сильную, почти пропорциональную зависимость от статического внутреннего давления в данный момент времени. Соответствующие характеристики тока возбуждения или его отклонения от номинального тока возбуждения, которые были экспериментально определены примерно на основании двух, в основном, конструктивно подобных измерительных датчиков различного номинального внутреннего диаметра (DN 15, DN 25) и для различных значений внутреннего давления в корпусе измерительного датчика, представлены на Фиг.6.
Соответственно этому, согласно следующему варианту осуществления изобретения предусмотрено, что электроника измерительного прибора генерирует контрольное значение посредством использования, по меньшей мере, одного запускающего сигнала, в частности, на основании протекающего в возбуждающем устройстве тока возбуждения и/или на основании изменения тока возбуждения во времени. Для этого электроника измерительного прибора, в соответствии со следующим предпочтительным вариантом осуществления изобретения, определяет, по меньшей мере, время от времени, внутри, в частности, цифровое значение тока возбуждения, которое выражает собой силу тока возбуждения в данный момент времени, которое затем также используется для того, чтобы генерировать контрольное значение. В случае необходимости также и последовательность и/или усреднение по времени нескольких, в частности, сохраненных в цифровом виде значений тока возбуждения могут служить для выработки контрольного значения. В качестве альтернативы или в дополнение для определения контрольного значения могут быть привлечены также показатели, характеризующие уменьшение во времени силы тока возбуждения и/или другие изменения во времени силы тока, к примеру, обратная величина уменьшения во времени и/или среднее значение во времени. Сверх того, вместо абсолютной величины для тока возбуждения или его отклонения в данный момент времени от номинального тока возбуждения могут привлекаться также относительные значения для отклонений и, таким образом, также для определения контрольной величины.
Могло быть, к тому же, установлено, что наряду с током возбуждения также и базирующаяся в процессе работы на колебательном измерительном сигнале, в частности, посредством полезной колебательной частоты измеренная плотность равным образом значительно реагирует на повышение статического внутреннего давления в корпусе измерительного датчика посредством соответствующего отклонения от номинальной базовой плотности. Экспериментально определенные характеристики измеренной плотности или отклонения от них заданной базовой плотности в зависимости от измеренного внутри корпуса измерительного датчика внутреннего давления примерно представлены на Фиг.7. Согласно этому, электроника измерительного прибора, в соответствии со следующим вариантом осуществления изобретения, предусмотрена далее для того, чтобы измерять плотность среды и, по меньше мере, время от времени выдавать выражающее собой плотность среды, в частности, в цифровом выражении измеренное значение плотности Х . При этом электроника измерительного прибора рассчитана далее для того, чтобы генерировать контрольное значение посредством использования внутри определенного измеренного значения Х плотности, в частности, на основании ряда сохраненных в цифровом формате, измеренных значений плотности. В качестве альтернативы или в дополнение для определения контрольного значения могут служить также показатели, характеризующие уменьшение во времени измеренной плотности и/или другие изменения во времени измеренной плотности. В этом месте следует также упомянуть о том, что вместо измеренной плотности для генерирования контрольного значения может быть привлечена также зависящая от плотности среды колебательная частота, с которой, по меньшей мере, одна измерительная труба колеблется, по меньшей мере, время от времени, тем более что возбужденная в процессе работы полезная колебательная частота и так уже определяется, по меньшей мере, для регулирования запускающего сигнала, а также, в случае необходимости, с целью измерения плотности. Равным образом, поэтому, для генерирования контрольного значения могут использоваться также показатели, выведенные, сверх того, по меньшей мере, из одной колебательной частоты, к примеру, характеризующие изменения во времени или другие изменения во времени, по меньшей мере, одной колебательной частоты показатели. Предельное значение может при этом соответствовать, к примеру, ранее упомянутой нижней предельной частоты диапазона Fn полезных частот, в то время как предельное значение изменения может быть определено сначала, к примеру, на основании максимально допустимой скорости изменения для полезной колебательной частоты для измерительного датчика. Также и при использовании измеренной плотности или измеренной колебательной частоты контрольное значение может базироваться также как на абсолютных, так и на относительных значениях для отклонений в данный момент времени от соответствующего номинального значения.
В соответствии со следующим вариантом осуществления изобретения предусмотрено, что электроника измерительного прибора определяет контрольное значение как на основании тока возбуждения, так и на основании внутренне определенного измеренного значения плотности и/или, по меньшей мере, внутренне измеренной колебательной частоты измерительной трубы. В качестве особо предпочтительного рабочего параметра для этого выявил себя, к примеру, коэффициент, который образован посредством внутренне определенного значения тока возбуждения и внутренне определенного измеренного значения плотности, причем при использовании вышеупомянутых, экспериментально определенных соответственно для тока возбуждения и плотности измеренных значений выявляются представленные на Фиг.8 характеристики для нормированных, соответственно по измеренным значениям плотности, токов возбуждения. Ясно очевиден первоначальный очень крутой перепад соответствующего нормированного тока возбуждения, который ведет к тому, что уже при очень незначительных и скорее некритичных повышениях давления в зоне ниже 100 бар возможно простое и надежное определение преобладающего в корпусе измерительного датчика превышенного статического давления, вследствие проникающей течи.
В силу внутреннего контроля как статического внутреннего давления внутри корпуса измерительного датчика, так и герметичности, по меньшей мере, одной измерительной трубы встроенный измерительный прибор в соответствии с изобретением особенно подходит и для использования в системах трубопроводов, которые транспортируют потенциально опасные для окружающей среды, в частности токсичные и/или взрывоопасные среды. Сверх того, встроенный измерительный прибор в соответствии с изобретением предпочтительно может применяться также в системах трубопроводов, которые по условиям эксплуатации транспортируют среды, находящиеся под высоким давлением, много свыше 200 бар. Особым преимуществом является автоматический контроль внутреннего давления в корпусе измерительного датчика посредством электроники измерительного прибора; кроме того, для встроенного измерительного прибора, корпус измерительного датчика которого, как часто имеет место быть, к примеру, при ранее упомянутом несущем цилиндре, выполнен сравнительно толстостенным и, таким образом, также сравнительно прочным на сжатие, так как тогда, с одной стороны, повышение давления во внутреннем пространстве извне едва замечается, а, с другой стороны, возможный разрыв корпуса измерительного датчика, в силу очень высокой тогда аккумулированной механической энергии, стал бы причиной катастрофических разрушений внутри затронутой установки.
Формула изобретения
1. Встроенный измерительный прибор для измерения протекающей в трубопроводе, в частности, газообразной и/или жидкой среды, содержащий в себе измерительный датчик вибрационного типа, а также электрически соединенную с измерительным датчиком электронику измерительного прибора, причем измерительный датчик имеет, по меньшей мере, одну сообщающуюся с трубопроводом вибрирующую в процессе работы измерительную трубу, оказывающее воздействие, по меньшей мере, на одну измерительную трубу электромеханическое возбуждающее устройство для создания и поддержания механических колебаний измерительной трубы, сенсорное устройство для создания, по меньшей мере, одного выражающего собой колебания измерительной трубы колебательного измерительного сигнала, по меньшей мере, с одним расположенным на измерительной трубе или вблизи нее колебательным сенсором, а также объединяющий, по меньшей мере, одну измерительную трубу вместе с возбуждающим и сенсорным устройствами корпус измерительного датчика; причем электроника измерительного прибора приспособлена для контроля статического внутреннего давления внутри корпуса измерительного датчика и/или герметичности, по меньшей мере, одной измерительной трубы, и причем электроника измерительного прибора для контроля статического внутреннего давления внутри корпуса измерительного датчика и/или герметичности, по меньшей мере, одной измерительной трубы на основании, по меньшей мере, одного, определенного в процессе работы внутри электроники измерительного прибора и/или измеренного посредством электроники измерительного прибора рабочего параметра определяет, по меньшей мере, одно контрольное значение, которое по своей величине зависит от статического внутреннего давления в данный момент времени внутри корпуса измерительного датчика и/или от окружающей в данный момент времени, по меньшей мере, одну измерительную трубу среды.
2. Встроенный измерительный прибор по п.1, в котором электроника измерительного прибора генерирует контрольное значение посредством использования, по меньшей мере, одного колебательного измерительного сигнала.
3. Встроенный измерительный прибор по п.1 или 2, в котором возбуждающее устройство является электродинамическим возбуждающим устройством.
4. Встроенный измерительный прибор по п.2 или 3, в котором электроника измерительного прибора вырабатывает, по меньшей мере, один запускающий сигнал для возбуждающего устройства, и причем электроника измерительного прибора генерирует контрольное значение посредством использования, по меньшей мере, одного запускающего сигнала, в частности, на основании протекающего в возбуждающем устройстве тока возбуждения.
5. Встроенный измерительный прибор по п.4, в котором через возбуждающее устройство, по меньшей мере, время от времени протекает приводимый в движение от электроники измерительного прибора ток возбуждения и причем электроника измерительного прибора генерирует контрольное значение на основании тока возбуждения и/или на основании изменения тока возбуждения во времени.
6. Встроенный измерительный прибор по п.5, в котором электроника измерительного прибора определяет, в частности, в цифровом выражении, значение тока возбуждения, которое выражает собой силу тока возбуждения в данный момент времени и причем электроника измерительного прибора генерирует контрольное значение посредством использования, по меньшей мере, одного определенного внутри электроники измерительного прибора значения тока возбуждения, в частности, на основании ряда значений тока возбуждения.
7. Встроенный измерительный прибор по п.6, в котором электроника измерительного прибора генерирует контрольное значение на основании ряда записанных в память, в частности, в цифровом формате значений тока возбуждения.
8. Встроенный измерительный прибор по п.7, в котором электроника измерительного прибора генерирует контрольное значение на основании уменьшения во времени силы тока возбуждения и/или другого показателя, характеризующего изменения силы тока возбуждения во времени.
9. Встроенный измерительный прибор по п.8, дополнительно выполненный с возможностью измерять плотность среды, причем электроника измерительного прибора посредством использования, по меньшей мере, одного колебательного измерительного сигнала определяет, в частности, в цифровом формате измеренное значение для плотности, которое выражает собой плотность среды в данный момент времени и причем электроника измерительного прибора генерирует контрольное значение посредством использования, по меньшей мере, одного определенного внутри электроники измерительного прибора значения плотности, в частности, на основании ряда измеренных значений плотности.
10. Встроенный измерительный прибор по п.9, в котором электроника измерительного прибора генерирует контрольное значение на основании ряда, в частности, записанных в память в цифровом формате измеренных значений плотности.
11. Встроенный измерительный прибор по п.10, в котором электроника измерительного прибора генерирует контрольное значение на основании уменьшения во времени измеренной плотности и/или другого показателя, характеризующего изменения во времени измеренной плотности.
12. Встроенный измерительный прибор по одному из п.2 или 3, в котором электроника измерительного прибора генерирует контрольное значение на основании коэффициента, образованного посредством определенного внутри электроники измерительного прибора значения тока возбуждения и определенного внутри электроники измерительного прибора значения плотности.
13. Встроенный измерительный прибор по одному из п.2 или 3, в котором электроника измерительного прибора генерирует контрольное значение на основании, по меньшей мере, одной служащей для контроля, колебательной частоты, с которой колеблется, по меньшей мере, одна измерительная труба, по меньшей мере, время от времени, и/или на основании изменения во времени этой, по меньшей мере, одной колебательной частоты.
14. Встроенный измерительный прибор по п.13, в котором электроника измерительного прибора генерирует контрольное значение на основании уменьшения во времени и/или другого, характеризующего изменения во времени, по меньшей мере, одного, служащей для контроля, колебательной частоты, показателя.
15. Встроенный измерительный прибор по п.9, в котором электроника измерительного прибора определяет измеренное значение для плотности на основании, по меньшей мере, одной, служащей для контроля колебательной частоты.
16. Встроенный измерительный прибор по одному из п.2 или 3, в котором электроника измерительного прибора сравнивает контрольное значение с заданным и/или задаваемым в процессе работы предельным значением, которое выражает собой максимально допустимую для измерительной трубы в процессе работы величину контрольного значения и причем электроника измерительного прибора при обнаруженном достижении и/или превышении предельного значения запускает сигнал тревоги.
17. Встроенный измерительный прибор по одному из п.2 или 3, в котором электроника измерительного прибора сравнивает изменение во времени контрольного значения с заданным и/или задаваемым в процессе работы предельным значением изменения, которое выражает собой определенную в процессе работы, в частности, через заданный интервал времени, максимально допустимую скорость изменения контрольного значения и причем электроника измерительного прибора при обнаруженном достижении и/или превышении предельного значения изменения запускает сигнал тревоги.
18. Встроенный измерительный прибор по одному из п.2 или 3, в котором электроника измерительного прибора посредством контрольного значения генерирует, по меньшей мере, один сигнал тревоги, который сигнализирует о превышенном статическом внутреннем давлении внутри корпуса измерительного прибора и/или о наличии течи, по меньшей мере, в одной измерительной трубе.
19. Встроенный измерительный прибор по п.18, в котором электроника измерительного прибора посредством системы передачи данных, в частности, соединенной посредством проводов системы полевой шины, сообщается с вышестоящим, обрабатывающим измеренные значения устройством управления и причем электроника измерительного прибора посылает сигнал тревоги на устройство управления.
20. Способ для контроля встроенного измерительного прибора для измерения протекающей в трубопроводе, в частности, газообразной и/или жидкой среды, который содержит в себе электронику измерительного прибора, а также электрически соединенный с ней измерительный датчик вибрационного типа, который имеет, по меньшей мере, одну сообщающуюся с трубопроводом и вибрирующую в процессе работы измерительную трубу, оказывающее воздействие, по меньшей мере, на одну измерительную трубу электромеханическое, в частности, электродинамическое возбуждающее устройство для создания и поддержания механических колебаний измерительной трубы, сенсорное устройство для создания, по меньшей мере, одного выражающего собой колебания измерительной трубы колебательного измерительного сигнала, по меньшей мере, с одним расположенным на измерительной трубе или вблизи нее колебательным сенсором, а также объединяющий, по меньшей мере, одну измерительную трубу вместе с возбуждающим и сенсорным устройствами корпус измерительного датчика, и этот способ включает в себя следующие этапы: инициирование протекания предназначенной для измерения среды, по меньшей мере, через одну измерительную трубу измерительного датчика, инициирование прохождения поданного от электроники измерительного прибора тока возбуждения через возбуждающее устройство и инициирование вибрации, по меньшей мере, одной измерительной трубы для создания соответствующих, по меньшей мере, одному, полученному от среды показателю, сил реакции, регистрацию вибраций, по меньшей мере, одной измерительной трубы посредством сенсорного устройства и выработка, по меньшей мере, одного, выражающего собой механические колебания измерительной трубы, колебательного измерительного сигнала, а также определение статического внутреннего давления внутри корпуса измерительного датчика и/или герметичности, по меньшей мере, одной измерительной трубы при помощи электроники измерительного прибора.
21. Способ по п.20, включающий в себя этап генерирования посредством электроники измерительного прибора, по меньшей мере, одного контрольного значения, которое по своей величине зависит от статического внутреннего давления в данный момент времени внутри корпуса измерительного датчика и/или от окружающей, по меньшей мере, одну измерительную трубу в данный момент времени, среды.
22. Способ по п.21, дополнительно включающий в себя этап сравнения, по меньшей мере, одного контрольного значения с предельным значением, которое выражает собой максимально допустимую для измерительной трубы в процессе работы величину контрольного значения, и/или с предельным значением изменения, которое выражает собой определенную в процессе работы, в частности, через заданный интервал времени, максимально допустимую скорость изменения контрольного значения.
23. Способ по п.22, дополнительно включающий в себя этапы определения достижения и/или превышения предельного значения, и/или предельного значения изменения, а также запуск сигнала тревоги.
24. Способ по одному из пп.20-23, в котором электроника измерительного прибора определяет, по меньшей мере, одно контрольное значение на основании, по меньшей мере, одного определенного в процессе работы внутри электроники измерительного прибора и/или измеренного посредством электроники измерительного прибора рабочего параметра, в частности, значения тока возбуждения, которое выражает собой силу тока возбуждения в данный момент времени, на основании служащей для контроля колебательной частоты или выведенного из нее рабочего параметра.
РИСУНКИ
|
|