|
|
(21), (22) Заявка: 2006102644/28, 30.01.2006
(24) Дата начала отсчета срока действия патента:
30.01.2006
(30) Конвенционный приоритет:
31.01.2005 EP 05100617.9
(43) Дата публикации заявки: 27.08.2007
(46) Опубликовано: 10.06.2010
(56) Список документов, цитированных в отчете о поиске:
US 5002140 А, 26.03.1991. DE 19947394 A1, 03.05.2001. DE 2950925 A1, 20.11.1980. US 6013921 А, 11.01.2000. US 6732697 А1, 20.05.2004.
Адрес для переписки:
129090, Москва, ул. Б.Спасская, 25, стр.3, ООО “Юридическая фирма Городисский и Партнеры”, пат.пов. Ю.Д.Кузнецову, рег. 595
|
(72) Автор(ы):
ЦВАЙФЕЛЬ Ив (CH)
(73) Патентообладатель(и):
МАЙЛЛЕФЕР СА (CH)
|
(54) УСТРОЙСТВО ДЛЯ ИЗМЕРЕНИЯ УДЕЛЬНОГО МАССОВОГО РАСХОДА СЫПУЧЕГО МАТЕРИАЛА
(57) Реферат:
Изобретение относится к устройству для измерения удельного массового расхода потока сыпучего материала, который движется в предварительно определенном направлении, в предварительно определенном направлении потока. Техническим результатом заявленного изобретения является повышение точности измерения удельного массового расхода за короткий промежуток времени. Устройство для измерения удельного массового расхода потока сыпучего материала, который движется в предварительно определенном направлении, имеет: датчик массы, состоящий из местами прозрачной трубчатой стенки, причем через него проходит поток сыпучего материала; первое средство, взвешивающее сборку датчика массы и количество сыпучего материала в датчике массы и формирующее сигнал с измеренными значениями; второе средство, измеряющее скорость потока сыпучего материала, проходящего через датчик массы, и формирующее второй сигнал с измеренной скоростью потока; третье средство, подсчитывающее объемную плотность и удельный массовый расход сыпучего материала; четвертое средство, фиксирующее и регистрирующее два последовательных изображения сыпучего материала; пятое средство, сравнивающее упомянутые изображения, определяющее значение перемещения сыпучего материала в течение первого предварительно определенного интервала времени и передающее упомянутое значение в виде сигнала; шестое средство, вычисляющее скорость потока сыпучего материала, проходящего через датчик массы, и формирующее соответствующий сигнал. 7 з.п.ф-лы, 1 ил.
Изобретение относится к устройству для измерения удельного массового расхода потока сыпучего материала, который движется в предварительно определенном направлении, в предварительно определенном направлении потока.
Изобретение более подробно относится к устройству для измерения удельного массового расхода компонента, введенного в экструдер, например, главного компонента, а также для измерения удельного массового расхода дополнительных компонентов, таких как цветной концентрированный краситель при использовании в комбинации с дозирующей системой.
Под сыпучим материалом подразумеваются, в частности, но не исключительно, гранулы, перешлифованный материал, крупный порошок, пластиковый каучук.
Изобретение подходит для измерения степени потребления сыпучего материала машины, такой как экструдер.
Измерение удельного массового расхода каждого компонента, введенного в экструдер, особенно важно, когда эти компоненты используются для выдавливания множества наложенных слоев и когда толщину каждого слоя сложно или невозможно измерить на линии экструзии.
Известны различные устройства для измерения удельного массового расхода сыпучего материала, например такие, как описаны в US-A-6732597 и EP-A-0213524. Эти устройства обычно основываются на измерениях «потерь в весе» бункера, и удовлетворительная точность возможна лишь тогда, когда разница в весе в бункере-дозаторе достаточно большая по сравнению с общим весом бункера.
Целью изобретения является получение устройства, которое предоставляет возможность измерить удельный массовый расход за короткий период времени с повышенной точностью.
Использование такого устройства для измерения удельного массового расхода с повышенной точностью в частности важно при низком расходе или в течение изменений расхода.
Другой целью изобретения является устройство для измерения удельного массового расхода, которое является компактным, имеет простую механическую конструкцию, прочную и простую при очистке.
Объектом настоящего изобретения является устройство по п.1 формулы изобретения для достижения вышеуказанных целей изобретения.
Изобретение будет более простым для понимания после изучения следующего описания, приведенного в виде неограничивающего примера, со ссылкой на сопровождающий чертеж, который иллюстрирует устройство в соответствии с изобретением в поперечном сечении в соответствии с по существу вертикальной плоскостью.
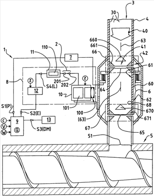
Ссылаясь на чертеж, можно увидеть первое устройство, указанное устройство 1 для измерения удельного массового расхода DM потока 40 сыпучего материала 3, который движется в предварительно определенном направлении 63, вышеуказанном предварительно определенном направлении потока 63.
Значительным, но не ограничивающим, образом сыпучий материал 3 предназначен для попадания во второе устройство 5, такое как экструдер.
В соответствии с изобретением устройство 1 для измерения удельного массового расхода 1 располагается в потоке 40 сыпучего материала 3 и имеет:
– датчик 6 массы, который состоит из трубчатой стенки 60, образованной между внутренней поверхностью 61 и внешней поверхностью 62, этот датчик 6 массы имеет объем предварительно определенного значения V, поперечное сечение предварительно определенного значения С и вес предварительно определенного значения W и расположен так, чтобы через него проходил поток 40 сыпучего материала 3,
– первое средство 7, которое, по меньшей мере, в течение предварительно определенного интервала времени Z
– взвешивает всю сборку датчика 6 массы и количества сыпучего материала 3, содержащегося в датчике 6 массы, и
– формирует первый сигнал S1, представляющий, по меньшей мере, значение Р веса всей сборки датчика 6 массы и количества сыпучего материала 3, содержащегося в датчике 6 массы,
– второе средство 8, которое, по меньшей мере, в течение предварительно определенного периода времени Z измеряет скорость потока Е сыпучего материала 3, который проходит через датчик 6 массы и формирует второй сигнал S2, представляющий скорость потока Е сыпучего материала, содержащегося в датчике 6 массы,
– третье средство 9, которое использует первый сигнал S1, второй сигнал S2, предварительно определенное значение V объема датчика 6 массы, предварительно определенное значение С поперечного сечения вышеуказанного датчика 6 массы и вес предварительно определенного объема W датчика 6 массы для
– подсчета объемной плотности Q сыпучего материала 3,
– подсчета удельного массового расхода DM сыпучего материала 3, который проходит через датчик 6 массы в течение первого предварительно определенного интервала Z времени и
– формирует третий сигнал S3, представляющий удельный массовый расход DM сыпучего материала 3, который проходит через датчик 6 массы в течение первого предварительно определенного интервала времени Z.
Предпочтительным, но не ограничивающим образом поток 40 сыпучего материала 3, который движется в предварительно определенном направлении потока 63, проходит через трубу 4 и выходит из вышеуказанной трубы 4 через отверстие, вышеуказанное первое отверстие 41 располагается на конце 42 трубы 4.
Устройство 1 для измерения удельного массового расхода расположено внизу по потоку от первого отверстия 41 вышеуказанной трубы 4.
Слово «труба» означает любое устройство, предназначенное для транспортировки сыпучего материала вверх по потоку к устройству 1 для измерения массового расхода.
В особенности датчик массы 6 имеет трубчатую стенку 60, по меньшей мере, местами прозрачную для возможности наблюдения снаружи датчика 6 массы, сыпучего материала 3, который проходит по его внутренней поверхности 61, и второе средство 8 имеет:
– четвертое средство 10 для фиксирования и регистрации через трубчатую стенку 60 в течение, по меньшей мере, первого предварительно определенного интервала времени Z двух последовательных изображений сыпучего материала 3 в контакте с внутренней поверхностью 61 стенки 60 датчика 6 массы, эти два последовательных изображения составляют группу 2 из первого изображения 201 и второго изображения 202,
– пятое средство 11 для
– сравнения первого изображения 201 и второго изображения 202 группы 2 из двух последовательных изображений и
– определения значения перемещения L сыпучего материала 3 в течение первого предварительно определенного интервала времени Z и
– формирования четвертого сигнала S4, представляющего значение L перемещения сыпучего материала 3, который проходит через датчик 6 массы в течение первого предварительно определенного интервала времени Z,
– шестое средство 12 для использования четвертого сигнала S4 и в качестве функции от значения первого предварительно определенного интервала времени Z,
– вычисления скорости потока Е сыпучего материала 3, который проходит через датчик 6 массы, и
– формирования второго сигнала S2, представляющего скорость потока Е сыпучего материала 3, содержащегося в вышеуказанном датчике 6 массы.
На чертеже:
символ «Р», обозначающий значение Р веса всей сборки датчика 6 массы и сыпучего материала 3, содержащегося в вышеуказанном датчике 6 массы, связан с символом «S1» для первого сигнала S1,
символ «Е» для скорости потока Е связан с символом «S2» для второго сигнала S2,
символ «DM» для удельного массового расхода связан с символом «S3» для третьего сигнала S3,
символ «L» для перемещения L связан с символом «S4» для четвертого сигнала S4.
Второй сигнал S2 может, например, направляться в седьмое средство 13 для регистрации значений второго сигнала в течение предварительно определенного периода.
Специалист в данной области техники может снять эти измерения для исполнения этой функции.
Так как сыпучий материал имеет определенную объемную плотность Q, вычисленную средством 9, и датчик 6 массы также имеет поперечное сечение известной величины С, значение удельного массового расхода DM в течение первого предварительно определенного интервала времени Z является функцией от значения скорости потока Е и значения объемной плотности Q.
В особенности первое средство 7, которое взвешивает всю сборку датчика 6 массы и количество сыпучего материала 3, содержащегося в этом датчике массы 6:
получает множество взвешиваний в течение первого предварительно определенного интервала времени Z и
формирует первый сигнал S1, представляющий средний вес всей сборки датчика 6 массы и количества сыпучего материала 3, содержащегося в вышеуказанном датчике 6 массы в течение вышеуказанного первого предварительно определенного интервала времени Z.
Подобно особенным способом:
– четвертое средство 10 фиксирует и регистрирует регулярно в течение предварительно определенного интервала времени Z последовательные изображения сыпучего материала 3, который проходит через датчик 6 массы, и
– пятое средство 11 регулярно сравнивает первое изображение 201 и второе изображение 202 каждой группы 2 из двух последовательных изображений для формирования четвертого сигнала S4, представляющего значение L перемещения сыпучего материала 3, который проходит через датчик 6 массы в течение первого предварительно определенного интервала времени Z.
Четвертое средство 10 имеет видео камеру 100 и средство 101 захвата изображения.
Пятое средство 11 имеет систему 110 обработки изображений, которая анализирует первое изображение 201 и второе изображение 202 для определения перемещения частиц 30 в течение первого предварительно определенного интервала времени Z.
Специалист в данной области техники также может снимать эти вышеуказанные измерения для осуществления этих функций.
Очевидно, что предложенное устройство для измерения удельного массового расхода совмещает весовые измерения с оптическими измерениями степени перемещения сыпучего материала 3, который проходит через датчик 6 массы.
Предпочтительным, но не ограничительным образом датчик 6 массы ориентирован так, чтобы сыпучий материал 3 проходил вертикально в этом датчике 6 массы, но такое вертикальное прохождение является необязательным.
Известно, что в случае, если трубчатая стенка 60 заполнена сыпучим материалом 3, перемещение вышеуказанного сыпучего материала 3 когерентно через приемлемые расстояния от обоих концов трубчатой стенки 60, т.е. все частицы 30, составляющие вышеуказанный сыпучий материал 3, перемещаются сами с одинаковыми скоростями, как если бы эти частицы 30 составляли блок.
В особенности датчик 6 массы имеет:
– второе отверстие 64 для впуска сыпучего материала 3 в датчик 6 массы и третье отверстие 65 для выхода сыпучего материала 3 из датчика 6 массы и
– первый элемент 66, который, будучи расположенным на уровне второго отверстия 64, позволяет проход потока сыпучего материала в датчик 6 массы путем ограничения до минимального значения действия, оказываемого на датчик 6 массы сыпучим материалом 3, расположенным вверху по потоку от вышеуказанного датчика 6 массы,
– второй элемент 67, который, будучи расположенным на уровне третьего отверстия, ограничивает до минимального значения взаимодействие между датчиком массы 6 и сыпучим материалом 3, который расположен внизу по потоку от вышеуказанного датчика массы 6.
Также особенным способом стенка 60 датчика 6 массы, по меньшей мере, частично состоит из материала 68, который выбирается таким образом, чтобы коэффициент трения между внутренней поверхностью 61 датчика 6 массы и сыпучим материалом 3 имел как можно меньшее значение, так чтобы частицы 30 в контакте с вышеуказанной внутренней поверхностью 61 не подвергались относительному перемещению по отношению друг к другу.
На чертеже в виде примера первое, второе, третье, четвертое, пятое, шестое и седьмое средства представлены как функциональные блоки, которые принимают сигналы и входные данные и/или формируют сигналы.
На чертеже известное значение первого предварительно определенного интервала времени Z, значение объемной плотности Q, предварительно определенное значение V объема датчика 6 массы, предварительно определенное значение С поперечного сечения вышеуказанного датчика 6 массы и вес заданного значения W датчика 6 массы соответственно представлены буквами Z, Q, V, C, W.
Эти значения рассматриваются как входные данные и представлены в виде стрелок, которые присоединены к соответствующим номерам ссылок или символам.
Следует отметить, что
– первый элемент 66 имеет
– первую часть 660, которая, будучи расположенной по оси относительно второго отверстия 64 и вверху по потоку от этого второго отверстия 64 по отношению к предварительно определенному направлению потока 63 сыпучего материала 3, имеет предварительно определенную форму и предварительно определенное первое поперечное сечение для обеспечения первого потока сыпучего материала 3, имеющего второе поперечное сечение с первым осевым полым пространством,
– вторую часть 661 которая, будучи расположенной по периферии относительно второго отверстия 64 и на уровне указанного отверстия, имеет предварительно определенную форму и предварительно определенное третье поперечное сечение для преобразования первого потока второго поперечного сечения во второй поток, который имеет четвертое поперечное сечение, по существу равное вышеуказанному первому поперечному сечению,
– второй элемент имеет
– третью часть 670, которая, будучи расположенной по оси относительно третьего отверстия 65 и вверху по потоку от этого третьего отверстии 65, по отношению к предварительно определенному направлению потока 63 сыпучего материала 3, имеет предварительно определенную форму и предварительно определенное пятое поперечное сечение для того, чтобы обеспечить третий поток сыпучего материала 3, имеющего шестое поперечное сечение со вторым осевым полым пространством,
– четвертую часть 671, которая, будучи расположенной по периферии относительно третьего отверстия 65 и на уровне указанного отверстия, имеет предварительно определенную форму и предварительно определенное седьмое поперечное сечение для преобразования третьего потока шестого поперечного сечения в четвертый поток восьмого поперечного сечения, которое по существу равно вышеуказанному пятому поперечному сечению.
В соответствии с изобретением устройство 1 для измерения удельного массового расхода располагается между открытым концом 41 вышеуказанной трубы 4 и отверстием 51, вышеуказанным четвертым отверстием 51 второго устройства 5.
Предпочтительным, но не ограничивающим образом:
– первое поперечное сечение, четвертое поперечное сечение и восьмое поперечное сечения являются круговыми, и
– второе поперечное сечение и шестое поперечное сечение являются кольцевыми.
Формула изобретения
1. Устройство (1) для измерения удельного массового расхода (DM) потока (40) сыпучего материала (3), который движется в предварительно определенном направлении, указанном как предварительно определенное направление потока (63), причем упомянутое устройство (1) располагается в потоке (40) сыпучего материала (3) и имеет: датчик (6) массы, который состоит из трубчатой стенки (60), образованной между внутренней поверхностью (61) и внешней поверхностью (62), указанный датчик (6) массы имеет объем предварительно определенного значения (V), поперечное сечение предварительно определенного значения (С) и вес предварительно определенного значения (W) и расположен так, чтобы через него проходил поток (40) сыпучего материала (3), первое средство (7), которое, по меньшей мере, в течение первого предварительно определенного интервала времени (Z), взвешивает всю сборку датчика (6) массы и количество сыпучего материала (3), содержащегося в датчике (6) массы, и формирует первый сигнал (S1), представляющий, по меньшей мере, значение (Р) веса всей сборки датчика (6) массы и количества сыпучего материала (3), содержащегося в вышеуказанном датчике (6) массы, второе средство (8), которое, по меньшей мере, в течение первого предварительно определенного периода времени (Z) измеряет скорость потока (Е) сыпучего материала (3), который проходит через датчик (6) массы, и формирует второй сигнал (S2), представляющий скорость потока (Е) сыпучего материала (3), содержащегося в датчике (6) массы, третье средство (9), которое использует первый сигнал (S1), второй сигнал (S2), предварительно определенное значение (V) объема датчика (6) массы, предварительно определенное значение (С) поперечного сечения вышеуказанного датчика (6) массы и вес предварительно определенного объема (W) датчика (6) массы для подсчета объемной плотности (Q) сыпучего материала (3), подсчета удельного массового расхода (DM) сыпучего материала (3), который проходит через датчик (6) массы в течение первого предварительно определенного интервала времени (Z), и формирования третьего сигнала (S3), представляющего удельный массовый расход (DM) сыпучего материала (3), который проходит через датчик (6) массы в течение первого предварительно определенного интервала времени (Z), отличающееся тем, что датчик (6) массы имеет трубчатую стенку (60), по меньшей мере, местами прозрачную для возможности наблюдения снаружи указанного датчика (6) массы сыпучего материала (3), который проходит по его внутренней поверхности (61), и второе средство (8) имеет: четвертое средство (10) для фиксирования и регистрации через трубчатую стенку (60) в течение, по меньшей мере, первого предварительно определенного интервала времени (Z) двух последовательных изображений сыпучего материала (3) в контакте с внутренней поверхностью (61) стенки (60) датчика (6) массы, указанные два последовательных изображения составляют группу (2) из первого изображения (201) и второго изображения (202), пятое средство (11) для сравнения первого изображения (201) и второго изображения (202) группы (2) из двух последовательных изображений и определения значения перемещения (L) сыпучего материала (3) в течение первого предварительно определенного интервала времени (Z) и формирования четвертого сигнала (S4), представляющего значение (L) перемещения сыпучего материала (3), который проходит через датчик (6) массы в течение первого предварительно определенного интервала времени (Z), шестое средство (12) для использования четвертого сигнала (S4) и в качестве функции от значения первого предварительно определенного интервала времени (Z), вычисления скорости потока (Е) сыпучего материала (3), который проходит через датчик (6) массы, и формирования сигнала (S2), представляющего скорость потока (Е) сыпучего материала (3), содержащегося в вышеуказанном датчике (6) массы.
2. Устройство по п.1, отличающееся тем, что первое средство (7), которое взвешивает всю сборку датчика (6) массы и количество (8) сыпучего материала (3), содержащегося в датчике (6) массы получает множество взвешиваний в течение первого предварительно определенного интервала времени (Z) и формирует первый сигнал (S1), представляющий средний вес всей сборки датчика массы (6) и количества сыпучего материала (3), содержащегося в вышеуказанном датчике (6) массы в течение указанного первого предварительно определенного интервала времени (Z).
3. Устройство по п.1, отличающееся тем, что четвертое средство (10) фиксирует и регистрирует регулярно в течение первого предварительно определенного интервала времени (Z) последовательные изображения сыпучего материала (3), который проходит через датчик (6) массы, и пятое средство (11) регулярно сравнивает первое изображение (201) и второе изображение (202) каждой группы (2) из двух последовательных изображений для формирования четвертого сигнала (S4), представляющего значение (L) перемещения сыпучего материала (3), который проходит через датчик (6) массы в течение первого предварительно определенного интервала времени (Z).
4. Устройство по п.1, отличающееся тем, что датчик (6) массы имеет второе отверстие (64) для впуска сыпучего материала (3) в датчик (6) массы и третье отверстие (65) для выхода сыпучего материала (3) из датчика (6) массы и первый элемент (66), который, будучи расположенным на уровне второго отверстия (64), позволяет проход потока сыпучего материала в датчик (6) массы путем ограничения до минимального значения действия, оказываемого на датчик (6) массы сыпучим материалом (3), расположенным вверху по потоку от вышеуказанного датчика (6) массы, второй элемент (67), который, будучи расположенным на уровне третьего отверстия, ограничивает до минимального значения взаимодействие между датчиком (6) массы и сыпучим материалом (3), который расположен внизу по потоку от вышеуказанного датчика (6) массы.
5. Устройство по п.1, отличающееся тем, что стенка (60) датчика (6) массы, по меньшей мере, частично состоит из материала (68), который выбирается таким образом, чтобы коэффициент трения между внутренней поверхностью (61) датчика (6) массы и сыпучим материалом (3) имел как можно меньшее значение, так чтобы частицы (30) в контакте с вышеуказанной внутренней поверхностью (61) не подвергались относительному перемещению по отношению друг к другу.
6. Устройство по п.4, отличающееся тем, что первый элемент (66) имеет первую часть (660), которая, будучи расположенной по оси по отношению ко второму отверстию (64) и вверху по потоку от указанного второго отверстия (64) по отношению к предварительно определенному направлению потока (63) сыпучего материала (3), имеет предварительно определенную форму и предварительно определенное первое поперечное сечение для того, чтобы обеспечивать первый поток сыпучего материала (3), имеющий второе поперечное сечение с первым осевым полым пространством, вторую часть (661) которая, будучи расположенной по периферии относительно второго отверстия (64) и на уровне него, имеет предварительно определенную форму и предварительно определенное третье поперечное сечение для преобразования первого потока второго поперечного сечения во второй поток, который имеет четвертое поперечное сечение, по существу равное вышеуказанному первому поперечному сечению, второй элемент имеет третью часть (670), которая, будучи расположенной по оси относительно третьего отверстия (65) и вверху по потоку от этого третьего отверстии (65) по отношению к предварительно определенному направлению потока (63) сыпучего материала (3), имеет предварительно определенную форму и предварительно определенное пятое поперечное сечение для того, чтобы обеспечивать третий поток сыпучего материала (3), имеющего шестое поперечное сечение со вторым осевым полым пространством, четвертую часть (671), которая, будучи расположенной по периферии относительно третьего отверстия (65) и на уровне указанного отверстия, имеет предварительно определенную форму и предварительно определенное седьмое поперечное сечение для преобразования третьего потока шестого поперечного сечения в четвертый поток восьмого поперечного сечения, которое по существу равно вышеуказанному пятому поперечному сечению.
7. Устройство по п.1, отличающееся тем, что поток (40) сыпучего материала (3), который движется в предварительно определенном направлении потока (63), проходит через трубу (4) и выходит из вышеуказанной трубы (4) через отверстие, указанное первое отверстие (41) располагается на конце (42) трубы (4), и устройство (1) для измерения удельного массового расхода расположено внизу по потоку от первого отверстия (41) вышеуказанной трубы (4).
8. Устройство по п.7, отличающееся тем, что сыпучий материал (3) предназначен для попадания во второе устройство (5); указанное устройство (1) для измерения удельного массового расхода располагается между открытым концом (41) вышеуказанной трубы (4) и отверстием (51), указанным четвертым отверстием (51) второго устройства (5).
РИСУНКИ
|
|